CN203584297U - 一种液压凿岩机的钎杆缓冲定位装置 - Google Patents

一种液压凿岩机的钎杆缓冲定位装置 Download PDF

Info

Publication number
CN203584297U
CN203584297U CN201320657471.0U CN201320657471U CN203584297U CN 203584297 U CN203584297 U CN 203584297U CN 201320657471 U CN201320657471 U CN 201320657471U CN 203584297 U CN203584297 U CN 203584297U
Authority
CN
China
Prior art keywords
bit shank
drill steel
drill
plate
chamber
Prior art date
Legal status (The legal status is an assumption and is not a legal conclusion. Google has not performed a legal analysis and makes no representation as to the accuracy of the status listed.)
Withdrawn - After Issue
Application number
CN201320657471.0U
Other languages
English (en)
Inventor
刘新刚
刘建维
Current Assignee (The listed assignees may be inaccurate. Google has not performed a legal analysis and makes no representation or warranty as to the accuracy of the list.)
RONGCHENG ZHONGLEI GRANITE CO Ltd
Original Assignee
RONGCHENG ZHONGLEI GRANITE CO Ltd
Priority date (The priority date is an assumption and is not a legal conclusion. Google has not performed a legal analysis and makes no representation as to the accuracy of the date listed.)
Filing date
Publication date
Application filed by RONGCHENG ZHONGLEI GRANITE CO Ltd filed Critical RONGCHENG ZHONGLEI GRANITE CO Ltd
Priority to CN201320657471.0U priority Critical patent/CN203584297U/zh
Application granted granted Critical
Publication of CN203584297U publication Critical patent/CN203584297U/zh
Anticipated expiration legal-status Critical
Withdrawn - After Issue legal-status Critical Current

Links

Images

Landscapes

  • Earth Drilling (AREA)
  • Percussive Tools And Related Accessories (AREA)

Abstract

本实用新型涉及一种液压凿岩机的钎杆缓冲定位装置,其包括凿岩机的机头体、安装在机头体内的钎尾套,特点是:还设有依次相联接的上联接盘、缓冲体和下联接盘,上联接盘与机头体法兰联接,在上联接盘、缓冲体上同轴开有贯穿的钎尾腔,在下联接盘上依次同轴设有钎尾腔、台肩和钎杆腔,在上联接盘、缓冲体和下联接盘的同侧向上分别开有钎尾插入槽。本实用新型钎杆上产生的反弹冲击力由缓冲体吸收,避免了部件间的刚性撞击,提高钎杆及机体的使用寿命;台肩对钎尾进行轴向限位,钎杆处于垂直位置时不需人工把持钎杆。本实用新型具有结构简单、设计合理、使用简便的优点。

Description

一种液压凿岩机的钎杆缓冲定位装置
技术领域
本实用新型涉及一种用于冲击和旋转联合钻进的驱动装置,尤其是一种液压凿岩机的钎杆缓冲定位装置。
背景技术
液压凿岩机是近几年来出现的一种新型凿岩机,以循环高压油为动力,驱动钎杆、钎头,以冲击回转方式在岩体中凿孔的机械。它与气动凿岩机相比具有能量消耗少、凿岩速度快、效率高、噪音小、易于控制、卡钻事故少、钻具寿命长等许多有点,在近几年获得了迅速发展。
液压凿岩机主要由冲击机构和回转机构两大部分组成。冲击机构是由缸体、活塞、换向阀、蓄能器等主要部件组成,通过换向阀的换向控制缸体内的进、回油来实现活塞的高频往复运动,不断地冲击钎杆尾端,实现钎头冲击凿岩;回转机构由液压马达、减速齿轮等组成,活塞在返回行程时,液压马达驱动减速齿轮带动钎杆回转一定角度。如此周而复始,进行凿岩钻孔。由于钎杆的尾部采用的六方体结构吻合安装在机头体内的钎尾套内,两者属于刚性联接,活塞冲击钎杆尾端后,未被岩石吸收的冲击应力波,一部分通过钎杆返回,以震动波形式通过钎尾套作用在机头体上,钎尾套及机头体内的部件间造成剧烈振动,使部件产生碰撞磨损,影响凿岩机的使用寿命。另外,钎杆的尾部与机头体内的钎尾套之间无轴向限位件,在凿钻垂直孔时,钎杆就位及钻孔后的钎杆提升过程中需人工把持钎杆,存在着使用不方便的不足。
发明内容
为了克服现有技术中钎杆与钎尾套的刚性联接易造成钎尾套及机头体内的部件间剧烈振动而磨损及钎杆与钎尾套之间无轴向限位件而存在着使用不方便的不足,本实用新型提供一种结构简单、设计合理、使用简便、换钎快捷的液压凿岩机的钎杆缓冲装置。 
本实用新型解决技术问题所采用的技术方案是:一种液压凿岩机的钎杆缓冲装置,其包括凿岩机的机头体、安装在机头体内的用于安装钎杆的钎尾套,所述的钎尾套内腔截面呈与钎杆尾部相吻合的六方体,其特征在于:其还包括一上联接盘、一缓冲体和一下联接盘,所述的上联接盘的上端与在机头体的端部法兰联接,上联接盘的下端与所述的缓冲体的一端固定联接,所述的下联接盘的上端与缓冲体的另一端固定联接,在所述的上联接盘、缓冲体上对应钎尾套分别同轴开有贯穿的钎尾腔,在所述的下联接盘上依次同轴开有钎尾腔和钎杆腔,在下联接盘的钎尾腔和钎杆腔之间设有台肩,该台肩对钎杆的钎尾轴向限位,在上联接盘、缓冲体和下联接盘的同侧向上分别对应开有钎尾插入槽。 
本实用新型由于设有依次相联接的上联接盘、缓冲体和下联接盘,上联接盘与机头体法兰联接,在上联接盘、缓冲体上同轴开有贯穿的钎尾腔,在下联接盘上依次同轴开有钎尾腔和钎杆腔,在钎尾腔和钎杆腔之间设有对钎尾轴向限位的台肩,在上联接盘、缓冲体和下联接盘的同侧向上分别开有钎尾插入槽。本实用新型将钎杆的钎尾经上联接盘、缓冲体和下联接盘同侧向的钎尾插入槽插入后,与机头体内的钎尾套配合安装,其钎杆换装快捷;钎杆凿岩钻孔时产生的反弹冲击能量由缓冲体吸收,防止钎杆反弹带动相关部件与机体形成刚性撞击,提高钎杆及机体的使用寿命;在凿钻垂直孔时,钎杆就位及钻孔后的钎杆提升过程中,由下联接盘的钎尾腔和钎杆腔之间的台肩对钎尾进行轴向限位,不需人工把持钎杆。与现有技术相比,本实用新型具有结构简单、设计合理、使用简便的优点。
附图说明
下面结合附图和实施例对本实用新型做进一步说明。
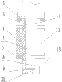
图1是本实用新型的一种结构主剖视图;
图2是沿图1中A-A线的剖视图;
图3是沿图1中B-B线的剖视图。
图中:1.机头体,2.钎尾套,3.上联接盘,4.缓冲体,5.下联接盘,6.上联接盘钎尾腔,7.缓冲体钎尾腔,8.下联接盘钎尾腔,9.台肩,10.钎杆腔,11.上联接盘钎尾插入槽,12.缓冲体钎尾插入槽,13.下联接盘钎尾插入槽。
具体实施方式
在图1中,一种液压凿岩机的钎杆缓冲装置,其包括凿岩机的机头体1和安装在机头体1内的用于安装钎杆的钎尾套2。
如图1所示,钎尾套2内腔截面呈与钎杆尾部相吻合的六方体。
在图1中,一种液压凿岩机的钎杆缓冲装置,其还包括一上联接盘3、一缓冲体4和一下联接盘5。上联接盘3和下联接盘5采用金属材料制成,缓冲体4采用橡胶或其他弹性材料制成。
如图1所示,上联接盘3的上端与在机头体1的端部法兰联接,上联接盘3的下端与缓冲体4的一端固定联接,下联接盘  5的上端与缓冲体4的另一端固定联接。
上联接盘3、下联接盘5与缓冲体4的固定联接是采用下列结构:上联接盘3的下端、下联接盘5的上端制有法兰盘,在法兰盘上开有联接孔,在模制缓冲体时,缓冲材料包埋法兰盘及注入联接孔内,将上联接盘3的下端、下联接盘5的上端与缓冲体4实现包埋联接。
在图1、图2中,在上联接盘3、缓冲体4上对应钎尾套2分别同轴开有贯穿的上联接盘钎尾腔6、缓冲体钎尾腔7。在下联接盘5上依次同轴开有下联接盘钎尾腔8和钎杆腔10,在下联接盘钎尾腔8和钎杆腔10之间设有台肩9。
在图2、图3中,在上联接盘3、缓冲体4和下联接盘5的同侧向上分别对应开有上联接盘钎尾插入槽11、缓冲体钎尾插入槽12和下联接盘钎尾插入槽13。
本实用新型在对钎杆进行换装时,将钎杆的钎尾经上联接盘3、缓冲体4和下联接盘5同侧向的钎尾插入槽插入,与机头体1内的钎尾套2配合安装,其钎杆换装快捷。在凿钻垂直孔时,钎杆就位及钻孔后的钎杆提升过程中,由下联接盘5上的台肩9对钎杆的钎尾进行轴向限位,不需人工把持钎杆。在钎杆凿岩钻孔时,钎杆产生的反弹冲击能量由缓冲体4吸收,防止钎杆反弹带动相关部件与机体形成刚性撞击,提高钎杆及机体的使用寿命。

Claims (1)

1.一种液压凿岩机的钎杆缓冲装置,其包括凿岩机的机头体、安装在机头体内的用于安装钎杆的钎尾套,所述的钎尾套内腔截面呈与钎杆尾部相吻合的六方体,其特征在于:其还包括一上联接盘、一缓冲体和一下联接盘,所述的上联接盘的上端与在机头体的端部法兰联接,上联接盘的下端与所述的缓冲体的一端固定联接,所述的下联接盘的上端与缓冲体的另一端固定联接,在所述的上联接盘、缓冲体上对应钎尾套分别同轴开有贯穿的钎尾腔,在所述的下联接盘上依次同轴开有钎尾腔和钎杆腔,在下联接盘的钎尾腔和钎杆腔之间设有台肩,该台肩对钎杆的钎尾轴向限位,在上联接盘、缓冲体和下联接盘的同侧向上分别对应开有钎尾插入槽。
CN201320657471.0U 2013-10-24 2013-10-24 一种液压凿岩机的钎杆缓冲定位装置 Withdrawn - After Issue CN203584297U (zh)

Priority Applications (1)

Application Number Priority Date Filing Date Title
CN201320657471.0U CN203584297U (zh) 2013-10-24 2013-10-24 一种液压凿岩机的钎杆缓冲定位装置

Applications Claiming Priority (1)

Application Number Priority Date Filing Date Title
CN201320657471.0U CN203584297U (zh) 2013-10-24 2013-10-24 一种液压凿岩机的钎杆缓冲定位装置

Publications (1)

Publication Number Publication Date
CN203584297U true CN203584297U (zh) 2014-05-07

Family

ID=50582233

Family Applications (1)

Application Number Title Priority Date Filing Date
CN201320657471.0U Withdrawn - After Issue CN203584297U (zh) 2013-10-24 2013-10-24 一种液压凿岩机的钎杆缓冲定位装置

Country Status (1)

Country Link
CN (1) CN203584297U (zh)

Cited By (2)

* Cited by examiner, † Cited by third party
Publication number Priority date Publication date Assignee Title
CN103541655A (zh) * 2013-10-24 2014-01-29 荣成中磊石材有限公司 一种液压凿岩机的钎杆缓冲定位装置
CN110107220A (zh) * 2019-05-05 2019-08-09 三峡大学 撞击装置及凿岩设备

Cited By (3)

* Cited by examiner, † Cited by third party
Publication number Priority date Publication date Assignee Title
CN103541655A (zh) * 2013-10-24 2014-01-29 荣成中磊石材有限公司 一种液压凿岩机的钎杆缓冲定位装置
CN110107220A (zh) * 2019-05-05 2019-08-09 三峡大学 撞击装置及凿岩设备
CN110107220B (zh) * 2019-05-05 2020-12-04 三峡大学 撞击装置及凿岩设备

Similar Documents

Publication Publication Date Title
CN102536114B (zh) 机械式井下吸振冲击钻井工具
CN105239929A (zh) 利用旋冲振荡加压实现高效破岩的井下工具
CN103541655B (zh) 一种液压凿岩机的钎杆缓冲定位装置
CN104033102B (zh) 冲击式液压凿岩机
CN105971492A (zh) 一种磁基扭转冲击钻具
CN108798521A (zh) 一种往复式轴向冲击加压装置
CN101624898B (zh) 旋挖钻机用入岩激振装置
CN108625770B (zh) 一种可旋转冲击的破碎动力头及其使用方法
CN201474610U (zh) 旋挖钻机的入岩激振装置
CN203584297U (zh) 一种液压凿岩机的钎杆缓冲定位装置
CN203347681U (zh) 凸轮式高频冲击钻井工具
CN203403811U (zh) 方孔钻机
CN204984255U (zh) 扭力冲击提速装置
CN110159189A (zh) 液动复合冲击器及其控制方法
CN202520220U (zh) 顶部液压冲击钻机
CN1995686A (zh) 脉动冲击钻井工具
CN203891760U (zh) 冲击式液压凿岩机
CN112901063B (zh) 一种射吸式钻井提速工具
CN210917533U (zh) 一种利用空压冲击辅助破碎的挖岩绞刀
CN102900355B (zh) 快速钻孔硬岩气动凿岩机
CN208845097U (zh) 一种复合冲击钻井提速装置
CN201016273Y (zh) 一种高频振动冲击钻井工具
CN201288514Y (zh) 新型水力加压器
CN103343664A (zh) 液压冲击回转钻机
CN109944543B (zh) 一种取样钻具

Legal Events

Date Code Title Description
C14 Grant of patent or utility model
GR01 Patent grant
AV01 Patent right actively abandoned

Granted publication date: 20140507

Effective date of abandoning: 20160810

C25 Abandonment of patent right or utility model to avoid double patenting