CN203584000U - Fast handle reversing mechanism - Google Patents

Fast handle reversing mechanism Download PDF

Info

Publication number
CN203584000U
CN203584000U CN201320649849.2U CN201320649849U CN203584000U CN 203584000 U CN203584000 U CN 203584000U CN 201320649849 U CN201320649849 U CN 201320649849U CN 203584000 U CN203584000 U CN 203584000U
Authority
CN
China
Prior art keywords
sliding shoe
rotating shaft
handle
base plate
adjutage
Prior art date
Legal status (The legal status is an assumption and is not a legal conclusion. Google has not performed a legal analysis and makes no representation as to the accuracy of the status listed.)
Expired - Fee Related
Application number
CN201320649849.2U
Other languages
Chinese (zh)
Inventor
胡志平
Current Assignee (The listed assignees may be inaccurate. Google has not performed a legal analysis and makes no representation or warranty as to the accuracy of the list.)
Individual
Original Assignee
Individual
Priority date (The priority date is an assumption and is not a legal conclusion. Google has not performed a legal analysis and makes no representation as to the accuracy of the date listed.)
Filing date
Publication date
Application filed by Individual filed Critical Individual
Priority to CN201320649849.2U priority Critical patent/CN203584000U/en
Application granted granted Critical
Publication of CN203584000U publication Critical patent/CN203584000U/en
Anticipated expiration legal-status Critical
Expired - Fee Related legal-status Critical Current

Links

Images

Landscapes

  • Closing And Opening Devices For Wings, And Checks For Wings (AREA)

Abstract

The utility model relates to a fast handle reversing mechanism which comprises a bottom plate, wherein a through hole is formed in the bottom plate, and a rotating shaft which can be connected with door handle square iron is arranged in the through hole; a slide block is glidingly arranged on the bottom plate, and reset springs are arranged between the slide block and the bottom plate; and radial extension arms are symmetrically arranged on the rotating shaft, the slide block is located on the side edge of the rotating shaft and is propped against and pressed on the radial extension arms. The rotating shaft is connected with the door handle square iron, the radial extension arms on the rotating shaft are propped against the slide block which can reset under the action of the reset springs, so that a door handle can reset automatically after rotating for a certain angle under the synergistic action of the slide block, the reset springs and the radial extension arms, simultaneously, the handle can further rotate for 360 degrees, and the defect that the handle cannot reverse unless dismounted in the prior art is overcome, not only is the structure simple, but also the use is very convenient; and due to the characteristics and advantages, the fast handle reversing mechanism can be widely applied to various door handle reversing mechanisms.

Description

Handle rapid reverse mechanism
Technical field
The utility model relates to a kind of handle rapid reverse mechanism, the particularly changement of door handle.This door handle can be independent door-opening mechanism, also can be mounted in the door handle door-opening mechanism in lock panel.
Background technology
At present, the assembly structure between panel and handle is generally to adopt fixed directional structure, first fixes left handle or right handle that is:, then panel and handle is assembled, then they are assemblied on door.Once after this structure assembles panel and handle, the direction of handle just immobilizes, now as want handle to commutate, as being changed to right hand position from left hand position, must again the former installing/dismounting between handle and panel be opened, and then handle commutation location is reinstalled with panel, in practical operation, tend to cause like this duplication of labour of installation personnel, installation effectiveness is reduced.
In order to overcome the above problems; the applicant was on 07 02nd, 2008 submit applications; application number is 200820050172.X; application name is called the utility model patent of " door handle rebounding resetting structure "; disclosed a kind of door handle rebounding resetting structure; comprise panel and door handle, door handle comprises installation end and is passed the installing hole arranging on panel and be rotatably fixed on panel by installation end; The installation end of door handle comprises torque transmitting section and the canned paragraph that is positioned at torque transmitting section outer end, and canned paragraph passes the installing hole of panel from the front of panel and extend into the back side of panel; Also comprise the cam that is arranged on back side of panel, the axial centre of cam is provided with cam through hole and by cam through hole suit, is fixed on the canned paragraph of handle; Cam radially has non-circular symmetry appearance profile along two mutually vertical number axis directions; Also comprise the elastic mechanism that is connected in the back side of panel and is symmetricly set on cam both sides; The inner side edge of two described elastic mechanisms is pressed on respectively on the two side of described cam.Adopt the utility model structure, handle can 360 ° rotation, freely commutate and easy for installation, be applicable to all kinds of door handle rebounding resetting structures.But because the described door handle rebounding knot that resets need to use two elastic mechanisms, not only cause the structure of whole handle to become quite complicated, and install and also waste time and energy, greatly affect production efficiency, and also improved the manufacturing cost of product.
Utility model content
For the deficiencies in the prior art, the panel that the utility model proposes a kind of lock body before location is installed, its handle can 360 ° rotation, freely commutate and handle rapid reverse mechanism easy for installation.
For achieving the above object, the utility model proposes a kind of handle rapid reverse mechanism, comprise base plate, on described base plate, be provided with through hole, in described through hole, be provided with the rotating shaft that can be connected door handle square iron; It is characterized in that, on described base plate, slide and be provided with sliding shoe, between described sliding shoe and described base plate, be provided with back-moving spring; In described rotating shaft, be symmetrically arranged with radially adjutage, described sliding shoe be positioned at the side of described rotating shaft and described sliding shoe be pressed over described in radially on adjutage.
Wherein, described handle rapid reverse mechanism is mounted in a kind of changement on panel, and it is mainly used in changing the installation direction of door handle.But with after mechanisms such as lock body, clutch in being installed on door leaf are connected, owing to being subject to the restriction of inner other mechanism of lock body, it may not continue to change direction more for this reason at door handle.This changement is mainly used in the adjustment before lock handle, door handle are not installed on door leaf for this reason, thus convenient installing and using.
Wherein, described base plate is for supporting the supporting frame of the linkage components such as described rotating shaft, sliding shoe, can be for being independent of the member of described panel but be arranged on the member of described panel inner side, also can be for the integrally manufactured moulding of described panel or be exactly a part for described panel itself.Like this, described handle rapid reverse mechanism can be integrated on described base plate becomes an independently module, the replacing while being convenient to the installation of whole described handle rapid reverse mechanism and ordinary maintenance.
Wherein, described door handle square iron is the parts that are connected with door handle, can peg graft and be installed on the medium pore of described rotating shaft, like this, stirs described door handle and handle square iron thereof and can drive described rotating shaft to rotate.
Wherein, described in described sliding shoe is pressed over radially on adjutage, described in referring to, radially adjutage can limit the displacement of described sliding shoe, avoids sliding shoe to run easily from described base plate, but described radially adjutage can promote again described sliding shoe when rotating and slide on described base plate; In addition, described in described sliding shoe also can limit conversely, radially the rotation of adjutage also can make it automatically reset, thereby locates described door handle.Like this, when user applies the rotating torque of pre-sizing to described door handle and the square iron that is connected thereof, described door handle square iron drives described rotating shaft to rotate when rotating, radially adjutage in described rotating shaft rotates and promotes described sliding shoe and slides on described base plate, thereby described sliding shoe can reserve for the rotation of described radially adjutage the suitable space of dodging.And after removing described rotating torque, the back-moving spring arranging between described sliding shoe and described base plate can promote again described sliding shoe slip and reset, thus radially adjutage reset described in making, and then locate described door handle.For this reason, described radially adjutage and described sliding shoe can play the effect of mutual restriction.Secondly, can also be by regulating the elastic force of described back-moving spring to control the rotating torque of described handle.
The beneficial effect of such scheme is: because described rotating shaft is connected door handle square iron, radially adjutage in described rotating shaft leans described sliding shoe, and described sliding shoe can reset under the effect of described back-moving spring, utilize described sliding shoe, back-moving spring for this reason and radially can realize after described door handle rotates to an angle under the synergy of adjutage and automatically reseting, can also make described handle realize 360 ° of rotations simultaneously, non-through the not switchable drawback of dismounting to overcome in prior art handle, not only simple in structure and also use very convenient.
Further technical scheme can also be, a side of the close described rotating shaft on described sliding shoe is provided with arc groove, the rotating diameter of adjutage radially described in the notch size of described groove is less than.Like this, the notch of described groove can push up described in pressure radially adjutage, whereby adjutage radially described in location; In addition, the rotation that described groove is described radially adjutage provides dodges space, reduces the maximum sliding stroke of described sliding shoe, makes the structure of whole described handle rapid reverse mechanism become compact, is also conducive to reduce the volume of described base plate.
Further technical scheme can also be, on described base plate, be provided with the pit extending along described sliding shoe glide direction, described back-moving spring is arranged in described pit, and one end of described back-moving spring is limited in described pit, and the other end leans on described sliding shoe.
Wherein, described pit not only provides spatial accommodation for described back-moving spring, but also can be used as the rail plate of described sliding shoe, improves the sliding stability of described sliding shoe.
Wherein, one end of described back-moving spring is limited in described pit, and the other end leans on described sliding shoe, and like this, described sliding shoe can automatically reset under the effect of described back-moving spring.
Further technical scheme can also be, is provided with two described pits on described base plate, and two described back-moving springs are separately positioned in two described pits.Like this, can increase the power that leans that described back-moving spring puts on described sliding shoe, also make described sliding shoe uniform stressed, thereby can make described sliding shoe slide reposefully simultaneously.
Further technical scheme can also be, described sliding shoe comprises matrix and extended two yokes from described matrix, in the space of described rotating shaft between two described yokes, adjutage in described rotating shaft leans on described yoke, and two described yokes are slidably arranged in respectively on two described pits.
Wherein, two described yokes are slidably arranged in respectively on two described pits and refer to, the part or all of arm body of described yoke is arranged in described pit.Like this, the stability in the time of can further improving the slip of described sliding shoe.
Further technical scheme can also be, in described through hole, is provided with bearing, and described rotating shaft is arranged on described bearing.The installation stability that like this, not only can improve described rotating shaft by described bearing can also improve the rotational stability of described rotating shaft.
Owing to the utlity model has These characteristics and advantage, can be widely applied in all kinds of door handle changements for this reason.
Accompanying drawing explanation
Fig. 1 is the mounting structure schematic diagram that the door handle assembly of handle rapid reverse mechanism is installed;
Fig. 2 is the structural representation after the first dress of handle rapid reverse mechanism of application technical solutions of the utility model, and now the adjutage in rotating shaft is horizontal;
Fig. 3 fills the handle rapid reverse mechanism shown in Fig. 2 first backwardly to press down handle to make the adjutage in described rotating shaft and angle that horizontal level is be the structural representation of 60 °~70 °;
Fig. 4 fills the backward handle that presses down the handle rapid reverse mechanism shown in Fig. 2 first to make the structural representation that the adjutage in described rotating shaft and angle that horizontal level is are 90 °;
Fig. 5 is the cross-sectional view of the handle rapid reverse mechanism shown in Fig. 2;
Fig. 6 is the decomposition texture schematic diagram of the handle rapid reverse mechanism shown in Fig. 2.
The specific embodiment
Below in conjunction with accompanying drawing, the handle rapid reverse mechanism of application technical solutions of the utility model is described further.
As shown in Figure 1, it is the mounting structure schematic diagram that the door handle assembly of handle rapid reverse mechanism 7 is installed, comprise lock panel 5, and the door handle 6 that is rotationally connected with described lock panel 5 outsides, described door handle 6 comprises hand holding part 61 and door handle square iron (not shown in FIG.).In addition, described handle rapid reverse mechanism 7 is installed in the inner side of described lock panel 5.
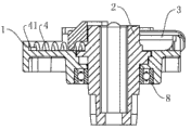
As shown in Figure 2, Figure 5 and Figure 6, it is the structural representation after the first dress of handle rapid reverse mechanism 7 of application technical solutions of the utility model, comprise base plate 1, on described base plate 1, be provided with through hole 12, in described through hole 12, be provided with rotating shaft 2, described rotating shaft 2 is connected described door handle square iron (not shown in FIG.), like this, stir described hand holding part 61, described hand holding part 61 can also drive described rotating shaft 2 to rotate when driving described handle square iron (not shown in FIG.) to rotate.On described base plate 1, slide and be provided with sliding shoe 3, described sliding shoe 3 is positioned at the side of described rotating shaft 2, between described sliding shoe 3 and described base plate 1, is provided with back-moving spring 4.Certainly in order to improve installation stability and the rotational stability of described door handle 6, in described through hole 12, can also be provided with bearing 8, described rotating shaft 2 is rotated and is arranged on described bearing 8.
As shown in Figure 1, Figure 2, shown in Fig. 5 and Fig. 6, described base plate 1 is for supporting the supporting frame of the linkage components such as described rotating shaft 2, sliding shoe 3, for being independent of lock panel 5 but be positioned the member of described lock panel 5 inner sides, certainly, described base plate 1 can also for the integrally manufactured moulding of described lock panel 5.Like this, described handle rapid reverse mechanism 7 can be integrated on described base plate 1 becomes an independently module, the replacing while being convenient to the installation of described handle rapid reverse mechanism 7 and ordinary maintenance.
As shown in Figure 2, Figure 5 and Figure 6, the top ends of described rotating shaft 2 is symmetrically arranged with radially adjutage 21, described in described sliding shoe 3 is pressed over radially on adjutage 21.Like this, described radially adjutage 21 can limit the displacement of described sliding shoe 3, avoids sliding shoe 3 to run easily from described base plate 1, and still, as shown in Figure 3 and Figure 4, described radially adjutage 21 can promote again described sliding shoe 3 and slide when rotating; In addition, described in described sliding shoe 3 also can limit conversely, radially the rotation of adjutage 21 also can make it automatically reset, thereby locates described door handle 6.
Operating process is as follows:
As shown in Figure 1, when user to described door handle 6 hand holding part 61, counterclockwise A apply the rotating torque of pre-sizing time, as shown in Figure 3, when being rotated, the door handle square iron of described door handle 6 drive described rotating shaft 2 to rotate, described adjutage 21 in described rotating shaft 2 rotates, rotational angle is 60 °~70 °, and described adjutage 21 promotes described sliding shoe 3 and slides on described base plate 1, thereby described sliding shoe 3 reserves the suitable space of dodging for the rotation of described radially adjutage 21.And after removing described rotating torque, described sliding shoe 3 promotes described adjutage 21 and springs back to horizontal level as shown in Figure 2 under the effect of back-moving spring 4.If but the door handle square iron of described door handle 6 drives described adjutage 21 to be rotated further 90 °, as described in Figure 4, described adjutage 21 makes described sliding shoe 3 slide into maximum stroke on described base plate 1, thus described sliding shoe 3 the dodge space maximum for the rotation of described radially adjutage 21 reserves.Described adjutage 21 is removed described rotating torque after being rotated further and surpassing 90 °, described sliding shoe 3 promotes described adjutage 21 and continues to rotate to horizontal level as shown in Figure 2 under the effect of back-moving spring 4, described sliding shoe 3 again locate described in adjutage 21 radially.Now, door handle 6 has commutated to right side by left side hand holding part 61.For this reason, described radially adjutage 21 and described sliding shoe 3 can play the effect of mutual restriction; Secondly, can also be by regulating the elastic force of described back-moving spring 4 to control the rotating torque of described door handle.
According to such scheme, utilize under the synergy of described sliding shoe 3, back-moving spring 4 and adjutage 21 radially and can realize after described door handle 6 rotates to an angle and automatically reseting, simultaneously can also make described door handle realize 360 ° of rotations, non-through the not switchable drawback of dismounting to overcome in prior art door handle.
Further technical scheme can also be, the side near described rotating shaft 2 on described sliding shoe 3 is provided with arc groove 31, the rotating diameter of adjutage 21 radially described in the notch size of described groove 31 is less than.Like this, the notch of described groove 31 can push up described in pressure radially adjutage 21, whereby adjutage 21 radially described in location; In addition, the rotation that described groove 31 is described radially adjutage 21 provides dodges space, reduces the maximum sliding stroke of described sliding shoe 3, makes the structure of whole described handle rapid reverse mechanism 7 become quite compact, is also conducive to reduce the volume of described base plate 1.
In order to improve the sliding stability of described sliding shoe 3, on described base plate 1, be provided with two pits 11 that extend along described sliding shoe 3 glide directions, two described back-moving springs 4 are separately positioned in described pit 11, one end 41 of described back-moving spring 4 is limited in described pit 11, and the other end 42 leans on described sliding shoe 3.Like this, described pit 11 provides spatial accommodation for described back-moving spring 4, and in addition, two described back-moving springs 4 can increase the power that leans that puts on described sliding shoe 3, also make described sliding shoe 3 uniform stresseds, thereby can make described sliding shoe 3 slide reposefully simultaneously.
Further technical scheme can also be, described sliding shoe 3 comprises matrix 32 and extended two yokes 33 from described matrix, in the space of described rotating shaft 2 between two described yokes 33, adjutage 21 in described rotating shaft 2 leans on described matrix 32, and two described yokes 33 are slidably arranged in respectively on two described pits 11.Wherein, two described yokes 33 are slidably arranged in respectively on two described pits 11 and refer to, the part or all of arm body of described yoke 33 is arranged in described pit 11.Like this, pit 11 becomes the rail plate of described sliding shoe 3,
Can further improve described sliding shoe 3 slip time stability.
Owing to the utlity model has These characteristics and advantage, can be widely applied in all kinds of door handle changements for this reason.

Claims (6)

1. handle rapid reverse mechanism, comprises base plate, on described base plate, is provided with through hole, is provided with the rotating shaft that can be connected door handle square iron in described through hole; It is characterized in that, on described base plate, slide and be provided with sliding shoe, between described sliding shoe and described base plate, be provided with back-moving spring; In described rotating shaft, be symmetrically arranged with radially adjutage, described sliding shoe be positioned at the side of described rotating shaft and described sliding shoe be pressed over described in radially on adjutage.
2. handle rapid reverse mechanism according to claim 1, is characterized in that, a side of the close described rotating shaft on described sliding shoe is provided with arc groove, the rotating diameter of adjutage radially described in the notch size of described groove is less than.
3. handle rapid reverse mechanism according to claim 1 and 2, it is characterized in that, on described base plate, be provided with the pit extending along described sliding shoe glide direction, described back-moving spring is arranged in described pit, one end of described back-moving spring is limited in described pit, and the other end leans on described sliding shoe.
4. handle rapid reverse mechanism according to claim 3, is characterized in that, is provided with two described pits on described base plate, and two described back-moving springs are separately positioned in two described pits.
5. handle rapid reverse mechanism according to claim 4, it is characterized in that, described sliding shoe comprise matrix and from described matrix extended two yokes, in the space of described rotating shaft between two described yokes, two described yokes are slidably arranged in respectively on two described pits.
6. handle rapid reverse mechanism according to claim 1 and 2, is characterized in that, in described through hole, is provided with bearing, and described rotating shaft is arranged on described bearing.
CN201320649849.2U 2013-10-22 2013-10-22 Fast handle reversing mechanism Expired - Fee Related CN203584000U (en)

Priority Applications (1)

Application Number Priority Date Filing Date Title
CN201320649849.2U CN203584000U (en) 2013-10-22 2013-10-22 Fast handle reversing mechanism

Applications Claiming Priority (1)

Application Number Priority Date Filing Date Title
CN201320649849.2U CN203584000U (en) 2013-10-22 2013-10-22 Fast handle reversing mechanism

Publications (1)

Publication Number Publication Date
CN203584000U true CN203584000U (en) 2014-05-07

Family

ID=50581939

Family Applications (1)

Application Number Title Priority Date Filing Date
CN201320649849.2U Expired - Fee Related CN203584000U (en) 2013-10-22 2013-10-22 Fast handle reversing mechanism

Country Status (1)

Country Link
CN (1) CN203584000U (en)

Cited By (5)

* Cited by examiner, † Cited by third party
Publication number Priority date Publication date Assignee Title
CN105178701A (en) * 2015-09-17 2015-12-23 常州凌凯特电子科技有限公司 Rotating door handle
CN106013976A (en) * 2016-06-29 2016-10-12 佛山市思歌锁业科技有限公司 Knob device capable of bidirectionally rotating and automatically resetting for lock
CN107217928A (en) * 2017-07-05 2017-09-29 广东顶固集创家居股份有限公司 A lock and its handle assembly, door, automobile
CN107386798A (en) * 2017-08-30 2017-11-24 温州市博洛斯五金有限公司 Door lock changement
CN107587786A (en) * 2016-07-07 2018-01-16 胡昌阵 A kind of door handle structure

Cited By (6)

* Cited by examiner, † Cited by third party
Publication number Priority date Publication date Assignee Title
CN105178701A (en) * 2015-09-17 2015-12-23 常州凌凯特电子科技有限公司 Rotating door handle
CN106013976A (en) * 2016-06-29 2016-10-12 佛山市思歌锁业科技有限公司 Knob device capable of bidirectionally rotating and automatically resetting for lock
CN106013976B (en) * 2016-06-29 2018-07-06 佛山市思歌锁业科技有限公司 A kind of lock can bidirectional rotation the knob assembly that automatically resets
CN107587786A (en) * 2016-07-07 2018-01-16 胡昌阵 A kind of door handle structure
CN107217928A (en) * 2017-07-05 2017-09-29 广东顶固集创家居股份有限公司 A lock and its handle assembly, door, automobile
CN107386798A (en) * 2017-08-30 2017-11-24 温州市博洛斯五金有限公司 Door lock changement

Similar Documents

Publication Publication Date Title
CN203584000U (en) Fast handle reversing mechanism
CN203559677U (en) Roller switching mechanism used on automatic reset hinge
CN202116998U (en) Novel vane gate mechanism with double vanes
CN201193431Y (en) Locking structure
CN103422724A (en) Lock for a door
CN204531641U (en) Locks with handle reversing mechanism
CN202280331U (en) Door hinge with buffering function
CN203640409U (en) Buffering lockset structure
CN205036163U (en) Fast turnaround (FTA) handle device with double clutch
CN206342371U (en) A kind of conditioner
CN201079113Y (en) Dynamo-electric plucker
CN206819886U (en) a reversing device
CN203230290U (en) Electric window opener
CN109732011A (en) The linkage shifting backing pin plate of stirrup bender
CN209140845U (en) Door and window assembly tooling
CN221347760U (en) Rack locking mechanism
CN201495890U (en) Adjustable pulley of sliding door and window
CN211572933U (en) Handle with limiting mechanism for intelligent lock
CN206128855U (en) Handle based on reversing block
CN206448743U (en) A kind of building intellectualization building
CN201315261Y (en) Isolation switch and cabinet door interlocking mechanism
CN113253591A (en) Pendulum convenient for disassembling and assembling clock movement
CN222314921U (en) Automatic door closing device
CN203080000U (en) Torsion spring type spring roller
CN208595208U (en) It is a kind of being hampered for two-way installation stop transmission system

Legal Events

Date Code Title Description
C14 Grant of patent or utility model
GR01 Patent grant
EE01 Entry into force of recordation of patent licensing contract

Assignee: Guangdong Archie Hardware Co.,Ltd.

Assignor: Cao Guoji

Contract record no.: 2015440000904

Denomination of utility model: Rapid handle reversing mechanism

Granted publication date: 20140507

License type: Exclusive License

Record date: 20160104

LICC Enforcement, change and cancellation of record of contracts on the licence for exploitation of a patent or utility model
CF01 Termination of patent right due to non-payment of annual fee

Granted publication date: 20140507

Termination date: 20211022

CF01 Termination of patent right due to non-payment of annual fee