CN203582903U - 可锻铸铁蓄热式隧道退火炉生产线 - Google Patents
可锻铸铁蓄热式隧道退火炉生产线 Download PDFInfo
- Publication number
- CN203582903U CN203582903U CN201320675296.8U CN201320675296U CN203582903U CN 203582903 U CN203582903 U CN 203582903U CN 201320675296 U CN201320675296 U CN 201320675296U CN 203582903 U CN203582903 U CN 203582903U
- Authority
- CN
- China
- Prior art keywords
- heater
- gas
- air
- annealing
- zone
- Prior art date
- Legal status (The legal status is an assumption and is not a legal conclusion. Google has not performed a legal analysis and makes no representation as to the accuracy of the status listed.)
- Expired - Fee Related
Links
- 238000000137 annealing Methods 0.000 title claims abstract description 88
- 238000004519 manufacturing process Methods 0.000 title claims abstract description 25
- 229910001296 Malleable iron Inorganic materials 0.000 title claims abstract description 20
- 238000010438 heat treatment Methods 0.000 claims abstract description 36
- 238000001816 cooling Methods 0.000 claims abstract description 22
- 238000005087 graphitization Methods 0.000 claims abstract description 22
- 239000003034 coal gas Substances 0.000 claims abstract description 20
- 238000004321 preservation Methods 0.000 claims abstract description 16
- 230000007246 mechanism Effects 0.000 claims abstract description 5
- 238000009825 accumulation Methods 0.000 claims description 22
- 238000007599 discharging Methods 0.000 claims description 16
- 239000000779 smoke Substances 0.000 claims description 16
- CWYNVVGOOAEACU-UHFFFAOYSA-N Fe2+ Chemical compound [Fe+2] CWYNVVGOOAEACU-UHFFFAOYSA-N 0.000 claims description 12
- 238000007789 sealing Methods 0.000 claims description 11
- XLYOFNOQVPJJNP-UHFFFAOYSA-N water Substances O XLYOFNOQVPJJNP-UHFFFAOYSA-N 0.000 claims description 9
- 238000005520 cutting process Methods 0.000 claims description 4
- 238000013461 design Methods 0.000 abstract description 5
- 238000007254 oxidation reaction Methods 0.000 abstract description 4
- 238000005265 energy consumption Methods 0.000 abstract description 3
- 239000002184 metal Substances 0.000 abstract description 2
- 229910052751 metal Inorganic materials 0.000 abstract description 2
- 238000007669 thermal treatment Methods 0.000 abstract 1
- 239000007789 gas Substances 0.000 description 55
- 238000002485 combustion reaction Methods 0.000 description 12
- 238000000034 method Methods 0.000 description 10
- 239000000446 fuel Substances 0.000 description 9
- 229910052760 oxygen Inorganic materials 0.000 description 9
- 239000001301 oxygen Substances 0.000 description 9
- QVGXLLKOCUKJST-UHFFFAOYSA-N atomic oxygen Chemical compound [O] QVGXLLKOCUKJST-UHFFFAOYSA-N 0.000 description 7
- 238000005516 engineering process Methods 0.000 description 5
- 230000008569 process Effects 0.000 description 5
- UGFAIRIUMAVXCW-UHFFFAOYSA-N Carbon monoxide Chemical compound [O+]#[C-] UGFAIRIUMAVXCW-UHFFFAOYSA-N 0.000 description 4
- 239000000567 combustion gas Substances 0.000 description 4
- 238000009841 combustion method Methods 0.000 description 4
- 239000003546 flue gas Substances 0.000 description 4
- 238000010304 firing Methods 0.000 description 3
- OKTJSMMVPCPJKN-UHFFFAOYSA-N Carbon Chemical compound [C] OKTJSMMVPCPJKN-UHFFFAOYSA-N 0.000 description 2
- 206010021143 Hypoxia Diseases 0.000 description 2
- XEEYBQQBJWHFJM-UHFFFAOYSA-N Iron Chemical compound [Fe] XEEYBQQBJWHFJM-UHFFFAOYSA-N 0.000 description 2
- 229910000831 Steel Inorganic materials 0.000 description 2
- 229910001037 White iron Inorganic materials 0.000 description 2
- 230000009471 action Effects 0.000 description 2
- WOWHHFRSBJGXCM-UHFFFAOYSA-M cetyltrimethylammonium chloride Chemical compound [Cl-].CCCCCCCCCCCCCCCC[N+](C)(C)C WOWHHFRSBJGXCM-UHFFFAOYSA-M 0.000 description 2
- 230000000694 effects Effects 0.000 description 2
- 239000000835 fiber Substances 0.000 description 2
- 238000005338 heat storage Methods 0.000 description 2
- 239000011159 matrix material Substances 0.000 description 2
- VNWKTOKETHGBQD-UHFFFAOYSA-N methane Chemical compound C VNWKTOKETHGBQD-UHFFFAOYSA-N 0.000 description 2
- 230000005855 radiation Effects 0.000 description 2
- 239000010959 steel Substances 0.000 description 2
- 238000012546 transfer Methods 0.000 description 2
- 238000013459 approach Methods 0.000 description 1
- 230000015572 biosynthetic process Effects 0.000 description 1
- 229910052799 carbon Inorganic materials 0.000 description 1
- 238000006243 chemical reaction Methods 0.000 description 1
- 239000002817 coal dust Substances 0.000 description 1
- 235000009508 confectionery Nutrition 0.000 description 1
- 238000005336 cracking Methods 0.000 description 1
- 238000010586 diagram Methods 0.000 description 1
- 238000009792 diffusion process Methods 0.000 description 1
- 229910001882 dioxygen Inorganic materials 0.000 description 1
- 230000009977 dual effect Effects 0.000 description 1
- 238000004134 energy conservation Methods 0.000 description 1
- 238000004880 explosion Methods 0.000 description 1
- 239000003517 fume Substances 0.000 description 1
- 229910002804 graphite Inorganic materials 0.000 description 1
- 239000010439 graphite Substances 0.000 description 1
- 230000007954 hypoxia Effects 0.000 description 1
- 230000001146 hypoxic effect Effects 0.000 description 1
- 238000009413 insulation Methods 0.000 description 1
- 238000011835 investigation Methods 0.000 description 1
- 229910052742 iron Inorganic materials 0.000 description 1
- 238000002844 melting Methods 0.000 description 1
- 230000008018 melting Effects 0.000 description 1
- 239000000203 mixture Substances 0.000 description 1
- 239000003345 natural gas Substances 0.000 description 1
- 230000002265 prevention Effects 0.000 description 1
- 238000012545 processing Methods 0.000 description 1
- 230000001172 regenerating effect Effects 0.000 description 1
- 239000007921 spray Substances 0.000 description 1
- 238000005507 spraying Methods 0.000 description 1
- 239000000126 substance Substances 0.000 description 1
- 230000009466 transformation Effects 0.000 description 1
- 238000010792 warming Methods 0.000 description 1
- 239000002699 waste material Substances 0.000 description 1
- 229910000859 α-Fe Inorganic materials 0.000 description 1
Images
Landscapes
- Tunnel Furnaces (AREA)
Abstract
本实用新型涉及金属热处理设备领域,具体为一种可锻铸铁蓄热式隧道退火炉生产线,解决现有炉内温度不均匀,氧化烧损现象严重,能耗大等问题,包括退火炉体、炉体前门、后门、料车、液压顶车机构,退火炉体内设有加热区、第一阶段、第二阶段石墨化保温区、强制冷却区,退火炉体两侧、并且位于加热区和第一阶段石墨化保温区设有至少两个上方空气煤气双预热蓄热式烧嘴单元组合和两个下方空气煤气双预热蓄热式烧嘴单元组合;还包含与退火炉体平行设置的循环作业区,其内设有自然冷却区、卸料区、装料区,退火炉体与循环作业区两端设有摆渡回转台。结构简单、设计合理、操作简便,高效节能、低CO2、NOX排放双重优越性,炉内温度均匀,产品质量稳定。
Description
技术领域
本实用新型涉及金属热处理设备领域,具体为一种可锻铸铁蓄热式隧道退火炉生产线。
背景技术
黑心可锻铸铁(以下简称KTH)的生产是由一定化学成分的白口铸铁生坯,采用石墨化退火工艺制得。生产KTH有两个重要环节,一是熔炼,制得符合化学要求的白口铸铁生坯,二是经过石墨化退火处理,制得基本组织为铁素体团絮状石墨,二者缺一不可,可见,石墨化退火工艺设备是生产KTH的非常关键的设备。
我国KTH隧道式退火设备的现状:上世纪七十年代后期,我国上海、天津某KTH生产厂曾设计制造了我国第一座KTH连续式(也称隧道式)退火炉,并形成了生产线。该生产线投产后与间断式的退火炉比较,生产效率、热效率明显提高,有显著的节能效果,且操作简便,省力,成本也大幅下降。随后也被国内一些KTH生产厂家所采用。经调查,我国目前在用的KTH隧道式退火炉或生产线,使用的燃料多数以发生炉煤气,煤粉为主,少数企业使用了天然气,不管使用何种燃料,燃烧的方法均为利用空气中的氧含量或富氧空气与可燃物质进行燃烧,以获取热能,欲改善燃烧采用的方法多为提高空气中的含氧量,或者是预热助燃空气的方法以获得更高的燃烧温度和提高热能的利用率,这就是被称为传统的燃烧方法。采用这种传统燃烧方法,退火炉内温度不均匀,氧化烧损现象比较严重,产品质量不太稳定,而且能耗大,向大气排放CO2 、NOX的量比较大。
20世纪90年代一些国家出现了全新的蓄热式高温空气低氧燃烧技术(HignTempreatureAircombustion),简称HTAC技术,这种全新的燃烧概念,提出了助燃空气在高温条件下,燃料可以在低氧气氛中点火和燃烧,而且空气预热温度越高,能维持燃烧的最低氧浓度也越小,当空气预热到1000℃时,含氧体积分数2%就可燃烧,而且高温低氧气氛可增大火焰体积,使整个火焰区成倍增大,甚至可以扩大到整个炉膛,从而能使整个炉膛构成一个相对均匀,高温强辐射的黑体,炉膛的传热效率显著提高,同时CO2排放量显著减少, NOX的排放10倍以上的减少等诸多优越性,这就是全新的HTAC技术的基本原理。但是到目前为止,未见有将该新技术应用到可锻铸铁蓄热式隧道退火炉生产线上。
发明内容
本实用新型为了解决现有黑心可锻铸铁生产采用传统燃烧方法存在炉内温度不均匀,氧化烧损现象比较严重,产品质量不太稳定,而且能耗大等问题,提供一种可锻铸铁蓄热式隧道退火炉生产线。
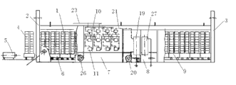
本实用新型是采用如下技术方案实现的:可锻铸铁蓄热式隧道退火炉生产线,包括退火炉体、炉体前门、炉体后门、在退火炉体内循环行走的料车以及液压顶车机构,退火炉体两侧设有排烟道,退火炉体内依次设有加热区、第一阶段石墨化保温区、强制冷却区和第二阶段石墨化保温区,退火炉体两侧、并且位于加热区未端和第一阶段石墨化保温区分别设有至少两个上方空气煤气双预热蓄热式烧嘴单元组合和两个下方空气煤气双预热蓄热式烧嘴单元组合;还包含与退火炉体平行设置的循环作业区,循环作业区内设有自然冷却区、卸料区、装料区,退火炉体与循环作业区两端之间分别设有摆渡回转台。
采用本实用新型的结构设计,由已完成装料的料车送入料车摆渡回转台,炉体前门开启后,液压顶车机构将料车送入退火炉体,根据程序设计当液压顶车机构将料车向前推进,在完成加热区进入第一阶段石墨化保温区后,进入强制冷却区和第二阶段石墨化保温区,当料车完成退火工艺后,炉体后门开启,料车通过第2个摆渡回转台进入工件的自然冷却区,工件完成冷却后料车进入卸料区由行车卸料,最后料车进入装料区,如此循环往复,从而形成一条KTHXS退火炉生产线。
所述退火炉体两侧或顶部平台两侧分别设有至少两个煤气三通换向阀和两个空气三通换向阀,其中每个煤气三通换向阀经煤气集管分别与退火炉体相应一侧的上方空气煤气双预热蓄热式烧嘴单元组合和下方空气煤气双预热蓄热式烧嘴单元组合连通,每个空气三通换向阀经空气集管分别与退火炉体相应一侧的上方空气煤气双预热蓄热式烧嘴单元组合和下方空气煤气双预热蓄热式烧嘴单元组合连通;在退火炉体两侧排烟道上、并且位于强制冷却区两侧分别安装空气预热器,空气预热器的冷空气进口连有鼓风机,热空气出口连有空气总管,空气总管两侧连有与每个空气三通换向阀相通的空气支管;退火炉体上方架设有煤气总管,煤气总管两侧连有与每个煤气三通换向阀相通的煤气支管;退火炉体两侧排烟道上连有两个排烟管道,排烟管道末端设有引风机,其中一个排烟管道与煤气三通换向阀连通,另一个排烟管道与空气三通换向阀连通。
当燃料使用低热值清洁的发生炉煤气时,燃烧系统采用空气煤气双预热蓄热式燃烧单元组合的燃烧系统,关键措施是采用快速切的三通换向阀和高效蓄热式烧嘴单元组合的蜂窝体预热。三通换向阀其特点是能实现先关后开的动作要求,作为煤气三通换向阀使用时能避免换向过程中煤气与烟气互串,使换向阀煤气损失为零,同时也保证了系统安全,特点是该阀可装于炉子两侧或者炉子的顶部平台上,这样换向阀更接近燃烧器,减少了炉子换向断火的时间和换向时煤气的浪费。为安全起见,对于煤气空气双预热蓄热式燃烧单元组合的系统“空气/烟气系统”“煤气/烟气系统”是分别设定的排烟管道。采用本实用新型的蓄热式双预热三通换向阀分散换向系统及管路布置,当燃烧系统工作时,由鼓风机将助燃空气经空气预热器预热后,可将室温的空气预热到250-300℃,然后由空气总管输送到空气支管进入三通换向阀,然后与蓄热式烧嘴单元组合相连,将预热空气从300℃迅速加热到800℃的热空气,送入退火炉体后,抽引周围炉气形成一般含氧量低于21%的高温气流,在蓄热式烧嘴单元组合的空气喷咀附近同喷入的燃料,在高温低氧气氛中首先进行裂解重组等过程,从而形成与传统燃烧过程完全不同的热力学条件,在与低氧气体作延缓燃烧时析出热能,炉膛内的温度可升至1200℃以上,预热空气在高频切换条件下,可以实现排烟温度与被加热的空气之间的温差降到50-150℃,换热效率达80-90%。当燃料在低氧条件下燃烧时,其燃烧过程属于扩散控制式反应,与传统概念相比,火焰根部距烧嘴单元组合喷口的距离缩小,常见的火焰向炉区消失,火焰区的体积成倍增大,甚至可以扩大到整个炉膛,从而炉膛内气相空间构成了一个温度相对均匀(温差可降到±10℃)的高温强辐射黑体,炉膛的传热效率显著提高,燃烧充分。
所述退火炉体两侧排烟道上、并且位于强制冷却区两侧分别安装常压生活用热水锅炉,一方面起调节本位置烟气温度,使炉内烟气温度降低,快速降低中间冷却区的炉气温度,符合退火曲线的要求;另一方面利用烟气余热,加热空气和水,起到节能作用,加热后的热水可用于采暖洗澡生活用水。
所述煤气总管上安装煤气开闭阀和煤气紧急切断阀,该阀由自控系统控制,在遇到了紧急情况时,能及时自动切断煤气确保系统安全;煤气支管上安装煤气流量控制阀。
所述料车与退火炉体侧壁之间的缝隙采用柔性密封块密封,柔性密封块由气缸及杠杆机构压紧。
所述炉体前门和炉体后门采用电动升降式结构,炉体前门、炉体后门与退火炉体之间采用弹簧式压紧机构。
与现有技术相比,本实用新型结构简单、设计合理、操作简便,具有高效节能、低CO2、NOX排放双重优越性,是一种高性能、全新技术,新一代的工业炉,同现有采用传统燃烧方法的隧道式退火炉相比,平均节能在30%以上,向大气排放CO2减少30%,NOX的排放10倍以上的减少,炉内温度均匀,氧化烧损减少2-3%,生产能力和炉子的寿命明显提高,产品质量稳定,适用于8千-1万吨/年产量以上的大中型企业应用,特别适用于在用的KTH隧道式退火炉的技术改造。
附图说明
图1为本实用新型的结构示意图;
图2为图1的俯视图;
图3为蓄热式双预热三通换向阀分散换向系统及管路布置原理图;
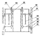
图4为炉体前门和后门的弹簧压紧机构示意图;
图5为料车与炉体侧壁的密封结构示意图;
图中:1-退火炉体;2-炉体前门;3-炉体后门;4-料车;5-液压顶车机构;6-加热区;7-第一阶段石墨化保温区;8-强制冷却区;9-第二阶段石墨化保温区;10-上方空气煤气双预热蓄热式烧嘴单元组合;11-下方空气煤气双预热蓄热式烧嘴单元组合;12-自然冷却区;13-卸料区;14-装料区;15-摆渡回转台;16-煤气三通换向阀;17-煤气集管;18-空气集管;19-空气预热器;20-鼓风机;21-空气总管;22-空气支管;23-煤气总管;24-煤气支管;25-排烟管道;26-引风机;27-常压生活用热水锅炉;28-煤气开闭阀;29-煤气紧急切断阀;30-柔性密封块;31-气缸;32-杠杆机构;33-下撞块;34-上撞块;35-连杆;36-导轨;37-上轴;38-弹簧;39-下轴;40-曲臂;41-导向轮;42-空气三通换向阀;43-煤气流量控制阀。
具体实施方式
可锻铸铁蓄热式隧道退火炉生产线,包括退火炉体1、炉体前门2、炉体后门3、在退火炉体内循环行走的料车4以及液压顶车机构5、料车4与退火炉体1侧壁之间的缝隙采用柔性密封块30密封,柔性密封块由气缸31及杠杆机构32压紧,退火炉体两侧设有排烟道,退火炉体内依次设有加热区6、第一阶段石墨化保温区7、强制冷却区8和第二阶段石墨化保温区9、退火炉体两侧、并且位于加热区未端和第一阶段石墨化保温区分别设有至少两个上方空气煤气双预热蓄热式烧嘴单元组合10和两个下方空气煤气双预热蓄热式烧嘴单元组合11、还包含与退火炉体平行设置的循环作业区,循环作业区内设有自然冷却区12、卸料区13、装料区14,退火炉体与循环作业区两端之间分别设有摆渡回转台15、在退火炉体内,(1)加热区升温阶段:将白口生坯件,装在密封罐里,由室温加热至850℃左右,(有的工厂在350-450℃停留2-5h以求增加石墨核心或加速第一、二石墨化过程);(2)第一阶段石墨化:就是将工件从850°C升温至960°C(保温实现第一阶段石墨化);(3)强制冷却阶段:完成第一阶段石墨化的工件,从960℃左右迅速冷却至760℃;(4)第二阶段石墨化:就是将工件在稳定共析转变范围内(760℃左右)缓慢冷却至650℃左右,实现第二阶段石墨化;(5)出炉空冷阶段:完成第二阶段石墨化的工件,出炉快速冷却(或风冷喷水雾)至室温,至此KTH石墨化退火完成。
退火炉体1两侧或顶部平台两侧分别设有至少两个煤气三通换向阀16和两个空气三通换向阀42,其中每个煤气三通换向阀经煤气集管17分别与退火炉体相应一侧的上方空气煤气双预热蓄热式烧嘴单元组合和下方空气煤气双预热蓄热式烧嘴单元组合连通,每个空气三通换向阀经空气集管18分别与退火炉体相应一侧的上方空气煤气双预热蓄热式烧嘴单元组合和下方空气煤气双预热蓄热式烧嘴单元组合连通;根据退火曲线的要求,由于中间冷却阶段要求在5-6小时之内快速从960℃左右降至760℃左右,大约每小时平均降温30-35℃,回收这部分热能,用以预热空气或煤气和热水,不但可以节约燃料,而且可显著提高炉温和生产能力,为了达到这个要求,设计人在强制冷却段炉体两侧各开设2个排烟口,排烟道上各安装了两个空气预热器和常压热水锅炉,空气预热器的冷空气进口连有鼓风机20,热空气出口连有空气总管21,空气总管两侧连有与每个空气三通换向阀相通的空气支管22,此设计满足了退火曲线从960℃的高温以35℃/h迅速下降的要求;退火炉体上方架设有煤气总管23,煤气总管两侧连有与每个煤气三通换向阀相通的煤气支管24,煤气总管23上安装煤气开闭阀28和煤气紧急切断阀29;煤气支管24上安装煤气流量控制阀;退火炉体两侧排烟道上连有两个排烟管道25,排烟管道末端设有引风机26,其中一个排烟管道与煤气三通换向阀连通,另一个排烟管道与空气三通换向阀连通。
如图4所示,炉体前门2和炉体后门3采用电动升降式结构,炉体前门、炉体后门与退火炉体之间采用弹簧式压紧机构。炉门为柔性定密封面,由耐火纤维叠铺结构组成,炉体为刚性密封面,由钢框架耐热铸铁形成一个硬而平的密封面,也用耐火纤维保护其受热面,炉门上设有上轴37、下轴39,轴的未端各在一个曲臂上装一个导向轮41,导向轮分别纳入左右导轨36内,起吊钢丝(或链条)系在连杆35上,连杆与固定在上、下轴的曲臂40相连,另有一对曲臂固定在两根上轴上,曲臂的未端各与一个弹簧38相连接,弹簧的拉力始终使上下轴作逆时针方向旋转,连杆上的上撞块34限制其旋转,由于轴的旋转,轴端倒向轮向右动,使炉门往左运动,从而使炉门往左动与炉体定密封面紧压。
为了保证本装置运行的安全可靠,并能自动达到工艺所要求的最佳参数(温度、压力、及气氛等),从而提高产品质量降低消耗,减轻劳动强度,并有利于环境保护。因此发明人还设计出与蓄热式燃烧相匹配的自动控制系统和安全装置两部分。自动控制主要是对温度、燃气、空气以及空气量有压力的变化进行自动调节,达到最佳参数要求。自控装置可分为燃气压力的控制,燃气流量的控制和燃气空气比例的控制。自控系统大致由测量显示仪,调节器及执行四部分组成。自控的主要内容是炉温、炉压及空燃比的控制。安全控制是燃气工业炉必不可少非常重要的装置,燃气炉的安全装置是指燃气燃烧装置由于故障,使用条件变化或错误操作时,能防止发生事故的装置,内容包括:预防燃气压力,空气压力太高或过低时自动关断燃气通入,当燃气设备内的火焰熄灭,能自动切断燃气,防止燃气继续进入燃气设备以免发生爆炸事故的熄火保护装置等(包括停电)预防事故发生的装置。
Claims (6)
1.一种可锻铸铁蓄热式隧道退火炉生产线,其特征是包括退火炉体(1)、炉体前门(2)、炉体后门(3)、在退火炉体内循环行走的料车(4)以及液压顶车机构(5),退火炉体两侧设有排烟道,退火炉体内依次设有加热区(6)、第一阶段石墨化保温区(7)、强制冷却区(8)和第二阶段石墨化保温区(9),退火炉体两侧、并且位于加热区未端和第一阶段石墨化保温区分别设有至少两个上方空气煤气双预热蓄热式烧嘴单元组合(10)和两个下方空气煤气双预热蓄热式烧嘴单元组合(11);还包含与退火炉体平行设置的循环作业区,循环作业区内设有自然冷却区(12)、卸料区(13)、装料区(14),退火炉体与循环作业区两端之间分别设有摆渡回转台(15)。
2.根据权利要求1所述的可锻铸铁蓄热式隧道退火炉生产线,其特征是退火炉体(1)两侧或顶部平台两侧分别设有至少两个煤气三通换向阀(16)和两个空气三通换向阀(42),其中每个煤气三通换向阀经煤气集管(17)分别与退火炉体相应一侧的上方空气煤气双预热蓄热式烧嘴单元组合和下方空气煤气双预热蓄热式烧嘴单元组合连通,每个空气三通换向阀经空气集管(18)分别与退火炉体相应一侧的上方空气煤气双预热蓄热式烧嘴单元组合和下方空气煤气双预热蓄热式烧嘴单元组合连通;在退火炉体两侧排烟道上、并且位于强制冷却区(8)两侧分别安装空气预热器(19),空气预热器的冷空气进口连有鼓风机(20),热空气出口连有空气总管(21),空气总管两侧连有与每个空气三通换向阀相通的空气支管(22);退火炉体上方架设有煤气总管(23),煤气总管两侧连有与每个煤气三通换向阀相通的煤气支管(24);退火炉体两侧排烟道上连有两个排烟管道(25),排烟管道末端设有引风机(26),其中一个排烟管道与煤气三通换向阀连通,另一个排烟管道与空气三通换向阀连通。
3.根据权利要求2所述的可锻铸铁蓄热式隧道退火炉生产线,其特征是退火炉体(1)两侧排烟道上、并且位于强制冷却区两侧分别安装常压生活用热水锅炉(27)。
4.根据权利要求2所述的可锻铸铁蓄热式隧道退火炉生产线,其特征是煤气总管(23)上安装煤气开闭阀(28)和煤气紧急切断阀(29);煤气支管(24)上安装煤气流量控制阀(43)。
5.根据权利要求1或2所述的可锻铸铁蓄热式隧道退火炉生产线,其特征是料车(4)与退火炉体(1)侧壁之间的缝隙采用柔性密封块(30)密封,柔性密封块由气缸(31)及杠杆机构(32)压紧。
6.根据权利要求1或2所述的可锻铸铁蓄热式隧道退火炉生产线,其特征是炉体前门(2)和炉体后门(3)采用电动升降式结构,炉体前门、炉体后门与退火炉体之间采用弹簧式压紧机构。
Priority Applications (1)
| Application Number | Priority Date | Filing Date | Title |
|---|---|---|---|
| CN201320675296.8U CN203582903U (zh) | 2013-10-30 | 2013-10-30 | 可锻铸铁蓄热式隧道退火炉生产线 |
Applications Claiming Priority (1)
| Application Number | Priority Date | Filing Date | Title |
|---|---|---|---|
| CN201320675296.8U CN203582903U (zh) | 2013-10-30 | 2013-10-30 | 可锻铸铁蓄热式隧道退火炉生产线 |
Publications (1)
| Publication Number | Publication Date |
|---|---|
| CN203582903U true CN203582903U (zh) | 2014-05-07 |
Family
ID=50580850
Family Applications (1)
| Application Number | Title | Priority Date | Filing Date |
|---|---|---|---|
| CN201320675296.8U Expired - Fee Related CN203582903U (zh) | 2013-10-30 | 2013-10-30 | 可锻铸铁蓄热式隧道退火炉生产线 |
Country Status (1)
| Country | Link |
|---|---|
| CN (1) | CN203582903U (zh) |
Cited By (4)
| Publication number | Priority date | Publication date | Assignee | Title |
|---|---|---|---|---|
| CN104152637A (zh) * | 2014-07-14 | 2014-11-19 | 湖州织里荣华铝业有限公司 | 一种连续铝材时效炉 |
| CN107876564A (zh) * | 2017-12-15 | 2018-04-06 | 唐山全丰薄板有限公司 | 一种铁素体轧制控制装置及其控制工艺 |
| CN113566564A (zh) * | 2020-04-29 | 2021-10-29 | 潮州市东升窑炉设备有限公司 | 一种转弯窑炉 |
| CN115125467A (zh) * | 2022-07-12 | 2022-09-30 | 辛集市澳森金属制品有限公司 | 一种利用余热加热的镀锌节能系统 |
-
2013
- 2013-10-30 CN CN201320675296.8U patent/CN203582903U/zh not_active Expired - Fee Related
Cited By (6)
| Publication number | Priority date | Publication date | Assignee | Title |
|---|---|---|---|---|
| CN104152637A (zh) * | 2014-07-14 | 2014-11-19 | 湖州织里荣华铝业有限公司 | 一种连续铝材时效炉 |
| CN104152637B (zh) * | 2014-07-14 | 2016-08-17 | 湖州织里荣华铝业有限公司 | 一种连续铝材时效炉 |
| CN107876564A (zh) * | 2017-12-15 | 2018-04-06 | 唐山全丰薄板有限公司 | 一种铁素体轧制控制装置及其控制工艺 |
| CN113566564A (zh) * | 2020-04-29 | 2021-10-29 | 潮州市东升窑炉设备有限公司 | 一种转弯窑炉 |
| CN115125467A (zh) * | 2022-07-12 | 2022-09-30 | 辛集市澳森金属制品有限公司 | 一种利用余热加热的镀锌节能系统 |
| CN115125467B (zh) * | 2022-07-12 | 2023-11-28 | 辛集市澳森金属制品有限公司 | 一种利用余热加热的镀锌节能系统 |
Similar Documents
| Publication | Publication Date | Title |
|---|---|---|
| CN102607267A (zh) | 蓄热式高温空气燃烧节能环保型梭式窑炉 | |
| CN202066385U (zh) | 一种新型余热回收利用装置 | |
| CN104596283B (zh) | 一种高效节能的铝棒混合加热炉 | |
| CN203582903U (zh) | 可锻铸铁蓄热式隧道退火炉生产线 | |
| CN201634740U (zh) | 不锈钢钢坯轧前串联式加热炉 | |
| CN103627882A (zh) | 一种蓄热式热轧带钢加热炉及板坯加热工艺 | |
| CN204114925U (zh) | 双预热蓄热式加热炉 | |
| CN101261089A (zh) | 一种室式、台车式加热炉高效燃烧系统 | |
| CN104154763B (zh) | 一种熔炼炉高温烟气余热回收方法 | |
| CN104101221B (zh) | 一种极限回收烟气余热及烧损减量化的加热系统和方法 | |
| CN101915502A (zh) | 一种用回收烟气调制燃油(气)反射炉氧气氛的方法 | |
| CN100510594C (zh) | 直接回热燃烧的火焰式加热炉及工作方法 | |
| CN201021455Y (zh) | 新型余热利用退火炉 | |
| CN201567354U (zh) | 多工位热处理炉中间炉门 | |
| CN203980920U (zh) | 一种极限回收烟气余热及烧损减量化的加热系统 | |
| CN101928796A (zh) | 一种高炉高风温节能减排组合式预热方法 | |
| CN101928797A (zh) | 高炉高风温节能减排组合式预热系统 | |
| CN205874232U (zh) | 一种气体冷却的燃烧梁 | |
| CN206192135U (zh) | 蓄热式加热炉换向控制装置 | |
| CN201785422U (zh) | 高炉高风温节能减排组合式预热系统 | |
| CN107228570A (zh) | 一种阳极焙烧炉余热利用的方法 | |
| CN202002461U (zh) | 一种用回收烟气调制燃烧室中氧气氛的燃油反射炉 | |
| CN214537348U (zh) | 逆流式活性炭焙烧再生活化隧道窑 | |
| CN104534894A (zh) | 烟气余热资源转换与利用系统 | |
| CN202272930U (zh) | 一种新型燃气辊底炉 |
Legal Events
| Date | Code | Title | Description |
|---|---|---|---|
| C14 | Grant of patent or utility model | ||
| GR01 | Patent grant | ||
| CF01 | Termination of patent right due to non-payment of annual fee |
Granted publication date: 20140507 Termination date: 20151030 |
|
| EXPY | Termination of patent right or utility model |