CN203561245U - High-efficiency and energy-saving device for recycling exhaust heat energy - Google Patents
High-efficiency and energy-saving device for recycling exhaust heat energy Download PDFInfo
- Publication number
- CN203561245U CN203561245U CN201320726038.8U CN201320726038U CN203561245U CN 203561245 U CN203561245 U CN 203561245U CN 201320726038 U CN201320726038 U CN 201320726038U CN 203561245 U CN203561245 U CN 203561245U
- Authority
- CN
- China
- Prior art keywords
- module
- saving device
- exhaust heat
- energy
- recoverable
- Prior art date
- Legal status (The legal status is an assumption and is not a legal conclusion. Google has not performed a legal analysis and makes no representation as to the accuracy of the status listed.)
- Expired - Fee Related
Links
- 238000004064 recycling Methods 0.000 title abstract 5
- 238000012423 maintenance Methods 0.000 claims abstract description 24
- 239000002912 waste gas Substances 0.000 claims abstract description 13
- 238000000034 method Methods 0.000 claims abstract description 9
- 238000001914 filtration Methods 0.000 claims description 20
- 238000005260 corrosion Methods 0.000 claims description 9
- 230000007797 corrosion Effects 0.000 claims description 9
- 239000000463 material Substances 0.000 claims description 7
- 239000007789 gas Substances 0.000 claims description 4
- 238000004140 cleaning Methods 0.000 claims description 3
- 238000006243 chemical reaction Methods 0.000 abstract description 4
- 238000005516 engineering process Methods 0.000 description 7
- 238000009434 installation Methods 0.000 description 6
- 238000011084 recovery Methods 0.000 description 5
- 239000002351 wastewater Substances 0.000 description 5
- 238000004134 energy conservation Methods 0.000 description 3
- 230000003670 easy-to-clean Effects 0.000 description 2
- 230000000694 effects Effects 0.000 description 2
- 238000010438 heat treatment Methods 0.000 description 2
- 230000009286 beneficial effect Effects 0.000 description 1
- 239000000567 combustion gas Substances 0.000 description 1
- 238000010276 construction Methods 0.000 description 1
- 238000007599 discharging Methods 0.000 description 1
- 239000003814 drug Substances 0.000 description 1
- 230000007613 environmental effect Effects 0.000 description 1
- 238000005286 illumination Methods 0.000 description 1
- 238000004519 manufacturing process Methods 0.000 description 1
- 239000007769 metal material Substances 0.000 description 1
- 239000003973 paint Substances 0.000 description 1
- 239000004065 semiconductor Substances 0.000 description 1
- 230000005619 thermoelectricity Effects 0.000 description 1
- 239000002699 waste material Substances 0.000 description 1
Images
Landscapes
- Ventilation (AREA)
Abstract
The utility model discloses a high-efficiency and energy-saving device for recycling exhaust heat energy. The high-efficiency and energy-saving device for recycling exhaust heat energy comprises a machine unit and an outer shell, wherein the machine unit comprises a maintenance module, a heat energy conversion module, a bypass module, a filter module, an air valve module and a noise reduction module, wherein the maintenance module is connected with a heat waste gas outlet at the tail end of the process; the two ends of the heat energy conversion module are connected with the maintenance module and the bypass module respectively; the filter module is close to the bypass module; the inlet end and the outlet end of the air valve module are connected with the filter module and the noise reduction module respectively; each module is an independent hardware module; the modules are connected through external flanges. The high-efficiency and energy-saving device for recycling exhaust heat energy has the advantage that the modules are freely combined in a block splicing mode according to different requirements, and meanwhile the high-efficiency and energy-saving device for recycling exhaust heat energy has the advantages of being compact in structure, small in occupied space, light in weight, convenient to install, wide in application range, capable of achieving heat exchange of multiple media, convenient to maintain, easy to operate, long in service life and high in conversion rate.
Description
Technical field
The utility model relates to exhaust air energy recovery field, particularly the recoverable efficient energy-saving device of a kind of air exhaust heat.
Background technology
In recent years, country and society were more and more stricter to the protection of environment, and particularly in " 12 " national environmental protection planning, clear and definite " energy-saving and emission-reduction " are as current important one.At present, all trades and professions all drop into huge fund support aspect reduction of discharging, make the discharge of waste water, waste gas substantially up to standard; But aspect energy-conservation the general mode adopting be all on the source of using at the energy, carry out energy-conservation, for example: increasing the energy is utilization rate, make the energy fully use to reach and use the same energy can produce more energy, the technology of these types has been promoted and has applied; Wherein, at the waste gas of technique end, the heat energy of waste water, but also do not obtain the attention of enterprise, a large amount of heat energy is run off along with the discharge of waste gas, waste water.
Energy recovery and the utilization of more existing waste gas, discharge of wastewater, generally have pair blower fan air draft energy reclaim, the energy recovery by blower fan group to combustion gas, uses heat energy in the middle of the heating of wind again, be heat energy can recycle; Also having some is the recovery to the heat energy in waste water, and the heat energy in waste discharge, through heat converter, again converts heat energy to power and uses, and also plays energy-conservation effect.These technology have certain inconvenience to a certain extent, for the air exhausting device of the air-treatment of the waste gas of technique end, all to formulate according to specific production technology, so be to need customization, in addition, for the heat converter of waste gas, it is a very important module, but existing technology is all to adopt metal material to be made, the corrosivity having for waste gas is difficult to opposing, so General Life is very short, need to often nurse and keep in repair, existing technology is all to adopt to be made into an entirety simultaneously, trouble is installed, complex structure, and efficiency is not high.
Summary of the invention
For addressing the above problem, the utility model provides a kind of air exhaust heat recoverable efficient energy-saving device, the function that it has independent assortment module, little, easy to maintenance, the close structure of taking up space, the feature that easy for installation, conversion ratio is high, the life-span is long, easy to operate and applied widely.
For achieving the above object, the technical solution adopted in the utility model is: the recoverable efficient energy-saving device of a kind of air exhaust heat, it comprises: unit and shell body, and this unit comprises maintenance modules, thermal power transfer module, bypass module, filtering module, air-valve module and noise reduction module; Described maintenance modules connects the outlet of technique end hot waste gas, the two ends of described thermal power transfer module connect respectively maintenance modules and bypass module, and then bypass module is filtering module, and the arrival end of described air-valve module and the port of export join with filtering module, noise reduction module respectively; Wherein, above-mentioned modules is all separate hardware module, and combination each other adopts external flanges to connect, and described thermal power transfer module adopts corrosion resistant coil pipe heat exchange.
Further improved, described unit adopts corrosion resistant PE material to make.
Further improved, described shell body adopts nonmetallic materials to forge.
Further improved, described maintenance modules is provided with first AD that can enter maintenance thermal power transfer module.
Further improved, described bypass module comprises: for the second AD and the cold exhaust gas entrance that is arranged on its top of cleaning and filtering.
Further improved, described air-valve module comprises: with the close-connected valve unit of described filtering module and fan unit.
Further improved, the top of described noise reduction module is provided with the rain cap that keeps out the wind, keeps off the rain.
Adopt after technique scheme, the beneficial effects of the utility model: described modules is relatively independent, can adopt building blocks to spell and take pattern independent assortment, can be according to different demands free Selection and Constitute, its combination each other adopts external flanges to connect, and described thermal power transfer module adopts corrosion resistant coil pipe heat exchange; Make its there is close structure, take up room little, lightweight, easy for installation.
In addition, it also has following feature: 1, compact conformation, and floor space is little, lightweight, easy for installation, saves construction investment; 2, flexible design, complete in specifications, practical with strong points, economize on the use of funds; 3, application conditions is extensive, is suitable for larger pressure, temperature range and medium heat exchange; 4, maintenance cost is low, easy to operate, and the snaking cycle is long, easy to clean; 5, adopt nanometer hotting mask technology, enlarge markedly heat transfer coefficient; 6, application is wide, can be widely used in the field in thermoelectricity, factories and miness, petrochemical industry, concentrated supply of heating in the city, food medicine, energy electronic, mechanical light industry, semiconductor, laboratory.
Accompanying drawing explanation
Fig. 1 is a kind of structural representation of the present utility model;
Fig. 2 is another kind of structural representation of the present utility model;
Fig. 3 is another kind of structural representation of the present utility model;
Fig. 4 is another kind of structural representation of the present utility model;
Fig. 5 is another kind of structural representation of the present utility model.
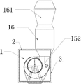
In figure: 1 unit, 2 shell bodies, 3 external flanges, 11 maintenance modules, 12 thermal power transfer modules, 13 bypass modules, 14 filtering modules, 15 air-valve modules, 16 noise reduction modules, 111 first ADs, 131 second ADs, 132 cold exhaust gas entrances, 151 valve units, 152 fan units, 161 rain caps.
The specific embodiment
As shown in Fig. 1,3,4 and 5, the utility model is about the recoverable efficient energy-saving device of a kind of air exhaust heat, it comprises: unit 1 and shell body 2, and this unit 1 comprises maintenance modules 11, thermal power transfer module 12, bypass module 13, filtering module 14, air-valve module 15 and noise reduction module 16; Described maintenance modules 11 connects the outlet of technique end hot waste gas, the two ends of described thermal power transfer module 12 connect respectively maintenance modules 11 and bypass module 13, and then bypass module 13 is filtering module 14, and the arrival end of described air-valve module 15 and the port of export join with filtering module 14, noise reduction module 16 respectively; Wherein, above-mentioned modules is all separate hardware module, and combination each other adopts external flanges 3 to connect, and described thermal power transfer module 12 adopts corrosion resistant coil pipe heat exchange.
Adopt after above-mentioned technical scheme, the utility model can freely be taken and spell combination modules according to the needs of technique, by external flanges 3, modules is coupled together simultaneously, such structure more closely, take up room little, easy for installation.
Wherein, described unit 1 adopts corrosion resistant PE material to make.
Adopt corrosion resistant PE material to make unit, make of the present utility model lighter, long service life, easy for installation, unit 1 is Paint Gloss, light, corrosion-resistant, has effectively stopped not meet the clean side seam requiring and the generation at dead angle.
Wherein, described shell body 2 adopts nonmetallic materials to forge.
Of the present utility model so just lighter, installation is more prone to, easy to clean.
Wherein, described maintenance modules 11 is provided with first AD 111 that can enter maintenance thermal power transfer module 12.
Adopt after technique scheme, the utility model enters maintenance by the first AD 111 and guarantees unit 1 round-the-clock operation under each working condition, also in order to meet user, heat exchange module 12 is carried out to maintenance, make the life-span of this product longer, clean convenient simultaneously.
Wherein, described bypass module 13 comprises: for the second AD 131 and the cold exhaust gas entrance 132 that is arranged on its top of cleaning and filtering.
Adopt after above-mentioned technical scheme, described the second AD of the present utility model can clean filtering module 11, and cold waste gas can directly filter rear discharge, without again passing through in thermal power transfer module 12 and heat energy, reduces the rate of recovery of heat energy.
Wherein, described air-valve module 15 comprises: with the close-connected valve unit 151 of described filtering module 11 and fan unit 152.
Wherein, the top of described noise reduction module 16 is provided with the rain cap 161 that keeps out the wind, keeps off the rain.
Above-mentioned valve unit 151 can, by air-valve module 15 and filtering module 14 connector closely, can not reveal all waste gas, all by fan unit 152, is discharged; Rain cap 161 in described noise reduction module 16 can play the effect of keeping out wind and rain simultaneously, has protected whole device.
As shown in Figure 2, adopt filtering module 11, air-valve module 15 and noise reduction module 16 to combine, described air-valve module 15 connects respectively filtering module 11 and noise reduction module 16, and this combination can be used illumination or the observation window in maintenance.
In addition, except above-mentioned module combination, also have other various according to use environment or client's requirement freely form needed device.
Above embodiment is only that preferred embodiment of the present utility model is described; not scope of the present utility model is limited; do not departing under the prerequisite of the utility model design spirit; various distortion and improvement that the common engineers and technicians in this area make the technical solution of the utility model, all should fall in the definite protection domain of claims of the present utility model.
Claims (7)
1. the recoverable efficient energy-saving device of air exhaust heat, it comprises: unit and shell body, this unit comprises maintenance modules, thermal power transfer module, bypass module, filtering module, air-valve module and noise reduction module; It is characterized in that: described maintenance modules connects the outlet of technique end hot waste gas, the two ends of described thermal power transfer module connect respectively maintenance modules and bypass module, and then bypass module is filtering module, and the arrival end of described air-valve module and the port of export join with filtering module, noise reduction module respectively; Wherein, above-mentioned modules is all separate hardware module, and combination each other adopts external flanges to connect, and described thermal power transfer module adopts corrosion resistant coil pipe heat exchange.
2. the recoverable efficient energy-saving device of air exhaust heat according to claim 1, is characterized in that: described unit adopts corrosion resistant PE material to make.
3. the recoverable efficient energy-saving device of air exhaust heat according to claim 1, is characterized in that: described shell body adopts nonmetallic materials to forge.
4. the recoverable efficient energy-saving device of air exhaust heat according to claim 1, is characterized in that: described maintenance modules is provided with first AD that can enter maintenance thermal power transfer module.
5. the recoverable efficient energy-saving device of air exhaust heat according to claim 1, is characterized in that: described bypass module comprises: for the second AD and the cold exhaust gas entrance that is arranged on its top of cleaning and filtering.
6. according to the recoverable efficient energy-saving device of air exhaust heat described in claim 1 and 2, it is characterized in that: described air-valve module comprises: with the close-connected valve unit of described filtering module and fan unit.
7. the recoverable efficient energy-saving device of air exhaust heat according to claim 1, is characterized in that: the top of described noise reduction module is provided with the rain cap that keeps out the wind, keeps off the rain.
Priority Applications (1)
| Application Number | Priority Date | Filing Date | Title |
|---|---|---|---|
| CN201320726038.8U CN203561245U (en) | 2013-11-18 | 2013-11-18 | High-efficiency and energy-saving device for recycling exhaust heat energy |
Applications Claiming Priority (1)
| Application Number | Priority Date | Filing Date | Title |
|---|---|---|---|
| CN201320726038.8U CN203561245U (en) | 2013-11-18 | 2013-11-18 | High-efficiency and energy-saving device for recycling exhaust heat energy |
Publications (1)
| Publication Number | Publication Date |
|---|---|
| CN203561245U true CN203561245U (en) | 2014-04-23 |
Family
ID=50510962
Family Applications (1)
| Application Number | Title | Priority Date | Filing Date |
|---|---|---|---|
| CN201320726038.8U Expired - Fee Related CN203561245U (en) | 2013-11-18 | 2013-11-18 | High-efficiency and energy-saving device for recycling exhaust heat energy |
Country Status (1)
| Country | Link |
|---|---|
| CN (1) | CN203561245U (en) |
Cited By (2)
| Publication number | Priority date | Publication date | Assignee | Title |
|---|---|---|---|---|
| WO2018119597A1 (en) * | 2016-12-26 | 2018-07-05 | 深圳智慧能源技术有限公司 | Modularized torch |
| CN109539285A (en) * | 2018-12-14 | 2019-03-29 | 中国汽车工业工程有限公司 | A kind of transverse rotation RTO |
-
2013
- 2013-11-18 CN CN201320726038.8U patent/CN203561245U/en not_active Expired - Fee Related
Cited By (3)
| Publication number | Priority date | Publication date | Assignee | Title |
|---|---|---|---|---|
| WO2018119597A1 (en) * | 2016-12-26 | 2018-07-05 | 深圳智慧能源技术有限公司 | Modularized torch |
| CN109539285A (en) * | 2018-12-14 | 2019-03-29 | 中国汽车工业工程有限公司 | A kind of transverse rotation RTO |
| CN109539285B (en) * | 2018-12-14 | 2024-06-11 | 中国汽车工业工程有限公司 | Transverse rotation RTO |
Similar Documents
| Publication | Publication Date | Title |
|---|---|---|
| CN106247371B (en) | A comprehensive utilization device for flue gas waste heat in a thermal power plant | |
| CN203561245U (en) | High-efficiency and energy-saving device for recycling exhaust heat energy | |
| CN209621560U (en) | A kind of residual heat of air compressor recycling supplying hot water circulating water saving system | |
| CN111256382A (en) | Industrial waste heat recycling system | |
| CN105587426B (en) | Thermoelectric conversion system and monitoring method for maintaining engine heat and back pressure balance | |
| CN210544244U (en) | Single-stage energy-saving dehumidifying zero-emission environment-friendly device | |
| CN201740358U (en) | Drying tower system | |
| CN202697381U (en) | Greenhouse air-conditioning system | |
| CN208986819U (en) | System for be used for high-efficient cooling of high-voltage inverter cabinet | |
| CN2814301Y (en) | Energy-saving counterflow heat exchanger | |
| CN201065822Y (en) | Natural gas compressor cooler | |
| CN205640964U (en) | Straight shaped glass pipe low temperature waste heat recovery device of ball | |
| CN107726867B (en) | A rapid cooling and dust removal system for materials at the discharge port of a vacuum furnace | |
| CN204227687U (en) | The T-shaped water supplying boiler of a kind of Verticle atmospheric pressure | |
| CN205424887U (en) | Fan heater cyclic utilization system is united to low -level (stack -gas) economizer | |
| CN210196979U (en) | Energy-saving compressed air system | |
| CN205843448U (en) | Waste heat recovery system for barbershop waste water | |
| CN218235195U (en) | Integrated low-temperature waste heat power generation system | |
| CN2391160Y (en) | Energy-saving transverse flow glass fiber reinforced plastic cooling tower | |
| CN217440123U (en) | Power generation system for full-season industrial waste heat utilization | |
| CN104748581A (en) | High-temperature natural gas cooler | |
| CN203349281U (en) | Tail gas heat energy recycling system of papermaking boiler | |
| CN202881132U (en) | Crude naphthalene single-furnace and double-tower device | |
| CN2775528Y (en) | Air conditioner with water heater | |
| CN207797841U (en) | A kind of recycling heat reclaim unit of high-temp waste gas |
Legal Events
| Date | Code | Title | Description |
|---|---|---|---|
| C14 | Grant of patent or utility model | ||
| GR01 | Patent grant | ||
| CF01 | Termination of patent right due to non-payment of annual fee |
Granted publication date: 20140423 Termination date: 20161118 |
|
| CF01 | Termination of patent right due to non-payment of annual fee |