CN203553629U - Switch cabinet - Google Patents
Switch cabinet Download PDFInfo
- Publication number
- CN203553629U CN203553629U CN201320586875.5U CN201320586875U CN203553629U CN 203553629 U CN203553629 U CN 203553629U CN 201320586875 U CN201320586875 U CN 201320586875U CN 203553629 U CN203553629 U CN 203553629U
- Authority
- CN
- China
- Prior art keywords
- support
- cabinet door
- cabinet
- shaped bent
- door
- Prior art date
- Legal status (The legal status is an assumption and is not a legal conclusion. Google has not performed a legal analysis and makes no representation as to the accuracy of the status listed.)
- Expired - Lifetime
Links
Images
Landscapes
- Patch Boards (AREA)
Abstract
本实用新型公开了一种开关柜,包括柜体和柜门,柜门通过铰链铰接在柜体上,所述开关柜还包括分别设置在柜体和柜门上支撑配合以支撑柜门的支撑结构,支撑结构包括柜门上于偏离所述铰链位置处固设有的L型弯板和柜体上对应L型弯板固设有的用于与L型弯板支撑配合的支撑体,L型弯板具有与柜门固连的长侧边和朝向柜体延伸的短侧边,支撑体上具有用于与关闭的柜门上的L型弯板的短侧边对应插配以支撑柜门的卡槽或卡孔,卡槽或卡孔具有用于与L型弯板的短侧边支撑配合的支撑壁面。当柜门关闭时,L型弯板的短侧边与支撑体上的卡槽或卡孔对应插配,L型弯板与支撑体上的卡槽或卡孔上的支撑壁面对应支撑配合,实现支撑体对柜门的支撑。
The utility model discloses a switch cabinet, which comprises a cabinet body and a cabinet door. The cabinet door is hinged on the cabinet body through a hinge. The supporting structure includes an L-shaped curved plate fixed on the cabinet door at a position deviating from the hinge and a support body fixed on the corresponding L-shaped curved plate on the cabinet body for supporting and cooperating with the L-shaped curved plate, L The curved plate has a long side fixed to the cabinet door and a short side extending toward the cabinet body, and the support body has a corresponding mating with the short side of the L-shaped curved plate on the closed cabinet door to support the cabinet. The card slot or card hole of the door, the card slot or card hole has a supporting wall for matching with the short side support of the L-shaped bent plate. When the cabinet door is closed, the short side of the L-shaped curved plate is mated with the slot or hole on the support body, and the L-shaped curved plate is matched with the slot on the support body or the support wall on the hole. Realize the support of the support body to the cabinet door.
Description
技术领域 technical field
本实用新型涉及一种开关柜。 The utility model relates to a switch cabinet.
背景技术 Background technique
现有的开关柜包括柜体和柜门,柜门通过铰链铰接在柜体上,同时,在柜门的远离铰链的一侧安装有门锁,在柜体上设有与门锁对应的锁止装置。使用时,推动柜门转动至锁止位,门锁与柜体上的锁止装置配合,实现对柜门的锁止。 The existing switchgear includes a cabinet body and a cabinet door. The cabinet door is hinged on the cabinet body through hinges. At the same time, a door lock is installed on the side of the cabinet door away from the hinge, and a lock corresponding to the door lock is provided on the cabinet body. stop device. When in use, push the cabinet door to rotate to the locking position, and the door lock cooperates with the locking device on the cabinet body to realize the locking of the cabinet door.
由于柜门仅通过铰链与柜体连接在一起,常常出现因铰链强度不足、柜门自重较大、长途运输颠簸、柜门上安装有较多的元器件造成的柜门下垂的问题,导致柜门变形严重,无法正常关闭柜门,影响开关柜的正常使用。 Since the cabinet door is only connected to the cabinet body through hinges, there are often problems of sagging of the cabinet door due to insufficient hinge strength, heavy weight of the cabinet door, bumpy long-distance transportation, and many components installed on the cabinet door. The door is seriously deformed, and the cabinet door cannot be closed normally, which affects the normal use of the switch cabinet.
实用新型内容 Utility model content
本实用新型的目的是提供一种开关柜,以解决现有技术中开关柜的柜门容易出现下垂的技术问题。 The purpose of the utility model is to provide a switchgear to solve the technical problem that the door of the switchgear in the prior art tends to sag.
为实现上述目的,本实用新型所提供的开关柜的技术方案是:一种开关柜,包括柜体和柜门,柜门通过铰链铰接在柜体上,所述开关柜还包括分别设置在柜体和柜门上支撑配合以支撑柜门的支撑结构,支撑结构包括柜门上于偏离所述铰链位置处固设有的L型弯板和柜体上对应L型弯板固设有的用于与L型弯板支撑配合的支撑体,所述L型弯板具有与柜门固连的长侧边和朝向柜体延伸的短侧边,所述支撑体上具有用于与关闭的柜门上的L型弯板的短侧边对应插配以支撑柜门的卡槽或卡孔,卡槽或卡孔具有用于与L型弯板的短侧边支撑配合的支撑壁面。 In order to achieve the above purpose, the technical solution of the switch cabinet provided by the utility model is: a switch cabinet, including a cabinet body and a cabinet door, the cabinet door is hinged on the cabinet body through hinges, and the switch cabinet also includes The body and the cabinet door are supported to support the support structure of the cabinet door. The support structure includes the L-shaped curved plate fixed on the cabinet door at a position deviating from the hinge and the corresponding L-shaped curved plate fixed on the cabinet body. The support body is matched with the support of the L-shaped bent plate, the L-shaped bent plate has a long side fixedly connected with the cabinet door and a short side extending toward the cabinet body, and the support body has a cabinet for closing The short sides of the L-shaped bent plate on the door are mated correspondingly to support the slot or hole of the cabinet door, and the slot or hole has a supporting wall for matching with the short side of the L-shaped bent plate.
所述的铰链的轴向沿上下方向延伸,所述柜门上在水平方向上远离所述铰链的一侧为开合侧,所述L型弯板固设在所述柜门的开合侧。 The axis of the hinge extends along the up and down direction, the side of the cabinet door away from the hinge in the horizontal direction is the opening and closing side, and the L-shaped curved plate is fixed on the opening and closing side of the cabinet door .
所述的支撑体包括通过螺栓联接固定设置在柜体上的支撑板,支撑板呈“凸”字形,支撑板具有用于穿装螺栓的大端部和靠近所述柜门的小端部,支撑板的小端部上设有沿上下方向分布的用于构成所述卡槽的上卡块和下卡块,所述下卡块的上侧面即为所述的支撑壁面。 The support body includes a support plate fixedly arranged on the cabinet body through bolt connection, the support plate is in the shape of a "convex", the support plate has a large end for passing through the bolt and a small end close to the cabinet door, The small end of the support plate is provided with an upper block and a lower block distributed along the vertical direction to form the slot, and the upper side of the lower block is the supporting wall.
本实用新型的有益效果是:本实用新型所提供的开关柜的柜体和柜门上设有支撑配合以支撑柜门的支撑结构,支撑结构包括L型弯板和支撑体,L型弯板具有朝向柜体延伸的短侧边,支撑体上具有卡槽或卡孔,当柜门绕铰链转动关闭时,L型弯板的短侧边与支撑体上的卡槽或卡孔对应插配, L型弯板的短侧边与支撑体上的卡槽或卡孔上的支撑壁面对应支撑配合,实现支撑体对柜门的支撑,这样,通过支撑体与铰链的配合,从两点实现对柜门的支撑,有效改善了对柜门的支撑效果,有效防止可能出现的柜门下垂的问题。 The beneficial effects of the utility model are: the cabinet body and the cabinet door of the switch cabinet provided by the utility model are provided with a support structure for supporting the cabinet door, the support structure includes an L-shaped curved plate and a support body, and the L-shaped curved plate It has a short side extending toward the cabinet body, and the support has a slot or hole. When the cabinet door is turned and closed around the hinge, the short side of the L-shaped curved plate is mated with the slot or hole on the support. , the short side of the L-shaped bent plate is supported and matched with the support wall on the support body or the support wall on the support body to realize the support of the support body to the cabinet door. In this way, through the cooperation of the support body and the hinge, the two points The support for the cabinet door effectively improves the support effect for the cabinet door and effectively prevents the possible problem of cabinet door sagging.
进一步的,将L型弯板设置在柜门的开合侧,这样,L型弯板和铰链相距较远,这样,设在柜体上的支撑体所形成的支撑点和铰链所形成的支撑点相距较远,进而可提高对柜门的支撑效果。 Further, the L-shaped bent plate is arranged on the opening and closing side of the cabinet door. In this way, the distance between the L-shaped bent plate and the hinge is far away. In this way, the supporting point formed by the support on the cabinet body and the support formed by the hinge The points are far apart, which in turn improves the support effect on the cabinet door.
附图说明 Description of drawings
图1是本实用新型所提供的开关柜一种实施例的结构示意图; Fig. 1 is the structural representation of a kind of embodiment of the switchgear provided by the utility model;
图2是图1中A处放大示意图; Fig. 2 is an enlarged schematic diagram of place A in Fig. 1;
图3是图2中B-B剖视图; Fig. 3 is B-B sectional view among Fig. 2;
图4是图2中L型弯板的结构示意图; Fig. 4 is a schematic structural view of an L-shaped bent plate in Fig. 2;
图5是图4所示L型弯板的左侧视图; Fig. 5 is a left side view of the L-shaped bent plate shown in Fig. 4;
图6是图2中支撑体的结构示意图; Fig. 6 is a schematic structural view of the support body in Fig. 2;
图7是图6所示支撑体的右侧视图。 Fig. 7 is a right side view of the supporting body shown in Fig. 6 .
具体实施方式 Detailed ways
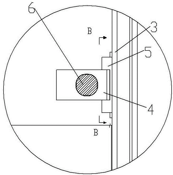
如图1至图7所示,一种开关柜的实施例,该实施例中开关柜包括柜体3和柜门1,柜门1通过铰链2铰接在柜体3上,铰链2的轴向沿上下方向延伸,本实施例中的开关柜还包括分别设置在柜体3和柜门1上支撑配合以支撑柜门的支撑结构,支撑结构包括柜体1上固设有的L型弯板4和柜体3上对应L型弯板固设有的用于与L型弯板支撑配合的支撑体5,此处柜门3上在水平方向上远离所述铰链2的一侧为开合侧,L型弯板4固设在所述柜门1的开合侧处,L型弯板具有与柜门固连的长侧边42和朝向柜体延伸的短侧边41,此处在柜门1的开合侧还安装有门锁,门锁的转轴6转动转动装配在柜门1上,在L型弯板4的长侧边42上开设有与门锁的转轴6对应定位插配的定位穿孔43。此处的支撑体5包括通过螺栓联接固定设置在柜体3上的支撑板51,支撑板51呈“凸”字形,支撑板51具有用于穿装螺栓的大端部511和靠近所述柜门的小端部512,支撑板51的小端部512上设有沿上下方向分布的上卡块52和下卡块53,两卡块形成用于与关闭的柜门1上的L型弯板4的短侧边41对应插配以支撑柜门1的卡槽54,下卡块53的上侧面为在L型弯板的短侧边与卡槽对应插配时与短侧边54支撑配合的支撑壁面。
As shown in Figures 1 to 7, an embodiment of a switch cabinet, in which the switch cabinet includes a cabinet body 3 and a cabinet door 1, the cabinet door 1 is hinged on the cabinet body 3 through a hinge 2, and the axial direction of the hinge 2 Extending in the up and down direction, the switchgear in this embodiment also includes a support structure that is respectively arranged on the cabinet body 3 and the cabinet door 1 to support and cooperate with the cabinet door. The support structure includes an L-shaped curved plate fixed on the cabinet body 1 4 and the
使用时,在将柜门1关闭后,L型弯板4的短侧边41与支撑体5上的卡槽54对应插接配合,支撑体5对柜门1形成支撑,这样,柜门1由铰链和支撑体所形成的两点支撑配合,可有效提高对柜门的支撑效果,避免柜门出现下垂。
During use, after the cabinet door 1 is closed, the
上述实施例中,支撑体上的卡槽由上下卡块所形成,在其他实施例中,也可以在支撑体的朝向柜门的一侧设置翻沿,在翻沿上设置用于与L型弯板的短侧边对应插配的卡孔,卡孔的位于底部的内壁面即为用于与L型弯板支撑配合的支撑壁面。 In the above-mentioned embodiment, the card slot on the support body is formed by the upper and lower blocks. In other embodiments, a turning edge can also be provided on the side of the support body facing the cabinet door, and the turning edge is provided for matching with the L-shaped The short side of the bent plate corresponds to the carding hole for mating, and the inner wall surface at the bottom of the carding hole is the supporting wall surface for matching with the support of the L-shaped bent plate.
上述实施例中,L型弯板设置在柜门的远离铰链的开合侧,在其他实施例中,L型弯板也也可以在布置在柜门的中部,此时,支撑体的底部或顶部将作为连接部与柜体固连。 In the above embodiments, the L-shaped bent plate is arranged on the opening and closing side of the cabinet door away from the hinge. In other embodiments, the L-shaped bent plate can also be arranged in the middle of the cabinet door. At this time, the bottom of the support body or The top will be fixedly connected with the cabinet as the connecting part.
Claims (3)
Priority Applications (1)
| Application Number | Priority Date | Filing Date | Title |
|---|---|---|---|
| CN201320586875.5U CN203553629U (en) | 2013-09-23 | 2013-09-23 | Switch cabinet |
Applications Claiming Priority (1)
| Application Number | Priority Date | Filing Date | Title |
|---|---|---|---|
| CN201320586875.5U CN203553629U (en) | 2013-09-23 | 2013-09-23 | Switch cabinet |
Publications (1)
| Publication Number | Publication Date |
|---|---|
| CN203553629U true CN203553629U (en) | 2014-04-16 |
Family
ID=50471698
Family Applications (1)
| Application Number | Title | Priority Date | Filing Date |
|---|---|---|---|
| CN201320586875.5U Expired - Lifetime CN203553629U (en) | 2013-09-23 | 2013-09-23 | Switch cabinet |
Country Status (1)
| Country | Link |
|---|---|
| CN (1) | CN203553629U (en) |
Cited By (3)
| Publication number | Priority date | Publication date | Assignee | Title |
|---|---|---|---|---|
| CN104051965A (en) * | 2014-06-23 | 2014-09-17 | 中山市明阳电器有限公司 | A cabinet door anti-dropping device and a power distribution cabinet including the same |
| CN104934876A (en) * | 2015-06-26 | 2015-09-23 | 方小刚 | Distribution box locked through screw rod |
| CN105048309A (en) * | 2015-06-26 | 2015-11-11 | 张健敏 | Distribution box provided with air flow channel |
-
2013
- 2013-09-23 CN CN201320586875.5U patent/CN203553629U/en not_active Expired - Lifetime
Cited By (3)
| Publication number | Priority date | Publication date | Assignee | Title |
|---|---|---|---|---|
| CN104051965A (en) * | 2014-06-23 | 2014-09-17 | 中山市明阳电器有限公司 | A cabinet door anti-dropping device and a power distribution cabinet including the same |
| CN104934876A (en) * | 2015-06-26 | 2015-09-23 | 方小刚 | Distribution box locked through screw rod |
| CN105048309A (en) * | 2015-06-26 | 2015-11-11 | 张健敏 | Distribution box provided with air flow channel |
Similar Documents
| Publication | Publication Date | Title |
|---|---|---|
| CN203553629U (en) | Switch cabinet | |
| CN205277121U (en) | Multi -functional lower hinge subassembly of adjustable refrigerator door height | |
| CN103628761B (en) | A kind of displaceable hinge structure | |
| CN201766293U (en) | Switchgear with anti-sagging device for cabinet doors | |
| CN204246033U (en) | Convenient soap box | |
| CN205373213U (en) | Take refrigerator of slidingtype door body | |
| CN105610059A (en) | Locking device of switch cabinet | |
| CN202090784U (en) | Cabinet door, cabinet door structure and file cabinet using the cabinet door structure | |
| CN204511201U (en) | A kind of can the single door that can put down out of push-and-pull | |
| CN106014036B (en) | Opening and closing mechanism with rotating shaft | |
| CN207988715U (en) | A kind of cabinet door lock of anti-switch cabinet door falling | |
| CN104780726A (en) | Pull cabinet body with automatic bearing structure | |
| CN105781242A (en) | Lock bolt stop block in indoor electromagnetic lock | |
| CN204238713U (en) | Multi-angle opens blind hinge | |
| CN205778058U (en) | A kind of door body limiting electronic wine cabinet | |
| CN206522036U (en) | A kind of cabinet provided with novel cabinet door hinge | |
| CN203796041U (en) | Multifunctional hinge | |
| CN203201405U (en) | Door for preventing hand from being clamped | |
| CN202961270U (en) | Vertical disinfection cabinet with electromagnetic lock | |
| CN204782446U (en) | It earth's axis hinge and door of connecting thereof | |
| CN204728854U (en) | A kind of plug-in type hides fixed hinge | |
| CN206256841U (en) | A kind of antitheft door | |
| CN207245359U (en) | A kind of adjustable catch | |
| CN204571626U (en) | A kind of safety cabinet hinge | |
| CN207960279U (en) | A kind of hinge |
Legal Events
| Date | Code | Title | Description |
|---|---|---|---|
| C14 | Grant of patent or utility model | ||
| GR01 | Patent grant | ||
| CX01 | Expiry of patent term |
Granted publication date: 20140416 |
|
| CX01 | Expiry of patent term |
