CN203521294U - Switching on/off control mechanism of centrally disposed floor type vacuum circuit breaker - Google Patents

Switching on/off control mechanism of centrally disposed floor type vacuum circuit breaker Download PDF

Info

Publication number
CN203521294U
CN203521294U CN201320662268.2U CN201320662268U CN203521294U CN 203521294 U CN203521294 U CN 203521294U CN 201320662268 U CN201320662268 U CN 201320662268U CN 203521294 U CN203521294 U CN 203521294U
Authority
CN
China
Prior art keywords
switching
switch
vacuum circuit
lever
control mechanism
Prior art date
Legal status (The legal status is an assumption and is not a legal conclusion. Google has not performed a legal analysis and makes no representation as to the accuracy of the status listed.)
Expired - Fee Related
Application number
CN201320662268.2U
Other languages
Chinese (zh)
Inventor
唐明
董雪缘
Current Assignee (The listed assignees may be inaccurate. Google has not performed a legal analysis and makes no representation or warranty as to the accuracy of the list.)
Changzhou Mecan Electrical Technology Development Co Ltd
Original Assignee
Changzhou Mecan Electrical Technology Development Co Ltd
Priority date (The priority date is an assumption and is not a legal conclusion. Google has not performed a legal analysis and makes no representation as to the accuracy of the date listed.)
Filing date
Publication date
Application filed by Changzhou Mecan Electrical Technology Development Co Ltd filed Critical Changzhou Mecan Electrical Technology Development Co Ltd
Priority to CN201320662268.2U priority Critical patent/CN203521294U/en
Application granted granted Critical
Publication of CN203521294U publication Critical patent/CN203521294U/en
Anticipated expiration legal-status Critical
Expired - Fee Related legal-status Critical Current

Links

Images

Landscapes

  • High-Tension Arc-Extinguishing Switches Without Spraying Means (AREA)

Abstract

The utility model relates to the technical field of a vacuum circuit breaker, and particularly to a switching on/off control mechanism of a centrally disposed floor type vacuum circuit breaker. The switching on/off control mechanism is provided with the components of: a switching on/off turn button, a connecting board, a lever, a straight board, an interlocking board, a switching-on switch, a crank arm and a switching-off switch. One end of the connecting board is provided with the switching on/off turn button, and the other end is connected with the lever through pin connection. The other end of the lever is connected with the straight board through pin connection. The interlocking board is fixed between the straight board and the crank arm. The interlocking board is provided with elongated waist holes and can be fixed after adjustment according to actual condition. The crank arm is fixed on a cabinet through a pin. The crank arm is a three-phase crank arm. One end of the crank arm can contact with the switching-on switch, and the other end can contact with the switching-off switch. The switching on/off control mechanism of the centrally disposed floor type vacuum circuit breaker provided by the utility model has the following advantages: convenient operation, quick switching on/off control and high safety.

Description

The switch on/off control mechanism of mid-console mode vacuum circuit-breaker
Technical field
The utility model relates to vacuum circuit-breaker technical field, is specifically related to a kind of switch on/off control mechanism of mid-console mode vacuum circuit-breaker.
Background technology
At present, the major loop of mid-console mode vacuum circuit-breaker is on cabinet, spring energy agency is under cabinet, switch on/off control mechanism is on spring energy agency, and its relative position is too near apart from ground, and manual operation is controlled inconvenient, simultaneously, mid-console mode vacuum circuit-breaker is a part for dual pressure control switch, directly contacts on/off switch switch, easily causes security incident.
Summary of the invention
The technical problems to be solved in the utility model is: the switch on/off control mechanism inconvenient operation and the unsafe technical problem that solve original mid-console mode vacuum circuit-breaker.The utility model provides a kind of switch on/off control mechanism of mid-console mode vacuum circuit-breaker, easy to operate, can control fast on/off switch, safe.
The utility model solves the technical scheme that its technical problem adopts: a kind of switch on/off control mechanism of mid-console mode vacuum circuit-breaker, there is on/off switch knob, connecting plate, lever, straight plate, interlock plate, closing switch, connecting lever, separating brake switch, connecting plate one end is provided with on/off switch knob, the other end is that pin is connected with lever, the other end of lever is also that pin is connected with straight plate, between straight plate and connecting lever, be fixed with interlock plate, on interlock plate, have long lumbar hole, can regulate again fixing according to actual conditions, connecting lever is fixed on cabinet by pin, connecting lever is three-phase connecting lever, one end can contact with closing switch, the other end can contact with separating brake switch.
When on/off switch knob clockwise rotates, drive connecting plate upwards, leverage lower straight-plate and interlock plate move downwards, and connecting lever rotates counterclockwise around pin, and connecting lever lower end advances and touches separating brake switch to the right, and vacuum circuit-breaker is separating brake.
Otherwise, when on/off switch knob rotates counterclockwise, taking connecting plate to downward, leverage lower straight-plate and interlock plate be action upwards, and connecting lever clockwise rotates around pin, and connecting lever upper end advances and touches closing switch to the right, and vacuum circuit-breaker closes a floodgate.
The beneficial effects of the utility model are: adopt the switch on/off control mechanism of mid-console mode vacuum circuit-breaker, and easy to operate, can control fast on/off switch, safe.
Accompanying drawing explanation
Below in conjunction with accompanying drawing and embodiment, the utility model is further illustrated.
Fig. 1 is the utility model structure chart.
Fig. 2 is that the A of Fig. 1 is to view.
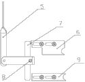
In figure: 1. on/off switch knob, 2. connecting plate, 3. lever, 4. straight plate, 5. interlock plate, 6. closing switch, 7. connecting lever, 8. pin, 9. separating brake switch, 10. cabinet.
Embodiment
As Fig. 1, the switch on/off control mechanism of a kind of mid-console mode vacuum circuit-breaker shown in Fig. 2, there is on/off switch knob 1, connecting plate 2, lever 3, straight plate 4, interlock plate 5, closing switch 6, connecting lever 7, separating brake switch 9, connecting plate 2 one end are provided with on/off switch knob 1, the other end and lever 3 are connected for pin, the other end of lever 3 is also that pin is connected with straight plate 4, between straight plate 4 and connecting lever 7, be fixed with interlock plate 5, on interlock plate 5, have long lumbar hole, can regulate again fixing according to actual conditions, connecting lever 7 is fixed on cabinet 10 by pin 9, connecting lever 7 is three-phase connecting lever, one end can contact with closing switch 6, the other end can contact with separating brake switch 9.
When on/off switch knob 1 clockwise rotates, drive connecting plate 2 upwards, lever 3 effect lower straight-plates 4 and interlock plate 5 move downwards, and connecting lever 7 rotates counterclockwise around pin 8, and connecting lever 7 lower ends advance and touch separating brake switch 9 to the right, and vacuum circuit-breaker is separating brake.
Otherwise, when on/off switch knob 1 rotates counterclockwise, take connecting plate 2 to downward, lever 3 effect lower straight-plates 4 and upwards action of interlock plate 5, connecting lever 7 clockwise rotates around pin 8, and connecting lever 7 upper ends advance and touch closing switch 6 to the right, and vacuum circuit-breaker closes a floodgate.

Claims (3)

1. the switch on/off control mechanism of a mid-console mode vacuum circuit-breaker, there is on/off switch knob (1), connecting plate (2), lever (3), straight plate (4), interlock plate (5), closing switch (6), connecting lever (7), separating brake switch (9), it is characterized in that: connecting plate (2) one end is provided with on/off switch knob (1), the other end and lever (3) are connected for pin, the other end of lever (3) is also that pin is connected with straight plate (4), between straight plate (4) and connecting lever (7), be fixed with interlock plate (5), connecting lever (7) is fixed on cabinet (10) by pin (9).
2. according to the switch on/off control mechanism of the mid-console mode vacuum circuit-breaker described in claim 1, it is characterized in that: interlock plate has long lumbar hole on (5).
3. according to the switch on/off control mechanism of the mid-console mode vacuum circuit-breaker described in claim 1, it is characterized in that: connecting lever (7) is three-phase connecting lever.
CN201320662268.2U 2013-10-25 2013-10-25 Switching on/off control mechanism of centrally disposed floor type vacuum circuit breaker Expired - Fee Related CN203521294U (en)

Priority Applications (1)

Application Number Priority Date Filing Date Title
CN201320662268.2U CN203521294U (en) 2013-10-25 2013-10-25 Switching on/off control mechanism of centrally disposed floor type vacuum circuit breaker

Applications Claiming Priority (1)

Application Number Priority Date Filing Date Title
CN201320662268.2U CN203521294U (en) 2013-10-25 2013-10-25 Switching on/off control mechanism of centrally disposed floor type vacuum circuit breaker

Publications (1)

Publication Number Publication Date
CN203521294U true CN203521294U (en) 2014-04-02

Family

ID=50380184

Family Applications (1)

Application Number Title Priority Date Filing Date
CN201320662268.2U Expired - Fee Related CN203521294U (en) 2013-10-25 2013-10-25 Switching on/off control mechanism of centrally disposed floor type vacuum circuit breaker

Country Status (1)

Country Link
CN (1) CN203521294U (en)

Cited By (1)

* Cited by examiner, † Cited by third party
Publication number Priority date Publication date Assignee Title
CN104538242A (en) * 2015-01-08 2015-04-22 宁波穆勒电气有限公司 Lock mechanism for high pressure vacuum circuit breaker

Cited By (1)

* Cited by examiner, † Cited by third party
Publication number Priority date Publication date Assignee Title
CN104538242A (en) * 2015-01-08 2015-04-22 宁波穆勒电气有限公司 Lock mechanism for high pressure vacuum circuit breaker

Similar Documents

Publication Publication Date Title
CN204632700U (en) The tripping system of residual current circuit breaker
CN205452213U (en) Electric leakage circuit breaker with touch switch
CN203521294U (en) Switching on/off control mechanism of centrally disposed floor type vacuum circuit breaker
CN104576178A (en) Closing and breaking control mechanism of middle floor-type vacuum circuit breaker
CN203826247U (en) Spring operation mechanism interlocking device
CN203839256U (en) Microswitch
CN204651245U (en) With the thermostat of two ore control
CN201616374U (en) Isolating load switch with earthing function
CN204375659U (en) A kind of electromagnetic relay
CN202026133U (en) Dual-power automatic transfer switch
MY163197A (en) Shortage voltage trip device of molded case circuit breaker
CN203708166U (en) Low-voltage motor control system
CN201311893Y (en) Controlling and protecting switch electric apparatus
CN203103931U (en) Protection device for switch-on coil of fixed-type switch cabinet
CN207966901U (en) A kind of electrical leakage tripping device of leakage circuit breakers
CN205645675U (en) Auto -lock pressure switch
CN206116234U (en) Bayonet moulded case circuit breaker interlock
CN204332854U (en) A kind of transmission device of auxiliary switch for circuit breaker
CN204966384U (en) Emergency brake separating device
CN205140859U (en) Breaker
CN204966385U (en) Open circuit in outdoor high -pressure vacuum with manual release mechanism
CN205428845U (en) Circuit breaker with structure is instructed to disconnected floodgate
CN103474292B (en) Temperature controller
CN204668265U (en) A kind of direct pull formula residual current acting tripping mechanism
CN202537138U (en) Manual microswitch for pressure cooker

Legal Events

Date Code Title Description
C14 Grant of patent or utility model
GR01 Patent grant
CF01 Termination of patent right due to non-payment of annual fee

Granted publication date: 20140402

Termination date: 20201025

CF01 Termination of patent right due to non-payment of annual fee