CN203516614U - 一种采用短惰轮轴的短轴距双离合器变速箱 - Google Patents
一种采用短惰轮轴的短轴距双离合器变速箱 Download PDFInfo
- Publication number
- CN203516614U CN203516614U CN201320503814.8U CN201320503814U CN203516614U CN 203516614 U CN203516614 U CN 203516614U CN 201320503814 U CN201320503814 U CN 201320503814U CN 203516614 U CN203516614 U CN 203516614U
- Authority
- CN
- China
- Prior art keywords
- gear
- grades
- gears
- driving
- driven
- Prior art date
- Legal status (The legal status is an assumption and is not a legal conclusion. Google has not performed a legal analysis and makes no representation as to the accuracy of the status listed.)
- Expired - Fee Related
Links
- 230000005540 biological transmission Effects 0.000 description 6
- 230000007246 mechanism Effects 0.000 description 6
- 230000009977 dual effect Effects 0.000 description 2
- 230000009286 beneficial effect Effects 0.000 description 1
- 230000008859 change Effects 0.000 description 1
- 230000008878 coupling Effects 0.000 description 1
- 238000010168 coupling process Methods 0.000 description 1
- 238000005859 coupling reaction Methods 0.000 description 1
- 238000010586 diagram Methods 0.000 description 1
- 239000000446 fuel Substances 0.000 description 1
- 238000000034 method Methods 0.000 description 1
- 230000007935 neutral effect Effects 0.000 description 1
- 230000009466 transformation Effects 0.000 description 1
Images
Landscapes
- Structure Of Transmissions (AREA)
Abstract
本实用新型揭示了一种采用短惰轮轴的短轴距双离合器变速箱,特别地,双离合器变速箱设有七个前进档位、一个倒档档位、四个同步器和一个短惰轮轴,四个同步器分别可选择连接两个档位,该变速箱还设有两组双联齿轮啮合结构。本实用新型的有益效果:采用七前进档变速箱结构的设计,具有更好的经济性和动力性;七前进档及倒档齿轮的排布更加合理;每个同步器同时对两个档位有效;本实用新型的三五档、四六档均采用双联齿轮,缩短了变速箱整体的轴向距离,降低了对变速箱外壳的设计难度;短惰轮轴的结构节省了变速箱的空间,刚度好,无扰度变形;短惰轮轴抵接于变速箱壳体,无需增加支撑设计,使得变速箱壳体设计合理,提高了整体牢固性。
Description
技术领域
本实用新型涉及一种双离合器变速箱,尤其涉及一种七前进档采用短惰轮轴的短轴距双离合器变速箱。
背景技术
双离合器变速器(DCT)的概念到目前已经有六七十年的历史。早在1939年德国的Kegresse.A第一个申请了双离合器变速器的专利,提出了将手动变速器分为两部分的设计概念,一部分传递奇数档,另一部分传递偶数档,且其动力传递通过两个离合器联结两根输入轴,相邻各档的被动齿轮交错与两输入轴齿轮啮合,配合两离合器的控制,能够实现在不切断动力的情况下转换传动比,从而缩短换档时间,有效提高换档品质。
中国的汽车市场将在未来几年演变着重大意义的变革:法规和市场压力要求提高燃油经济性和排放;激烈的竞争给整车厂带来更大的成本压力;城市汽车保有量的增加和一些拥挤的区域也要求提高驾驶的舒适性。双离合器变速箱就是在这种背景下产生了。双离合器变速箱具有换档时间短,接合较来顺等优点,所以双离合器变速箱在很多车上(尤其是B级车和SUV上)有越来越广泛的应用。
现有技术中,如CN1621715中提及一种已知的双离合器变速箱,该双离合器变速箱为六前进档位设计,且采用短惰轮轴及三组双联机构,图3是其中短惰轮轴布置示意图,短惰轮轴位于变速箱中部,需要在变速箱内设置支撑座来容纳短惰轮轴的轴杆,而支撑座凸出设置在离合器壳体的外侧,支撑座与变速箱的连接导致整体牢固度较低,易影响到变速箱、离合器壳体的使用寿命;六前进档位的设计相较于七前进档位,经济性和动力性较低,发动机效率损失高;三组双联机构增加了齿数配比的难度,很难实现整车速比的要求。
实用新型内容
本实用新型的目的在于解决上述的技术问题,提出一种采用短惰轮轴的短轴距双离合器变速箱。
本实用新型的目的,将通过以下技术方案得以实现:一种采用短惰轮轴的短轴距双离合器变速箱,包括:设置在离合器壳体内的第一离合器、第二离合器、以及伸出于所述变速箱的壳体的第一输出轴和第二输出轴;
所述第一离合器连接有第一输入轴,所述第二离合器连接有第二输入轴并且第二输入轴套接于第一输入轴,所述输出轴与输入轴相平行且位于输入轴两侧,
特别地,
所述采用短惰轮轴的短轴距双离合器变速箱设有七个前进档位和一个倒档位,
所述第一输入轴固定安装有一档主动齿轮、三五档主动齿轮和七档主动齿轮,所述一档主动齿轮设置于七档主动齿轮与三五档主动齿轮之间;
所述第二输入轴固定安装有二档主动齿轮和四六档主动齿轮,所述四六档主动齿轮与三五档主动齿轮相邻,所述二档主动齿轮与离合器相邻,
所述第一输出轴空套有一档从动齿轮、二档从动齿轮、三档从动齿轮、四档从动齿轮,
所述第二输出轴空套有五档从动齿轮、六档从动齿轮、七档从动齿轮和倒档从动齿轮,
所述一档从动齿轮与一档主动齿轮啮合,所述二档从动齿轮与二档主动齿轮啮合,
所述三档从动齿轮和五档从动齿轮与三五档主动齿轮为双联齿轮啮合结构,
所述四档从动齿轮和六档从动齿轮与四六档主动齿轮为双联齿轮啮合结构,
所述七档从动齿轮与七档主动齿轮啮合,
所述第一输出轴上相对固定设有一三档同步器和二四档同步器,所述一三档同步器可选择连接一档从动齿轮或三档从动齿轮,所述二四档同步器可选择连接二档从动齿轮或四档从动齿轮;
所述第二输出轴上相对固定设有五七档同步器和六倒档同步器,所述五七档同步器可选择连接五档从动齿轮或七档从动齿轮,所述六倒档同步器可选择连接六档从动齿轮和倒档从动齿轮,
所述采用短惰轮轴的短轴距双离合器变速箱还设有短惰轮轴,所述短惰轮轴设有第一倒档齿轮和第二倒档齿轮,所述第一倒档齿轮与二档主动齿轮啮合,所述第二倒档齿轮与倒档从动齿轮啮合。
所述短惰轮轴一端与邻近离合器的变速箱壳体一侧相抵。
优选的,所述第一输出轴还设有第一主减主动齿轮,所述第一主减主动齿轮连接于一差速器。
优选的,所述第二输出轴还设有第二主减主动齿轮,所述第二主减主动齿轮连接所述差速器。
优选的,所述短惰轮轴长度与二档主动齿轮至倒档从动齿轮轴向距离相当,所述第一倒档齿与第二倒档齿设置于短惰轮轴两端。
本实用新型的有益效果主要体现在:
1、本实用新型七前进档变速箱结构的设计,使发动机具有更好的经济性和动力性,发动机效率损失小;
2、七前进档及倒档齿轮的排布更加合理,方便装配;
3、每个同步器同时对两个档位有效,使同步器得到充分的利用;
4、本实用新型的三五档采用双联齿轮,四六档也采用双联齿轮,缩短了变速箱整体的轴向距离,节省了空间,降低了对变速箱外壳的设计难度;
5、短惰轮轴结构,节省了变速箱的空间,刚度好,无扰度变形。
6、短惰轮轴位置,短惰轮轴抵接于变速箱壳体,无需增加支撑设计,使得变速箱壳体设计合理,提高了整体牢固性。
附图说明
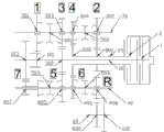
图1是本实用新型一种采用短惰轮轴的短轴距双离合器变速箱的结构示意图。
图2是本实用新型一种采用短惰轮轴的短轴距双离合器变速箱中短惰轮轴的位置示意图。
图3是现有技术中短惰轮轴的位置示意图。
具体实施方式
本实用新型提供了一种采用短惰轮轴的短轴距双离合器变速箱,如图1所示,一种采用短惰轮轴的短轴距双离合器变速箱,包括:设置在离合器壳体内的第一离合器1、第二离合器2、以及伸出于变速箱的壳体的第一输出轴30和第二输出轴40。
第一离合器1连接有第一输入轴10,第二离合器2连接有第二输入轴20并且第二输入轴20套接于第一输入轴10,输出轴与输入轴相平行且位于输入轴两侧。第一离合器1和第二离合器2有选择传输发动机扭矩至第一输出轴10和第二输出轴20。
采用短惰轮轴的短轴距双离合器变速箱设有七个前进档位和一个倒档位。七档变速箱结构的设计,使发动机具有更好的经济性和动力性,发动机效率损失小。
第一输入轴10固定安装有一档主动齿轮101、三五档主动齿轮102和七档主动齿轮103,一档主动齿轮101设置于七档主动齿轮103与三五档主动齿轮102之间。
第二输入轴20固定安装有二档主动齿轮201和四六档主动齿轮202,四六档主动齿轮202与三五档主动齿轮102相邻,二档主动齿轮201与离合器相邻。
第一输出轴30空套有一档从动齿轮301、二档从动齿轮302、三档从动齿轮303、四档从动齿轮304。
第二输出轴40空套有五档从动齿轮405、六档从动齿轮406、七档从动齿轮407和倒档从动齿轮408。
一档从动齿轮301与一档主动齿轮101啮合,二档从动齿轮302与二档主动齿轮201啮合。
三档从动齿轮303和五档从动齿轮405与三五档主动齿轮102为双联齿轮啮合结构。
四档从动齿轮304和六档从动齿轮406与四六档主动齿轮202为双联齿轮啮合结构。
七档从动齿轮407与七档主动齿轮103啮合。
第一输出轴30上相对固定设有一三档同步器501和二四档同步器502,一三档同步器501可选择连接一档从动齿轮301或三档从动齿轮303,二四档同步器502可选择连接二档从动齿轮302或四档从动齿轮304。
第二输出轴40上相对固定设有五七档同步器503和六倒档同步器504,五七档同步器503可选择连接五档从动齿轮405或七档从动齿轮407,六倒档同步器504可选择连接六档从动齿轮406和倒档从动齿轮408。
采用短惰轮轴的短轴距双离合器变速箱还设有短惰轮轴60,短惰轮轴60设有第一倒档齿轮601和第二倒档齿轮602,第一倒档齿轮601与二档主动齿轮201啮合,第二倒档齿轮602与倒档从动齿轮408啮合。
如图2所示,短惰轮轴一端与邻近离合器的变速箱壳体一侧相抵,无需增加支撑设计,使得变速箱壳体设计合理,提高了整体牢固性。
另外,第一输出轴30还设有第一主减主动齿轮,第一主减主动齿轮连接一差速器,第二输出轴40还设有第二主减主动齿轮,第二主减主动齿轮连接上述差速器,差速器主要用于对第一、二输出轴转速进行控制,第一、二主减主动齿轮与差速器属于现有技术,所以附图中省略该部分。
对上述短惰轮轴60进行详细描述,短惰轮轴60长度与二档主动齿轮201至倒档从动齿轮408轴向距离相当,此长度的短惰轮轴60节省了变速箱的空间,且具有刚度好,无扰度变形的特点,第一倒档齿601与第二倒档齿602设置于短惰轮轴60两端。
以下将对本实用新型一种采用短惰轮轴的短轴距双离合器变速箱各档位切换进行详细说明:
首先本实用新型涉及双离合器切换问题,双离合器切换属于现有技术,固在此不再赘述,通过双离合器之间切换,发动机对第一输入轴10及第二输入轴20进行驱动切换。
在空档时:第一离合器和第二离合器都处于断开状态,发动机动力不输出。
在一档时:一三档同步器501与一档从动齿轮301接合,发动机驱动第一输入轴10转动,第一输入轴10带动一档主动齿轮101转动,一档主动齿轮101驱动一档从动齿轮301转动,一档从动齿轮301带动一三档同步器501转动,一三档同步器501带动第一输出轴30转动输出。
在二档时:二四档同步器502与二档从动齿轮302接合,发动机由驱动第一输入轴10切换至驱动第二输入轴20转动,第二输入轴20带动二档主动齿轮201转动,二档主动齿轮201驱动二档从动齿轮302转动,二档从动齿轮302带动二四档同步器502转动,二四档同步器502带动第一输出轴30转动输出。
在三档时:一三档同步器501与三档从动齿轮303接合,发动机由驱动第二输入轴20切换至驱动第一输入轴10转动,第一输入轴10带动三五档主动齿轮102转动,三五档主动齿轮102驱动三档从动齿轮303转动,三档从动齿轮303带动一三档同步器501转动,一三档同步器501带动第一输出轴30转动输出。
在四档时:二四档同步器502与四档从动齿轮304接合,发动机由驱动第一输入轴10切换至驱动第二输入轴20转动,第二输入轴20带动四六档主动齿轮202转动,四六档主动齿轮202驱动四档从动齿轮304转动,四档从动齿轮304带动二四档同步器502转动,二四档同步器502带动第一输出轴30转动输出。
在五档时:五七档同步器503与五档从动齿轮405接合,发动机由驱动第二输入轴20切换至驱动第一输入轴10转动,第一输入轴10带动三五档主动齿轮102转动,三五档主动齿轮102驱动五档从动齿轮405转动,五档从动齿轮405带动五七档同步器503转动,五七档同步器503带动第二输出轴40转动输出。
在六档时:六倒档同步器504与六档从动齿轮406接合,发动机由驱动第一输入轴10切换至驱动第二输入轴20转动,第二输入轴20带动四六档主动齿轮202转动,四六档主动齿轮202驱动六档从动齿轮406转动,六档从动齿轮406带动六倒档同步器504转动,六倒档同步器504带动第二输出轴40转动输出。
在七档时:五七档同步器503与七档从动齿轮407接合,发动机由驱动第二输入轴20切换至驱动第一输入轴10转动,第一输入轴10带动七档主动齿轮103转动,七档主动齿轮103驱动七档从动齿轮407转动,七档从动齿轮407带动五七档同步器503转动,五七档同步器503带动第二输出轴40转动输出。
在倒档时:六倒档同步器504与倒档从动齿轮408接合,发动机由驱动第一输入轴10切换至驱动第二输入轴20转动,第二输入轴20带动二档主动齿轮201转动,二档主动齿轮201通过第一倒档齿轮601驱动短惰轮轴60转动,短惰轮轴60的第二倒档齿轮602带动倒档从动齿轮408转动,倒档从动齿轮408转动带动六倒档同步器504转动,六倒档同步器504带动第二输出轴40转动输出。
本实用新型尚有多种实施方式,凡采用等同变换或者等效变换而形成的所有技术方案,均落在本实用新型的保护范围之内。
Claims (4)
1.一种采用短惰轮轴的短轴距双离合器变速箱,包括:设置在离合器壳体内的第一离合器、第二离合器、以及伸出于所述变速箱的壳体的第一输出轴和第二输出轴;
所述第一离合器连接有第一输入轴,所述第二离合器连接有第二输入轴并且第二输入轴套接于第一输入轴,所述输出轴与输入轴相平行且位于输入轴两侧,
其特征在于:
所述采用短惰轮轴的短轴距双离合器变速箱设有七个前进档位和一个倒档位,
所述第一输入轴固定安装有一档主动齿轮、三五档主动齿轮和七档主动齿轮,所述一档主动齿轮设置于七档主动齿轮与三五档主动齿轮之间;
所述第二输入轴固定安装有二档主动齿轮和四六档主动齿轮,所述四六档主动齿轮与三五档主动齿轮相邻,所述二档主动齿轮与离合器相邻,
所述第一输出轴空套有一档从动齿轮、二档从动齿轮、三档从动齿轮、四档从动齿轮,
所述第二输出轴空套有五档从动齿轮、六档从动齿轮、七档从动齿轮和倒档从动齿轮,
所述一档从动齿轮与一档主动齿轮啮合,所述二档从动齿轮与二档主动齿轮啮合,
所述三档从动齿轮和五档从动齿轮与三五档主动齿轮为双联齿轮啮合结构,
所述四档从动齿轮和六档从动齿轮与四六档主动齿轮为双联齿轮啮合结构,
所述七档从动齿轮与七档主动齿轮啮合,
所述第一输出轴上相对固定设有一三档同步器和二四档同步器,所述一三档同步器可选择连接一档从动齿轮或三档从动齿轮,所述二四档同步器可选择连接二档从动齿轮或四档从动齿轮;
所述第二输出轴上相对固定设有五七档同步器和六倒档同步器,所述五七档同步器可选择连接五档从动齿轮或七档从动齿轮,所述六倒档同步器可选择连接六档从动齿轮和倒档从动齿轮,
所述采用短惰轮轴的短轴距双离合器变速箱还设有短惰轮轴,所述短惰轮轴设有第一倒档齿轮和第二倒档齿轮,所述第一倒档齿轮与二档主动齿轮啮合,所述第二倒档齿轮与倒档从动齿轮啮合,
所述短惰轮轴一端与邻近离合器的变速箱壳体一侧相抵。
2.根据权利要求1所述的一种采用短惰轮轴的短轴距双离合器变速箱,其特征在于:所述第一输出轴还设有第一主减主动齿轮,所述第一主减主动齿轮连接差速器。
3.根据权利要求1所述的一种采用短惰轮轴的短轴距双离合器变速箱,其特征在于:所述第二输出轴还设有第二主减主动齿轮,所述第二主减主动齿轮连接差速器。
4.根据权利要求1所述的一种采用短惰轮轴的短轴距双离合器变速箱,其特征在于:所述短惰轮轴长度与二档主动齿轮至倒档从动齿轮轴向距离相当,所述第一倒档齿轮与第二倒档齿轮设置于短惰轮轴两端。
Priority Applications (1)
| Application Number | Priority Date | Filing Date | Title |
|---|---|---|---|
| CN201320503814.8U CN203516614U (zh) | 2013-08-19 | 2013-08-19 | 一种采用短惰轮轴的短轴距双离合器变速箱 |
Applications Claiming Priority (1)
| Application Number | Priority Date | Filing Date | Title |
|---|---|---|---|
| CN201320503814.8U CN203516614U (zh) | 2013-08-19 | 2013-08-19 | 一种采用短惰轮轴的短轴距双离合器变速箱 |
Publications (1)
| Publication Number | Publication Date |
|---|---|
| CN203516614U true CN203516614U (zh) | 2014-04-02 |
Family
ID=50375547
Family Applications (1)
| Application Number | Title | Priority Date | Filing Date |
|---|---|---|---|
| CN201320503814.8U Expired - Fee Related CN203516614U (zh) | 2013-08-19 | 2013-08-19 | 一种采用短惰轮轴的短轴距双离合器变速箱 |
Country Status (1)
| Country | Link |
|---|---|
| CN (1) | CN203516614U (zh) |
Cited By (2)
| Publication number | Priority date | Publication date | Assignee | Title |
|---|---|---|---|---|
| CN103557287A (zh) * | 2013-08-19 | 2014-02-05 | 吉孚动力技术(中国)有限公司 | 一种采用短惰轮轴的短轴距双离合器变速箱 |
| CN104373529A (zh) * | 2014-11-24 | 2015-02-25 | 东风汽车公司 | 电控机械式变速箱 |
-
2013
- 2013-08-19 CN CN201320503814.8U patent/CN203516614U/zh not_active Expired - Fee Related
Cited By (2)
| Publication number | Priority date | Publication date | Assignee | Title |
|---|---|---|---|---|
| CN103557287A (zh) * | 2013-08-19 | 2014-02-05 | 吉孚动力技术(中国)有限公司 | 一种采用短惰轮轴的短轴距双离合器变速箱 |
| CN104373529A (zh) * | 2014-11-24 | 2015-02-25 | 东风汽车公司 | 电控机械式变速箱 |
Similar Documents
| Publication | Publication Date | Title |
|---|---|---|
| CN103557277A (zh) | 一种采用特定连齿倒档结构的短轴距双离合器变速箱 | |
| CN106763549B (zh) | 一种新型的十挡双离合器式自动变速器 | |
| CN103453081A (zh) | 一种具有双联齿轮的混动双离合器变速箱 | |
| CN102182795B (zh) | 三轴双离合器变速器 | |
| CN102966706A (zh) | 三轴双离合器变速器 | |
| CN203477208U (zh) | 一种采用特定连齿倒挡结构的双离合器变速箱 | |
| CN203548725U (zh) | 一种具有双联齿轮的混动双离合器变速箱 | |
| CN203477211U (zh) | 一种具有短惰轮轴的双离合器变速箱 | |
| CN103557294A (zh) | 一种采用长惰轮轴的短轴距双离合器变速箱 | |
| CN103557283A (zh) | 一种短轴距混动双离合器变速箱 | |
| CN203548726U (zh) | 采用特定倒挡结构且具有双联齿轮的双离合器变速箱 | |
| CN103557276A (zh) | 双离合器变速箱 | |
| CN203516614U (zh) | 一种采用短惰轮轴的短轴距双离合器变速箱 | |
| CN203686006U (zh) | 采用特定倒挡结构的双离合器变速箱 | |
| CN203548732U (zh) | 一种具有双联齿轮的短惰轮轴双离合器变速箱 | |
| CN203548724U (zh) | 具有双联齿轮的短惰轮轴双离合器变速箱 | |
| CN201973185U (zh) | 三轴双离合器变速器 | |
| CN203548731U (zh) | 一种采用特定倒挡结构的短轴距双离合器变速箱 | |
| CN203477213U (zh) | 一种短轴距混动双离合器变速箱 | |
| CN203477201U (zh) | 一种混动双离合器变速箱 | |
| CN103557287A (zh) | 一种采用短惰轮轴的短轴距双离合器变速箱 | |
| CN203686005U (zh) | 一种双离合器变速箱 | |
| CN103557282A (zh) | 一种具有双联齿轮的短惰轮轴双离合器变速箱 | |
| CN203477238U (zh) | 一种采用长惰轮轴的短轴距双离合器变速箱 | |
| CN203477214U (zh) | 具有双联齿轮的长惰轮轴双离合器变速箱 |
Legal Events
| Date | Code | Title | Description |
|---|---|---|---|
| C14 | Grant of patent or utility model | ||
| GR01 | Patent grant | ||
| CF01 | Termination of patent right due to non-payment of annual fee |
Granted publication date: 20140402 Termination date: 20140819 |
|
| EXPY | Termination of patent right or utility model |