CN203506614U - Whirlwind dust collector - Google Patents
Whirlwind dust collector Download PDFInfo
- Publication number
- CN203506614U CN203506614U CN201320262681.XU CN201320262681U CN203506614U CN 203506614 U CN203506614 U CN 203506614U CN 201320262681 U CN201320262681 U CN 201320262681U CN 203506614 U CN203506614 U CN 203506614U
- Authority
- CN
- China
- Prior art keywords
- vacuum cleaner
- cyclone separator
- pipe
- cyclone
- hose
- Prior art date
- Legal status (The legal status is an assumption and is not a legal conclusion. Google has not performed a legal analysis and makes no representation as to the accuracy of the status listed.)
- Expired - Fee Related
Links
Images
Landscapes
- Cyclones (AREA)
Abstract
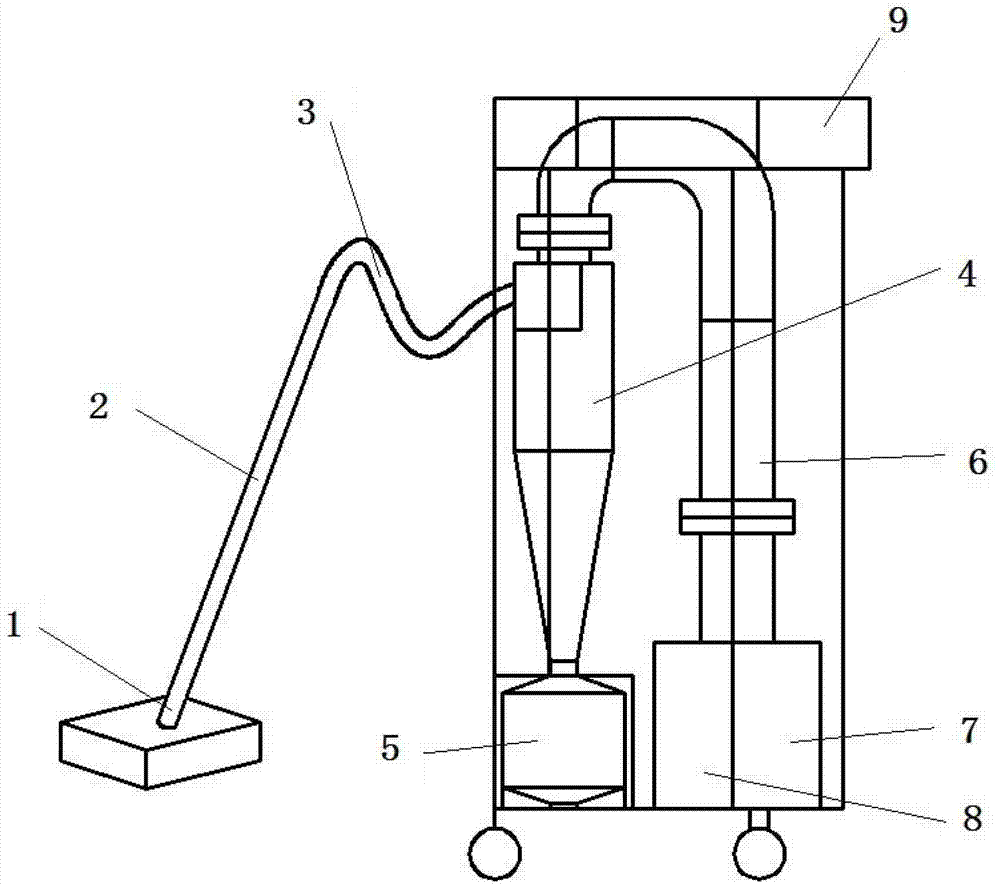
本申请涉及一种旋风吸尘器,其结构由吸头(1)、硬管(2)、软管(3)、旋风分离器(4)、集尘箱(5)、管道(6)、叶轮装置(7)、电动机(8)、外箱体(9)这些部件组成;电动机连接叶轮,由一圆柱形外壳包裹,位于吸尘器整体的下方;叶轮装置(7)上方连接管道(6);管道垂直向上延伸然后弯曲180°后口向下连接旋风分离器(4)的出口;旋风分离器下方连接集尘箱(5),旋风分离器与集尘箱之间使用卡套接头;旋风分离器进口处连接一软管(3);软管伸出吸尘器外箱体(9)连接可伸缩硬管(2);可伸缩硬管螺纹连接吸尘器吸头(1)吸尘器的最大特点在于采用了旋风分离器,这种类型的吸尘器吸率维持性能比真空吸尘器好,电机寿命也更长,后期投入小,噪音小,容易清理,而且可以处理潮湿介质。它基本靠空气离心力来分离灰尘和空气,很大程度上避免过滤装置的堵塞,从而很大的提高了产品的使用寿命。
This application relates to a cyclone vacuum cleaner, the structure of which consists of a suction head (1), a hard pipe (2), a hose (3), a cyclone separator (4), a dust collection box (5), a pipe (6), and an impeller device (7), motor (8), and outer box (9); the motor is connected to the impeller, which is wrapped by a cylindrical shell and located below the whole vacuum cleaner; the upper part of the impeller device (7) is connected to the pipe (6); the pipe is vertical Extend upwards and then bend 180° to connect the outlet of the cyclone separator (4) downward; the bottom of the cyclone separator is connected to the dust collection box (5), and a ferrule joint is used between the cyclone separator and the dust collection box; the inlet of the cyclone separator Connect a hose (3); the hose extends out of the outer box of the vacuum cleaner (9) and connects to the retractable hard tube (2); the retractable hard tube is threaded to connect the vacuum cleaner suction head (1). The biggest feature of the vacuum cleaner is that it adopts cyclone separation This type of vacuum cleaner has better suction rate maintenance performance than vacuum cleaners, longer motor life, less investment in the later stage, low noise, easy to clean, and can handle wet media. It basically relies on the centrifugal force of the air to separate dust and air, largely avoiding the clogging of the filter device, thus greatly improving the service life of the product.
Description
技术领域 technical field
本实用新型涉及一种吸尘器,具体涉及一种旋风吸尘器 The utility model relates to a vacuum cleaner, in particular to a cyclone vacuum cleaner
背景技术 Background technique
目前市场上的家用吸尘器大多采用过滤原理,电动机高速驱动风机叶轮旋转,使空气高速排出,而风机前端吸尘室内空气不断地补充风机中的空气,致使吸尘室内产生瞬时真空,和外界大气压形成负压差,在此压差的作用下,吸入含灰尘的空气,经过滤尘器过滤,排出清净的空气。这样的吸尘器结构较复杂,易损件多,不易清理,不能处理潮湿气体,后期投入大,效率较低,噪音较大,长时间使用后吸力会骤减。如果把旋风除尘器应用到家用吸尘器上,这些问题都将迎刃而解。 At present, most of the household vacuum cleaners on the market adopt the principle of filtration. The motor drives the fan impeller to rotate at high speed, so that the air is discharged at high speed, and the air in the dust collection room at the front end of the fan continuously replenishes the air in the fan, resulting in an instantaneous vacuum in the dust collection room, which is formed with the external atmospheric pressure. Negative pressure difference, under the action of this pressure difference, the dusty air is sucked in, filtered by the dust filter, and clean air is discharged. Such a vacuum cleaner has a complex structure, many wearing parts, is not easy to clean, cannot handle humid gas, requires a lot of investment in the later stage, has low efficiency, and is noisy. If the cyclone dust collector is applied to the household vacuum cleaner, these problems will be solved. the
实用新型内容 Utility model content
本实用新型所要解决的技术问题在于提供一种结构简单、效率较高和可靠性高的旋风吸尘器。 The technical problem to be solved by the utility model is to provide a cyclone vacuum cleaner with simple structure, high efficiency and high reliability. the
本实用新型所要解决的技术问题采用以下技术方案来实现,该吸尘器结构由吸头(1)、硬管(2)、软管(3)、旋风分离器(4)、集尘箱(5)、管道(6)、叶轮装置(7)、电动机(8)、外箱体(9)这些部件组成。电动机连接叶轮,由一圆柱形外壳包裹,位于吸尘器整体的下方;叶轮装置(7)上方连接管道(6);管道垂直向上延伸然后弯曲180°后口向下连接旋风分离器(4)的出口;旋风分离器下方连接集尘箱(5),旋风分离器与集尘箱之间使用卡套接头;旋风分离器进口处连接一软管(3);软管伸出吸尘器外箱体(9)连接可伸缩硬管(2);可伸缩硬管螺纹连接吸尘器吸头(1)。 The technical problem to be solved by the utility model is realized by adopting the following technical scheme. The structure of the vacuum cleaner consists of a suction head (1), a hard pipe (2), a hose (3), a cyclone separator (4), and a dust box (5) , pipeline (6), impeller device (7), motor (8), these parts of outer casing (9). The motor is connected to the impeller, which is wrapped by a cylindrical shell and located below the overall vacuum cleaner; the impeller device (7) is connected to the pipe (6); the pipe extends vertically upwards and then bends 180°, and the rear mouth is connected downwards to the outlet of the cyclone separator (4) ;The bottom of the cyclone separator is connected to the dust collection box (5), and a ferrule joint is used between the cyclone separator and the dust collection box; a hose (3) is connected to the inlet of the cyclone separator; the hose extends out of the outer box of the vacuum cleaner (9 ) to connect the telescopic hard tube (2); the telescopic hard tube is threadedly connected to the suction head of the vacuum cleaner (1). the
本吸尘器的最大特点在于旋风分离器的使用和集尘装置的改进,首先,在叶轮工作装置前增加一个旋风分离器,可以利用离心力分离空气和灰尘,很大程度上避免过滤装置的堵塞,从而很大的提高了产品的使用寿命。不受含尘气体的浓度、温度限制。对于粉尘的物理性质无特殊要求。再而,集尘箱体是可拆卸的,比集尘袋更加容易清理。同时,集尘袋需要不定期的购买,而集尘箱能够反复使用。集尘箱选用具有很好的透光性的PC塑料,可以随时看到灰斗内灰尘的量,以便及时清理。 The biggest feature of this vacuum cleaner is the use of the cyclone separator and the improvement of the dust collection device. First, a cyclone separator is added in front of the impeller working device, which can separate the air and dust by centrifugal force, and largely avoid the blockage of the filter device, thereby Greatly improved the service life of the product. It is not limited by the concentration and temperature of dusty gas. There are no special requirements for the physical properties of the dust. Furthermore, the dust collection box is detachable, which is easier to clean than dust collection bags. At the same time, the dust bag needs to be purchased irregularly, while the dust box can be used repeatedly. The dust collection box is made of PC plastic with good light transmission, and the amount of dust in the dust bucket can be seen at any time for timely cleaning. the
附图说明 Description of drawings
图1为旋风吸尘器简图 Figure 1 is a schematic diagram of a cyclone vacuum cleaner
图2为旋风吸尘器内部结构图 Figure 2 is the internal structure diagram of the cyclone vacuum cleaner
具体实施方式 Detailed ways
为了使本实用新型实现的技术手段、创作特征、达成目的与功效易于明白了解,下面结合具体图示,进一步阐述本实用新型。 In order to make the technical means, creative features, goals and effects achieved by the utility model easy to understand, the utility model will be further elaborated below in conjunction with specific illustrations. the
该旋风吸尘器工作时,电动机(8)开启使得叶轮装置(7)内的叶轮转动使得管道内产 生压力差,将灰尘从吸头(1)吸入,经硬管(2)、软管(3)到达旋风分离器(4),进入时气流将由直线运动变为圆周运动。旋转气流的绝大部分沿器壁自圆筒体呈螺旋形向下,朝锥体流动。含尘气体在旋转过程中产生离心力,将密度大于气体的尘粒甩向器壁。尘粒一旦与器壁接触,便失去惯性而靠入口速度的动量和向下的重力沿壁面下落,通过排灰管,进入集尘箱(5)旋转下降的外旋气流在到达锥体时,因圆锥形的收缩而向除尘器中心靠拢。根据“旋转矩”不变原理,其切向速度不断提高。当气流到达锥体下端某一位置时,由下而上继续做螺旋形运动,即内旋气流。最后净化气经排气管排出器外。 When the cyclone vacuum cleaner is working, the motor (8) is turned on to make the impeller in the impeller device (7) rotate to generate a pressure difference in the pipeline, and the dust is sucked in from the suction head (1) and passed through the hard tube (2) and hose (3). ) to the cyclone separator (4), the airflow will change from linear motion to circular motion when entering. Most of the swirling air flow spirals downward from the cylinder along the wall of the device and flows toward the cone. The dust-containing gas generates centrifugal force during the rotation process, and the dust particles with a density higher than the gas are thrown to the wall of the container. Once the dust particles come into contact with the wall of the container, they lose their inertia and fall along the wall by the momentum of the entrance velocity and the downward gravity, and enter the dust collection box (5) through the ash discharge pipe. Due to the contraction of the cone, it moves closer to the center of the dust collector. According to the principle of "rotational moment" constant, its tangential speed increases continuously. When the airflow reaches a certain position at the lower end of the cone, it continues to make a spiral movement from bottom to top, that is, the internal swirling airflow. Finally, the purified gas is discharged out of the device through the exhaust pipe. the
以上显示和描述了本实用新型的基本原理和主要特征和本实用新型的优点。本行业的技术人员应该了解,本实用新型不受上述实施例的限制,上述实施例和说明书中描述的只是说明本实用新型的原理,在不脱离本实用新型精神和范围的前提下,本实用新型还会有各种变化和改进,这些变化和改进都落入要求保护的本实用新型范围内。本实用新型要求保护范围由所附的权利要求书及其等效物界定。 The basic principles and main features of the present utility model and the advantages of the present utility model have been shown and described above. Those skilled in the art should understand that the utility model is not limited by the above-mentioned embodiments. The above-mentioned embodiments and descriptions only illustrate the principle of the utility model. Without departing from the spirit and scope of the utility model, the utility model The new model also has various changes and improvements, and these changes and improvements all fall within the scope of the claimed utility model. The scope of protection required by the utility model is defined by the appended claims and their equivalents. the
Claims (1)
Priority Applications (1)
| Application Number | Priority Date | Filing Date | Title |
|---|---|---|---|
| CN201320262681.XU CN203506614U (en) | 2013-05-15 | 2013-05-15 | Whirlwind dust collector |
Applications Claiming Priority (1)
| Application Number | Priority Date | Filing Date | Title |
|---|---|---|---|
| CN201320262681.XU CN203506614U (en) | 2013-05-15 | 2013-05-15 | Whirlwind dust collector |
Publications (1)
| Publication Number | Publication Date |
|---|---|
| CN203506614U true CN203506614U (en) | 2014-04-02 |
Family
ID=50365603
Family Applications (1)
| Application Number | Title | Priority Date | Filing Date |
|---|---|---|---|
| CN201320262681.XU Expired - Fee Related CN203506614U (en) | 2013-05-15 | 2013-05-15 | Whirlwind dust collector |
Country Status (1)
| Country | Link |
|---|---|
| CN (1) | CN203506614U (en) |
Cited By (5)
| Publication number | Priority date | Publication date | Assignee | Title |
|---|---|---|---|---|
| WO2016172928A1 (en) * | 2015-04-30 | 2016-11-03 | 博世电动工具(中国)有限公司 | Electric tool component and cyclone dust collector thereof |
| CN106859479A (en) * | 2017-03-21 | 2017-06-20 | 山东大宗生物开发股份有限公司 | Dust workshop Cyclonic dust collector |
| CN108375543A (en) * | 2018-04-18 | 2018-08-07 | 安徽理工大学 | A kind of adhesive type cohesive force measuring detection device |
| CN111588303A (en) * | 2019-02-21 | 2020-08-28 | Seb公司 | Vacuum cleaner |
| CN112008858A (en) * | 2020-08-21 | 2020-12-01 | 湖南联智智能科技有限公司 | Mud jacking machine |
-
2013
- 2013-05-15 CN CN201320262681.XU patent/CN203506614U/en not_active Expired - Fee Related
Cited By (6)
| Publication number | Priority date | Publication date | Assignee | Title |
|---|---|---|---|---|
| WO2016172928A1 (en) * | 2015-04-30 | 2016-11-03 | 博世电动工具(中国)有限公司 | Electric tool component and cyclone dust collector thereof |
| CN107613827A (en) * | 2015-04-30 | 2018-01-19 | 博世电动工具(中国)有限公司 | Electric tool component and its Cyclonic dust collector |
| CN106859479A (en) * | 2017-03-21 | 2017-06-20 | 山东大宗生物开发股份有限公司 | Dust workshop Cyclonic dust collector |
| CN108375543A (en) * | 2018-04-18 | 2018-08-07 | 安徽理工大学 | A kind of adhesive type cohesive force measuring detection device |
| CN111588303A (en) * | 2019-02-21 | 2020-08-28 | Seb公司 | Vacuum cleaner |
| CN112008858A (en) * | 2020-08-21 | 2020-12-01 | 湖南联智智能科技有限公司 | Mud jacking machine |
Similar Documents
| Publication | Publication Date | Title |
|---|---|---|
| CN204363891U (en) | A kind of Novel hand-held type dust catcher | |
| CN203506614U (en) | Whirlwind dust collector | |
| CN102821665B (en) | Cyclone separators and electric vacuum cleaners | |
| CN103622642A (en) | Dust collector dust cup without suction loss | |
| CN206009023U (en) | A kind of bipyramid cylinder cyclone dust collector | |
| CN204562014U (en) | A kind of cyclone body dirt cup with wind-guiding spiral plate | |
| CN107874706A (en) | A kind of multi-stage cyclone cyclone body and dirt cup structure | |
| CN201500495U (en) | Cyclone separation filter | |
| CN107837036A (en) | Stick vacuums dirt cup filtration system and the stick vacuums using the filtration system | |
| CN102125411A (en) | Automatic cleaning dust collection device of dust collector | |
| CN111672208A (en) | A particle dust separation and collection device | |
| CN207520098U (en) | Dust collect plant and dust catcher | |
| CN203364204U (en) | Swirling-flow type range hood | |
| CN202776166U (en) | Suction force loss-free dust cup for dust collector | |
| CN105662278A (en) | Cyclone dust collecting device and dust collector | |
| CN110237637A (en) | A composite dust collector for a fluidized dryer and its control system | |
| CN101843463A (en) | Novel dust collector dust collection barrel | |
| CN201061795Y (en) | Industry suction cleaner | |
| CN205287979U (en) | Compound dust remover of pipe bag | |
| CN211838517U (en) | Drum Vertical Cyclone Separator | |
| CN102755141B (en) | The eddy current uniform dust fall structure of dust-collecting cylinder | |
| CN212119300U (en) | Dust removal device | |
| CN204581155U (en) | A kind of cyclone separator of dust catcher | |
| CN206007159U (en) | Cyclone dust collecting unit and vacuum cleaner | |
| CN207478155U (en) | A workshop dust recovery device |
Legal Events
| Date | Code | Title | Description |
|---|---|---|---|
| C14 | Grant of patent or utility model | ||
| GR01 | Patent grant | ||
| CF01 | Termination of patent right due to non-payment of annual fee |
Granted publication date: 20140402 Termination date: 20150515 |
|
| EXPY | Termination of patent right or utility model |
