CN203501559U - 大换热面积冰箱用翅片式蒸发器 - Google Patents
大换热面积冰箱用翅片式蒸发器 Download PDFInfo
- Publication number
- CN203501559U CN203501559U CN201320577322.3U CN201320577322U CN203501559U CN 203501559 U CN203501559 U CN 203501559U CN 201320577322 U CN201320577322 U CN 201320577322U CN 203501559 U CN203501559 U CN 203501559U
- Authority
- CN
- China
- Prior art keywords
- heat exchange
- refrigerator
- fin
- refrigerant line
- exchange fin
- Prior art date
- Legal status (The legal status is an assumption and is not a legal conclusion. Google has not performed a legal analysis and makes no representation as to the accuracy of the status listed.)
- Expired - Fee Related
Links
- 239000003507 refrigerant Substances 0.000 claims abstract description 25
- 238000010438 heat treatment Methods 0.000 claims abstract description 19
- 238000010408 sweeping Methods 0.000 claims description 3
- 238000005057 refrigeration Methods 0.000 description 3
- 238000005452 bending Methods 0.000 description 2
- 230000008020 evaporation Effects 0.000 description 2
- 238000001704 evaporation Methods 0.000 description 2
- 239000007788 liquid Substances 0.000 description 2
- 239000004020 conductor Substances 0.000 description 1
- 238000010586 diagram Methods 0.000 description 1
- 230000000694 effects Effects 0.000 description 1
- 238000005485 electric heating Methods 0.000 description 1
- 238000005516 engineering process Methods 0.000 description 1
- 238000000034 method Methods 0.000 description 1
- 238000010257 thawing Methods 0.000 description 1
- 230000008719 thickening Effects 0.000 description 1
Images
Landscapes
- Defrosting Systems (AREA)
- Heat-Exchange Devices With Radiators And Conduit Assemblies (AREA)
Abstract
本实用新型公开了一种大换热面积冰箱用翅片式蒸发器,包括安装在冰箱箱体内的制冷剂管路,冰箱箱体内与所述制冷剂管路平行并排设有加热管,在所述加热管和制冷剂管路上安装有表面呈弯曲状的换热翅片。本实用新型中的换热翅片的表面呈弯曲状,截面呈S形,因此与以往平板形换热翅片相比大大加大了散热面积,在不增加蒸发器占用空间的前提下达到增加热交换面积、满足冰箱制冷需求的目的。
Description
技术领域
本实用新型属于家电技术领域,具体涉及电冰箱用的蒸发器。
背景技术
目前,冰箱上用的蒸发器分为普通管路加蒸发板型、在蒸发板中直接吹出管路以及翅片式蒸发器,其中翅片式蒸发器中的翅片为平板型且垂直于制冷管路,翅片蒸发面积为翅片长×宽。现有的翅片式蒸发器有时不能满足热量交换要求。为了达到设计热量交换要求,现有技术的技术手段是将各个翅片之间距离减少,通过增加翅片数,来达到增加面积的要求。但这样处理后,还是存在冰箱空间有限、仍不能满足热量交换要求的情况。
实用新型内容
本实用新型的目的在于提供一种大换热面积冰箱用翅片式蒸发器。
为实现上述目的,本实用新型的大换热面积冰箱用翅片式蒸发器包括安装在冰箱箱体内的制冷剂管路,制冷剂管路上安装有表面呈弯曲状的换热翅片,制冷剂管路穿过所述换热翅片并与所述换热翅片固定连接在一起。
所述换热翅片的截面呈S形。
冰箱箱体内与所述制冷剂管路平行并排设有加热管,所述加热管穿过所述换热翅片并与所述换热翅片固定连接在一起。
所述换热翅片沿所述加热管和制冷剂管路均匀间隔设有5-20组。
本实用新型中的换热翅片的表面呈弯曲状,截面呈S形,因此与以往平板形换热翅片相比大大加大了散热面积,在不增加蒸发器占用空间的前提下达到增加热交换面积、满足冰箱制冷需求的目的。
附图说明
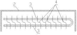
图1是本实用新型的剖视结构示意图;
图2是图1的俯视剖视示意图。
具体实施方式
如图1和图2所示,本实用新型的大换热面积冰箱用翅片式蒸发器包括安装在冰箱箱体2内的制冷剂管路1(即制冷剂流动经过的管路),冰箱箱体2内与所述制冷剂管路1平行并排设有加热管3,加热管3与制冷剂管路1之间有一定间隔。加热管3优选采用电加热管,当然也可以采用与外置加热器相连的传热导体。在所述加热管3和制冷剂管路1上安装有表面呈弯曲状的换热翅片4。如图2所示,所述换热翅片4的截面呈S形。如图1和图2所示,所述加热管3位于所述制冷剂管路1的上方。
如图1和图2所示,所述制冷剂管路1和所述加热管3分别穿过所述换热翅片4并与所述换热翅片4固定连接在一起;所述换热翅片4沿所述加热管3和制冷剂管路1均匀间隔设有5-20组,优选为图2所示的12组。
本实用新型工作时,制冷剂从制冷剂管路1流过,制冷剂在流动中由液态向气液混合状态转变,通过换热翅片4吸收冰箱内的热量,将冰箱箱体2内的温度降低,达到热量交换、为冰箱降温的目的。本实用新型工作时,换热翅片4和制冷剂管路1表面会因为温度较低而结霜,长时间工作后霜层加厚,影响换热效果,此时就需要利用加热管3进行除霜。加热管3产生的热量传递给换热翅片4,使换热翅片4上的霜层融化,达到除霜的目的。本实用新型的换热翅片4的表面呈弯曲状,截面呈S形,因此大大增加了蒸发器向冰箱传递冷量时的换热面积。由于换热翅片4同时安装在制冷剂管路1和加热管3上,因此也增加了化霜时的换热面积。总之,本实用新型通过增大换热面积,提高了冰箱制冷以及化霜时的换热效率,同时无须增大蒸发器的体积,无须另外多占用冰箱内部有限的空间。
Claims (4)
1.大换热面积冰箱用翅片式蒸发器,其特征在于,包括安装在冰箱箱体内的制冷剂管路,制冷剂管路上安装有表面呈弯曲状的换热翅片,制冷剂管路穿过所述换热翅片并与所述换热翅片固定连接在一起。
2.根据权利要求1所述的大换热面积冰箱用翅片式蒸发器,其特征在于:所述换热翅片的截面呈S形。
3.根据权利要求1或2所述的大换热面积冰箱用翅片式蒸发器,其特征在于:冰箱箱体内与所述制冷剂管路平行并排设有加热管,所述加热管穿过所述换热翅片并与所述换热翅片固定连接在一起。
4.根据权利要求3所述的大换热面积冰箱用翅片式蒸发器,其特征在于:所述换热翅片沿所述加热管和制冷剂管路均匀间隔设有5-20组。
Priority Applications (1)
| Application Number | Priority Date | Filing Date | Title |
|---|---|---|---|
| CN201320577322.3U CN203501559U (zh) | 2013-09-18 | 2013-09-18 | 大换热面积冰箱用翅片式蒸发器 |
Applications Claiming Priority (1)
| Application Number | Priority Date | Filing Date | Title |
|---|---|---|---|
| CN201320577322.3U CN203501559U (zh) | 2013-09-18 | 2013-09-18 | 大换热面积冰箱用翅片式蒸发器 |
Publications (1)
| Publication Number | Publication Date |
|---|---|
| CN203501559U true CN203501559U (zh) | 2014-03-26 |
Family
ID=50332535
Family Applications (1)
| Application Number | Title | Priority Date | Filing Date |
|---|---|---|---|
| CN201320577322.3U Expired - Fee Related CN203501559U (zh) | 2013-09-18 | 2013-09-18 | 大换热面积冰箱用翅片式蒸发器 |
Country Status (1)
| Country | Link |
|---|---|
| CN (1) | CN203501559U (zh) |
Cited By (2)
| Publication number | Priority date | Publication date | Assignee | Title |
|---|---|---|---|---|
| CN107514842A (zh) * | 2016-06-17 | 2017-12-26 | 杭州三花家电热管理系统有限公司 | 一种换热器 |
| CN109945539A (zh) * | 2019-04-30 | 2019-06-28 | 绍兴艾思吉制冷设备有限公司 | 一种便于使用的小型模块化制冷机组 |
-
2013
- 2013-09-18 CN CN201320577322.3U patent/CN203501559U/zh not_active Expired - Fee Related
Cited By (2)
| Publication number | Priority date | Publication date | Assignee | Title |
|---|---|---|---|---|
| CN107514842A (zh) * | 2016-06-17 | 2017-12-26 | 杭州三花家电热管理系统有限公司 | 一种换热器 |
| CN109945539A (zh) * | 2019-04-30 | 2019-06-28 | 绍兴艾思吉制冷设备有限公司 | 一种便于使用的小型模块化制冷机组 |
Similar Documents
| Publication | Publication Date | Title |
|---|---|---|
| CN104864634A (zh) | 间冷冰箱用扁管穿片式易排水微通道蒸发器 | |
| CN201653005U (zh) | 一种空调冷凝器 | |
| CN204718193U (zh) | 铝合金翅片排管蒸发器装置 | |
| CN203464544U (zh) | 一种风冷热泵空调机换热器 | |
| CN203501559U (zh) | 大换热面积冰箱用翅片式蒸发器 | |
| CN102393105A (zh) | 制冷设备用蒸发器 | |
| CN203231590U (zh) | 一种新型微通道换热器 | |
| CN112179164A (zh) | 一种翅片式换热器及制冷设备 | |
| CN203163576U (zh) | 变径波节换热管 | |
| CN204227981U (zh) | 一种换热器翅片及具有该翅片的换热器 | |
| CN202254521U (zh) | 一种用于热泵热水器的微通道冷凝器 | |
| CN103925744A (zh) | 冰箱及冰箱换热器 | |
| CN203629149U (zh) | 蒸发器 | |
| CN204027395U (zh) | 一种蜂窝式陶瓷蓄热换热器 | |
| CN204188029U (zh) | 微通道特种异形弧面热交换器 | |
| CN204787450U (zh) | 一种蒸发式冷凝器上的高效加热及除霜装置 | |
| CN205843141U (zh) | 一种冰箱平行流管侧壁冷凝器 | |
| CN204923933U (zh) | 一种蒸发式冷凝器 | |
| CN201992912U (zh) | 一种热交换器 | |
| CN203964750U (zh) | 一种翅片换热排管 | |
| CN104006692A (zh) | 变径波节换热管 | |
| CN204202254U (zh) | 电冰箱蒸发器 | |
| CN202304115U (zh) | 翅片式换热器 | |
| CN203489454U (zh) | 一种地下水冷空调表冷器 | |
| CN201314732Y (zh) | 一种多排冷凝器 |
Legal Events
| Date | Code | Title | Description |
|---|---|---|---|
| GR01 | Patent grant | ||
| GR01 | Patent grant | ||
| CF01 | Termination of patent right due to non-payment of annual fee |
Granted publication date: 20140326 Termination date: 20180918 |
|
| CF01 | Termination of patent right due to non-payment of annual fee |