CN203497544U - 一种新型上架输送机升降托辊架 - Google Patents
一种新型上架输送机升降托辊架 Download PDFInfo
- Publication number
- CN203497544U CN203497544U CN201320595679.4U CN201320595679U CN203497544U CN 203497544 U CN203497544 U CN 203497544U CN 201320595679 U CN201320595679 U CN 201320595679U CN 203497544 U CN203497544 U CN 203497544U
- Authority
- CN
- China
- Prior art keywords
- wheel
- motor
- roller frame
- lower whorl
- supporting plate
- Prior art date
- Legal status (The legal status is an assumption and is not a legal conclusion. Google has not performed a legal analysis and makes no representation as to the accuracy of the status listed.)
- Expired - Fee Related
Links
- 230000002401 inhibitory effect Effects 0.000 claims description 9
- 230000005540 biological transmission Effects 0.000 description 3
- 239000011449 brick Substances 0.000 description 2
- 238000010586 diagram Methods 0.000 description 2
- 238000004519 manufacturing process Methods 0.000 description 2
- FGRBYDKOBBBPOI-UHFFFAOYSA-N 10,10-dioxo-2-[4-(N-phenylanilino)phenyl]thioxanthen-9-one Chemical compound O=C1c2ccccc2S(=O)(=O)c2ccc(cc12)-c1ccc(cc1)N(c1ccccc1)c1ccccc1 FGRBYDKOBBBPOI-UHFFFAOYSA-N 0.000 description 1
- 230000009286 beneficial effect Effects 0.000 description 1
- 230000015572 biosynthetic process Effects 0.000 description 1
- 238000012423 maintenance Methods 0.000 description 1
Images
Landscapes
- Rollers For Roller Conveyors For Transfer (AREA)
Abstract
一种新型上架输送机升降托辊架,它包括托辊、摆杆a、摆杆b、双排链、电机轮、下轮a、下轮b、下链轮、上链轮、下轴、上轴、电机、托板、升降气缸、限位装置和托辊架;电机固定托板下;电机有电机轮,电机轮与下轮a经双排链连接,托辊设上轴,上轴设上链轮,上链轮与下链轮通过双排链相连;下链轮、下轮a、下轮b通过下轴连接;电机轮通过双排链带动下轮a,下轮a经下轴带动下轮b与下链轮,下轮b经双排链带动下轮b;托辊架固定在托板,托板设摆杆a,摆杆a下有升降气缸,托板另设摆杆b,摆杆b边有限位装置。本方案使用寿命长,维修方便;限位装置使托辊定位准确,简化结构,降底成本。
Description
技术领域
本实用新型涉及一种砖瓦上架输送机升降托辊架,尤其涉及一种新型上架输送机升降托辊架。
背景技术
当空板转运机把托板送到上架输送机上坯段的正确位置后,升降托辊架上升使传送装置辊筒高于托板方管,然后传送装置辊筒和分坯编组系统传送皮带同时转动,使分坯编组系统传送皮带上的砖坯运动到传送装置辊筒上,并拉开砖距;当砖坯运动到位后,升降托辊架降下,辊筒上的砖坯落在托板。
升降托辊架是上架输送机最重要的部件,目前使用的升降托辊架大多采用齿轮传动,由于受托板空间限制,不得不采用小模数齿轮传动.齿轮强度差,寿命短,故障率高,维修不便,常影响整条线的生产。
实用新型内容
本实用新型的目的是该新型上架输送机升降托辊架采用双排链传动,同时增加限位装置,来实现托辊的准确定位。 新型上架输送机升降托辊架还采用四个平行摆杆取代原升降装置,大大简化了结构,降底了成本。
一种新型上架输送机升降托辊架,它包括托辊、摆杆a、摆杆b、双排链、电机轮、下轮a、下轮b、下链轮、上链轮、下轴、上轴、电机、托板、升降气缸、限位装置和托辊架;所述的电机固定于托板一侧下方;所述电机上设有电机轮,电机轮与托辊架上设的下轮a通过双排链连接,电机启动后带动电机轮,电机轮通过双排链带动下轮a形成单个循环连接;所述的托辊两端对称设有上轴;上轴一端设在托辊上,另一端设有上链轮,上链轮与下链轮通过双排链相连形成单个循环连接;下链轮、下轮a、下轮b通过下轴连接;电机轮通过双排链带动下轮a,下轮a通过下轴带动下轮b与下链轮,下轮b通过双排链带动多个平行的下轮b形成平行的连接循环链,下链轮通过双排链带动上链轮形成单个循环连接;托辊架一侧固定连接在托板上,托板的一端上设有摆杆a,摆杆a的下方连接有升降气缸,托板的另一端上设有摆杆b,摆杆b的一侧设有限位装置。
所述的电机轮、下轮a、下轮b、下链轮、上链轮均为一轮双齿轮。
采用本技术方案的有益效果:本技术方案中的双排链取代了原齿轮机构,增加了使用寿命,降低了故障频率,使维修更加方便;同时增加了限位装置使托辊定位更加准确,刚性好,工作平稳,振动减小;新机构采用平行的摆杆取代原升降装置,简化了结构,降底了制造成本。
附图说明
图1为本实用新型所述的新型上架输送机升降托辊架的结构示意图;
图2为图1的局部示意图;
图3为图1的横面示意图;
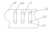
图中:1—托辊,2—摆杆a,2.1—摆杆b,3—双排链,4—电机轮,5—下轮a,5.1—下轮b, 6.1—下链轮,6.2—上链轮,7.1—下轴,7.2—上轴,8—电机,9—托板,10—升降气缸,11—限位装置, 12—托辊架。
具体实施方式
下面结合附图说明对本实用新型作如下说明:
如图所示,本实用新型所述的一种新型上架输送机升降托辊架,它包括托辊1、摆杆a2、摆杆b2.1、双排链3、电机轮4、下轮a5、下轮b5.1、下链轮6.1、上链轮6.2、下轴7.1、上轴7.2、电机8、托板9、升降气缸10、限位装置11和托辊架12;所述的电机8固定于托板9一侧下方;所述电机8上设有电机轮4,电机轮4与托辊架12上设的下轮a5通过双排链3连接,电机8启动后带动电机轮4,电机轮4通过双排链3带动下轮a5形成单个循环连接;所述的托辊1两端对称设有上轴7.2;上轴7.2一端设在托辊1上,另一端设有上链轮6.2,上链轮6.2与下链轮6.1通过双排链3相连形成单个循环连接;下链轮6.1、下轮a5、下轮b5.1通过下轴7.1连接;电机轮4通过双排链3带动下轮a5,下轮a5通过下轴7.1带动下轮b5.1与下链轮6.1,下轮b5.1通过双排链3带动多个平行的下轮b5.1形成平行的连接循环链,下链轮6.1通过双排链3带动上链轮6.2形成单个循环连接;托辊架12一侧固定连接在托板9上,托板9的一端上设有摆杆a2,摆杆a2的下方连接有升降气缸10,托板9的另一端上设有摆杆b2.1,摆杆b2.1的一侧设有限位装置11。
所述的电机轮4、下轮a5、下轮b5.1、下链轮6.1、上链轮6.2均为一轮双齿轮。
Claims (2)
1.一种新型上架输送机升降托辊架,其特征在于:它包括托辊(1)、摆杆a(2)、摆杆b(2.1)、双排链(3)、电机轮(4)、下轮a(5)、下轮b(5.1)、下链轮(6.1)、上链轮(6.2)、下轴(7.1)、上轴(7.2)、电机(8)、托板(9)、升降气缸(10)、限位装置(11)和托辊架(12);所述的电机(8)固定于托板(9)一侧下方;所述电机(8)上设有电机轮(4),电机轮(4)与托辊架(12)上设的下轮a(5)通过双排链(3)连接,电机(8)启动后带动电机轮(4),电机轮(4)通过双排链(3)带动下轮a(5)形成单个循环连接;所述的托辊(1)两端对称设有上轴(7.2);上轴(7.2)一端设在托辊(1)上,另一端设有上链轮(6.2),上链轮(6.2)与下链轮(6.1)通过双排链(3)相连形成单个循环连接;下链轮(6.1)、下轮a(5)、下轮b(5.1)通过下轴(7.1)连接;电机轮(4)通过双排链(3)带动下轮a(5),下轮a(5)通过下轴(7.1)带动下轮b(5.1)与下链轮(6.1),下轮b(5.1)通过双排链(3)带动多个平行的下轮b(5.1)形成平行的连接循环链,下链轮(6.1)通过双排链(3)带动上链轮(6.2)形成单个循环连接;托辊架(12)一侧固定连接在托板(9)上,托板(9)的一端上设有摆杆a(2),摆杆a(2)的下方连接有升降气缸(10),托板(9)的另一端上设有摆杆b(2.1),摆杆b(2.1)的一侧设有限位装置(11)。
2.根据权利要求1 所述的新型上架输送机升降托辊架,其特征在于:所述的电机轮(4)、下轮a(5)、下轮b(5.1)、下链轮(6.1)、上链轮(6.2)均为一轮双齿轮。
Priority Applications (1)
| Application Number | Priority Date | Filing Date | Title |
|---|---|---|---|
| CN201320595679.4U CN203497544U (zh) | 2013-09-26 | 2013-09-26 | 一种新型上架输送机升降托辊架 |
Applications Claiming Priority (1)
| Application Number | Priority Date | Filing Date | Title |
|---|---|---|---|
| CN201320595679.4U CN203497544U (zh) | 2013-09-26 | 2013-09-26 | 一种新型上架输送机升降托辊架 |
Publications (1)
| Publication Number | Publication Date |
|---|---|
| CN203497544U true CN203497544U (zh) | 2014-03-26 |
Family
ID=50328542
Family Applications (1)
| Application Number | Title | Priority Date | Filing Date |
|---|---|---|---|
| CN201320595679.4U Expired - Fee Related CN203497544U (zh) | 2013-09-26 | 2013-09-26 | 一种新型上架输送机升降托辊架 |
Country Status (1)
| Country | Link |
|---|---|
| CN (1) | CN203497544U (zh) |
Cited By (7)
| Publication number | Priority date | Publication date | Assignee | Title |
|---|---|---|---|---|
| CN104003112A (zh) * | 2014-04-29 | 2014-08-27 | 雄华机械(苏州)有限公司 | 一种可升降倾斜的输送机构 |
| CN105730974A (zh) * | 2016-04-15 | 2016-07-06 | 苏州康博特液压升降机械有限公司 | 一种具有输送辊道的升降机 |
| CN105775574A (zh) * | 2016-04-15 | 2016-07-20 | 苏州康博特液压升降机械有限公司 | 一种辊道式升降机 |
| CN105775573A (zh) * | 2016-04-15 | 2016-07-20 | 苏州康博特液压升降机械有限公司 | 一种辊道的传动装置 |
| CN107792607A (zh) * | 2017-09-14 | 2018-03-13 | 佛山市顺德区乐华陶瓷洁具有限公司 | 一种陶瓷坯干燥窑车及其装卸设备 |
| CN107934358A (zh) * | 2017-11-21 | 2018-04-20 | 湖州昱泰物流科技有限公司 | 一种上下排布双滚筒输送线结构 |
| CN112978213A (zh) * | 2021-05-11 | 2021-06-18 | 荣智工企智能技术(昆山)有限公司 | 一种输送装置 |
-
2013
- 2013-09-26 CN CN201320595679.4U patent/CN203497544U/zh not_active Expired - Fee Related
Cited By (11)
| Publication number | Priority date | Publication date | Assignee | Title |
|---|---|---|---|---|
| CN104003112A (zh) * | 2014-04-29 | 2014-08-27 | 雄华机械(苏州)有限公司 | 一种可升降倾斜的输送机构 |
| CN104003112B (zh) * | 2014-04-29 | 2016-03-30 | 雄华机械(苏州)有限公司 | 一种可升降倾斜的输送机构 |
| CN105730974A (zh) * | 2016-04-15 | 2016-07-06 | 苏州康博特液压升降机械有限公司 | 一种具有输送辊道的升降机 |
| CN105775574A (zh) * | 2016-04-15 | 2016-07-20 | 苏州康博特液压升降机械有限公司 | 一种辊道式升降机 |
| CN105775573A (zh) * | 2016-04-15 | 2016-07-20 | 苏州康博特液压升降机械有限公司 | 一种辊道的传动装置 |
| CN105775574B (zh) * | 2016-04-15 | 2019-05-31 | 苏州康博特液压升降机械有限公司 | 一种辊道式升降机 |
| CN105775573B (zh) * | 2016-04-15 | 2019-05-31 | 苏州康博特液压升降机械有限公司 | 一种辊道的传动装置 |
| CN107792607A (zh) * | 2017-09-14 | 2018-03-13 | 佛山市顺德区乐华陶瓷洁具有限公司 | 一种陶瓷坯干燥窑车及其装卸设备 |
| CN107934358A (zh) * | 2017-11-21 | 2018-04-20 | 湖州昱泰物流科技有限公司 | 一种上下排布双滚筒输送线结构 |
| CN112978213A (zh) * | 2021-05-11 | 2021-06-18 | 荣智工企智能技术(昆山)有限公司 | 一种输送装置 |
| CN112978213B (zh) * | 2021-05-11 | 2021-07-27 | 荣智工企智能技术(昆山)有限公司 | 一种输送装置 |
Similar Documents
| Publication | Publication Date | Title |
|---|---|---|
| CN203497544U (zh) | 一种新型上架输送机升降托辊架 | |
| CN202361807U (zh) | 电炉加料提升机 | |
| CN204078660U (zh) | 一种用于波纹板的链板输送装置 | |
| CN210504231U (zh) | 一种稳定性好的顶升移栽机 | |
| CN204489967U (zh) | 轮胎输送线自动脱钩机 | |
| CN203112102U (zh) | 新型升降输送机构 | |
| CN203306710U (zh) | 一种顶升移栽机 | |
| CN202954257U (zh) | 一种钢丝绳或钢绞线过油机 | |
| CN105420801A (zh) | 一种电镀线龙门式双钩行车 | |
| CN204549250U (zh) | 一种陶瓷产品生产流水线自动输送系统 | |
| CN203682363U (zh) | 一种改进的电子元器件的传送工装 | |
| CN204368894U (zh) | 一种毛坯提升装置 | |
| CN203497730U (zh) | 一种玻璃送片台 | |
| CN202828786U (zh) | 一种自动传送轨道 | |
| CN201896275U (zh) | 新型制绳机 | |
| CN202396360U (zh) | 一种湿面条挂架提升装置 | |
| CN205275768U (zh) | 一种电镀线龙门式双钩行车 | |
| CN202880355U (zh) | 用于秸秆碎料的提升机 | |
| CN205089926U (zh) | 一种传动装置 | |
| CN203714594U (zh) | 电动升降移载机 | |
| CN201999493U (zh) | 结构改良的压合回流线链条输送机构 | |
| CN203268921U (zh) | 运输板材的皮带输送机可张紧中间架机构 | |
| CN202897479U (zh) | 石油钻杆接头生产线液压机自动上料装置 | |
| CN201162367Y (zh) | 吊挂式立体停车装置 | |
| CN201980917U (zh) | 皮带提升装置 |
Legal Events
| Date | Code | Title | Description |
|---|---|---|---|
| GR01 | Patent grant | ||
| GR01 | Patent grant | ||
| CF01 | Termination of patent right due to non-payment of annual fee |
Granted publication date: 20140326 Termination date: 20170926 |
|
| CF01 | Termination of patent right due to non-payment of annual fee |