CN203495633U - Automatic fixation hub device - Google Patents
Automatic fixation hub device Download PDFInfo
- Publication number
- CN203495633U CN203495633U CN201320610241.9U CN201320610241U CN203495633U CN 203495633 U CN203495633 U CN 203495633U CN 201320610241 U CN201320610241 U CN 201320610241U CN 203495633 U CN203495633 U CN 203495633U
- Authority
- CN
- China
- Prior art keywords
- hub
- wheel hub
- conveying track
- fixture
- folder
- Prior art date
- Legal status (The legal status is an assumption and is not a legal conclusion. Google has not performed a legal analysis and makes no representation as to the accuracy of the status listed.)
- Expired - Fee Related
Links
- 230000000694 effects Effects 0.000 description 3
- 230000009286 beneficial effect Effects 0.000 description 2
- 238000010586 diagram Methods 0.000 description 2
- 238000004519 manufacturing process Methods 0.000 description 2
- 108010036922 cytoplasmic linker protein 115 Proteins 0.000 description 1
- 238000010030 laminating Methods 0.000 description 1
- 238000012986 modification Methods 0.000 description 1
- 230000004048 modification Effects 0.000 description 1
- 238000004806 packaging method and process Methods 0.000 description 1
Images
Landscapes
- Automobile Manufacture Line, Endless Track Vehicle, Trailer (AREA)
Abstract
The utility model relates to an automatic fixation hub device which comprises a fixation device and a hub conveying track which conveys a hub into the fixation device. The hub conveying track is connected with the fixation device and the fixation device comprises a supporting base, a supporting frame arranged on the supporting base and four hydraulic pumps connected to the supporting frame in four directions. Four clamp faces are connected with the tops of push rods of the four hydraulic pumps respectively and slant face clamps connected to the tops of the clamp faces through hinges are further arranged on the clamp faces in the direction of entering the fixation device along the hub conveying track. The automatic fixation hub device has the advantages that the hub can be automatically fixed, efficiency is improved and cost is reduced.
Description
Technical field
The utility model relates to a kind of packaging facilities of wheel hub accessory, particularly relates to a kind of automatic stationary hub device.
Background technology
In prior art, in the production process of wheel hub, on production line, to the fixing of wheel hub, be a difficult problem always, so be badly in need of a kind of machine that can address the aforementioned drawbacks, occur.
Utility model content
The utility model is exactly in order to address the above problem, and overcomes in prior art and produces the existing problem of wheel hub, and the utility model provides a kind of automatic stationary hub device to satisfy the demands.
To achieve these goals, the technical solution of the utility model is as follows:
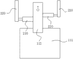
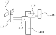
A kind of automatic stationary hub device, comprise that fixture and transportation wheel hub enter the wheel hub conveying track of fixture, described wheel hub conveying track is connected and fixed device, it is characterized in that, described fixture comprises base for supporting, is arranged at the bracing frame on base for supporting, be connected on bracing frame four hydraulic pumps towards four direction, the push rod top of four hydraulic pumps connects respectively four folder faces, describedly along wheel hub conveying track, enters and on the folder face in fixture direction, is also provided with one and is connected through the hinge at the inclined-plane clip at folder face top.
Above-mentioned a kind of automatic stationary hub device, is characterized in that, the height of described four folder faces is inconsistent.
Above-mentioned a kind of automatic stationary hub device, is characterized in that, the area of described four folder faces is inconsistent.
The beneficial effects of the utility model are: can automatically to wheel hub, be fixed, improve efficiency, provided cost savings.
Accompanying drawing explanation
Fig. 1 is the side schematic view of fixture;
Fig. 2 is the side partial schematic diagram of fixture;
Fig. 3 is the side view of Fig. 1.
The specific embodiment
For technological means, creation characteristic that the utility model is realized, reach object and effect is easy to understand, below in conjunction with concrete diagram, further set forth the utility model.
Referring to Fig. 1, Fig. 2 and Fig. 3, a kind of automatic stationary hub device, comprises that fixture and transportation wheel hub enter the wheel hub conveying track of fixture, and described wheel hub conveying track is connected and fixed device.Fixture 110 comprises base for supporting 111, is arranged at the bracing frame 112 on base for supporting 111, be connected on bracing frame 112 four hydraulic pumps 113 towards four direction, the push rod top of four hydraulic pumps 113 connects respectively four folder faces 114, along wheel hub conveying track 100, enters and on the folder face 114 in fixture 110 directions, is also provided with one and is connected through the hinge at the inclined-plane clip 115 at folder face top.When wheel hub is transferred on wheel hub conveying track 100, first through inclined-plane 115, arrive between four folder faces 114 of fixture 100, then four hydraulic pumps 113 are controlled folder face 114 laminating wheel hubs again, thereby reach the effect of location.Further, height and the area of four folder faces 114 are inconsistent, therefore can position the wheel hub of various different sizes.
Same plane four direction is fixed a wheel hub, required four hydraulic pumps 113 simultaneously but different distance work together, reach an effect.
The beneficial effects of the utility model are automatically to wheel hub, to shift, and improved efficiency, provided cost savings.
More than show and described basic principle of the present utility model, principal character and advantage of the present utility model.The technical staff of the industry should understand; the utility model is not restricted to the described embodiments; that in above-described embodiment and description, describes just illustrates principle of the present utility model; under the prerequisite that does not depart from the utility model spirit and scope, the utility model also has various changes and modifications, and these changes and improvements all fall within the scope of claimed the utility model.The claimed scope of the utility model is defined by appending claims and equivalent thereof.
Claims (3)
1. an automatic stationary hub device, comprise that fixture and transportation wheel hub enter the wheel hub conveying track of fixture, described wheel hub conveying track is connected and fixed device, it is characterized in that, described fixture comprises base for supporting, is arranged at the bracing frame on base for supporting, be connected on bracing frame four hydraulic pumps towards four direction, the push rod top of four hydraulic pumps connects respectively four folder faces, describedly along wheel hub conveying track, enters and on the folder face in fixture direction, is also provided with one and is connected through the hinge at the inclined-plane clip at folder face top.
2. a kind of automatic stationary hub device according to claim 1, is characterized in that, the height of described four folder faces are inconsistent.
3. according to a kind of automatic stationary hub device described in claim 1 or 2, it is characterized in that, the area of described four folder faces is inconsistent.
Priority Applications (1)
| Application Number | Priority Date | Filing Date | Title |
|---|---|---|---|
| CN201320610241.9U CN203495633U (en) | 2013-09-30 | 2013-09-30 | Automatic fixation hub device |
Applications Claiming Priority (1)
| Application Number | Priority Date | Filing Date | Title |
|---|---|---|---|
| CN201320610241.9U CN203495633U (en) | 2013-09-30 | 2013-09-30 | Automatic fixation hub device |
Publications (1)
| Publication Number | Publication Date |
|---|---|
| CN203495633U true CN203495633U (en) | 2014-03-26 |
Family
ID=50326640
Family Applications (1)
| Application Number | Title | Priority Date | Filing Date |
|---|---|---|---|
| CN201320610241.9U Expired - Fee Related CN203495633U (en) | 2013-09-30 | 2013-09-30 | Automatic fixation hub device |
Country Status (1)
| Country | Link |
|---|---|
| CN (1) | CN203495633U (en) |
Cited By (1)
| Publication number | Priority date | Publication date | Assignee | Title |
|---|---|---|---|---|
| CN108896324A (en) * | 2018-05-31 | 2018-11-27 | 烟台知兴知识产权咨询服务有限公司 | Wheel hub fixing device for automobile inspection |
-
2013
- 2013-09-30 CN CN201320610241.9U patent/CN203495633U/en not_active Expired - Fee Related
Cited By (2)
| Publication number | Priority date | Publication date | Assignee | Title |
|---|---|---|---|---|
| CN108896324A (en) * | 2018-05-31 | 2018-11-27 | 烟台知兴知识产权咨询服务有限公司 | Wheel hub fixing device for automobile inspection |
| CN108896324B (en) * | 2018-05-31 | 2020-06-26 | 李晨 | Wheel hub fixing device for automobile inspection |
Similar Documents
| Publication | Publication Date | Title |
|---|---|---|
| CN203877423U (en) | Conveying device of packaging machine | |
| CN204280065U (en) | A kind of battery pack vanning conveying vanning registration device | |
| CN204686462U (en) | A kind of pipe circumference cutting machine clamping device | |
| CN203307701U (en) | Mobile lane | |
| CN203495633U (en) | Automatic fixation hub device | |
| CN204643180U (en) | A kind of stack equipment of stand | |
| CN203356924U (en) | Welding fixture | |
| CN203006288U (en) | Bottle cap conveying device | |
| CN203791908U (en) | Special welding fixture for support frames | |
| CN204747916U (en) | Pipe welding frock | |
| CN203998095U (en) | Glass is proofreaied and correct vertical mechanism | |
| CN203156091U (en) | Flange drilling machine | |
| CN203529400U (en) | Aligning device for stacker crane transfer track | |
| CN203754391U (en) | Labeling mechanism on high-purity solvent filling machine | |
| CN203956565U (en) | A kind of engine support milling inner-hole frock | |
| CN203870234U (en) | Automatic detection instrument for magnetic flux | |
| CN204346173U (en) | A kind of welding stock column cap | |
| CN203565984U (en) | Sheet material stopping device | |
| CN103538043A (en) | Lifting knife rest work table | |
| CN103979166A (en) | Bag installing machine clamping hole shaping device | |
| CN203127766U (en) | Palletizing machine | |
| CN204674926U (en) | A kind of annular conveyor line | |
| CN203638474U (en) | Waste transfer device | |
| CN204342022U (en) | Pallet piler | |
| CN203667451U (en) | Multifunctional hub accessory concentrating box device |
Legal Events
| Date | Code | Title | Description |
|---|---|---|---|
| GR01 | Patent grant | ||
| GR01 | Patent grant | ||
| CF01 | Termination of patent right due to non-payment of annual fee |
Granted publication date: 20140326 Termination date: 20150930 |
|
| EXPY | Termination of patent right or utility model |