CN203494624U - Multipurpose corn crusher - Google Patents
Multipurpose corn crusher Download PDFInfo
- Publication number
- CN203494624U CN203494624U CN201320535615.5U CN201320535615U CN203494624U CN 203494624 U CN203494624 U CN 203494624U CN 201320535615 U CN201320535615 U CN 201320535615U CN 203494624 U CN203494624 U CN 203494624U
- Authority
- CN
- China
- Prior art keywords
- screen cloth
- layer
- ground floor
- fixed mount
- layer screen
- Prior art date
- Legal status (The legal status is an assumption and is not a legal conclusion. Google has not performed a legal analysis and makes no representation as to the accuracy of the status listed.)
- Expired - Fee Related
Links
- 240000008042 Zea mays Species 0.000 title claims abstract description 29
- 235000002017 Zea mays subsp mays Nutrition 0.000 title claims abstract description 29
- 235000005824 Zea mays ssp. parviglumis Nutrition 0.000 title claims abstract description 28
- 235000005822 corn Nutrition 0.000 title claims abstract description 28
- 239000004744 fabric Substances 0.000 claims abstract description 105
- 230000007246 mechanism Effects 0.000 claims abstract description 16
- 239000011148 porous material Substances 0.000 claims description 14
- 230000001105 regulatory effect Effects 0.000 abstract description 3
- 208000003643 Callosities Diseases 0.000 abstract 1
- 206010020649 Hyperkeratosis Diseases 0.000 abstract 1
- 239000002245 particle Substances 0.000 abstract 1
- 238000000034 method Methods 0.000 description 12
- 230000008569 process Effects 0.000 description 12
- 235000013339 cereals Nutrition 0.000 description 4
- 230000008859 change Effects 0.000 description 4
- 238000007599 discharging Methods 0.000 description 4
- 239000000843 powder Substances 0.000 description 4
- 241001075561 Fioria Species 0.000 description 3
- 235000013312 flour Nutrition 0.000 description 3
- 230000008878 coupling Effects 0.000 description 2
- 238000010168 coupling process Methods 0.000 description 2
- 238000005859 coupling reaction Methods 0.000 description 2
- 239000008187 granular material Substances 0.000 description 2
- 239000000463 material Substances 0.000 description 2
- 230000002093 peripheral effect Effects 0.000 description 2
- 238000010298 pulverizing process Methods 0.000 description 2
- RRHGJUQNOFWUDK-UHFFFAOYSA-N Isoprene Chemical compound CC(=C)C=C RRHGJUQNOFWUDK-UHFFFAOYSA-N 0.000 description 1
- 240000000359 Triticum dicoccon Species 0.000 description 1
- 235000016383 Zea mays subsp huehuetenangensis Nutrition 0.000 description 1
- 230000009286 beneficial effect Effects 0.000 description 1
- 230000005540 biological transmission Effects 0.000 description 1
- 230000000694 effects Effects 0.000 description 1
- 238000005516 engineering process Methods 0.000 description 1
- 235000009973 maize Nutrition 0.000 description 1
- 239000000203 mixture Substances 0.000 description 1
- 229920001195 polyisoprene Polymers 0.000 description 1
- 239000002994 raw material Substances 0.000 description 1
Images
Landscapes
- Crushing And Pulverization Processes (AREA)
Abstract
The utility model discloses a multipurpose corn crusher, which comprises a rack, a driving device and a main shaft connected with the driving device, wherein the main shaft is connected with a crushing mechanism; the crushing mechanism comprises a crushing screen; the crushing screen comprises a fixing frame for fixing screen cloth; a first layer of screen cloth and a second layer of screen cloth are arranged on the fixing frame; the first layer of screen cloth is fixedly arranged on the fixing frame; the second layer of screen cloth is arranged on the periphery of the first layer of screen cloth; an elastic object is connected to one end of the second layer of screen cloth, and a regulation device is connected to the other end of the second layer of screen cloth, and comprises a regulation threaded rod connected to the second layer of screen cloth and a bracket fixedly connected to the fixing frame; a through hole matched with the regulation threaded rod is arranged on the bracket; the regulation threaded rod penetrates through the through hole of the bracket, and is connected with a regulation nut. According to the multipurpose corn crusher, the sizes of screen holes can be regulated, so that different corns with different particle sizes can be processed, and the requirements of a user can be met; the corn crusher is particularly applied to families.
Description
Technical field
The utility model belongs to corn processing equipment, relates to specifically a kind of multipurpose corn grinder.
Background technology
In this year, along with China's rural economy is fast-developing, various farm machineries are household small-size crops processing equipment especially, becomes the good assistant of farmer richness.Corn grinder becomes the indispensable processing equipment of farmers' family especially.
The Chinese utility model patent that for example application number is 02202051.9 discloses a kind of Multifunctional pulverizers, especially a kind of Multifunctional pulverizers that integrates the functions such as fodder crushing and Yulin, rice-wheat threshing.Mainly contain the compositions such as body seat, machine body cover, rotor, blower fan and chaff discharging tube.Rotor adopts quincunx turntable structure, and centre is quincunx hammer carrier, and two ends disc hammer carrier, is fixedly connected by coupling spindle, and hammer leaf can arbitrarily be arranged and install on coupling spindle.
The Chinese utility model patent that for example application number is 96247679.X again discloses a kind of corn grinder, it is to drive screw rod to rotate by belt pulley, corn is compressed into grinding barrel to be pulverized under the rotation of crushing wheel, after pulverizing, drop on screen cloth, swing mechanism drives screen cloth to swing, and in one end of screen cloth, discharging opening is installed, and the below of screen cloth is provided with air blast, the wind that air blast blows out is delivered to the below of discharging opening by air duct, blow away by the maize peel after pulverizing.
Application number is that 200420037938.2 Chinese utility model patent discloses a kind of Versatile Mill, by feed hopper, body, be contained in cutter wheel device, grinding head device in body, be contained in body outer and the conveying auger connecting with grinding head device discharging opening, the wind sheltering device that is arranged on bistrique upside and motor, transmission device etc. and form, the propeller of grinding head device, at the downside of cutter wheel device, drives cutter wheel device, grinding head device to carry out separating twice to liquor-making raw material by motor by tumbler.
Application number is that 201220288651.1 Chinese utility model patent discloses a kind of pulverizer, comprise the be connected fan leaf fixing with main shaft, fan leaf is between powder mechanism and powder inner wall, on powder chamber wall corresponding to fan leaf, have fresh air inlet, feed hopper is arranged on the powder cavity outer wall away from fresh air inlet one side.
High speed relative motion between corn grinder utilization activity fluted disc and fixed gear plate, chamber is pulverized through comprehensive acquisitions such as tooth impact, rubbing machine thing impact to each other by crushed material, by crushed material, can directly in main frame mill chamber, be got rid of, granule size obtains by changing the mesh screen of different pore size.
Yet, for home-use corn grinder, all only set the mesh screen of a pore size; In the time need to obtaining the Yulin grain of different grain size size, can only go to buy pore size different mesh screen, poor practicability.
Utility model content
The utility model is in order to overcome existing corn grinder because can not adjustment aperture size causing corn grinder can not process the problem of the iblet of different sizes, and provide a kind of multipurpose corn grinder, can regulate the pore size of mesh screen, thereby process the different iblet of granule size, meet people's demand, be specially adapted to family and use.
The utility model is to overcome the technical scheme that above-mentioned technical problem adopts to be:
A kind of multipurpose corn grinder, comprise frame, drive unit, the main shaft being connected with drive unit, described main shaft connects disintegrating mechanism, described disintegrating mechanism comprises grinding screen, it is characterized in that: described grinding screen comprises the fixed mount of fixed grit, described fixed mount is provided with ground floor screen cloth and second layer screen cloth, described ground floor screen cloth is fixedly mounted on fixed mount, it is peripheral that described second layer screen cloth is located at ground floor screen cloth, described second layer screen cloth one end is connected with elasticity thing, the other end is connected with adjusting device, described adjusting device comprises the adjusting screw(rod) being connected on second layer screen cloth, and be fixedly connected on the support on fixed mount, described support is provided with the through hole coordinating with adjusting screw(rod), described adjusting screw(rod) is connected with adjusting nut through the through hole of support.
Further, the aperture of described ground floor screen cloth is identical or different from the screen-aperture size of second layer screen cloth.
Further, the screen-aperture size of described ground floor screen cloth and second layer screen cloth is 5---10mm.
Further, described elasticity thing is helical spring.
Compared with prior art, the utlity model has following beneficial effect:
One, multipurpose corn grinder of the present utility model, comprise frame, drive unit, the main shaft being connected with drive unit, main shaft connects disintegrating mechanism, disintegrating mechanism comprises grinding screen, grinding screen comprises the circular fixed mount of fixed grit, fixed mount is provided with ground floor screen cloth and second layer screen cloth, ground floor screen cloth is fixedly mounted on fixed mount, it is peripheral that second layer screen cloth is located at ground floor screen cloth, second layer screen cloth one end is connected with elasticity thing, the other end is connected with adjusting device, adjusting device comprises the adjusting screw(rod) being connected on second layer screen cloth, and be fixedly connected on the support on fixed mount, support is provided with the through hole coordinating with adjusting screw(rod), adjusting screw(rod) is connected with adjusting nut through the through hole of support.When being arranged on the sieve aperture of second layer screen cloth of ground floor screen cloth periphery and the sieve aperture of ground floor screen cloth corresponding time, can process the iblet of bulky grain degree, regulate the adjusting screw(rod) of second layer screen cloth, change the correspondence position of the ground floor screen mesh of second layer screen cloth, be equivalent to change the size of the sieve aperture of screen cloth, can process the iblet of different sizes, meet people's demand, the utility model is specially adapted to family and uses.
Two, the aperture of ground floor screen cloth of the present utility model is identical or different from the pore size of second layer screen cloth, has practical feature.
Three, the pore size of ground floor screen cloth of the present utility model and second layer screen cloth is 5---10mm, can process oarse-grained iblet, also can, by regulating the position of second layer screen cloth to process pulverous corn flour, make the utlity model has practical feature.
Four, elasticity thing of the present utility model is spring, has simple in structurely, is convenient to the feature manufactured, improves Practical Performance of the present utility model.
Accompanying drawing explanation
Fig. 1 is structural representation of the present utility model;
Fig. 2 is that the utility model ground floor screen cloth and second layer screen mesh are to seasonable grinding screen expanded view;
Fig. 3 is the utility model ground floor screen cloth with screen mesh for the second time not to seasonable grinding screen expanded view.
The specific embodiment
Below in conjunction with the drawings and the specific embodiments, the utility model will be further described.
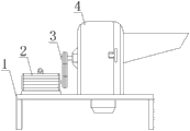
Multipurpose corn grinder of the present utility model, comprise frame 1, drive unit 2, the main shaft 3 being connected with drive unit 2, main shaft 3 connects disintegrating mechanism 4, disintegrating mechanism 4 comprises grinding screen, grinding screen comprises the circular fixed mount 6 of fixed grit, fixed mount 6 is provided with ground floor screen cloth 7 and second layer screen cloth 8, ground floor screen cloth 7 is fixedly mounted on fixed mount 6, second layer screen cloth 8 is located at ground floor screen cloth 7 peripheries, second layer screen cloth 8 one end are connected with elasticity thing 10, the other end is connected with adjusting device, adjusting device comprises the adjusting screw(rod) 12 being connected on second layer screen cloth 8, and be fixedly connected on the support 5 on fixed mount 6, support 5 is provided with the through hole 11 coordinating with adjusting screw(rod) 12, adjusting screw(rod) 12 is connected with adjusting nut 13 through the through hole 11 of support 5.When being arranged on the sieve aperture 5 of second layer screen cloth 8 of ground floor screen cloth 7 peripheries and the sieve aperture 5 of ground floor screen cloth 7 corresponding time, can process the iblet of bulky grain degree, regulate the adjusting screw(rod) 12 of second layer screen cloth 8, change the correspondence position of second layer screen cloth 8 and ground floor screen cloth 7 sieve apertures 5, be equivalent to change the size of the sieve aperture of screen cloth, can process the iblet of different sizes, meet people's demand, the utility model is specially adapted to family and uses.
Ground floor screen cloth 7 of the present utility model is by press strip or be bolted on fixed mount.Adjusting screw(rod) 12 is welded on second layer screen cloth 8.
Ground floor screen cloth 7 of the present utility model is 5mm with sieve aperture 5 pore sizes of second layer screen cloth 8, can process oarse-grained iblet, also can, by regulating the position of second layer screen cloth 8 to process pulverous corn flour, make the utlity model has practical feature.
The utility model can process oarse-grained iblet, also can process corn flour, meets the demand that people are different, is specially adapted to family and uses.
Multipurpose corn grinder of the present utility model, comprise frame 1, drive unit 2, the main shaft 3 being connected with drive unit 2, main shaft 3 connects disintegrating mechanism 4, disintegrating mechanism 4 comprises grinding screen, grinding screen comprises the circular fixed mount 6 of fixed grit, fixed mount 6 is provided with ground floor screen cloth 7 and second layer screen cloth 8, ground floor screen cloth 7 is fixedly mounted on fixed mount 6, second layer screen cloth 8 is located at ground floor screen cloth 7 peripheries, second layer screen cloth 8 one end are connected with elasticity thing 10, the other end is connected with adjusting device, adjusting device comprises the adjusting screw(rod) 12 being connected on second layer screen cloth 8, and be fixedly connected on the support 5 on fixed mount 6, support 5 is provided with the through hole 11 coordinating with adjusting screw(rod) 12, adjusting screw(rod) 12 is connected with adjusting nut 13 through the through hole 11 of support 5.
Ground floor screen cloth 7 of the present utility model is by press strip or be bolted on fixed mount.Adjusting screw(rod) 12 is welded on second layer screen cloth 8.
Ground floor screen cloth 7 of the present utility model is 8mm with sieve aperture 5 pore sizes of second layer screen cloth 8.
Multipurpose corn grinder of the present utility model, comprise frame 1, drive unit 2, the main shaft 3 being connected with drive unit 2, main shaft 3 connects disintegrating mechanism 4, disintegrating mechanism 4 comprises grinding screen, grinding screen comprises the circular fixed mount 6 of fixed grit, fixed mount 6 is provided with ground floor screen cloth 7 and second layer screen cloth 8, ground floor screen cloth 7 is fixedly mounted on fixed mount 6, second layer screen cloth 8 is located at ground floor screen cloth 7 peripheries, second layer screen cloth 8 one end are connected with elasticity thing 10, the other end is connected with adjusting device, adjusting device comprises the adjusting screw(rod) 12 being connected on second layer screen cloth 8, and be fixedly connected on the support 5 on fixed mount 6, support 5 is provided with the through hole 11 coordinating with adjusting screw(rod) 12, adjusting screw(rod) 12 is connected with adjusting nut 13 through the through hole 11 of support 5.
Ground floor screen cloth 7 of the present utility model is by press strip or be bolted on fixed mount.Adjusting screw(rod) 12 is welded on second layer screen cloth 8.
Ground floor screen cloth 7 of the present utility model is 10mm with sieve aperture 5 pore sizes of second layer screen cloth 8.
Claims (4)
1. a multipurpose corn grinder, comprise frame (1), drive unit (2), the main shaft (3) being connected with drive unit (2), described main shaft (3) connects disintegrating mechanism (4), described disintegrating mechanism (4) comprises grinding screen, it is characterized in that: described grinding screen comprises the fixed mount (6) of fixed grit, described fixed mount (6) is provided with ground floor screen cloth (7) and second layer screen cloth (8), described ground floor screen cloth (7) is fixedly mounted on fixed mount (6), described second layer screen cloth (8) is located at ground floor screen cloth (7) periphery, described second layer screen cloth (8) one end is connected with elasticity thing (10), the other end is connected with adjusting device, described adjusting device comprises the adjusting screw(rod) (12) being connected on second layer screen cloth (8), and be fixedly connected on the support (5) on fixed mount (6), described support (5) is provided with the through hole (11) coordinating with adjusting screw(rod) (12), described adjusting screw(rod) (12) is connected with adjusting nut (13) through the through hole (11) of support (5).
2. a kind of multipurpose corn grinder according to claim 1, is characterized in that: sieve aperture (5) aperture of described ground floor screen cloth (7) is identical with sieve aperture (9) pore size of second layer screen cloth (8).
3. a kind of multipurpose corn grinder according to claim 1 and 2, is characterized in that: described ground floor screen cloth (7) is 5~10mm with sieve aperture (9) pore size of second layer screen cloth (8).
4. a kind of multipurpose corn grinder according to claim 2, is characterized in that: described elasticity thing (10) is helical spring.
Priority Applications (1)
| Application Number | Priority Date | Filing Date | Title |
|---|---|---|---|
| CN201320535615.5U CN203494624U (en) | 2013-08-30 | 2013-08-30 | Multipurpose corn crusher |
Applications Claiming Priority (1)
| Application Number | Priority Date | Filing Date | Title |
|---|---|---|---|
| CN201320535615.5U CN203494624U (en) | 2013-08-30 | 2013-08-30 | Multipurpose corn crusher |
Publications (1)
| Publication Number | Publication Date |
|---|---|
| CN203494624U true CN203494624U (en) | 2014-03-26 |
Family
ID=50325631
Family Applications (1)
| Application Number | Title | Priority Date | Filing Date |
|---|---|---|---|
| CN201320535615.5U Expired - Fee Related CN203494624U (en) | 2013-08-30 | 2013-08-30 | Multipurpose corn crusher |
Country Status (1)
| Country | Link |
|---|---|
| CN (1) | CN203494624U (en) |
Cited By (9)
| Publication number | Priority date | Publication date | Assignee | Title |
|---|---|---|---|---|
| CN104858016A (en) * | 2015-06-19 | 2015-08-26 | 吴扬华 | Garbage disposal device with heat dissipation function |
| CN104874447A (en) * | 2015-06-19 | 2015-09-02 | 开化钢尔锐商贸有限公司 | Garbage disposal device convenient for feeding |
| CN104888927A (en) * | 2015-06-19 | 2015-09-09 | 孟玲 | Garbage disposal device with automatic feeding function |
| CN104888894A (en) * | 2015-06-19 | 2015-09-09 | 吴扬华 | Garbage disposal device with vibration prevention function |
| CN104941747A (en) * | 2015-06-19 | 2015-09-30 | 永康市丽猛机械设备有限公司 | Low-noise garbage disposal device |
| CN104998719A (en) * | 2015-06-19 | 2015-10-28 | 吴扬华 | Garbage disposal device |
| CN105032552A (en) * | 2015-06-19 | 2015-11-11 | 孟玲 | Garbage disposal device with dust prevention function |
| CN105080658A (en) * | 2015-06-19 | 2015-11-25 | 庆元华太商贸有限公司 | Refuse treatment device with changeable speed |
| CN105080659A (en) * | 2015-06-19 | 2015-11-25 | 遂昌县遂锋机械科技有限公司 | Garbage disposal device with convenient discharging function |
-
2013
- 2013-08-30 CN CN201320535615.5U patent/CN203494624U/en not_active Expired - Fee Related
Cited By (9)
| Publication number | Priority date | Publication date | Assignee | Title |
|---|---|---|---|---|
| CN104858016A (en) * | 2015-06-19 | 2015-08-26 | 吴扬华 | Garbage disposal device with heat dissipation function |
| CN104874447A (en) * | 2015-06-19 | 2015-09-02 | 开化钢尔锐商贸有限公司 | Garbage disposal device convenient for feeding |
| CN104888927A (en) * | 2015-06-19 | 2015-09-09 | 孟玲 | Garbage disposal device with automatic feeding function |
| CN104888894A (en) * | 2015-06-19 | 2015-09-09 | 吴扬华 | Garbage disposal device with vibration prevention function |
| CN104941747A (en) * | 2015-06-19 | 2015-09-30 | 永康市丽猛机械设备有限公司 | Low-noise garbage disposal device |
| CN104998719A (en) * | 2015-06-19 | 2015-10-28 | 吴扬华 | Garbage disposal device |
| CN105032552A (en) * | 2015-06-19 | 2015-11-11 | 孟玲 | Garbage disposal device with dust prevention function |
| CN105080658A (en) * | 2015-06-19 | 2015-11-25 | 庆元华太商贸有限公司 | Refuse treatment device with changeable speed |
| CN105080659A (en) * | 2015-06-19 | 2015-11-25 | 遂昌县遂锋机械科技有限公司 | Garbage disposal device with convenient discharging function |
Similar Documents
| Publication | Publication Date | Title |
|---|---|---|
| CN203494624U (en) | Multipurpose corn crusher | |
| CN103464370A (en) | Corn smashing screen | |
| CN103506207A (en) | Multipurpose corn pulverizer | |
| CN208321045U (en) | A kind of fodder grinder | |
| CN103623908A (en) | Shelling pulverizer of bean fodder | |
| CN2759598Y (en) | Multi-functional crusher | |
| CN203494781U (en) | Corn grinding screen | |
| CN207872246U (en) | A kind of rice mill | |
| CN2647424Y (en) | Rubbing disintegrating machine | |
| CN207169931U (en) | A kind of maize straw reclaims pulverizer | |
| CN203494563U (en) | Automatic cooling maize crusher | |
| CN203494561U (en) | Grinder | |
| CN207083541U (en) | A kind of straw millstone | |
| CN203494562U (en) | Cooled corn grinder | |
| CN205109777U (en) | System granule all -in -one is smashed to straw | |
| CN207872247U (en) | A kind of dual-purpose rice mill | |
| CN207856977U (en) | A kind of conversion equipment of dual-purpose rice mill | |
| CN208839752U (en) | A kind of feed multi-stage crushing device | |
| CN205546603U (en) | A maize rubbing crusher device for agricultural machine processing | |
| CN102716774B (en) | Full-automatic corn decorticating and flour milling machine | |
| CN203494560U (en) | Corn grinder | |
| CN209170946U (en) | An agricultural straw drying device | |
| CN208095256U (en) | A kind of agricultural straw millstone | |
| CN207238166U (en) | Feed micronizer | |
| CN221951326U (en) | A sheep breeding feed crusher |
Legal Events
| Date | Code | Title | Description |
|---|---|---|---|
| GR01 | Patent grant | ||
| GR01 | Patent grant | ||
| CF01 | Termination of patent right due to non-payment of annual fee |
Granted publication date: 20140326 Termination date: 20150830 |
|
| EXPY | Termination of patent right or utility model |