CN203488019U - Sill for novel aluminum alloy sliding window - Google Patents
Sill for novel aluminum alloy sliding window Download PDFInfo
- Publication number
- CN203488019U CN203488019U CN201320547853.8U CN201320547853U CN203488019U CN 203488019 U CN203488019 U CN 203488019U CN 201320547853 U CN201320547853 U CN 201320547853U CN 203488019 U CN203488019 U CN 203488019U
- Authority
- CN
- China
- Prior art keywords
- baffle plate
- sill
- vertical baffle
- perpendicular baffle
- heat insulating
- Prior art date
- Legal status (The legal status is an assumption and is not a legal conclusion. Google has not performed a legal analysis and makes no representation as to the accuracy of the status listed.)
- Expired - Fee Related
Links
- 229910000838 Al alloy Inorganic materials 0.000 title claims abstract description 13
- 238000007789 sealing Methods 0.000 abstract description 4
- XLYOFNOQVPJJNP-UHFFFAOYSA-N water Substances O XLYOFNOQVPJJNP-UHFFFAOYSA-N 0.000 abstract description 3
- 238000004140 cleaning Methods 0.000 abstract description 2
- 230000002265 prevention Effects 0.000 abstract 2
- XAGFODPZIPBFFR-UHFFFAOYSA-N aluminium Chemical compound [Al] XAGFODPZIPBFFR-UHFFFAOYSA-N 0.000 description 2
- 229910052782 aluminium Inorganic materials 0.000 description 2
- 239000002390 adhesive tape Substances 0.000 description 1
- 229910045601 alloy Inorganic materials 0.000 description 1
- 239000000956 alloy Substances 0.000 description 1
- 239000004411 aluminium Substances 0.000 description 1
- 230000009286 beneficial effect Effects 0.000 description 1
- 239000004566 building material Substances 0.000 description 1
- 239000003795 chemical substances by application Substances 0.000 description 1
- 230000007812 deficiency Effects 0.000 description 1
- 238000010586 diagram Methods 0.000 description 1
- 238000005516 engineering process Methods 0.000 description 1
- 239000011521 glass Substances 0.000 description 1
- 239000004615 ingredient Substances 0.000 description 1
- 238000000034 method Methods 0.000 description 1
- 239000000203 mixture Substances 0.000 description 1
- 230000004048 modification Effects 0.000 description 1
- 238000012986 modification Methods 0.000 description 1
- 238000010079 rubber tapping Methods 0.000 description 1
Images
Landscapes
- Door And Window Frames Mounted To Openings (AREA)
Abstract
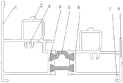
The utility model discloses a sill for a novel aluminum alloy sliding window. The sill comprises a left vertical baffle plate, projecting plates, screw holes, a left heat insulating groove, heat insulating bars, a right heat insulating groove, an edgefold and a right vertical baffle plate, wherein the left vertical baffle plate is positioned on one side of the entire sill; the right vertical baffle plate is positioned on the other side of the entire sill; the projecting plates are arranged on one side of the left vertical baffle plate; the screw holes are formed below the projecting plates; the edgefold is formed below the right vertical baffle plate. The sill has the advantages of simple structure, safety and reliability in use, high sealing performance, prevention of water inflow and water leakage, good sound insulating and heat insulating effects, high strength, prevention of deformation during use, high practicability, easiness in cleaning and stable structure.
Description
Technical field
The utility model relates to building materials field, and specifically a kind of novel aluminium alloys pushes away
Draw window to glide.
Background technology
Sliding sash divides two kinds of left and right, upper and lower push-and-pulls, and sliding sash has advantages of the interior space of not occupying, and beautiful appearance, price economy, unlatching are flexible, mixes the glass of bulk, has both increased indoor daylighting, improves again the whole pattern of building.In use, door leaf or sash, in sliding process, easily occur that the problems such as easy to wear and sealing is poor, the main cause that occurs this situation are that downslide structure design is unreasonable and cause to existing sliding sash down-sliding aluminum profile.At present, the agent structure of sliding sash is all comprised of window frame and sash two parts, and the sash that roller is housed slides at the track of window frame.In order to solve the deficiencies in the prior art, the utility model proposes a kind of novel aluminum alloy slide window and glide.
Utility model content
For the problems referred to above, the utility model aims to provide a kind of novel aluminum alloy slide window and glides.
For realizing this technical purpose, scheme of the present utility model is: a kind of novel aluminum alloy slide window glides, and comprises left perpendicular baffle plate, flange, screw hole, left heat dam, heat insulating strip, right heat dam, flanging, right perpendicular baffle plate; The perpendicular baffle plate in a described left side is positioned at one side of whole device; The perpendicular baffle plate in the described right side is positioned at the another side of whole device; Described flange is arranged on a side of left perpendicular baffle plate; Described screw hole is arranged on the below of flange; Described left heat dam is arranged on a side of left perpendicular baffle plate; Described right heat dam is arranged on a side of right perpendicular baffle plate; Described heat insulating strip is arranged between left heat dam and right heat dam; Described flanging is arranged on the below of right perpendicular baffle plate.
Further, described heat insulating strip, flange, screw hole are respectively provided with two.
The utility model is window jamb section bar, is one of main composition of making " high-air-tightness energy-saving heat-insulating GR80B series alloys sliding sash ", is the ingredient of housing, by self-tapping screw, is connected with vertical edge-sealing section.This section bar is the lower railway of sliding sash, with movable sliding window fan part connection profile, partly adopts two adhesive tape to seal with sliding active sash.
Beneficial effect
The utility model is simple in structure, safe and reliable, good seal performance, and difficult water inlet is leaked, sound-insulating and heat-insulating is effective, and intensity is large, is in use difficult for producing distortion, greatly improved stability and the reliability of aluminium extruded sections, and practical easy cleaning, Stability Analysis of Structures.
Accompanying drawing explanation
Fig. 1 is the structural representation that a kind of novel aluminum alloy slide window glides;
Fig. 2 is the elevation that a kind of novel aluminum alloy slide window glides;
Fig. 3 is that a kind of novel aluminum alloy slide window glides and movable sashes sealing schematic diagram.
The specific embodiment
Below in conjunction with the drawings and specific embodiments, the utility model is described in further details.
As shown in Figure 1, a kind of novel aluminum alloy slide window of the utility model embodiment glides, and comprises left perpendicular baffle plate 1, flange 2, screw hole 3, left heat dam 4, heat insulating strip 5, right heat dam 6, flanging 7, right perpendicular baffle plate 8; The perpendicular baffle plate 1 in a described left side is positioned at one side of whole device; The perpendicular baffle plate 8 in the described right side is positioned at the another side of whole device; Described flange 2 is arranged on a side of left perpendicular baffle plate 1; Described screw hole 3 is arranged on the below of flange 2; Described left heat dam 4 is arranged on a side of left perpendicular baffle plate 1; Described right heat dam 6 is arranged on a side of right perpendicular baffle plate 8; Described heat insulating strip 5 is arranged between left heat dam 4 and right heat dam 6; Described flanging 7 is arranged on the below of right perpendicular baffle plate 8.
Further, described heat insulating strip 5, flange 2, screw hole 3 are respectively provided with two.
The above; it is only preferred embodiment of the present utility model; not in order to limit the utility model, any trickle modification that every foundation technical spirit of the present utility model is done above embodiment, be equal to and replace and improve, within all should being included in the protection domain of technical solutions of the utility model.
Claims (2)
1. a novel aluminum alloy slide window glides, and it is characterized in that: comprise left perpendicular baffle plate, flange, screw hole, left heat dam, heat insulating strip, right heat dam, flanging, right perpendicular baffle plate; The perpendicular baffle plate in a described left side is positioned at one side of whole device; The perpendicular baffle plate in the described right side is positioned at the another side of whole device; Described flange is arranged on a side of left perpendicular baffle plate; Described screw hole is arranged on the below of flange; Described left heat dam is arranged on a side of left perpendicular baffle plate; Described right heat dam is arranged on a side of right perpendicular baffle plate; Described heat insulating strip is arranged between left heat dam and right heat dam; Described flanging is arranged on the below of right perpendicular baffle plate.
2. a kind of novel aluminum alloy slide window according to claim 1 glides, and it is characterized in that: described heat insulating strip, flange, screw hole are respectively provided with two.
Priority Applications (1)
| Application Number | Priority Date | Filing Date | Title |
|---|---|---|---|
| CN201320547853.8U CN203488019U (en) | 2013-09-05 | 2013-09-05 | Sill for novel aluminum alloy sliding window |
Applications Claiming Priority (1)
| Application Number | Priority Date | Filing Date | Title |
|---|---|---|---|
| CN201320547853.8U CN203488019U (en) | 2013-09-05 | 2013-09-05 | Sill for novel aluminum alloy sliding window |
Publications (1)
| Publication Number | Publication Date |
|---|---|
| CN203488019U true CN203488019U (en) | 2014-03-19 |
Family
ID=50258858
Family Applications (1)
| Application Number | Title | Priority Date | Filing Date |
|---|---|---|---|
| CN201320547853.8U Expired - Fee Related CN203488019U (en) | 2013-09-05 | 2013-09-05 | Sill for novel aluminum alloy sliding window |
Country Status (1)
| Country | Link |
|---|---|
| CN (1) | CN203488019U (en) |
Cited By (1)
| Publication number | Priority date | Publication date | Assignee | Title |
|---|---|---|---|---|
| CN106907089A (en) * | 2015-12-22 | 2017-06-30 | 天津市坤昊塑料制品有限公司 | A kind of upper slip material for doorframe |
-
2013
- 2013-09-05 CN CN201320547853.8U patent/CN203488019U/en not_active Expired - Fee Related
Cited By (1)
| Publication number | Priority date | Publication date | Assignee | Title |
|---|---|---|---|---|
| CN106907089A (en) * | 2015-12-22 | 2017-06-30 | 天津市坤昊塑料制品有限公司 | A kind of upper slip material for doorframe |
Similar Documents
| Publication | Publication Date | Title |
|---|---|---|
| CN203488019U (en) | Sill for novel aluminum alloy sliding window | |
| CN202202715U (en) | A heat-insulating sliding door outer edge sealing cover plate profile | |
| CN205477230U (en) | Energy -conserving al -alloy door & window | |
| CN202899913U (en) | Aluminum-foam plate-wood compound internal opening insulation window with elastic buckles | |
| CN201933954U (en) | Novel integrated vertical hinged sliding door window structure | |
| CN203285253U (en) | Novel energy-saving environment-friendly aluminum alloy casement window | |
| CN202645292U (en) | Structure on upward side of aluminum alloy door and window | |
| CN206174819U (en) | Section bar window that sealing performance is excellent | |
| CN202899895U (en) | Aluminum-extruded plate-wood composite inward opening heat insulating window | |
| CN204212601U (en) | The energy-conservation auxiliary frame structure of building doors and windows | |
| CN204728902U (en) | Aluminum-clad wood outwardly-opened door window system | |
| CN202913884U (en) | Aluminum-wood-polyurethane-wood composite inward-opening heat insulating window | |
| CN204663311U (en) | A kind of novel fixing sliding sash | |
| CN203487995U (en) | Head aluminum section for novel sliding window | |
| CN203487989U (en) | Transom for novel aluminum alloy sliding window | |
| CN203488020U (en) | Novel aluminum alloy sliding window | |
| CN203961644U (en) | Outer casement window sash | |
| CN202866601U (en) | Aluminum-plastic wood composite insulating window arranged between frames with four sealing | |
| CN202431123U (en) | Aluminum alloy section for manufacturing window sash | |
| CN202148802U (en) | Frame sectional material at outer side of heat-isolating casement window | |
| CN203022532U (en) | Spring door with frame assembly and good tightness and heat insulation performance | |
| CN202157685U (en) | Heat insulation section bar for out swinging sash on outer side of casement window | |
| CN202125195U (en) | Heat-insulated sliding-door outer-side upper sliding sash profile | |
| CN202325021U (en) | Aluminum-coated wood heat preservation window section | |
| CN203488049U (en) | Edge sealing device for novel aluminum alloy sliding window |
Legal Events
| Date | Code | Title | Description |
|---|---|---|---|
| GR01 | Patent grant | ||
| GR01 | Patent grant | ||
| CF01 | Termination of patent right due to non-payment of annual fee |
Granted publication date: 20140319 Termination date: 20180905 |
|
| CF01 | Termination of patent right due to non-payment of annual fee |