CN203487989U - 一种新型的铝合金推拉窗固上滑 - Google Patents

一种新型的铝合金推拉窗固上滑 Download PDF

Info

Publication number
CN203487989U
CN203487989U CN201320549310.XU CN201320549310U CN203487989U CN 203487989 U CN203487989 U CN 203487989U CN 201320549310 U CN201320549310 U CN 201320549310U CN 203487989 U CN203487989 U CN 203487989U
Authority
CN
China
Prior art keywords
transom
aluminum alloy
novel aluminum
heat insulating
right body
Prior art date
Legal status (The legal status is an assumption and is not a legal conclusion. Google has not performed a legal analysis and makes no representation as to the accuracy of the status listed.)
Expired - Fee Related
Application number
CN201320549310.XU
Other languages
English (en)
Inventor
龚兆汉
黎志勇
Current Assignee (The listed assignees may be inaccurate. Google has not performed a legal analysis and makes no representation or warranty as to the accuracy of the list.)
Jiangxi Hawk Aluminum Limited-Liability Co
Original Assignee
Jiangxi Hawk Aluminum Limited-Liability Co
Priority date (The priority date is an assumption and is not a legal conclusion. Google has not performed a legal analysis and makes no representation as to the accuracy of the date listed.)
Filing date
Publication date
Application filed by Jiangxi Hawk Aluminum Limited-Liability Co filed Critical Jiangxi Hawk Aluminum Limited-Liability Co
Priority to CN201320549310.XU priority Critical patent/CN203487989U/zh
Application granted granted Critical
Publication of CN203487989U publication Critical patent/CN203487989U/zh
Anticipated expiration legal-status Critical
Expired - Fee Related legal-status Critical Current

Links

Images

Landscapes

  • Wing Frames And Configurations (AREA)
  • Door And Window Frames Mounted To Openings (AREA)
  • Specific Sealing Or Ventilating Devices For Doors And Windows (AREA)

Abstract

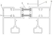
一种新型的铝合金推拉窗固上滑,包括螺钉孔、左分体、隔热条、齿、固定栓、右分体;所述左分体位于整个装置的一边;所述右分体位于整个装置的另一边;所述左分体和右分体上分别连接有螺钉孔;所述左分体和右分体之间连接隔热条;所述右分体上竖直设有用于插接到外框内固定固上滑位置的固定栓;所述固定栓上设有齿。本实用新型密封性能良好,增大了通风面积,在冬天或夏天用空调的时候耗电量低,而且不易进水漏水,易清洗,结构稳定。

Description

一种新型的铝合金推拉窗固上滑
技术领域
本实用新型涉及建材领域,具体地说是一种新型的铝合金推
拉窗固上滑。
背景技术
推拉窗分左右、上下推拉两种,推拉窗具有不占据室内空间的优点,外观美丽、价格经济、开启灵活,配上大块的玻璃,既增加室内的采光,又改善建筑物的整体形貌。目前,推拉窗的主体结构都是由窗框和窗扇两部分组成,装有滚轮的窗扇在窗框的轨道滑行。但是,由此带来的缺点是关闭窗子后气密性差,在冬天或夏天用空调的时候耗电量大。另外,窗框的固上滑及上滑轨道容易出现进水和漏水现象,且不稳定容易导致结构松散,而且不易清洗。为了解决现有技术的不足,本实用新型提出一种新型的铝合金推拉窗固上滑。
实用新型内容
针对上述问题,本实用新型旨在提供一种新型的铝合金推拉窗固上滑。
为实现该技术目的,本实用新型的方案是:一种新型的铝合金推拉窗固上滑,包括螺钉孔、左分体、隔热条、齿、固定栓、右分体;所述左分体位于整个装置的一边;所述右分体位于整个装置的另一边;所述左分体和右分体上分别连接有螺钉孔;所述左分体和右分体之间连接隔热条;所述右分体上竖直设有用于插接到外框内固定固上滑位置的固定栓;所述固定栓上设有齿。
进一步,所述隔热条设有两个,螺钉孔设有四个。
本实用新型为窗户边框型材,是制作“高气密性节能隔热GR80B系列铝合金推拉窗”的主要构成之一,是外框的组成部分,通过自攻螺丝与竖向边封型材进行连接。该型材为制作推拉窗固定部分与活动推拉窗扇部分型材,采用玻璃密封胶的方式与玻璃进行密封,室内部分采用压线将玻璃固定后采用玻璃密封胶的方式与玻璃进行密封,与推拉活动窗扇部分采用双毛条进行密封。
有益效果
本实用新型密封性能良好,增大了通风面积,在冬天或夏天用空调的时候耗电量低,而且不易进水漏水,易清洗,结构稳定。
附图说明
图1为一种新型的铝合金推拉窗固上滑的结构示意图;
图2为一种新型的铝合金推拉窗固上滑的立面图;
图3为一种新型的铝合金推拉窗固上滑与活动窗扇密封示意图。
具体实施方式
下面结合附图和具体实施例对本实用新型做进一步详细说明。
如图1所示,本实用新型实施例的一种新型的铝合金推拉窗固上滑,包括螺钉孔1、左分体2、隔热条3、齿4、固定栓5、右分体6;所述左分体2位于整个装置的一边;所述右分体6位于整个装置的另一边;所述左分体2和右分体6上分别连接有螺钉孔1;所述左分体2和右分体6之间连接隔热条3;所述右分体6上竖直设有用于插接到外框内固定固上滑位置的固定栓5;所述固定栓5上设有齿4。
进一步,所述隔热条3设有两个,螺钉孔1设有四个。
以上所述,仅为本实用新型的较佳实施例,并不用以限制本实用新型,凡是依据本实用新型的技术实质对以上实施例所作的任何细微修改、等同替换和改进,均应包含在本实用新型技术方案的保护范围之内。

Claims (2)

1.一种新型的铝合金推拉窗固上滑,其特征在于:包括螺钉孔、左分体、隔热条、齿、固定栓、右分体;所述左分体位于整个装置的一边;所述右分体位于整个装置的另一边;所述左分体和右分体上分别连接有螺钉孔;所述左分体和右分体之间连接隔热条;所述右分体上竖直设有用于插接到外框内固定固上滑位置的固定栓;所述固定栓上设有齿。
2.根据权利要求1所述的一种新型的铝合金推拉窗固上滑,其特征在于:所述隔热条设有两个,螺钉孔设有四个。
CN201320549310.XU 2013-09-05 2013-09-05 一种新型的铝合金推拉窗固上滑 Expired - Fee Related CN203487989U (zh)

Priority Applications (1)

Application Number Priority Date Filing Date Title
CN201320549310.XU CN203487989U (zh) 2013-09-05 2013-09-05 一种新型的铝合金推拉窗固上滑

Applications Claiming Priority (1)

Application Number Priority Date Filing Date Title
CN201320549310.XU CN203487989U (zh) 2013-09-05 2013-09-05 一种新型的铝合金推拉窗固上滑

Publications (1)

Publication Number Publication Date
CN203487989U true CN203487989U (zh) 2014-03-19

Family

ID=50258828

Family Applications (1)

Application Number Title Priority Date Filing Date
CN201320549310.XU Expired - Fee Related CN203487989U (zh) 2013-09-05 2013-09-05 一种新型的铝合金推拉窗固上滑

Country Status (1)

Country Link
CN (1) CN203487989U (zh)

Similar Documents

Publication Publication Date Title
CN206448709U (zh) 一种具有防水、隔热隔音性能的高性能内开窗
CN203161004U (zh) 具有防水、隔热隔音性能的门窗型材
CN203223123U (zh) 具有防水、隔热隔音性能的门窗型材
CN202325171U (zh) 一种新型一体化硬卷帘窗
CN203487989U (zh) 一种新型的铝合金推拉窗固上滑
CN204402250U (zh) 一种铝合金内平节能门窗
CN203487995U (zh) 一种新型的推拉窗上固铝型材
CN203213821U (zh) 一种新型高耐低温、高耐冲击环保型铝合金门
CN202755866U (zh) 一种可以形成空气隔离室的门窗结构
CN205477230U (zh) 一种节能铝合金门窗
CN203925129U (zh) 金属桥塑铝塑型材门窗
CN203925160U (zh) 一种断桥推拉窗结构
CN203488019U (zh) 一种新型的铝合金推拉窗下滑
CN204571684U (zh) 一种具有防水、隔热隔音性能的高性能内开窗
CN202509964U (zh) 55系列隔热节能铝合金推拉门
CN201246081Y (zh) 自然通风换气窗
CN202645292U (zh) 铝合金门窗上方结构
CN203488020U (zh) 一种新型的铝合金推拉窗
CN206053708U (zh) 一种高安全性能穿轴幕墙开启扇结构
CN203488018U (zh) 一种新型的铝合金推拉窗窗扇
CN201424920Y (zh) 活叶式遮阳器
CN203488049U (zh) 一种新型的铝合金推拉窗边封装置
CN206438924U (zh) 一种穿条隔热推拉窗
CN206110978U (zh) 一种铝合金外开仿古门窗系统
CN202509959U (zh) 节能高强度隔热平开窗

Legal Events

Date Code Title Description
GR01 Patent grant
GR01 Patent grant
CF01 Termination of patent right due to non-payment of annual fee
CF01 Termination of patent right due to non-payment of annual fee

Granted publication date: 20140319

Termination date: 20180905