CN203460178U - Four-DOF (degree of freedom) spatial parallel mechanism with position-variable rotating shaft - Google Patents
Four-DOF (degree of freedom) spatial parallel mechanism with position-variable rotating shaft Download PDFInfo
- Publication number
- CN203460178U CN203460178U CN201320507894.4U CN201320507894U CN203460178U CN 203460178 U CN203460178 U CN 203460178U CN 201320507894 U CN201320507894 U CN 201320507894U CN 203460178 U CN203460178 U CN 203460178U
- Authority
- CN
- China
- Prior art keywords
- branch chain
- platform
- hooke hinge
- kinematic
- hinge
- Prior art date
- Legal status (The legal status is an assumption and is not a legal conclusion. Google has not performed a legal analysis and makes no representation as to the accuracy of the status listed.)
- Expired - Fee Related
Links
- 230000007246 mechanism Effects 0.000 title claims abstract description 24
- 230000003068 static effect Effects 0.000 claims abstract description 22
- 238000004088 simulation Methods 0.000 abstract description 7
- 239000000463 material Substances 0.000 abstract description 2
- 241000282376 Panthera tigris Species 0.000 description 1
- 238000009825 accumulation Methods 0.000 description 1
- 230000009286 beneficial effect Effects 0.000 description 1
- 230000007812 deficiency Effects 0.000 description 1
- 238000011089 mechanical engineering Methods 0.000 description 1
- 238000000034 method Methods 0.000 description 1
- 239000011664 nicotinic acid Substances 0.000 description 1
- 238000004904 shortening Methods 0.000 description 1
Landscapes
- Transmission Devices (AREA)
Abstract
本实用新型公开了转轴位置可变的四自由度空间并联机构,包括静平台和动平台,静平台和动平台通过第一运动支链、第二运动支链、第三运动支链和第四运动支链连接。第一运动支链与静平台和动平台的连接处分别设有第一虎克铰和第二虎克铰,所述第一虎克铰和第二虎克铰之间设有第一移动副。第二运动支链与静平台和动平台的连接处分别设有第一球铰和第三虎克铰,所述第一球铰和第三虎克铰之间设有第二移动副。本实用新型机构的动平台可以实现两个方向的标准旋转运动,且其旋转轴位置可以移动。本实用新型机构可广泛应用于运动模拟,且可以实现小尺寸机构模拟大半径的旋转运动,精简结构材料和空间,节省动力。
The utility model discloses a four-degree-of-freedom space parallel mechanism with variable rotating shaft positions, which includes a static platform and a dynamic platform. Motion branch chain connection. A first Hooke hinge and a second Hooke hinge are respectively provided at the joints of the first motion branch chain and the static platform and the dynamic platform, and a first moving pair is provided between the first Hooke hinge and the second Hooke hinge. . A first spherical joint and a third Hookee hinge are respectively provided at the joints of the second motion branch chain with the static platform and the dynamic platform, and a second moving pair is provided between the first spherical joint and the third Hookee hinge. The moving platform of the mechanism of the utility model can realize the standard rotating motion in two directions, and the position of the rotating shaft can be moved. The mechanism of the utility model can be widely used in motion simulation, and can realize a small-sized mechanism to simulate a large-radius rotary motion, simplify structural materials and space, and save power.
Description
技术领域technical field
本实用新型涉及机械学领域的并联机构,尤其涉及一种转轴位置可变的四自由度空间并联机构。The utility model relates to a parallel mechanism in the field of mechanics, in particular to a four-degree-of-freedom space parallel mechanism with variable rotating shaft positions.
背景技术Background technique
并联机构指通过两个或两个以上独立运动支链连接运动平台及定平台,并控制运动平台运动的闭环机构。并联机构由于其刚度大、结构稳定、承载能力强、误差积累小等优点,已经广泛应用于重载模拟设备、姿态调整装置、数控机床、仿生机构等方面。The parallel mechanism refers to a closed-loop mechanism that connects the motion platform and the fixed platform through two or more independent motion branch chains and controls the movement of the motion platform. Due to its advantages of high rigidity, stable structure, strong bearing capacity, and small error accumulation, parallel mechanisms have been widely used in heavy-duty simulation equipment, attitude adjustment devices, CNC machine tools, and bionic mechanisms.
出于科教、娱乐或者训练等目的,利用并联结构仿真模拟现实的产品越来越多,比如汽车、船舶驾驶仿真系统,其运动模拟均通过一运动平台来实现;然而现有的运动平台的运动模拟均为较简单的预先设定的颠簸或摇晃。为了增强真实体验的感觉,实时的改变摇晃旋转轴的位置成为了一种必然的需求。For the purposes of science, education, entertainment or training, there are more and more products that use parallel structure simulation to simulate reality, such as automobile and ship driving simulation systems, whose motion simulation is realized through a motion platform; however, the motion of the existing motion platform The simulations are all simpler pre-set bumps or shakes. In order to enhance the sense of real experience, changing the position of the shaking rotation axis in real time has become an inevitable requirement.
中国专利文献CN1267586A报道了由机架、运动台及连接它们的四条闭环运动支链组成的一种两维移动两维转动的四自由度并联机器人机构。文献[伞红军,钟诗胜,王知行,新型2-TPR/2-TPS空间4自由度并联机构,机械工程学报,Nov 2008,44(11):298-303]提出了由固定平台、运动平台及连接它们的两个TPR运动支链和两个TPS运动支链组成的两移动两转动四自由度空间并联机构。这两种并联机构的运动台均能实现两维转动,但是其两维转动的旋转轴不能实现两个方向上的平移。Chinese patent document CN1267586A reports a four-degree-of-freedom parallel robot mechanism with two-dimensional movement and two-dimensional rotation consisting of a frame, a motion table and four closed-loop motion branch chains connecting them. Literature [Umbrella Hongjun, Zhong Shisheng, Wang Zhixing, New 2-TPR/2-TPS Space 4-DOF Parallel Mechanism, Chinese Journal of Mechanical Engineering, Nov 2008, 44(11):298-303] proposed a combination of fixed platform, motion platform and A two-moving, two-rotating four-degree-of-freedom space parallel mechanism composed of two TPR motion branches and two TPS motion branches connecting them. The motion tables of these two parallel mechanisms can realize two-dimensional rotation, but the two-dimensional rotation axis cannot realize translation in two directions.
实用新型内容Utility model content
为解决现有技术存在的不足,本实用新型公开了一种转轴位置可变的四自由度空间并联机构,本实用新型实现了动平台旋转轴线可移动的标准旋转运动,并且具有运动方式明确、运动学正反解容易、高刚度、高精度、结构简单等优点。In order to solve the deficiencies in the prior art, the utility model discloses a four-degree-of-freedom space parallel mechanism with a variable rotating shaft position. The utility model realizes a standard rotary motion with a movable axis of the movable platform, and has a clear movement mode, Kinematics has the advantages of easy positive and negative solutions, high stiffness, high precision, and simple structure.
为实现上述目的,本实用新型的具体方案如下:In order to achieve the above object, the concrete scheme of the present utility model is as follows:
转轴位置可变的四自由度空间并联机构,包括静平台和动平台,静平台和动平台通过第一运动支链、第二运动支链、第三运动支链和第四运动支链连接。The four-degree-of-freedom space parallel mechanism with variable rotating shaft positions includes a static platform and a dynamic platform, and the static platform and the dynamic platform are connected by a first kinematic branch chain, a second kinematic branch chain, a third kinematic branch chain and a fourth kinematic branch chain.
所述第一运动支链与静平台和动平台的连接处分别设有第一虎克铰和第二虎克铰,所述第一虎克铰和第二虎克铰之间设有第一移动副。A first Hooke hinge and a second Hooke hinge are respectively provided at the joints of the first motion branch chain with the static platform and the dynamic platform, and a first Hooke hinge is provided between the first Hooke hinge and the second Hooke hinge. mobile vice.
所述第二运动支链与静平台和动平台的连接处分别设有第一球铰和第三虎克铰,所述第一球铰和第三虎克铰之间设有第二移动副。A first spherical joint and a third Hooke hinge are respectively provided at the joints of the second motion branch chain with the static platform and the dynamic platform, and a second moving pair is provided between the first spherical hinge and the third Hooke hinge. .
所述第三运动支链与静平台和动平台的连接处分别设有第四虎克铰和第五虎克铰,所述第四虎克铰和第五虎克铰之间设有第三移动副。A fourth Hooke hinge and a fifth Hooke hinge are respectively provided at the joints of the third motion branch chain with the static platform and the dynamic platform, and a third Hooke hinge is provided between the fourth Hooke hinge and the fifth Hooke hinge. mobile vice.
所述第四运动支链与静平台和动平台的连接处分别设有第二球铰和第六虎克铰,所述第二球铰和第六虎克铰之间设有第四移动副。A second spherical joint and a sixth Hooke hinge are respectively provided at the joints of the fourth motion branch chain with the static platform and the dynamic platform, and a fourth moving pair is provided between the second spherical joint and the sixth Hooke hinge. .
所述第一运动支链、第二运动支链、第三运动支链和第四运动支链的布置形式包括:所述的第一运动支链与第三运动支链构成一个平面,所述的第一运动支链、第二运动支链以及第四运动支链之间的位置关系为空间位置关系;The arrangement form of the first kinematic branch chain, the second kinematic branch chain, the third kinematic branch chain and the fourth kinematic branch chain includes: the first kinematic branch chain and the third kinematic branch chain form a plane, and the The positional relationship between the first kinematic branch chain, the second kinematic branch chain and the fourth kinematic branch chain is a spatial position relationship;
或者第一运动支链、第二运动支链、第三运动支链和第四运动支链交叉布置。Or the first kinematic branch chain, the second kinematic branch chain, the third kinematic branch chain and the fourth kinematic branch chain are intersected.
本实用新型的有益效果:The beneficial effects of the utility model:
本实用新型机构的动平台可以实现两个方向的标准旋转运动,且其旋转轴位置可以移动。本实用新型机构可广泛应用于运动模拟,且可以实现小尺寸机构模拟大半径的旋转运动,精简结构材料和空间,节省动力。The moving platform of the mechanism of the utility model can realize the standard rotating motion in two directions, and the position of the rotating shaft can be moved. The mechanism of the utility model can be widely used in motion simulation, and can realize a small-sized mechanism to simulate a large-radius rotary motion, simplify structural materials and space, and save power.
附图说明Description of drawings
图1本实用新型结构示意图;Fig. 1 structural representation of the utility model;
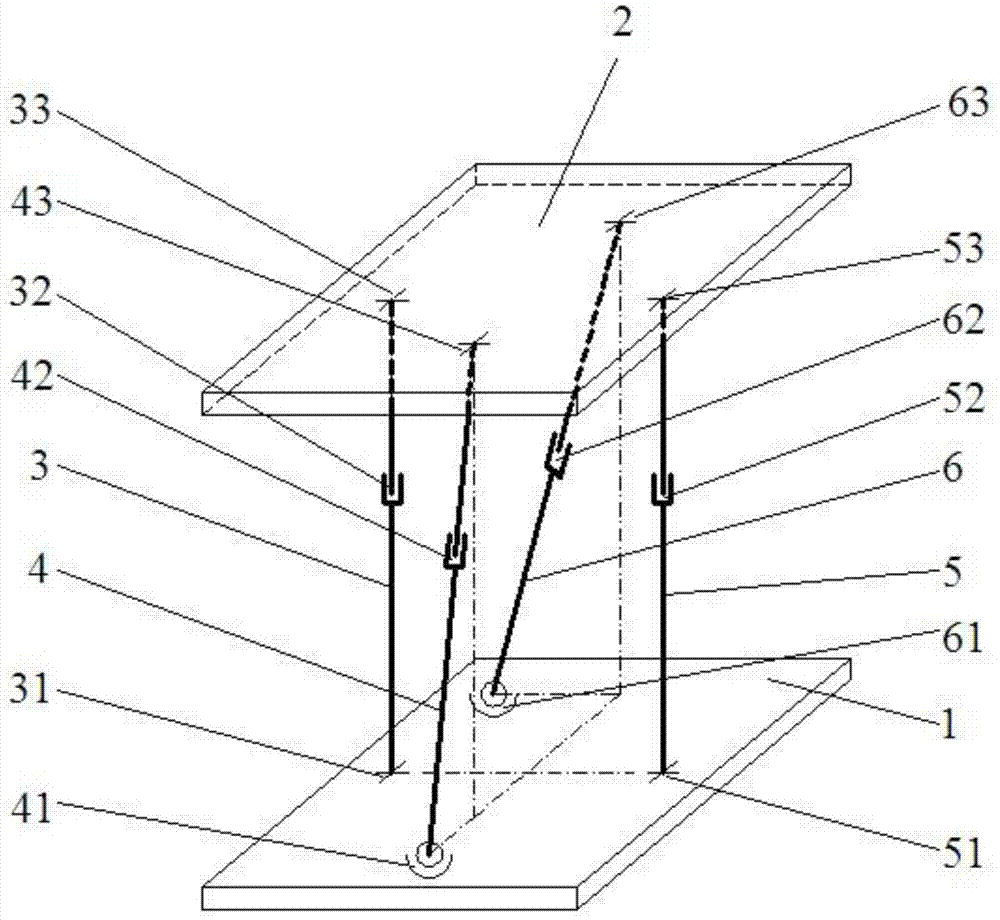
图中,1、静平台,2、动平台,3、第一运动支链,4、第二运动支链,5、第三运动支链,6、第四运动支链,31、第一虎克铰,32、第一移动副,33、第二虎克铰,41、第一球铰,42、第二移动副,43、第三虎克铰,51、第四虎克铰,52、第三移动副,53、第五虎克铰,61、第二球铰,62、第四移动副,63、第六虎克铰。In the figure, 1. static platform, 2. dynamic platform, 3. first kinematic branch chain, 4. second kinematic branch chain, 5. third kinematic branch chain, 6. fourth kinematic branch chain, 31. first tiger Gram hinge, 32, the first moving pair, 33, the second Hooke hinge, 41, the first spherical hinge, 42, the second moving pair, 43, the third Hooke hinge, 51, the fourth Hooke hinge, 52, The third moving pair, 53, the fifth Hooke hinge, 61, the second spherical joint, 62, the fourth moving pair, 63, the sixth Hooke hinge.
具体实施方式:Detailed ways:
下面结合附图对本实用新型进行详细说明:Below in conjunction with accompanying drawing, the utility model is described in detail:
如图1所示,转轴位置可变的四自由度空间并联机构,包括静平台1和动平台2,静平台1和动平台2通过第一运动支链3、第二运动支链4、第三运动支链5和第四运动支链6连接。第一运动支链3与静平台1和动平台2的连接处分别设有第一虎克铰31和第二虎克铰33,所述第一虎克铰31和第二虎克铰33之间设有第一移动副32。第二运动支链4与静平台1和动平台2的连接处分别设有第一球铰41和第三虎克铰43,所述第一球铰41和第三虎克铰43之间设有第二移动副42。第三运动支链5与静平台1和动平台2的连接处分别设有第四虎克铰51和第五虎克铰53,所述第四虎克铰51和第五虎克铰53之间设有第三移动副52。第四运动支链6与静平台1和动平台2的连接处分别设有第二球铰61和第六虎克铰63,所述第二球铰61和第六虎克铰63之间设有第四移动副62。As shown in Figure 1, the four-degree-of-freedom space parallel mechanism with variable rotating shaft positions includes a static platform 1 and a dynamic platform 2. The static platform 1 and the dynamic platform 2 pass through the first kinematic branch chain 3, the second kinematic branch chain 4, The three kinematic branch chains 5 are connected with the fourth kinematic branch chain 6 . The joints of the first moving branch chain 3 and the static platform 1 and the moving platform 2 are respectively provided with a first Hooke hinge 31 and a second Hooke hinge 33, between the first Hooke hinge 31 and the second Hooke hinge 33 A first mobile pair 32 is provided between them. A first spherical hinge 41 and a third Hooke hinge 43 are respectively provided at the joints of the second moving branch chain 4 and the static platform 1 and the dynamic platform 2, and a connection between the first spherical hinge 41 and the third Hooke hinge 43 is provided. There is a second mobile pair 42 . A fourth Hooke hinge 51 and a fifth Hooke hinge 53 are respectively provided at the joints of the third motion branch chain 5 and the static platform 1 and the dynamic platform 2, and the connection between the fourth Hooke hinge 51 and the fifth Hooke hinge 53 A third mobile pair 52 is provided between them. A second spherical hinge 61 and a sixth Hooke hinge 63 are respectively provided at the joints of the fourth motion branch chain 6 and the static platform 1 and the dynamic platform 2, and a second spherical hinge 61 and a sixth Hooke hinge 63 are provided between the second spherical hinge 61 and the sixth Hooke hinge 63. There is a fourth mobile pair 62 .
第一运动支链3、第二运动支链4、第三运动支链5和第四运动支链6的布置形式包括:所述的第一运动支链3与第三运动支链5构成一个平面,所述的第一运动支链3、第二运动支链4以及第四运动支链6之间的位置关系为空间位置关系;The arrangement of the first kinematic branch chain 3, the second kinematic branch chain 4, the third kinematic branch chain 5 and the fourth kinematic branch chain 6 includes: the first kinematic branch chain 3 and the third kinematic branch chain 5 constitute a Plane, the positional relationship between the first kinematic branch chain 3, the second kinematic branch chain 4 and the fourth kinematic branch chain 6 is a spatial positional relationship;
或者第一运动支链3、第二运动支链4、第三运动支链5和第四运动支链6交叉布置。Or the first kinematic branch chain 3 , the second kinematic branch chain 4 , the third kinematic branch chain 5 and the fourth kinematic branch chain 6 are intersected.
本实用新型转轴位置可变的四自由度空间并联机构的工作原理如下:在第一移动副32与第三移动副52锁死的情况下,第二移动副42与第四移动副62按照一定规律配合伸长或缩短可带动动平台做旋转运动,该旋转运动以第二虎克铰33与第五虎克铰53的连线为旋转轴;若此时第一移动副32与第三移动副52按照一定的规律同时伸长或缩短,则可以实现动平台旋转轴在y方向的平移。在第二移动副42与第四移动副62锁死的情况下,第一移动副32与第三移动副52按照一定规律配合伸长或缩短亦可带动动平台做旋转运动,该旋转运动以第三虎克铰43与第六虎克铰63的连线为旋转轴;若此时第二移动副42与第四移动副62按照一定规律同时伸长或缩短,则可以实现动平台旋转轴在x方向的平移。The working principle of the four-degree-of-freedom space parallel mechanism with variable rotating shaft position of the utility model is as follows: when the first moving pair 32 and the third moving pair 52 are locked, the second moving pair 42 and the fourth moving pair 62 Regular cooperation with elongation or shortening can drive the moving platform to perform rotational motion, and the rotational motion takes the connection line between the second Hooke hinge 33 and the fifth Hooke hinge 53 as the axis of rotation; if the first moving pair 32 and the third moving pair The pair 52 is extended or shortened at the same time according to a certain rule, then the translation of the rotation axis of the moving platform in the y direction can be realized. In the case where the second moving pair 42 and the fourth moving pair 62 are locked, the first moving pair 32 and the third moving pair 52 can be extended or shortened according to a certain rule, and the moving platform can also be driven to rotate. The connection line between the third Hooke hinge 43 and the sixth Hooke hinge 63 is the axis of rotation; if the second moving pair 42 and the fourth moving pair 62 are simultaneously elongated or shortened according to a certain rule, the rotating axis of the moving platform can be realized. Translation in the x direction.
Claims (2)
Priority Applications (1)
| Application Number | Priority Date | Filing Date | Title |
|---|---|---|---|
| CN201320507894.4U CN203460178U (en) | 2013-08-20 | 2013-08-20 | Four-DOF (degree of freedom) spatial parallel mechanism with position-variable rotating shaft |
Applications Claiming Priority (1)
| Application Number | Priority Date | Filing Date | Title |
|---|---|---|---|
| CN201320507894.4U CN203460178U (en) | 2013-08-20 | 2013-08-20 | Four-DOF (degree of freedom) spatial parallel mechanism with position-variable rotating shaft |
Publications (1)
| Publication Number | Publication Date |
|---|---|
| CN203460178U true CN203460178U (en) | 2014-03-05 |
Family
ID=50172563
Family Applications (1)
| Application Number | Title | Priority Date | Filing Date |
|---|---|---|---|
| CN201320507894.4U Expired - Fee Related CN203460178U (en) | 2013-08-20 | 2013-08-20 | Four-DOF (degree of freedom) spatial parallel mechanism with position-variable rotating shaft |
Country Status (1)
| Country | Link |
|---|---|
| CN (1) | CN203460178U (en) |
Cited By (6)
| Publication number | Priority date | Publication date | Assignee | Title |
|---|---|---|---|---|
| CN103042521A (en) * | 2012-12-26 | 2013-04-17 | 燕山大学 | 3-SPS (spherical, prismatic and spherical)/SPS three-drive six-degree-of-freedom parallel mechanism with function of wide-range posture adjustment and positioning |
| CN107838909A (en) * | 2017-12-08 | 2018-03-27 | 福州大学 | A kind of 2R1T three freedom redundancies driven Parallel Kinematic Manipulator and its method of work |
| CN107866789A (en) * | 2016-09-23 | 2018-04-03 | 上海新纪元机器人有限公司 | A kind of five degree of freedom serial-parallel mirror mechanism |
| CN108908296A (en) * | 2018-07-16 | 2018-11-30 | 西安工程大学 | Parallel institution with two kinds of motor patterns of 3R1T and 2R2T |
| CN110355741A (en) * | 2019-06-24 | 2019-10-22 | 西安工程大学 | Parallel institution with two kinds of motor patterns of 3T1R and 2T2R |
| CN112904519A (en) * | 2021-01-14 | 2021-06-04 | 中国科学院光电技术研究所 | Multi-degree-of-freedom high-precision motion platform based on few-branch-chain mechanism |
-
2013
- 2013-08-20 CN CN201320507894.4U patent/CN203460178U/en not_active Expired - Fee Related
Cited By (8)
| Publication number | Priority date | Publication date | Assignee | Title |
|---|---|---|---|---|
| CN103042521A (en) * | 2012-12-26 | 2013-04-17 | 燕山大学 | 3-SPS (spherical, prismatic and spherical)/SPS three-drive six-degree-of-freedom parallel mechanism with function of wide-range posture adjustment and positioning |
| CN107866789A (en) * | 2016-09-23 | 2018-04-03 | 上海新纪元机器人有限公司 | A kind of five degree of freedom serial-parallel mirror mechanism |
| CN107866789B (en) * | 2016-09-23 | 2020-07-17 | 上海新纪元机器人有限公司 | Five-degree-of-freedom serial-parallel series-parallel mechanism |
| CN107838909A (en) * | 2017-12-08 | 2018-03-27 | 福州大学 | A kind of 2R1T three freedom redundancies driven Parallel Kinematic Manipulator and its method of work |
| CN107838909B (en) * | 2017-12-08 | 2023-03-14 | 福州大学 | 2R1T three-degree-of-freedom redundant drive parallel mechanism and working method thereof |
| CN108908296A (en) * | 2018-07-16 | 2018-11-30 | 西安工程大学 | Parallel institution with two kinds of motor patterns of 3R1T and 2R2T |
| CN110355741A (en) * | 2019-06-24 | 2019-10-22 | 西安工程大学 | Parallel institution with two kinds of motor patterns of 3T1R and 2T2R |
| CN112904519A (en) * | 2021-01-14 | 2021-06-04 | 中国科学院光电技术研究所 | Multi-degree-of-freedom high-precision motion platform based on few-branch-chain mechanism |
Similar Documents
| Publication | Publication Date | Title |
|---|---|---|
| CN203460178U (en) | Four-DOF (degree of freedom) spatial parallel mechanism with position-variable rotating shaft | |
| CN201808063U (en) | Six-degrees-of-freedom parallel robot device | |
| CN103639712B (en) | A kind of three rotation spherical parallel institutions | |
| CN202292761U (en) | Symmetrical parallel robot mechanism with three degrees of freedom of redundant driven plane | |
| CN103426356B (en) | A kind of coupled mode four-degree-of-freedom motion simulation platform | |
| CN103424269B (en) | A kind of coupled mode four-degree-of-freedom motion simulation platform containing closed-loop subchain | |
| CN105082111A (en) | Completely-decoupling two-movement three-rotation parallel robot mechanism | |
| CN103286777B (en) | A kind of Novel spatial three-freedom-degreeparallel parallel connection mechanism | |
| CN103381602A (en) | Completely-decoupled space parallel connection mechanism with two translational and one rotational three degree-of-freedom | |
| CN102873683A (en) | Experimental apparatus with three flexible hinges and planar parallel mechanism | |
| CN204160473U (en) | A kind of novel multiple branch circuit hydraulic control sphere parallel mechanism | |
| CN103286771A (en) | Spatial three-rotational-freedom parallel connecting mechanism | |
| CN105082113A (en) | Fully-isotropic two-dimensional movement and rotation parallel robot mechanism | |
| CN201009243Y (en) | A hybrid-driven 6-DOF parallel mechanism with planar 5-bar closed chain | |
| CN102579137B (en) | A parallel surgical manipulator capable of three-dimensional translation and one-dimensional rotation | |
| CN104476538A (en) | Five-degree-of-freedom controllable mechanism mobile mechanical arm with ten connecting links | |
| CN109079761A (en) | A kind of New Parallel Manipulator of two turn of one shifting of the branch containing closed loop | |
| CN205521372U (en) | Remove parallelly connected bionical ankle joint of vice redundant driven 2 -DOF sphere | |
| CN205058029U (en) | A four-degree-of-freedom high-speed parallel manipulator | |
| CN107243921A (en) | A kind of waist joint for anthropomorphic robot | |
| CN103968207B (en) | A Three-dimensional Rotational Parallel Mechanism with No Singularity and Completely Isotropic Space | |
| CN108714887B (en) | Spatial parallel mechanism with three degrees of freedom | |
| CN108297070B (en) | Three degrees of freedom parallel mechanism | |
| CN203557381U (en) | Three-degree-of-freedom parallel mechanism | |
| CN103722547A (en) | Decoupling space parallel mechanism with two movements, one rotation and three freedom degrees |
Legal Events
| Date | Code | Title | Description |
|---|---|---|---|
| GR01 | Patent grant | ||
| GR01 | Patent grant | ||
| CF01 | Termination of patent right due to non-payment of annual fee |
Granted publication date: 20140305 |
|
| CF01 | Termination of patent right due to non-payment of annual fee |
