CN203401949U - 车辆排气管吊挂装置、排气管总成及车辆 - Google Patents

车辆排气管吊挂装置、排气管总成及车辆 Download PDF

Info

Publication number
CN203401949U
CN203401949U CN201320393221.0U CN201320393221U CN203401949U CN 203401949 U CN203401949 U CN 203401949U CN 201320393221 U CN201320393221 U CN 201320393221U CN 203401949 U CN203401949 U CN 203401949U
Authority
CN
China
Prior art keywords
hanger
exhaust pipe
vehicle
overhang
blast duct
Prior art date
Legal status (The legal status is an assumption and is not a legal conclusion. Google has not performed a legal analysis and makes no representation as to the accuracy of the status listed.)
Expired - Fee Related
Application number
CN201320393221.0U
Other languages
English (en)
Inventor
魏国祯
曹广雷
路小路
王炜强
Current Assignee (The listed assignees may be inaccurate. Google has not performed a legal analysis and makes no representation or warranty as to the accuracy of the list.)
BAIC Motor Co Ltd
Original Assignee
BAIC Motor Co Ltd
Priority date (The priority date is an assumption and is not a legal conclusion. Google has not performed a legal analysis and makes no representation as to the accuracy of the date listed.)
Filing date
Publication date
Application filed by BAIC Motor Co Ltd filed Critical BAIC Motor Co Ltd
Priority to CN201320393221.0U priority Critical patent/CN203401949U/zh
Application granted granted Critical
Publication of CN203401949U publication Critical patent/CN203401949U/zh
Anticipated expiration legal-status Critical
Expired - Fee Related legal-status Critical Current

Links

Images

Landscapes

  • Cooling, Air Intake And Gas Exhaust, And Fuel Tank Arrangements In Propulsion Units (AREA)
  • Exhaust Silencers (AREA)

Abstract

本实用新型提供一种车辆排气管吊挂装置、排气管总成及车辆。该车辆排气管吊挂装置包括排气管支架,与排气管连接的吊钩,设置于所述排气管两侧,与所述吊钩连接的吊耳,所述吊耳通过螺栓及螺母与所述排气管支架固定连接,所述排气管支架上设置吊耳限位支柱,所述吊耳限位支柱位于于所述吊耳两侧并与所述吊耳抵靠,位于所述吊耳两侧的吊耳限位支柱与所述螺栓形成三点限位,以限制所述吊耳的转动。本实用新型还提供采用该装置的排气管总成及车辆。上述的车辆排气管吊挂装置具有结构简单、可限制排气管转动的优点。

Description

车辆排气管吊挂装置、排气管总成及车辆
技术领域
本实用新型涉及车辆技术领域,尤其涉及一种车辆排气管吊挂装置、排气管总成及车辆。
背景技术
请参加图1至图3,现有的排气管吊挂装置,包括排气管支架11,通过螺栓12及螺母13与所述排气管支架11连接的两个吊耳14。两个吊耳14分别设置于排气管16两侧,并与排气管吊钩(图未示)连接。螺栓12设置于吊耳14底部,排气管支架11开设安装孔112,螺栓12穿设安装孔112后与螺母13螺纹连接。由于每个吊耳14仅通过一个连接螺栓12及螺母13与排气管支架11连接,在车辆行驶过程中,尤其是车辆颠簸行驶的过程中,吊耳14会产生扭转,从而产生噪音,同时会导致排气管16振动加强,不仅会影响到排气管16的使用寿命,还会使乘坐的舒适性大大降低。
实用新型内容
有鉴于此,本实用新型提供一种结构简单、可限制排气管转动的车辆排气管吊挂装置。
本实用新型还提供一种采用上述车辆排气管吊挂装置的排气管总成。
本实用新型又提供一种采用上述排气管总成的车辆。
本实用新型提供一种车辆排气管吊挂装置,包括排气管支架,与排气管连接的吊钩,设置于所述排气管两侧,与所述吊钩连接的吊耳,所述吊耳通过螺栓及螺母与所述排气管支架固定连接,所述排气管支架上设置吊耳限位支柱,所述吊耳限位支柱设置于所述吊耳两侧并与所述吊耳抵靠,位于所述吊耳两侧的吊耳限位支柱与所述螺栓形成三点限位,以限制所述吊耳的转动。
优选地,所述吊耳限位支柱由所述排气管支架冲压形成。
优选地,所述吊耳限位支柱焊接于所述排气管支架。
优选地,位于所述吊耳两侧的吊耳限位支柱与对应的所述螺栓呈三角形排布。
优选地,位于所述吊耳两侧的吊耳限位支柱与对应的所述螺栓排布于一直线上。
优选地,所述车辆排气管吊挂装置还包括设置于所述吊耳与所述排气管之间的隔热片。
优选地,所述吊耳开设中心安装孔,所述吊钩的连接端插接于所述中心安装孔内。
优选地,所述吊耳为硫化橡胶件,所述排气管支架为条状的金属片。
本实施新型还提供一种排气管总成,包括排气管,以及上述用于吊挂所述排气管的车辆排气管吊挂装置。
本实施新型还提供一种车辆,包括上述的排气管总成。
本实用新型的车辆排气管吊挂装置,通过优化设计在排气管支架上设置吊耳限位支柱,所述吊耳限位支柱与相应的螺栓限制住了吊耳的转动。减少了整车噪音及整车振动,提到了整车乘坐舒适性,同时对提高排气管使用寿命有很大好处。上述车辆排气管吊挂装置,还具有结构简单,安装便利的优点。
附图说明
图1为现有的车辆排气管吊挂装置的立体图。
图2为图1所示车辆排气管吊挂装置的吊耳的立体图。
图3为图1所示车辆排气管吊挂装置的排气管支架的立体图。
图4为本发明实施方式的车辆排气管吊挂装置的立体图。
图5为图4所示的车辆排气管吊挂装置另一视角的立体图。
图6为图4所示的车辆排气管吊挂装置的排气管支架的立体图。
具体实施方式
下面结合附图对本实用新型作进一步详细的说明。
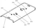
请参见图4至图6,本实用新型实施方式的车辆排气管吊挂装置,包括排气管支架21,与排气管30连接的吊钩40,设置于所述排气管30两侧,与所述吊钩40连接的吊耳22。
所述吊钩40用于吊挂排气管30,其可以是套接于排气管30的卡箍,或者焊接固定于所述排气管30两侧的连接件。
所述吊耳22为两个,分别设置于所述排气管30的两侧。以下以其中一个吊耳22的连接结构进行说明。在一实施方式中,所述吊耳22为硫化橡胶件,可以起到减震的作用。
所述吊耳22通过一个螺栓23及螺母24与所述排气管支架21固定连接。
所述螺栓23固定设置于所述吊耳22底部,所述排气管支架21开设安装孔213。所述螺栓23穿设所述安装孔213与螺母24螺纹连接,以将所述吊耳22与所述排气管支架21固定连接。
所述吊耳22整体呈一矩形块状,其中部开设中心安装孔,所述吊钩40的连接端插接于所述中心安装孔内,以将所述吊耳22与所述吊钩40连接。
所述排气管支架21上设置有吊耳限位支柱215。
当所述吊耳22固定于所述排气管支架21上时,所述吊耳限位支柱215位于所述吊耳22两侧并与所述吊耳22抵靠。位于所述吊耳22两侧的吊耳限位支柱215与所述螺栓23形成三点限位,以限制所述吊耳22的转动。本实施方式所指的三点限位,是指螺栓23与排气管支架21固定连接,位于吊耳22两侧的吊耳限位支柱215从两侧抵靠吊耳22,从而吊耳22分别通过两个吊耳限位支柱215及相应螺栓23的配合来限位,从而防止吊耳22的转动。本实施方式中,所述排气管支架21共设置有4个吊耳限位支柱215来限制两个吊耳22的转动。
在一实施方式中,所述排气管支架21整体呈长条状,当然,在其他实施方式中,可以根据与车身安装结构的安装要求设置成其他形状。
在一实施方式中,所述排气管支架21为金属片,所述吊耳限位支柱215由所述排气管支架21冲压形成。
在另一实施方式中,所述吊耳限位支柱215焊接于所述排气管支架21。例如,可以是焊点结构或者为焊接于所述排气管支架21的凸柱。
在一实施方式中,位于所述吊耳22两侧的吊耳限位支柱215与所述螺栓23呈三角形排布。在其他实施方式中,所述吊耳限位支柱215与所述螺栓23也可以排布于一直线上。
在一实施方式中,所述车辆排气管吊挂装置还包括设置于所述吊耳22与所述排气管30之间的隔热片25。所述隔热片25可防止所述排气管30产生的热量辐射到所述吊耳22,从而提高吊耳22的寿命。
本实用新型实施方式的排气管总成,包括排气管30,以及用于吊挂所述排气管30的上述车辆排气管吊挂装置。
本实用新型实施方式的车辆,包括上述排气管总成。所述车辆还可以包括车身、动力系统、控制系统,本实用新型对此不做限定。
本实用新型的车辆排气管吊挂装置,通过优化设计在排气管支架21上设置吊耳限位支柱215,所述吊耳限位支柱215与相应的螺栓23限制住了吊耳22的转动。减少了整车噪音及整车振动,提到了整车乘坐舒适性,同时对提高排气管使用寿命有很大好处。上述车辆排气管吊挂装置,还具有结构简单,安装便利的优点。
以上所述的仅是本实用新型的一个实施方式。对于本领域的普通技术人员来说,在不脱离本实用新型创造构思的前提下,还可以做出若干变形和改进,这些都属于本实用新型的保护范围。

Claims (10)

1.一种车辆排气管吊挂装置,包括排气管支架,与排气管连接的吊钩,设置于所述排气管两侧,与所述吊钩连接的吊耳,所述吊耳通过螺栓及螺母与所述排气管支架固定连接,其特征在于:所述排气管支架上设置吊耳限位支柱,所述吊耳限位支柱位于所述吊耳两侧并与所述吊耳抵靠,位于所述吊耳两侧的吊耳限位支柱与所述螺栓形成三点限位,以限制所述吊耳的转动。
2.根据权利要求1所述的车辆排气管吊挂装置,其特征在于:所述吊耳限位支柱由所述排气管支架冲压形成。
3.根据权利要求1所述的车辆排气管吊挂装置,其特征在于:所述吊耳限位支柱焊接于所述排气管支架。
4.根据权利要求1所述的车辆排气管吊挂装置,其特征在于:位于所述吊耳两侧的吊耳限位支柱与对应的所述螺栓呈三角形排布。
5.根据权利要求1所述的车辆排气管吊挂装置,其特征在于:位于所述吊耳两侧的吊耳限位支柱与对应的所述螺栓排布于一直线上。
6.根据权利要求1所述的车辆排气管吊挂装置,其特征在于:所述车辆排气管吊挂装置还包括设置于所述吊耳与所述排气管之间的隔热片。
7.根据权利要求1所述的车辆排气管吊挂装置,其特征在于:所述吊耳开设中心安装孔,所述吊钩的连接端插接于所述中心安装孔内。
8.根据权利要求1所述的车辆排气管吊挂装置,其特征在于:所述吊耳为硫化橡胶件,所述排气管支架为条状的金属片。
9.一种排气管总成,包括排气管,其特征在于,还包括如权利要求1至8任意一项所述的用于吊挂所述排气管的车辆排气管吊挂装置。
10.一种车辆,其特征在于,包括权利要求9所述的排气管总成。
CN201320393221.0U 2013-07-03 2013-07-03 车辆排气管吊挂装置、排气管总成及车辆 Expired - Fee Related CN203401949U (zh)

Priority Applications (1)

Application Number Priority Date Filing Date Title
CN201320393221.0U CN203401949U (zh) 2013-07-03 2013-07-03 车辆排气管吊挂装置、排气管总成及车辆

Applications Claiming Priority (1)

Application Number Priority Date Filing Date Title
CN201320393221.0U CN203401949U (zh) 2013-07-03 2013-07-03 车辆排气管吊挂装置、排气管总成及车辆

Publications (1)

Publication Number Publication Date
CN203401949U true CN203401949U (zh) 2014-01-22

Family

ID=49937890

Family Applications (1)

Application Number Title Priority Date Filing Date
CN201320393221.0U Expired - Fee Related CN203401949U (zh) 2013-07-03 2013-07-03 车辆排气管吊挂装置、排气管总成及车辆

Country Status (1)

Country Link
CN (1) CN203401949U (zh)

Cited By (2)

* Cited by examiner, † Cited by third party
Publication number Priority date Publication date Assignee Title
CN106011558A (zh) * 2016-07-06 2016-10-12 宁国市中泰汽车零部件有限公司 一种吊耳支架
CN109139214A (zh) * 2018-10-15 2019-01-04 上海天纳克排气系统有限公司 排气系统的支架

Cited By (3)

* Cited by examiner, † Cited by third party
Publication number Priority date Publication date Assignee Title
CN106011558A (zh) * 2016-07-06 2016-10-12 宁国市中泰汽车零部件有限公司 一种吊耳支架
CN106011558B (zh) * 2016-07-06 2018-03-02 宁国市中泰汽车零部件有限公司 一种吊耳支架
CN109139214A (zh) * 2018-10-15 2019-01-04 上海天纳克排气系统有限公司 排气系统的支架

Similar Documents

Publication Publication Date Title
CN203401949U (zh) 车辆排气管吊挂装置、排气管总成及车辆
CN203699769U (zh) 一种无极绳连续牵引车的主压绳轮组件结构
CN204279469U (zh) 一种齿轮箱吊挂装置
CN203797157U (zh) 汽车空调管路固定管夹
CN102910034A (zh) 一种重型汽车独立悬挂驱动桥壳总成
CN202727966U (zh) 排气管吊钩总成
CN203005069U (zh) 一种消声器支架
CN204095505U (zh) 一种变速箱悬置总成及汽车
CN205344428U (zh) 一种用于空调机的后支架
CN205047340U (zh) 燃油滤清器支架
CN203998589U (zh) 一种可调式车身起吊装置
CN203126510U (zh) 排气管吊耳
CN205311269U (zh) 一种用于空调机的支架
CN203549389U (zh) 一种卧式气瓶
CN203713452U (zh) 降噪钢板弹簧
CN203651455U (zh) 汽车排气吊挂结构
CN202727967U (zh) 一种排气管吊钩结构
CN203026857U (zh) 一种汽车连接器支架
CN202863124U (zh) 一种汽车及排气管吊钩
CN202832732U (zh) 一种排气管支架及车辆
CN204196702U (zh) 一种汽车传动轴安装支架
CN205527274U (zh) 一种大型直驱永磁风力发电机轴系翻身工装
CN203401937U (zh) 一种发动机支架
CN104401220A (zh) 汽车排气管吊挂装置
CN202399852U (zh) 一种重型汽车前悬架用组合支架

Legal Events

Date Code Title Description
C14 Grant of patent or utility model
GR01 Patent grant
CF01 Termination of patent right due to non-payment of annual fee

Granted publication date: 20140122

Termination date: 20210703

CF01 Termination of patent right due to non-payment of annual fee