CN203397798U - 架空导线用的内置柱式限压器 - Google Patents
架空导线用的内置柱式限压器 Download PDFInfo
- Publication number
- CN203397798U CN203397798U CN201320303847.8U CN201320303847U CN203397798U CN 203397798 U CN203397798 U CN 203397798U CN 201320303847 U CN201320303847 U CN 201320303847U CN 203397798 U CN203397798 U CN 203397798U
- Authority
- CN
- China
- Prior art keywords
- voltage limiter
- built
- core body
- grading ring
- body pipe
- Prior art date
- Legal status (The legal status is an assumption and is not a legal conclusion. Google has not performed a legal analysis and makes no representation as to the accuracy of the status listed.)
- Expired - Lifetime
Links
- 239000004020 conductor Substances 0.000 title claims abstract description 20
- 238000009413 insulation Methods 0.000 claims abstract description 27
- PCHJSUWPFVWCPO-UHFFFAOYSA-N gold Chemical compound [Au] PCHJSUWPFVWCPO-UHFFFAOYSA-N 0.000 claims description 41
- 239000010931 gold Substances 0.000 claims description 41
- 229910052737 gold Inorganic materials 0.000 claims description 41
- 238000000576 coating method Methods 0.000 claims description 11
- 239000011248 coating agent Substances 0.000 claims description 10
- 238000001746 injection moulding Methods 0.000 claims description 9
- 238000005253 cladding Methods 0.000 claims description 2
- 238000002788 crimping Methods 0.000 claims description 2
- 238000000034 method Methods 0.000 abstract description 8
- 238000009826 distribution Methods 0.000 abstract description 5
- 230000008569 process Effects 0.000 abstract description 2
- 238000002347 injection Methods 0.000 description 7
- 239000007924 injection Substances 0.000 description 7
- 239000000463 material Substances 0.000 description 7
- 239000012212 insulator Substances 0.000 description 6
- 238000010276 construction Methods 0.000 description 4
- 238000010586 diagram Methods 0.000 description 4
- 208000025274 Lightning injury Diseases 0.000 description 3
- 239000004411 aluminium Substances 0.000 description 3
- 229910052782 aluminium Inorganic materials 0.000 description 3
- XAGFODPZIPBFFR-UHFFFAOYSA-N aluminium Chemical compound [Al] XAGFODPZIPBFFR-UHFFFAOYSA-N 0.000 description 3
- 239000002131 composite material Substances 0.000 description 3
- 230000006378 damage Effects 0.000 description 3
- 238000009434 installation Methods 0.000 description 3
- 238000012423 maintenance Methods 0.000 description 3
- APTZNLHMIGJTEW-UHFFFAOYSA-N pyraflufen-ethyl Chemical compound C1=C(Cl)C(OCC(=O)OCC)=CC(C=2C(=C(OC(F)F)N(C)N=2)Cl)=C1F APTZNLHMIGJTEW-UHFFFAOYSA-N 0.000 description 3
- 238000007789 sealing Methods 0.000 description 3
- 238000002679 ablation Methods 0.000 description 2
- 230000004888 barrier function Effects 0.000 description 2
- 230000008901 benefit Effects 0.000 description 2
- 238000005422 blasting Methods 0.000 description 2
- 229910010293 ceramic material Inorganic materials 0.000 description 2
- 230000007547 defect Effects 0.000 description 2
- 238000013461 design Methods 0.000 description 2
- 230000000694 effects Effects 0.000 description 2
- 238000005516 engineering process Methods 0.000 description 2
- 229910044991 metal oxide Inorganic materials 0.000 description 2
- 150000004706 metal oxides Chemical class 0.000 description 2
- 241000272165 Charadriidae Species 0.000 description 1
- 206010017472 Fumbling Diseases 0.000 description 1
- 239000004677 Nylon Substances 0.000 description 1
- 208000027418 Wounds and injury Diseases 0.000 description 1
- 230000002411 adverse Effects 0.000 description 1
- 238000003915 air pollution Methods 0.000 description 1
- 230000009286 beneficial effect Effects 0.000 description 1
- 230000033228 biological regulation Effects 0.000 description 1
- 230000000903 blocking effect Effects 0.000 description 1
- 230000015556 catabolic process Effects 0.000 description 1
- 150000001875 compounds Chemical class 0.000 description 1
- 230000006835 compression Effects 0.000 description 1
- 238000007906 compression Methods 0.000 description 1
- 230000008878 coupling Effects 0.000 description 1
- 238000010168 coupling process Methods 0.000 description 1
- 238000005859 coupling reaction Methods 0.000 description 1
- 238000013016 damping Methods 0.000 description 1
- 230000007812 deficiency Effects 0.000 description 1
- 238000007599 discharging Methods 0.000 description 1
- 238000010891 electric arc Methods 0.000 description 1
- 239000011152 fibreglass Substances 0.000 description 1
- 238000010438 heat treatment Methods 0.000 description 1
- 230000006698 induction Effects 0.000 description 1
- 208000014674 injury Diseases 0.000 description 1
- 239000011810 insulating material Substances 0.000 description 1
- 238000002955 isolation Methods 0.000 description 1
- 230000007246 mechanism Effects 0.000 description 1
- 230000004048 modification Effects 0.000 description 1
- 238000012986 modification Methods 0.000 description 1
- 238000012544 monitoring process Methods 0.000 description 1
- 230000035772 mutation Effects 0.000 description 1
- 229920001778 nylon Polymers 0.000 description 1
- 238000012545 processing Methods 0.000 description 1
- 230000002633 protecting effect Effects 0.000 description 1
- 238000007493 shaping process Methods 0.000 description 1
- 229920002379 silicone rubber Polymers 0.000 description 1
- 238000012360 testing method Methods 0.000 description 1
- 230000009466 transformation Effects 0.000 description 1
- 230000000007 visual effect Effects 0.000 description 1
Images
Landscapes
- Insulators (AREA)
Abstract
本实用新型涉及电力系统架空配电线路,尤其涉及一种架空导线用的内置柱式限压器。所述的架空导线用的内置柱式限压器,包括杆塔和绝缘导线,还包括限压器本体,限压器本体上端和下端分别安装上金具和下金具,上金具支撑绝缘导线,下金具固定在杆塔横担上。本实用新型适合在10-35KV架空绝缘导线上使用的内置柱式限压器,体积小、重量轻、安装方便、可靠性高、容易加工、维护方便。
Description
技术领域
本实用新型涉及电力系统架空配电线路,尤其涉及一种架空导线用的内置柱式限压器。
背景技术
在配电网中,采用绝缘导线解决了裸导线所解决不了的走廊和安全问题,与电缆相比,采用绝缘导线投资省、建设快,优点十分明显。国外发达国家从20世纪60年代后期已逐渐采用架空绝缘导线。但绝缘导线也有其自身的弱点,即雷击断线问题,所谓雷击必断线。因此,必须妥善解决雷击断线问题。
根据绝缘导线雷击断线的机理,相应的防范措施有“疏导和堵塞”两种方式。“疏导”就是将绝缘子附近的绝缘导线局部裸线化,使工频电弧弧根转移或固定在特制金具上燃烧,从而保护导线免于烧伤。例如,在绝缘子与导线联结处剥离绝缘层、采用闪络保护型线夹或将绝缘子两侧的绝缘导线剥离一段绝缘层并加装防弧线夹。“疏导式”的方式操作简单、投资少,但导线局部裸露,存在密封和绝缘缺陷。“堵塞”就是雷击闪络后阻止工频续流起弧。例如,采用限流消弧角,即带串联环型外间隙金属氧化物避雷器。相比“疏导式”,“堵塞式”的方式防护效果更好,缺点是施工相对复杂,成本较高。
我国从80年代起开始对城市配电架空网实施绝缘化改造试点,90年代加快了步伐。近年来,随着配电网中绝缘导线覆盖面积的增大,雷击断线问题也日益明显起来。我国对绝缘导线雷击断线问题研究起步晚,目前还处在摸索阶段。实用新型内容
根据以上现有技术中的不足,本实用新型要解决的技术问题是:提供一种可以克服上述缺陷,适合在10-35KV架空绝缘导线上使用的内置柱式限压器,体积小、重量轻、安装方便、可靠性高、容易加工、维护方便。
本实用新型所提供的架空导线用的内置柱式限压器,包括杆塔和绝缘导线,还包括限压器本体,限压器本体上端和下端分别安装上金具和下金具,上金具支撑绝缘导线,下金具固定在杆塔横担上。
限压器本体包括架芯体管、绝缘芯棒和均压环,绝缘芯棒设置在芯体管下方,绝缘芯棒与芯体管之间设置均压环,绝缘芯棒片与下金具压接,芯体管与上金具连接,芯体管、绝缘芯棒、均压环外包覆有绝缘外套。
芯体管包括相互连接的内电极和环形阀片,内电极和环形阀片外包覆套筒,芯体管是中空式结构,为注塑的一体式结构,芯体管的厚度为1-15mm。
绝缘芯棒的直径为16-80mm。
内电极引连接均压环,均压环外接引出装置。
均压环为标准圆柱体、带圆角圆柱体或带槽圆柱体,或其它形状圆柱体,均压环完全包裹在绝缘外套中。
均压环部分包裹在绝缘外套中。
芯体管的内电极与上金具通过螺纹连接。
绝缘芯棒的材料可以是高分子材料,也可以使陶瓷或其他可用于电气设备的绝缘材料;用于注塑芯体管外壳的材料可以使玻纤增强塑料、尼龙,也可以是其他任何可以用于注塑工艺的材料;绝缘外套可以采用高分子材料(如硅橡胶),也可以采用陶瓷材料或者其他任何一种可以用于绝缘外套的适用材料;限压器本体所用环形阀片可以是常规的金属氧化物阀片,也可以是任何一种可用的新型电阻介质。
绝缘芯棒的直径并不固定,可以根据应力条件在16-80mm范围调节。
从内部电极引出一个均压环,均压环下方的下金具可叫做低压电极,低压电极也可另外设置,均压环并与低压电极之间形成串联外间隙,该间隙既能满足工频耐压的要求,又能满足隔绝系统电压的要求。低压电极的形状并不单一,可以直接把下金具当做低压电极,也可以根据实际工作条件添加其他可行的低压电极方案。
内置均压环的形状和几何尺寸并不单一,可以是标准的圆柱体,可以是带圆角或带槽的圆柱体,也可以是包含某些特殊形状的圆柱体;可以完全包裹在绝缘外套中,也可以适当裸露一部分以满足放电路径的要求。
上金具和内部电极之间的配合不再使用弹簧,可以但不仅限于采用螺纹配合。
和内置均压环连接的引出装置主要用于监视内置均压环的烧蚀状况,引出装置的外形和尺寸并不单一,优选为铝球。
本实用新型所具有的有益效果是:
(1)本实用新型采用均压环内置方案,均压环隐蔽在绝缘外套内部,降低了外界环境对其放电性能的不利影响,相对也更加美观。
(2)所述均压环上配备有体积较小的引出装置,引出装置与内置的均压环良好导通,并暴露在复合外套之外,使均压环的烧蚀或损坏状况更容易观察。
(3)内电极和上金具的联接采用螺纹形式,去掉了原有的弹簧结构,因弹簧的螺旋结构存在电感阻尼,对突变电流的传导不利,所以内电极与上金具之间用螺纹方式联接可以有效降低此不利因素带来的影响。
(4绝缘外套采用复合材料或陶瓷材料一次压制成型,体积小,重量轻,安装简单,维护方便,结构更为可靠。
(5)均压环与下金具之间构成空气间隙,均压环引出三个铝球,可以在避雷器因极端情况损坏时,通过铝球的烧灼程度给出明显的可见标识。
(6)本实用新型在原有避雷绝缘子的基础上,进一步改进结构设计,首次引用了一次性注塑成型工艺,使芯体管成为统一的整体。注塑工艺的引进可以带来如下好处:①一次性注塑相比单独注塑套筒材料成本要低。②采用一次成型技术可以免去组装芯体管的人力和工时。③把芯体管注塑成为整体可以大大提高其密封性,使阀片不容易受到空气污染。④注塑过程中的注射压力可以把芯体管内部的气体完全挤压出来,是芯体管内部真空,防止雷击放电时因空气受热膨胀而发生爆炸事故,引起人员伤亡和(或)经济损失。
附图说明
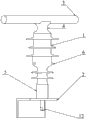
图1是本实用新型的立式安装结构示意图;
图2是本实用新型限压器本体结构示意图;
图3是本实用新型芯体管的结构剖视图图;
图4是本实用新型内置均压环结构示意图;
图中:1、内置柱式限压器本体;2、杆塔横担;3、绝缘导线;4、上金具;5、下金具;6、引出装置;7、绝缘芯棒;8、内置均压环;9、芯体管;10、内电极;11、环形阀片;12、注塑套筒;13、螺杆。
具体实施方式
下面结合附图对本实用新型的实施例做进一步描述:
如图1所示,架空线路绝缘导线用内置柱式限压器,其核心构造是限压器本体1,限压器本体1的下端,即下金具5的下端固定在杆塔横担2上,上端的上金具支承绝缘导线3。
依所述方式,在本实施例中,柱式限压器本体1高压端的上金具4上设置 有底圆半径与绝缘导线半径相匹配的凹槽,绝缘导线3架设在上金具4的凹槽中,具体安装方法按照10KV绝缘子颈扎法或10KV绝缘子顶扎法安装。
柱式限压器本体1下端的下金具5上加工有螺纹孔,通过螺杆13与横担2进行固定,下金具5和横担2连接后实现接地。固定过程中需要使用的诸如平垫片、弹簧片、螺母等标准紧固件均按照国家标准进行选用和安装。
如图2所示,内置柱式限压器本体采用上下一体的绝缘芯棒7支持,因而具有简小轻便、结构可靠性高、易于安装维护的特点。所示本体除去复合外套之外,包括上金具4、下金具5、注塑成型芯体管9、绝缘芯棒7和内置均压环8带引出装置6。
绝缘芯棒7和上金具4、下金具5通过过盈配合挤压在一起,绝缘芯棒7可以加工成上下粗细不等的形状,也可以加工成直的。上部穿过注塑成型芯体管9的部分可以略细,下部可以略粗,以满足机械的和电气上的性能要求。
如图3所示,注塑成型芯体管9是由两个内电极10压紧环形阀片11后注塑而成,原则上是完全封闭的不可拆卸的整体。这样做的目的是为了让阀片处于一个相对密封的环境中,使其远离潮气等因素的污染,并且能有效防止芯体管内部空气受热发生爆炸事故。
芯体管9的两端各有一个内电极10,内电极10的外圆面加工有螺纹,一端与上金具4通过螺纹联接导通,另一端通过螺纹安装内置均压环8(带引出装置6)。内置均压环8(带引出装置6)和下金具5是本实施例中的两个放电电极,其放电空气间隙由内置均压环8(带引出装置6)和下金具5之间的空气形成,空气间隙的尺寸数值经过反复试验确定,以确保雷击放电均发生在此空气间隙内。该放电间隙使雷电过电压很快且可靠地传递到内置均压环8(带引出装置6)和通过与杆塔横担连接而接地的下金具5之间,通过间隙放电而被释放,从而 将雷击短路电弧能量在极短的时间内从导线上转移,从而保护绝缘电缆免受雷击伤害。
图4为本实用新型的内置均压环结构示意图,内置均压环8上有等间隔的小螺纹孔,目的是将引出装置6连接到内置均压环8上,实现导通。
本实用新型的工作原理及过程:在系统正常运行时,绝缘芯棒7隔离工频电压,芯体管9部分几乎不承受电压,在直击雷或感应雷产生的雷电过电压作用下,与上金具4连接的芯体管9导通,呈现低阻抗,内置均压环8(带引出装置6)与下金具5之间的空气间隙被击穿,雷电流通过上金具4、注塑成型芯体管9的阀片11很快传递到内置均压环8(带引出装置6),经放电空气间隙传递到下金具5,在通过杆塔横担2或接地线泄放入地,从而保护了绝缘线路。雷电冲击过后,注塑成型芯体管9部分的电阻又瞬间变大,通过的电流即电弧电流被抑制在较低数值,空气间隙弧压降增大,绝缘部分的绝缘芯棒7的绝缘性能迅速恢复,电弧在极短时间内自然熄灭,工频续流被完全遮断,不易引起线路跳闸或使线路能够快速重合闸恢复运行。
本实用新型的内置柱式限压器在本说明书中仅说明一些优选实施例,并不是对其限制。该专利技术人员根据本实用新型发明构思和精神可以在结构上做出其它变化或修改,例如改变内电极的形状、复合伞套的外形等,但这些仍应属于本实用新型的保护范围。
Claims (8)
1.一种架空导线用的内置柱式限压器,包括杆塔和绝缘导线,其特征是,还包括限压器本体,限压器本体上端和下端分别安装上金具和下金具,上金具支撑绝缘导线,下金具固定在杆塔横担上。
2.根据权利要求1所述的架空导线用的内置柱式限压器,其特征是,限压器本体包括架芯体管、绝缘芯棒和均压环,绝缘芯棒设置在芯体管下方,绝缘芯棒与芯体管之间设置均压环,绝缘芯棒片与下金具压接,芯体管与上金具连接,芯体管、绝缘芯棒、均压环外包覆有绝缘外套。
3.根据权利要求2所述的架空导线用的内置柱式限压器,其特征是,芯体管包括相互连接的内电极和环形阀片,内电极和环形阀片外包覆套筒,芯体管是中空式结构,为注塑的一体式结构,芯体管的厚度为1-15mm。
4.根据权利要求2所述的架空导线用的内置柱式限压器,其特征是,绝缘芯棒的直径为16-80mm。
5.根据权利要求3所述的架空导线用的内置柱式限压器,其特征是,内电极引连接均压环,均压环外接引出装置。
6.根据权利要求2所述的架空导线用的内置柱式限压器,其特征是,均压环为标准圆柱体、带圆角圆柱体或带槽圆柱体,或其它形状圆柱体,均压环完全包裹在绝缘外套中。
7.根据权利要求6所述的架空导线用的内置柱式限压器,其特征是,均压环部分包裹在绝缘外套中。
8.根据权利要求3中所述的架空导线用的内置柱式限压器,其特征在于:芯体管的内电极与上金具通过螺纹连接。
Priority Applications (1)
| Application Number | Priority Date | Filing Date | Title |
|---|---|---|---|
| CN201320303847.8U CN203397798U (zh) | 2013-05-29 | 2013-05-29 | 架空导线用的内置柱式限压器 |
Applications Claiming Priority (1)
| Application Number | Priority Date | Filing Date | Title |
|---|---|---|---|
| CN201320303847.8U CN203397798U (zh) | 2013-05-29 | 2013-05-29 | 架空导线用的内置柱式限压器 |
Publications (1)
| Publication Number | Publication Date |
|---|---|
| CN203397798U true CN203397798U (zh) | 2014-01-15 |
Family
ID=49909313
Family Applications (1)
| Application Number | Title | Priority Date | Filing Date |
|---|---|---|---|
| CN201320303847.8U Expired - Lifetime CN203397798U (zh) | 2013-05-29 | 2013-05-29 | 架空导线用的内置柱式限压器 |
Country Status (1)
| Country | Link |
|---|---|
| CN (1) | CN203397798U (zh) |
Cited By (8)
| Publication number | Priority date | Publication date | Assignee | Title |
|---|---|---|---|---|
| CN104022444A (zh) * | 2014-06-16 | 2014-09-03 | 山东迅实电气有限公司 | 架空线路用棒形悬式限压器 |
| CN104022443A (zh) * | 2014-06-16 | 2014-09-03 | 山东迅实电气有限公司 | 牵引供电电气化铁路用腕臂支撑限压器 |
| CN105334593A (zh) * | 2015-12-11 | 2016-02-17 | 国网四川省电力公司成都供电公司 | 一种电力光缆防电蚀挂件 |
| CN107834356A (zh) * | 2017-11-29 | 2018-03-23 | 国网山东省电力公司烟台供电公司 | 一种带接地功能的绝缘子式限压器 |
| CN109449866A (zh) * | 2018-11-27 | 2019-03-08 | 国网浙江省电力有限公司绍兴供电公司 | 基于窄带物联网技术的固定限压器放电路径下金具 |
| CN109741889A (zh) * | 2018-11-27 | 2019-05-10 | 国网浙江省电力有限公司绍兴供电公司 | 架空导线用的非绑扎式一体化限压器 |
| CN114217120A (zh) * | 2022-01-25 | 2022-03-22 | 厦门市百岗电气有限公司 | 一种避雷器在线监测器 |
| CN115985594A (zh) * | 2022-12-30 | 2023-04-18 | 南阳金牛电气有限公司 | 一种内置限压元件的防雷绝缘子串 |
-
2013
- 2013-05-29 CN CN201320303847.8U patent/CN203397798U/zh not_active Expired - Lifetime
Cited By (9)
| Publication number | Priority date | Publication date | Assignee | Title |
|---|---|---|---|---|
| CN104022444A (zh) * | 2014-06-16 | 2014-09-03 | 山东迅实电气有限公司 | 架空线路用棒形悬式限压器 |
| CN104022443A (zh) * | 2014-06-16 | 2014-09-03 | 山东迅实电气有限公司 | 牵引供电电气化铁路用腕臂支撑限压器 |
| CN105334593A (zh) * | 2015-12-11 | 2016-02-17 | 国网四川省电力公司成都供电公司 | 一种电力光缆防电蚀挂件 |
| CN105334593B (zh) * | 2015-12-11 | 2019-04-16 | 国网四川省电力公司成都供电公司 | 一种电力光缆防电蚀挂件 |
| CN107834356A (zh) * | 2017-11-29 | 2018-03-23 | 国网山东省电力公司烟台供电公司 | 一种带接地功能的绝缘子式限压器 |
| CN109449866A (zh) * | 2018-11-27 | 2019-03-08 | 国网浙江省电力有限公司绍兴供电公司 | 基于窄带物联网技术的固定限压器放电路径下金具 |
| CN109741889A (zh) * | 2018-11-27 | 2019-05-10 | 国网浙江省电力有限公司绍兴供电公司 | 架空导线用的非绑扎式一体化限压器 |
| CN114217120A (zh) * | 2022-01-25 | 2022-03-22 | 厦门市百岗电气有限公司 | 一种避雷器在线监测器 |
| CN115985594A (zh) * | 2022-12-30 | 2023-04-18 | 南阳金牛电气有限公司 | 一种内置限压元件的防雷绝缘子串 |
Similar Documents
| Publication | Publication Date | Title |
|---|---|---|
| CN203397798U (zh) | 架空导线用的内置柱式限压器 | |
| CN101697299B (zh) | 架空线路绝缘导线用避雷绝缘子 | |
| CN107834357A (zh) | 一种串联多腔室灭弧防雷装置 | |
| WO2020215650A1 (zh) | 一种带外串联间隙避雷器及防雷系统 | |
| CN101699573A (zh) | 架空线路绝缘导线用避雷器绝缘子 | |
| CN102290177A (zh) | 10kV带引弧电极多级串联间隙雷击闪络保护器 | |
| CN108879628A (zh) | 一种基于电感滤波器的配电变压器防雷保护接线方法 | |
| CN110085378B (zh) | 一种内置压敏电阻单元的复合绝缘子装置 | |
| CN207530305U (zh) | 一种串联多腔室灭弧防雷装置 | |
| CN203433912U (zh) | 一种瓷套式终端爆炸防护装置 | |
| CN203659557U (zh) | 线路型固定间隙金属氧化物避雷器 | |
| CN201066670Y (zh) | 变压器中性点过电压保护装置 | |
| CN206877773U (zh) | 一种10kV固定外串联间隙避雷器 | |
| CN107742881B (zh) | 一种高压直流架空输电线路上虚拟正极诱导式避雷线防雷装置 | |
| CN106128659B (zh) | 一种特高压电瓷外绝缘出线套管 | |
| CN104022444B (zh) | 架空线路用棒形悬式限压器 | |
| CN209199692U (zh) | 一种耐张杆外串联间隙金属氧化物避雷器 | |
| CN201985500U (zh) | 一种500kv输电线路斜拉下挂式避雷装置 | |
| CN202759156U (zh) | 一种电力线路用新型线路避雷器 | |
| CN202127229U (zh) | 一种电缆接头 | |
| CN206225082U (zh) | 农网10kV防雷悬式复合绝缘子 | |
| CN202282207U (zh) | 10kV带引弧电极多级串联间隙雷击闪络保护器 | |
| CN217847573U (zh) | 一种新型防雷装置 | |
| CN201498289U (zh) | 一种10kV支柱避雷器 | |
| CN201514819U (zh) | 架空线路绝缘导线用避雷绝缘子 |
Legal Events
| Date | Code | Title | Description |
|---|---|---|---|
| C14 | Grant of patent or utility model | ||
| GR01 | Patent grant | ||
| CX01 | Expiry of patent term |
Granted publication date: 20140115 |
|
| CX01 | Expiry of patent term |