CN203392618U - 手动放线架 - Google Patents

手动放线架 Download PDF

Info

Publication number
CN203392618U
CN203392618U CN201320355298.9U CN201320355298U CN203392618U CN 203392618 U CN203392618 U CN 203392618U CN 201320355298 U CN201320355298 U CN 201320355298U CN 203392618 U CN203392618 U CN 203392618U
Authority
CN
China
Prior art keywords
fixed
shaped bracket
cylinder
fixing plate
cylindrical section
Prior art date
Legal status (The legal status is an assumption and is not a legal conclusion. Google has not performed a legal analysis and makes no representation as to the accuracy of the status listed.)
Expired - Fee Related
Application number
CN201320355298.9U
Other languages
English (en)
Inventor
李涛
张剑
韦皓
张续
沈艾
Current Assignee (The listed assignees may be inaccurate. Google has not performed a legal analysis and makes no representation or warranty as to the accuracy of the list.)
State Grid Corp of China SGCC
Mianyang Power Supply Co of State Grid Sichuan Electric Power Co Ltd
Original Assignee
State Grid Corp of China SGCC
Mianyang Power Supply Co of State Grid Sichuan Electric Power Co Ltd
Priority date (The priority date is an assumption and is not a legal conclusion. Google has not performed a legal analysis and makes no representation as to the accuracy of the date listed.)
Filing date
Publication date
Application filed by State Grid Corp of China SGCC, Mianyang Power Supply Co of State Grid Sichuan Electric Power Co Ltd filed Critical State Grid Corp of China SGCC
Priority to CN201320355298.9U priority Critical patent/CN203392618U/zh
Application granted granted Critical
Publication of CN203392618U publication Critical patent/CN203392618U/zh
Anticipated expiration legal-status Critical
Expired - Fee Related legal-status Critical Current

Links

Images

Landscapes

  • Storage Of Web-Like Or Filamentary Materials (AREA)

Abstract

本实用新型公开了一种手动放线架,包括底座(1)、内螺纹筒(2)、螺杆(3)、Y型支架(4)、转轮(5)和固定杆(6),内螺纹筒(2)设置于底座(1)中部,两个固定杆(6)的上端与内螺纹筒(2)的外表面连接,两个固定杆(6)的下端与分别底座(1)的两端连接,螺杆(3)设置于内螺纹筒(2)中并与内螺纹筒(2)螺纹连接,Y型支架(4)设置于螺杆(3)的顶部,两个转轮(5)对称设置于Y型支架(4)顶部。本实用新型的优点在于:适用于不同长度,不同直径的线盘;工作时摩擦力小,降低了工作人员的劳动强度。

Description

手动放线架
技术领域
本实用新型涉及一种电力施工用工具,具体涉及一种用于承载电缆线盘的手动放线架。
背景技术
电力系统所用的电缆在出厂时,为了便于电缆运输和存放,均是绕在线盘上。在电缆投入使用时,需要将电缆从线盘上抽出,此时为了防止线盘滚动,需要固定线盘。
当前,主要采用放线架来固定线盘,即是将线盘两端的转轴置于放线架上,在抽出电缆时,线盘会在放线架上转动,从而避免了线盘在底面上滚动的情况发生。
但是,现有的放线架功能单一,无法调整高度,对于一些直径较大、长度较长的线盘,需要定制较大尺寸的专用放线架,提高了成本。
另外,线盘与现有的放线架的接触处为面接触,线盘在转动时需要克服较大的摩擦力,不但容易磨损线盘和放线架,也增加了放线时工作人员的劳动强度。
实用新型内容
本实用新型的目的即在于克服现有放线架功能单一,无法调整高度,无法适用于直径较大、长度较长的线盘,容易磨损,工作人员的劳动强度大的不足,提供一种手动放线架。
本实用新型的目的通过以下技术方案实现:
手动放线架,包括底座、内螺纹筒、螺杆、Y型支架、转轮和固定杆,内螺纹筒设置于底座中部,两个固定杆的上端与内螺纹筒的外表面连接,两个固定杆的下端与分别底座的两端连接,螺杆设置于内螺纹筒中并与内螺纹筒螺纹连接,Y型支架设置于螺杆的顶部,两个转轮对称设置于Y型支架顶部。
在使用时,将两个手动放线架并排放置,两个手动放线架之间的距离根据线盘的长度确定,以线盘两端的转轴能够置于Y型支架上为准,从而使本实用新型适用于不同长度的线盘。通过旋转螺杆,能够调整Y型支架的高度,从而使本实用新型适用于不同直径的线盘。
Y型支架上的转轮能够在线盘旋转时,随线盘的转轴旋转,从而大大降低了线盘旋转时的摩擦力,使线盘和本实用新型不易磨损,同时也降低了工作人员的劳动强度。
固定杆用于维持内螺纹筒和螺杆的稳定,防止内螺纹筒和螺杆受力倾斜。
进一步的,还包括固定筒,固定筒套接于所述内螺纹筒上,所述固定杆的上端与固定筒的外表面连接。设置固定筒,固定杆不直接与内螺纹筒连接,在内螺纹筒内部磨损后,可以方便的更换内螺纹筒。
进一步的,所述底座包括矩形框体、中部固定板和端固定板,中部固定板设置于矩形框体的中部,两个端固定板设置于矩形框体的两端,所述内螺纹同与中部固定板连接,所述固定杆的下端与端固定板连接。底座的作用在于固定固定杆和内螺纹筒,因此设置用于固定固定杆的端固定板,以及用于固定内螺纹筒的中部固定板,在保证固定效果的前提下,不使用整体板材,从而节约了成本。
进一步的,所述中部固定板与所述矩形框体的底部平齐。本实用新型在工作时,中部固定板将承受较大的重量,上述结构可以使中部固定板直接与地面接触,从而避免了因中部固定板悬空导致的中部固定板受力凹陷的情况发生。
进一步的,所述矩形框体上设置有减重孔,以降低本实用新型的重量,方便运输和搬运。
进一步的,所述内螺纹筒包括螺纹段和圆柱段,圆柱段位于螺纹段的上方,所述Y型支架固定在圆柱段上;还包括加力筒和固定环,固定环套接于圆柱段上,固定环与圆柱段过盈配合,加力筒固定在固定环上。加力筒用于插入加力杆,便于工作人员旋转螺杆从而调整Y型支架的高度,降低了工作人员的劳动强度。
进一步的,还包括套筒,套筒活动套接于所述圆柱段上,所述Y型支架固定在套筒上。在旋转螺杆调整Y型支架高度时,可能导致Y型支架的角度产生偏差。通过上述结构,可以自由调整Y型支架的角度,从而避免了Y型支架的角度产生偏差的情况发生。
综上所述,本实用新型的优点和有益效果在于:
1.本实用新型适用于不同长度、不同直径的线盘;
2.通过设置转轮,本实用新型不易磨损,同时不易磨损线盘,还降低了工作人员的劳动强度;
3.设置固定筒,固定杆不直接与内螺纹筒连接,在内螺纹筒内部磨损后,可以方便更换内螺纹筒;
4.设置用于固定固定杆的端固定板,以及用于固定内螺纹筒的中部固定板,在保证固定效果的前提下,不使用整体板材,从而节约了成本;
5.中部固定板与矩形框体的底部平齐,避免了因中部固定板悬空导致的中部固定板受力凹陷的情况发生;
6.设置用于插入加力杆的加力筒,便于工作人员旋转螺杆从而调整Y型支架的高度,降低了工作人员的劳动强度;
7.可以自由调整Y型支架的角度,从而避免了Y型支架的角度产生偏差的情况发生。
附图说明
为了更清楚地说明本实用新型的实施例,下面将对描述本实用新型实施例中所需要用到的附图作简单的说明。显而易见的,下面描述中的附图仅仅是本实用新型中记载的一些实施例,对于本领域的技术人员而言,在不付出创造性劳动的情况下,还可以根据下面的附图,得到其它附图。
图1为本实用新型的结构示意图;
图2为底座的结构示意图;
其中,附图标记对应的零部件名称如下:
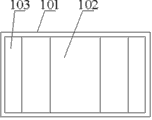
1-底座,2-内螺纹筒,3-螺杆,4-Y型支架,5-转轮,6-固定杆,7-减重孔,8-加力筒,9-固定环,10-套筒,101-矩形框体,102-中部固定板,103-端固定板。
具体实施方式
为了使本领域的技术人员更好地理解本实用新型,下面将结合本实用新型实施例中的附图对本实用新型实施例中的技术方案进行清楚、完整的描述。显而易见的,下面所述的实施例仅仅是本实用新型实施例中的一部分,而不是全部。基于本实用新型记载的实施例,本领域技术人员在不付出创造性劳动的情况下得到的其它所有实施例,均在本实用新型保护的范围内。
实施例1:
如图1和图2所示,手动放线架,包括底座1、内螺纹筒2、螺杆3、Y型支架4、转轮5和固定杆6,内螺纹筒2设置于底座1中部,两个固定杆6的上端与内螺纹筒2的外表面连接,两个固定杆6的下端与分别底座1的两端连接,螺杆3设置于内螺纹筒2中并与内螺纹筒2螺纹连接,Y型支架4设置于螺杆3的顶部,两个转轮5对称设置于Y型支架4顶部。
本实施例在使用时,两个手动放线架配合使用。将两个手动放线架并列放置,调整两个手动放线架之间的距离,使线盘两端的转轴能够置于Y型支架4上为准。然后调节螺杆3,使Y型支架4离底座1的距离大于线盘的半径。最后将线盘放置于手动放线架上,实现对线盘的固定。本实施例可以适用于不同长度,不同直径的线盘。
在工作时,线盘的转轴与两个转轮5接触,当转轴旋转时,两个转轮5也随之旋转,从而大大降低了摩擦力,减小了工作人员的劳动强度,同时也使本实施例和线盘不易磨损。
本实施例中设置的固定杆6,有助于维持内螺纹筒2的稳定,防止内螺纹筒2倾斜。
为了更好的实现本实用新型,还可以固定筒7,固定筒7套接于所述内螺纹筒2上,所述固定杆6的上端与固定筒7的外表面连接。设置固定筒7,固定杆6不直接与内螺纹筒2连接,在内螺纹筒2内部磨损后,可以方便的更换内螺纹筒2。
作为优选,所述底座1包括矩形框体101、中部固定板102和端固定板103,中部固定板102设置于矩形框体101的中部,两个端固定板103设置于矩形框体101的两端,所述内螺纹同2与中部固定板102连接,所述固定杆6的下端与端固定板103连接。底座1的作用在于固定固定杆6和内螺纹筒2,因此设置用于固定固定杆6的端固定板103,以及用于固定内螺纹筒2的中部固定板102,在保证固定效果的前提下,不使用整体板材,从而节约了成本。
为了更好的实现本实用新型,还可以设置中部固定板102与矩形框体101的底部平齐。本实施例在工作时,中部固定板102将承受较大的重量,上述结构可以使中部固定板102直接与地面接触,从而避免了因中部固定板102悬空导致的中部固定板102受力凹陷的情况发生。
为了更好的实现本实用新型,还可以在矩形框体101上开设减重孔7,以降低本实施例的重量,方便运输和搬运。
为了更好的实现本实用新型,所述内螺纹筒2包括螺纹段和圆柱段,圆柱段位于螺纹段的上方,所述Y型支架4固定在圆柱段上;还包括加力筒8和固定环9,固定环9套接于圆柱段上,固定环9与圆柱段过盈配合,加力筒8固定在固定环9上。加力筒8用于插入加力杆,便于工作人员旋转螺杆3从而调整Y型支架4的高度,降低了工作人员的劳动强度。
为了更好的实现本实用新型,还包括套筒10,套筒10活动套接于所述圆柱段上,所述Y型支架4固定在套筒10上。在旋转螺杆3调整Y型支架4高度时,可能导致Y型支架4的角度产生偏差。通过上述结构,可以自由调整Y型支架4的角度,从而避免了Y型支架4的角度产生偏差的情况发生。
综上所述,便可较好的实现本实用新型。

Claims (7)

1.手动放线架,其特征在于:包括底座(1)、内螺纹筒(2)、螺杆(3)、Y型支架(4)、转轮(5)和固定杆(6),内螺纹筒(2)设置于底座(1)中部,两个固定杆(6)的上端与内螺纹筒(2)的外表面连接,两个固定杆(6)的下端与分别底座(1)的两端连接,螺杆(3)设置于内螺纹筒(2)中并与内螺纹筒(2)螺纹连接,Y型支架(4)设置于螺杆(3)的顶部,两个转轮(5)对称设置于Y型支架(4)顶部。
2.根据权利要求1所述的手动放线架,其特征在于:还包括固定筒(7),固定筒(7)套接于所述内螺纹筒(2)上,所述固定杆(6)的上端与固定筒(7)的外表面连接。
3.根据权利要求1所述的手动放线架,其特征在于:所述底座(1)包括矩形框体(101)、中部固定板(102)和端固定板(103),中部固定板(102)设置于矩形框体(101)的中部,两个端固定板(103)设置于矩形框体(101)的两端,所述内螺纹筒(2)与中部固定板(102)连接,所述固定杆(6)的下端与端固定板(103)连接。
4.根据权利要求3所述的手动放线架,其特征在于:所述中部固定板(102)与所述矩形框体(101)的底部平齐。
5.根据权利要求3所述的手动放线架,其特征在于:所述矩形框体(101)上设置有减重孔(7)。
6.根据权利要求1所述的手动放线架,其特征在于:所述内螺纹筒(2)包括螺纹段和圆柱段,圆柱段位于螺纹段的上方,所述Y型支架(4)固定在圆柱段上;还包括加力筒(8)和固定环(9),固定环(9)套接于圆柱段上,固定环(9)与圆柱段过盈配合,加力筒(8)固定在固定环(9)上。
7.根据权利要求6所述的手动放线架,其特征在于:还包括套筒(10),套筒(10)活动套接于所述圆柱段上,所述Y型支架(4)固定在套筒(10)上。
CN201320355298.9U 2013-06-20 2013-06-20 手动放线架 Expired - Fee Related CN203392618U (zh)

Priority Applications (1)

Application Number Priority Date Filing Date Title
CN201320355298.9U CN203392618U (zh) 2013-06-20 2013-06-20 手动放线架

Applications Claiming Priority (1)

Application Number Priority Date Filing Date Title
CN201320355298.9U CN203392618U (zh) 2013-06-20 2013-06-20 手动放线架

Publications (1)

Publication Number Publication Date
CN203392618U true CN203392618U (zh) 2014-01-15

Family

ID=49904165

Family Applications (1)

Application Number Title Priority Date Filing Date
CN201320355298.9U Expired - Fee Related CN203392618U (zh) 2013-06-20 2013-06-20 手动放线架

Country Status (1)

Country Link
CN (1) CN203392618U (zh)

Cited By (2)

* Cited by examiner, † Cited by third party
Publication number Priority date Publication date Assignee Title
CN104229545A (zh) * 2013-06-20 2014-12-24 国家电网公司 一种放线装置
CN106006166A (zh) * 2016-07-15 2016-10-12 天津市立孚光电线缆开发有限公司 无纺布阻水带放带设备

Cited By (2)

* Cited by examiner, † Cited by third party
Publication number Priority date Publication date Assignee Title
CN104229545A (zh) * 2013-06-20 2014-12-24 国家电网公司 一种放线装置
CN106006166A (zh) * 2016-07-15 2016-10-12 天津市立孚光电线缆开发有限公司 无纺布阻水带放带设备

Similar Documents

Publication Publication Date Title
CN104229545A (zh) 一种放线装置
CN204741251U (zh) 一种简易电缆放线架
CN204251061U (zh) 一种卧式放线装置
CN205838224U (zh) 一种线缆回收设备
CN204416802U (zh) 一种改进的电缆缠绕装置
CN203392618U (zh) 手动放线架
CN204384597U (zh) 伸缩式放线架
CN203761006U (zh) 移动式电缆放线架
CN104362539A (zh) 一种卧式放线盘
CN203545304U (zh) 高度可调的电缆圈放置架
CN207608131U (zh) 一种电力线缆放线架
CN206697897U (zh) 一种便于铺设线路的电缆支架
CN206060147U (zh) 低压简易放线架
CN205204453U (zh) 一种电力线专用滚架
CN203781483U (zh) 一种多功能布线架
CN203579638U (zh) 便于搬运的放线架
CN208162831U (zh) 一种焊丝放线架
CN201785098U (zh) 线盘支架
CN204528875U (zh) 一种螺旋型盘式电缆展放架
CN207108134U (zh) 一种输电线用改进型绕线架
CN206665839U (zh) 新型重型放线架
CN204847572U (zh) 一种电缆铺设用的支撑架
CN204576386U (zh) 计算机线缆自动固定收放装置
CN204454108U (zh) 多功能收放线车
CN204179244U (zh) 接地极式接地线一体装置

Legal Events

Date Code Title Description
C14 Grant of patent or utility model
GR01 Patent grant
CF01 Termination of patent right due to non-payment of annual fee

Granted publication date: 20140115

Termination date: 20180620

CF01 Termination of patent right due to non-payment of annual fee