CN203390140U - Cold-heading and hole-shrinkage mould - Google Patents
Cold-heading and hole-shrinkage mould Download PDFInfo
- Publication number
- CN203390140U CN203390140U CN201320452886.4U CN201320452886U CN203390140U CN 203390140 U CN203390140 U CN 203390140U CN 201320452886 U CN201320452886 U CN 201320452886U CN 203390140 U CN203390140 U CN 203390140U
- Authority
- CN
- China
- Prior art keywords
- die
- groove
- cold heading
- cold
- heading
- Prior art date
- Legal status (The legal status is an assumption and is not a legal conclusion. Google has not performed a legal analysis and makes no representation as to the accuracy of the status listed.)
- Expired - Fee Related
Links
- 238000004519 manufacturing process Methods 0.000 abstract description 8
- 238000000034 method Methods 0.000 description 7
- 238000005096 rolling process Methods 0.000 description 6
- 239000002184 metal Substances 0.000 description 4
- 238000010586 diagram Methods 0.000 description 3
- 238000003801 milling Methods 0.000 description 3
- 239000000463 material Substances 0.000 description 2
- 239000007769 metal material Substances 0.000 description 1
- 230000008092 positive effect Effects 0.000 description 1
- 238000003672 processing method Methods 0.000 description 1
Images
Landscapes
- Forging (AREA)
Abstract
本实用新型公开一种冷镦缩径模具;包括冷镦凹槽凸模、冷镦凹槽凹模;冷镦凹槽凹模包括模套、模芯、模垫;模芯、模垫安装在模套中;冷镦凹槽凹模模芯的缩径带数量等于凹槽数量;凹模模芯缩径带宽度相同;缩径带缩细角的起始位置不同、缩细后角结束位置不同。冷镦凹槽凹模的非凹模缩径带具有径向变形余量。优点是:实现了多槽工件冷镦成形,优化产品加工工艺,大大降低生产成本,非常适合汽车紧固件的大批量生产。
The utility model discloses a cold heading shrinking die; it includes a cold heading groove punch and a cold heading groove die; the cold heading groove die includes a mold sleeve, a mold core and a mold pad; the mold core and the mold pad are installed In the mold sleeve; the number of reducing bands of the cold heading groove die core is equal to the number of grooves; the width of the reducing band of the die core is the same; the starting position of the narrowing angle of the reducing band is different, and the end position of the narrowing rear angle different. The non-die shrinkage zone of the cold heading groove die has a radial deformation allowance. The advantages are: the cold heading of multi-groove workpieces is realized, the product processing technology is optimized, the production cost is greatly reduced, and it is very suitable for mass production of automotive fasteners.
Description
技术领域 technical field
本实用新型属于冷镦成型技术领域,涉及一种冷镦缩径模具;特别适用于多槽偏心螺栓制造。 The utility model belongs to the technical field of cold heading forming, and relates to a cold heading shrinking die, which is especially suitable for manufacturing multi-groove eccentric bolts.
背景技术 Background technique
偏心螺栓类产品广泛应用于乘用车各车型底盘的调校,已知的多槽偏心螺栓加工方法是:滚丝工序后进行有屑加工铣槽、人工去铣槽毛刺,生产效率低、加工成本高。 Eccentric bolt products are widely used in the adjustment of the chassis of various models of passenger cars. The known processing methods of multi-groove eccentric bolts are: chip milling after the thread rolling process, manual deburring of the milling grooves, low production efficiency and difficult processing. high cost.
现有的冷镦缩径模具的凹模缩径带,其垂直于模具轴线截面是同一圆周径向均匀分布的圆形,零件在缩细变形时,零件杆部直径的尺寸在同一径向圆周上发生了均匀的减少的金属材料,在同一圆周径向均匀发生缩细变形,零件杆部横截面形状在变形前后均是圆形。 The die diameter reduction zone of the existing cold heading reduction die has a cross section perpendicular to the mold axis and is a circle uniformly distributed radially on the same circumference. The metal material that has been uniformly reduced on the surface is uniformly thinned and deformed in the radial direction on the same circumference, and the cross-sectional shape of the part rod is circular before and after deformation.
已知的ZL201010501895.9需要倒角且多槽的螺栓成型工艺,步骤加工:第一步冷镦,第二步搓丝;公开的是冷镦凹槽的模具内套采用两种硬度不同的材料,冲压凹槽部分的材料相对冲压其它部位的材料硬度低并且具有一定的韧性的限定结构。本领域技术人员偏见地认为用按常规的冷镦模具难以冷镦出凹槽,会发生模具断裂的现象;从而放弃常规的冷镦模具冷镦出凹槽的方案设计。简化工艺,克服偏见用冷镦缩径模具无屑加工多槽偏心螺栓是有待研究的课题。 The known ZL201010501895.9 requires a chamfered and multi-groove bolt forming process, and the processing steps are: the first step of cold heading, and the second step of thread rolling; it is disclosed that the inner sleeve of the mold for cold heading grooves uses two materials with different hardness The material of the punched groove part has a lower hardness than that of other parts of the punched part and has a limited structure with certain toughness. Those skilled in the art prejudicially think that it is difficult to cold-head out grooves with conventional cold-heading dies, and mold fracture will occur; thereby abandoning the scheme design of cold-heading out grooves with conventional cold-heading dies. Simplify the process and overcome the prejudice. Chipless processing of multi-groove eccentric bolts with cold heading reducing die is a subject to be studied.
发明内容 Contents of the invention
本实用新型公开了一种冷镦缩径模具,以解决现有技术中多槽偏心工件有屑加工铣槽,生产效率低、加工成本高等问题。 The utility model discloses a cold heading shrinking die, which solves the problems in the prior art that multi-groove eccentric workpieces have chip processing and milling grooves, low production efficiency, high processing cost and the like.
本实用新型公开的一种冷镦缩径模具,包括冷镦凹槽凸模、冷镦凹槽凹模;冷镦凹槽凹模包括模套、模芯、模垫;模芯、模垫安装在模套中;其特征在于:冷镦凹槽凹模模芯的缩径带数量等于凹槽数量;凹模模芯缩径带宽度相同;缩径带缩细角的起始位置不同、缩细后角结束位置不同。冷镦凹槽凹模的非凹模缩径带具有径向变形余量;保证均匀形变区域的杆部直径尺寸微涨。工件毛坯沿缩径带处局部径向冷镦缩细变形,发生局部缩径变形的那部分金属,在变形后形成圆弧沟槽,零件杆部变形前是圆形截面,在变形后形成多槽偏心工件截面。 The utility model discloses a cold heading shrinking die, which includes a cold heading groove punch and a cold heading groove die; the cold heading groove die includes a mold sleeve, a mold core, and a mold pad; In the mold sleeve; it is characterized in that: the number of shrinking bands of the die core of the cold heading groove is equal to the number of grooves; the width of the shrinking bands of the die core is the same; The end position of the thin relief angle is different. The non-die shrinkage zone of the cold heading groove die has a radial deformation allowance; the diameter of the rod portion in the uniform deformation area is guaranteed to increase slightly. The workpiece blank is locally radially cold-headed and deformed along the diameter-reducing zone, and the part of the metal that undergoes local diameter-reducing deformation forms circular arc grooves after deformation. Slot eccentric workpiece section.
本实用新型公开的冷镦缩径模具,冷镦凹槽凹模缩径带数量两个,凹模缩径带宽度相同;第一缩径带缩细角的起始位置在第二缩径带缩细角的起始位置之前;第一缩细后角结束位置在第二缩细后角结束位置之后。 The cold heading shrinking die disclosed by the utility model has two shrinking bands of the cold heading groove die, and the width of the shrinking bands of the die is the same; the starting position of the first narrowing angle is at the second narrowing band Before the start position of the taper; the end position of the first taper is after the end position of the second taper. the
工作过程:在冷镦机各工位依次分别加工出螺栓端头、螺栓法兰、螺杆、螺杆凹槽;杆部直径周向划分为均匀形变区域、非均匀形变区域;冷镦凹槽模具的凹模缩径带数量等于凹槽数量;凹模缩径带宽度相同;缩径带缩细角的起始位置不同、缩细后角结束位置不同;非均匀形变区域的金属相对均匀形变区域差异速度流动;当零件的杆部毛坯通过冷镦凹槽模具变形时,工件毛坯沿缩径带处局部径向冷镦缩细变形,发生局部缩径变形的那部分金属,在变形后形成圆弧沟槽,零件杆部变形前是圆形截面,变形后形成多槽偏心工件截面;零件毛坯冷镦变形,在零件的杆部形成与缩径带数量相等的周向分布一定长度的沟槽。搓丝,搓丝机加工出螺杆上的螺纹。 Working process: The bolt ends, bolt flanges, screws, and screw grooves are sequentially processed at each station of the cold heading machine; the diameter of the rod is divided into a uniform deformation area and a non-uniform deformation area; the cold heading groove mold The number of shrinking bands of the die is equal to the number of grooves; the width of the shrinking bands of the die is the same; the starting position of the narrowing angle of the narrowing bands is different, and the end position of the narrowing back angle is different; the difference between the metal in the non-uniform deformation area and the uniform deformation area Velocity flow; when the rod blank of the part is deformed by the cold heading groove mold, the workpiece blank is locally radially cold heading and deformed along the shrinking zone, and the part of the metal that undergoes local shrinking deformation forms an arc after deformation Groove, the rod of the part is a circular cross section before deformation, and after deformation, a multi-groove eccentric workpiece cross section is formed; the blank of the part is deformed by cold heading, and grooves of a certain length distributed in the circumferential direction equal to the number of reducing bands are formed on the rod of the part. Thread rolling, the thread rolling machine processes the threads on the screw.
本实用新型的积极效果在于:实现了多槽工件冷镦成形,优化产品加工工艺,大大降低生产成本,非常适合汽车紧固件的大批量生产。 The positive effect of the utility model lies in that: the cold heading forming of the multi-groove workpiece is realized, the product processing technology is optimized, the production cost is greatly reduced, and the utility model is very suitable for mass production of automobile fasteners.
附图说明 Description of drawings
图1为偏心螺栓示意图; Figure 1 is a schematic diagram of an eccentric bolt;
图2为偏心螺栓A-A剖示图; Fig. 2 is the sectional view of eccentric bolt A-A;
图3为偏心螺栓B-B剖示图; Fig. 3 is the sectional view of eccentric bolt B-B;
图4为螺栓杆部变形区域图; Figure 4 is a diagram of the deformation area of the bolt shank;
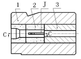
图5 为冷镦凹槽凹模结构示意图; Figure 5 is a schematic diagram of the structure of the cold heading groove die;
图6 为冷镦凹槽凹模C-C剖示图; Figure 6 is a C-C sectional view of the cold heading groove die;
图中:J工件、J1螺栓端头、J2螺栓法兰、J3螺杆、J4螺纹、J5第一槽、J6第二槽、J7均匀形变区域、J8均匀形变区域、1模套、2模芯、3模垫、2a缩径带宽度、2b第一槽缩细角的起始位置、2c第一槽缩细后角结束位置、2d第二槽缩细角的起始位置、2e第二槽缩细后角结束位置。 In the figure: J workpiece, J1 bolt end, J2 bolt flange, J3 screw rod, J4 thread, J5 first groove, J6 second groove, J7 uniform deformation area, J8 uniform deformation area, 1 mold sleeve, 2 mold cores, 3 Die Pad, 2a Reduced Diameter Strip Width, 2b Start Position of First Groove Taper Angle, 2c End Position of First Groove Taper Back Angle, 2d Start Position of Second Groove Taper Angle, 2e Second Groove Taper Angle Thin relief end position.
具体实施方式 Detailed ways
本实用新型实施例冷镦缩径模具如图5、图6所示,包括冷镦凹槽凸模、冷镦凹槽凹模;冷镦凹槽凹模包括模套1、模芯2、模垫3;模芯2、模垫3安装在模套1中;冷镦凹槽凹模模芯2的缩径带数量两个,等于凹槽数量;凹模模芯2缩径带宽度相同;第一缩径带第一槽缩细角的起始位置2b在第二缩径带缩细角的起始位置2d之前;第一缩细后角结束位置2c在第二缩细后角结束位置2e之后。冷镦凹槽凹模的非凹模缩径带具有径向变形余量;保证均匀形变区域J7和均匀形变区域J8的杆部直径尺寸微涨。
The cold heading shrinking die of the embodiment of the utility model is shown in Figure 5 and Figure 6, including a cold heading groove punch and a cold heading groove die; a cold heading groove die includes a
一个2槽偏心工件制造过程如图1、图2、图3所示:第一步:冷镦,在冷镦机各工位依次分别加工出螺栓端头J1、螺栓法兰J2、螺杆J3、螺杆凹槽第一槽J5和第二槽J6;第二步:搓丝,搓丝机加工出螺杆J3上的螺纹。 The manufacturing process of a 2-slot eccentric workpiece is shown in Figure 1, Figure 2, and Figure 3: the first step: cold heading, each station of the cold heading machine sequentially processes the bolt end J1, bolt flange J2, screw J3, The first groove J5 and the second groove J6 of the screw groove; the second step: thread rolling, the thread rolling machine processes the thread on the screw J3.
如图4所示:杆部J3直径周向划分为均匀形变区域J7和均匀形变区域J8、非均匀形变区域第一槽J5和第二槽J6。非均匀形变区域的第一槽J5和第二槽J6金属相对均匀形变区域J7和均匀形变区域J8差异速度流动;当工件J的杆部毛坯通过冷镦凹槽模具变形时,工件J毛坯沿缩径带处局部径向冷镦缩细变形,发生局部缩径变形的那部分金属,在变形后形成圆弧沟槽,工件J杆部变形前是圆形截面,变形后形成多槽偏心工件截面;工件J毛坯冷镦变形,在零件的杆部形成与缩径带数量相等的周向分布一定长度的第一槽J5和第二槽J6。 As shown in FIG. 4 , the rod portion J3 is divided into a uniform deformation zone J7 and a uniform deformation zone J8 , and a first groove J5 and a second groove J6 in a non-uniform deformation zone. The first groove J5 and the second groove J6 in the non-uniform deformation area flow at different speeds relative to the uniform deformation area J7 and the uniform deformation area J8; Partial radial cold heading shrinkage deformation at the radial belt, the part of the metal that undergoes local diameter shrinkage deformation forms arc grooves after deformation, the J rod of the workpiece is a circular cross section before deformation, and forms a multi-groove eccentric workpiece cross section after deformation ; The workpiece J blank is cold-headed and deformed, and the first groove J5 and the second groove J6 with a certain length distributed in the circumferential direction that are equal to the number of shrinking bands are formed on the rod of the part.
很明显,本实施例和附图的描述仅仅为了更好的理解本发明,对权利要求的保护范围没有明显的限制。本领域技术人员在阅读后对附图和上述实施例做出简单的调整或改进,仍然在下列权利要求的保护范围内。 Apparently, the description of this embodiment and the accompanying drawings is only for better understanding of the present invention, and does not obviously limit the protection scope of the claims. Those skilled in the art can make simple adjustments or improvements to the drawings and the above embodiments after reading, which still fall within the protection scope of the following claims.
Claims (2)
Priority Applications (1)
| Application Number | Priority Date | Filing Date | Title |
|---|---|---|---|
| CN201320452886.4U CN203390140U (en) | 2013-07-29 | 2013-07-29 | Cold-heading and hole-shrinkage mould |
Applications Claiming Priority (1)
| Application Number | Priority Date | Filing Date | Title |
|---|---|---|---|
| CN201320452886.4U CN203390140U (en) | 2013-07-29 | 2013-07-29 | Cold-heading and hole-shrinkage mould |
Publications (1)
| Publication Number | Publication Date |
|---|---|
| CN203390140U true CN203390140U (en) | 2014-01-15 |
Family
ID=49901702
Family Applications (1)
| Application Number | Title | Priority Date | Filing Date |
|---|---|---|---|
| CN201320452886.4U Expired - Fee Related CN203390140U (en) | 2013-07-29 | 2013-07-29 | Cold-heading and hole-shrinkage mould |
Country Status (1)
| Country | Link |
|---|---|
| CN (1) | CN203390140U (en) |
Cited By (2)
| Publication number | Priority date | Publication date | Assignee | Title |
|---|---|---|---|---|
| CN103386453A (en) * | 2013-07-29 | 2013-11-13 | 富奥汽车零部件股份有限公司 | Manufacturing method of multislot eccentric workpiece and cold heading reducing die |
| CN105328098A (en) * | 2015-11-18 | 2016-02-17 | 镇江市隆盛工具有限公司 | Efficient forging and pressing device of screw tap shrinkage handle |
-
2013
- 2013-07-29 CN CN201320452886.4U patent/CN203390140U/en not_active Expired - Fee Related
Cited By (3)
| Publication number | Priority date | Publication date | Assignee | Title |
|---|---|---|---|---|
| CN103386453A (en) * | 2013-07-29 | 2013-11-13 | 富奥汽车零部件股份有限公司 | Manufacturing method of multislot eccentric workpiece and cold heading reducing die |
| CN105328098A (en) * | 2015-11-18 | 2016-02-17 | 镇江市隆盛工具有限公司 | Efficient forging and pressing device of screw tap shrinkage handle |
| CN105328098B (en) * | 2015-11-18 | 2017-05-31 | 镇江市隆盛工具有限公司 | A kind of efficient forging press of screw tap contracting handle |
Similar Documents
| Publication | Publication Date | Title |
|---|---|---|
| CN103316926B (en) | Cold rolling forming method for automotive hub bearing ring part with L-shaped cross section | |
| CA2655908A1 (en) | Expansion die for manufacturing metal containers | |
| CN105014321A (en) | Magnesium alloy wheel forging forming method | |
| CN104117624B (en) | Cold heading manufacturing method for connection bolt of ignition switch and die | |
| CN103111483A (en) | High-modulus straight-tooth cylindrical gear cold extrusion technology and special die thereof | |
| KR20150088688A (en) | Method of manufacturing gear with double teeth patterns involving forging and two stage cold extrusion process | |
| CN104001843B (en) | A kind of cold rolling process for being molded race ring | |
| CN106552852A (en) | A kind of reverse spinning processing method of Small Taper cylindrical member | |
| CN102601151A (en) | Method for manufacturing precision combined dies by involute spline open extrusion | |
| RU2350424C1 (en) | Production method of headed bolt allowing internal polyhedron and flange, on cold-upsetting automation | |
| CN203390140U (en) | Cold-heading and hole-shrinkage mould | |
| CN104384428B (en) | A kind of hollow wheel gear axis blank temperature finish forge forming method | |
| CN103386453B (en) | A method for manufacturing a multi-groove eccentric workpiece and a cold heading shrinking die | |
| TW201440919A (en) | Process to fabricate a concrete screw | |
| CN119973651B (en) | Cold upsetting method for progressive gas spring cylinders with initial roughing and subsequent gradual extension | |
| CN108927473B (en) | Plate type cross wedge rolling die for ball pin | |
| CN106825378A (en) | A kind of H types thin-walled diskware low load continuous and local incremental forming device and method | |
| CN112719178B (en) | Method for manufacturing bearing pin for welding of vehicle | |
| CN206373294U (en) | A kind of combined type shape expanding machine frock | |
| JP6665643B2 (en) | Manufacturing method and manufacturing apparatus for expanded pipe parts | |
| CN104226706B (en) | The screw type elasticity die holder that a kind of radial dimension is fine-tuning | |
| CN102921873A (en) | Method for machining flange shaft of motorcycle | |
| JPS63299839A (en) | Method and device for manufacturing fluted nut | |
| US7104109B2 (en) | Double-cavity heading die | |
| CN204182848U (en) | Prefabricated chamfering mould in differential bevel gear teeth portion large end face flank profil |
Legal Events
| Date | Code | Title | Description |
|---|---|---|---|
| C14 | Grant of patent or utility model | ||
| GR01 | Patent grant | ||
| CF01 | Termination of patent right due to non-payment of annual fee |
Granted publication date: 20140115 Termination date: 20160729 |
|
| CF01 | Termination of patent right due to non-payment of annual fee |
