CN203375510U - 双制式内循环净化机 - Google Patents
双制式内循环净化机 Download PDFInfo
- Publication number
- CN203375510U CN203375510U CN201320462853.8U CN201320462853U CN203375510U CN 203375510 U CN203375510 U CN 203375510U CN 201320462853 U CN201320462853 U CN 201320462853U CN 203375510 U CN203375510 U CN 203375510U
- Authority
- CN
- China
- Prior art keywords
- air
- standard
- housing
- inlet
- water tank
- Prior art date
- Legal status (The legal status is an assumption and is not a legal conclusion. Google has not performed a legal analysis and makes no representation as to the accuracy of the status listed.)
- Expired - Lifetime
Links
- XLYOFNOQVPJJNP-UHFFFAOYSA-N water Substances O XLYOFNOQVPJJNP-UHFFFAOYSA-N 0.000 claims abstract description 34
- 238000001816 cooling Methods 0.000 claims abstract description 15
- 239000004519 grease Substances 0.000 claims abstract description 11
- 238000005338 heat storage Methods 0.000 claims abstract description 8
- 239000000463 material Substances 0.000 claims description 24
- 239000003517 fume Substances 0.000 claims description 13
- 238000013461 design Methods 0.000 claims description 9
- NJPPVKZQTLUDBO-UHFFFAOYSA-N novaluron Chemical compound C1=C(Cl)C(OC(F)(F)C(OC(F)(F)F)F)=CC=C1NC(=O)NC(=O)C1=C(F)C=CC=C1F NJPPVKZQTLUDBO-UHFFFAOYSA-N 0.000 claims description 6
- 230000001105 regulatory effect Effects 0.000 claims description 5
- OKTJSMMVPCPJKN-UHFFFAOYSA-N Carbon Chemical compound [C] OKTJSMMVPCPJKN-UHFFFAOYSA-N 0.000 claims description 4
- 229910052799 carbon Inorganic materials 0.000 claims description 4
- 239000011941 photocatalyst Substances 0.000 claims description 4
- 239000002699 waste material Substances 0.000 abstract description 2
- 238000000926 separation method Methods 0.000 abstract 2
- 238000010521 absorption reaction Methods 0.000 abstract 1
- 238000007599 discharging Methods 0.000 abstract 1
- 238000000746 purification Methods 0.000 abstract 1
- 239000007789 gas Substances 0.000 description 25
- 239000004071 soot Substances 0.000 description 9
- 239000000779 smoke Substances 0.000 description 8
- 230000000694 effects Effects 0.000 description 4
- 238000004140 cleaning Methods 0.000 description 2
- 238000010411 cooking Methods 0.000 description 2
- 238000005516 engineering process Methods 0.000 description 2
- 238000003912 environmental pollution Methods 0.000 description 2
- 238000004519 manufacturing process Methods 0.000 description 2
- 239000002245 particle Substances 0.000 description 2
- 238000005192 partition Methods 0.000 description 2
- 239000002918 waste heat Substances 0.000 description 2
- UGFAIRIUMAVXCW-UHFFFAOYSA-N Carbon monoxide Chemical compound [O+]#[C-] UGFAIRIUMAVXCW-UHFFFAOYSA-N 0.000 description 1
- 229920000742 Cotton Polymers 0.000 description 1
- 238000003915 air pollution Methods 0.000 description 1
- 238000004458 analytical method Methods 0.000 description 1
- 230000003750 conditioning effect Effects 0.000 description 1
- 238000011109 contamination Methods 0.000 description 1
- 230000007547 defect Effects 0.000 description 1
- 238000001514 detection method Methods 0.000 description 1
- 238000010586 diagram Methods 0.000 description 1
- 230000007613 environmental effect Effects 0.000 description 1
- 238000002474 experimental method Methods 0.000 description 1
- 238000001914 filtration Methods 0.000 description 1
- 239000012467 final product Substances 0.000 description 1
- 239000003546 flue gas Substances 0.000 description 1
- 238000000034 method Methods 0.000 description 1
- 238000012986 modification Methods 0.000 description 1
- 230000004048 modification Effects 0.000 description 1
- 239000008239 natural water Substances 0.000 description 1
- 238000011160 research Methods 0.000 description 1
- 230000000630 rising effect Effects 0.000 description 1
- 230000001954 sterilising effect Effects 0.000 description 1
- 238000004659 sterilization and disinfection Methods 0.000 description 1
Images
Landscapes
- Ventilation (AREA)
Abstract
本实用新型公开了一种双制式内循环净化机,其包括:壳体;灶具,其位于该壳体台面上;位于该壳体内的进气装置;与该进气装置组为一体的油脂分离装置;冷却装置,其包括吸热水箱,储热水箱,及排水阀;风机装置,其包括吸气口和风机口;以及出气装置,其包括出气通道,净化器,及可调出风方向的导风装置。本实用新型通过设置冷却装置,油脂及气体净化装置,及可调出风方向的导风装置,实现了厨房及室内污染气体对室外的零排放,大大减轻了社会及大气环境污染的压力,同时节省了现行居家的建筑需建立共用烟道的成本支出;而且,在降低室内空气温度的同时将浪费的余热得到了充分的利用。
Description
技术领域
本实用新型涉及一种净化机,尤其涉及一种室内使用的内循环净化机。
背景技术
随着人民生活水平的改善和城市规模的扩大,餐饮油烟的排放带来了严峻的环境污染问题,尤其自2011年11月起PM2.5纳入到我国大气污染常规检测,使得油烟排放问题面临更大的挑战。
现有的抽排油烟设备仅将厨房操作间内产生的油烟直接排到大气中,虽然解决了厨房内的空气污染,但所排放的油烟会严重污染室外环境。同时,现代家庭居室的环境并不乐观:厨房烹调尚未排净的尾气;共用烟道倒灌的烟气以及卫生间下水道散发的恶臭气;加之现代装修及家具材料释放出的有害物;诸多有害的气体也极大地影响着人们的健康。所以,研究制造一种既能解决油烟室外污染问题,又能有效地改善人们家居空气质量的双制式设备势在必行。
实用新型内容
针对现有技术的上述缺陷,本实用新型所要解决的技术问题是提供一种双制式内循环净化机,其既能有效地净化厨房油烟气体,又能实现家居全方位的空气净化。
为实现上述目的,本实用新型提供了一种双制式内循环净化机,包括:
壳体;
灶具,其位于该壳体台面上;
进气装置,其位于该壳体内,包括进气口,及与该进气口相连通的进气通道;
油脂分离装置,其与该进气装置组为一体;
冷却装置,其包括安置于迎灶台面的吸热水箱,安置于该吸热水箱上部的储热水箱,及与该储热水箱连通的排水阀;
风机装置,其包括吸气口和风机口,其中,该吸气口与该进气通道相连通;以及
出气装置,其包括出气通道,安置于该出气通道内的净化器,及与该出气通道相连通且设置于该壳体台面的可调出风方向的导风装置,其中,该出气通道与该风机口相连通。
该导风装置设置于该壳体台面前沿和/或该壳体台面左右两边,其包括基座,安置于该基座上的固定唇,安置于该固定唇内且可转动的转动芯,其中,该转动芯具有导风腔,该导风腔与该出气通道相连通。
进一步,该转动芯的横向切面直径大于该固定唇的开口宽度,该导风腔的开口为以下形态的一种:横向长条形、隔断形、或格栅形。
该出气装置还包括滤材支架,该净化器包括油烟净化层,其中,该滤材支架为层叠式结构;该油烟净化层为以下的一种或几种组合:初滤层、活性炭净化层、光触媒净化层。
该滤材支架设有抽屉形滑道,该壳体设有与该滤材支架相对应的外装门,该外装门与该滤材支架为一体式设计,且设置于该壳体正面。作为可选择的实施例,该壳体设有与该滤材支架相对应的外装门,该外装门与该滤材支架为分体式设计,该外装门采用铰链与该壳体正面连接。
该油脂分离装置优选实施方案包括有多个平行凹槽相邻间隔穿透的两块进风网,该两块进风网的凹槽错位并有一定间隙地叠合成一体。
该冷却装置还包括安置于该吸热水箱靠近该进气通道一侧的吸热片。
采用本技术方案的积极效果是:该双制式内循环净化机通过设置冷却装置,油脂及气体净化装置,及可调出风方向的导风装置,第一,实现了厨房及室内污染气体对室外的零排放,大大减轻了社会及大气环境污染的压力,同时节省了现行居家的建筑需建立共用烟道的成本支出;第二,实现了一机两用,在净化厨房油烟的同时给居家增加了一台空气净化器,降低了社会生产成本及消费者的购置成本,有效地提升了人们的生活质量;第三,在降低室内空气温度的同时将浪费的余热得到了充分的利用;第四,不再受传统的家居厨房烹饪与其他生活区间隔离的生活方式束缚,可将空气净化机及烹饪设备设置于家居中任意位置,适应和满足了家居设置个性化情趣的需求。
以下将结合附图对本实用新型的构思、具体结构及产生的技术效果作进一步说明,以充分地了解本实用新型的目的、特征和效果。
附图说明
图1是本实用新型的侧剖图。
图2是图1中A的局部放大图。
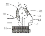
图3是导风装置的侧剖图。
图4是本实用新型的示意图。
具体实施方式
下面结合附图对本实用新型作进一步的阐述。
如图1所示,本实用新型双制式内循环净化机包括壳体1,位于该壳体1台面上的灶具2,位于该壳体1内的进气装置3,冷却装置4,与该进气装置3相连通的风机装置5,及出气装置6。当该净化机工作时,气体首先进入该进气装置3,然后进入该风机装置5,最后由该出气装置6排出。
该进气装置3包括进气口31、及与该进气口31相连通的进气通道32,当该净化机工作时,气体从该进气口31进入,经过该进气通道32,进入该风机装置5。
该净化机还包括油脂分离装置7,该油脂分离装置7与该进气装置3组为一体,即,该油脂分离器7可以设置在该进气口31,也可以设置在该进气通道32内,其中,该油脂分离装置7采用机械方法分离气体中的油脂,其包括有多个平行凹槽相邻间隔穿透的两块进风网,该两块进风网的凹槽错位并有一定间隙地叠合成一体。这样,当灶具工作时,油烟气体在进入该风机装置5前,先经过该油脂分离器过滤,以去除油烟中的部分油脂与烟颗粒。
该冷却装置4包括安置于迎灶台面的吸热水箱41,安置于该吸热水箱41上部的储热水箱42,及与该储热水箱42连通的排水阀。这样,该吸热水箱41内的水吸收该进气通道中气体的热量和迎灶台面的热量,经过冷热水的自然导流,热水往上升进入该储热水箱42,冷水往下降进入该吸热水箱41。当该灶具2工作时,该冷却装置4一方面吸收了油烟气体的余热,可降低油烟气体的温度,克服了油烟气体对室内温度的影响及避免该净化机内的电器设备受到油烟气体高温的烘烤,另一方面可提供热水供人们生活起居使用,既方便又节省能源。当该灶具2不工作时,该冷却装置4可以作为室内水冷空调使用,以调节室内的空气温度。
如图2所示,该冷却装置4还包括安置于该吸热水箱41靠近该进气通道32一侧的吸热片43,其中,该吸热片43顺进该进气通道32纵向排列。
该冷却装置4还包括净水器44,该净水器设置于进水管45处并与自来水接通,使得该吸热水箱41内的水达到一定的卫生标准,可以用于烹饪或直接饮用。
该风机装置5包括吸气口51和风机口52,其中,该吸气口51与该进气通道32相连通,该风机口52与该出气装置6相连通。
该出气装置6包括与该风机口52相连通的出气通道61,安置于该出气通道61内的净化器62,及与该出气通道61相连通且设置于该壳体1台面的可调出风方向的导风装置63,其中,该净化器62用于净化油烟气体,该导风装置63用于调节出风方向,设置于该壳体1台面前沿和/或该壳体1台面左右两边。当该灶具2工作时,即需要对该灶具产生的油烟气体进行处理时,该导风装置63的出风方向与该进气装置3的该进气口31相对应,这样,油烟气体进入该进气装置3,通过该风机装置5的吸排,由该导风装置6排出干净气体;干净的气体在该导风装置6与该进气口31之间形成一个风幕,促进和带动油烟气体进入到该进气装置3中,从而增大了该进气装置3的负压及提高了油烟气体的被吸入率。当该灶具2不工作时,单纯地对室内的浑浊气体进行处理时,该导风装置6的出风方向可调节至室内任意空间,这样,浑浊气体进入该进气装置3,通过该风机装置5的吸排并经净化处理,由该导风装置6排出干净气体进入室内,往复循环以达到净化室内空气的目的。
如图3所示,该导风装置63包括基座631,安置于该基座631上的固定唇632,及安置于该固定唇632内且可转动的转动芯633。其中,该转动芯633具有导风腔6331,该导风腔6331与该出气通道61相连通。只要转动该转动芯633,即可改变该导风腔6331的朝向,当该净化器停止工作时,可将该导风腔6331朝向转动至该固定唇632内,这样即可封闭该导风装置63。值得提醒的是,该转动芯633的横向切面直径大于该固定唇632的开口宽度,该导风腔6331的开口可以是横向长条形、隔断形、或格栅形。该导风腔6331的朝向可以由人工完全手动控制,也可以通过安装小马达的方式进行电动控制。
该净化器62包括油烟净化层621。为了充分的净化油烟,该油烟净化层621包括由无机棉或纤制成的初滤层、活性炭净化层、光触媒净化层,其中该初滤层主要用于进一步地过滤油脂及烟颗粒,该活性炭净化层和光触媒净化层主要用于去除气体中有害物及用于杀菌消毒、除异味。值得提醒的是,根据实际使用情况,该油烟净化层621可以是上述净化层的一种或几种组合,或者是其他能起到类似作用的物质。
该如图4所示,出气装置6还包括用于安置该油烟净化层621的滤材支架64,该滤材支架64为层叠式结构,每一层可安置一种净化层,由于不同净化层的使用周期不一样,这样,如果某一种净化层的使用周期到了,只需更换相应的净化层即可,不必全部更换,既环保又节约。该滤材支架64设有抽屉形滑道641,该壳体1设有与该滤材支架64相对应的外装门11,该外装门11与该滤材支架64为一体式设计,且设置于该壳体1正面,只需向外拉动该外装门11,即可带动该滤材支架64一起抽出。作为可选择的实施例,该外装门11与该滤材支架64为分体式设计,该外装门11采用铰链与该壳体1正面连接,实现开启或闭合。需要更换净化层时,使用者不需要搬动该净化机,只需打开该外装门11即可抽出该滤材支架64,进行更换操作,方便又快捷。
该净化机还包括导油管8和油盒9,其中该风机装置5在其底部具有导油孔53,该导油管8与该导油孔53相连接,油通过该导油孔53,经过该导油管8,流入该油盒9中,以方便人员清洗。
根据实际情况需求,该净化机还可以包括安置于该壳体内的消毒柜、储物柜等其他厨房设备,以节省了空间、费用以及人力操作程序。
以上详细描述了本实用新型的较佳具体实施例。应当理解,本领域的普通技术无需创造性劳动就可以根据本实用新型的构思作出诸多修改和变化。因此,凡本技术领域中技术人员依本实用新型的构思在现有技术的基础上通过逻辑分析、推理或者有限的实验可以得到的技术方案,皆应在由权利要求书所确定的保护范围内。
Claims (10)
1.一种双制式内循环净化机,其特征在于:包括:
壳体;
灶具,其位于该壳体台面上;
进气装置,其位于该壳体内,包括进气口,及与该进气口相连通的进气通道;
油脂分离装置,其与该进气装置组为一体;
冷却装置,其包括安置于迎灶台面的吸热水箱,安置于该吸热水箱上部的储热水箱,及与该储热水箱连通的排水阀;
风机装置,其包括吸气口和风机口,其中,该吸气口与该进气通道相连通;以及
出气装置,其包括出气通道,安置于该出气通道内的净化器,及与该出气通道相连通且设置于该壳体台面的可调出风方向的导风装置,其中,该出气通道与该风机口相连通。
2.如权利要求1所述的双制式内循环净化机,其特征在于:该导风装置包括基座,安置于该基座上的固定唇,安置于该固定唇内且可转动的转动芯,其中,该转动芯具有导风腔,该导风腔与该出气通道相连通;该导风装置设置于该壳体台面前沿和/或该壳体台面左右两边。
3.如权利要求2所述的双制式内循环净化机,其特征在于:该转动芯的横向切面直径大于该固定唇的开口宽度,该导风腔的开口为以下形态的一种:横向长条形、隔断形、或格栅形。
4.如权利要求1至3中任一权利要求所述的双制式内循环净化机,其特征在于:该出气装置还包括滤材支架,该净化器包括油烟净化层,其中,该滤材支架为层叠式结构,该油烟净化层为以下的一种或几种组合:初滤层、活性炭净化层、光触媒净化层。
5.如权利要求4所述的双制式内循环净化机,其特征在于:该滤材支架设有抽屉形滑道,该壳体设有与该滤材支架相对应的外装门,该外装门与该滤材支架为一体式设计,且设置于壳体正面。
6.如权利要求4所述的双制式内循环净化机,其特征在于:该壳体设有与该滤材支架相对应的外装门,该外装门与该滤材支架为分体式设计,该外装门采用铰链与该壳体正面连接。
7.如权利要求1至3中任一权利要求所述的双制式内循环净化机,其特征在于:该油脂分离器包括有多个平行凹槽相邻间隔穿透的两块进风网,该两块进风网的凹槽错位并有一定间隙地叠合成一体。
8.如权利要求5所述的双制式内循环净化机,其特征在于:该油脂分离器包括有多个平行凹槽相邻间隔穿透的两块进风网,该两块进风网的凹槽错位并有一定间隙地叠合成一体。
9.如权利要求1至3中任一权利要求所述的双制式内循环净化机,其特征在于:该冷却装置还包括安置于该吸热水箱靠近该进气通道一侧的吸热片。
10.如权利要求5所述的双制式内循环净化机,其特征在于:该冷却装置还包括安置于该吸热水箱靠近该进气通道一侧的吸热片。
Priority Applications (1)
| Application Number | Priority Date | Filing Date | Title |
|---|---|---|---|
| CN201320462853.8U CN203375510U (zh) | 2013-07-31 | 2013-07-31 | 双制式内循环净化机 |
Applications Claiming Priority (1)
| Application Number | Priority Date | Filing Date | Title |
|---|---|---|---|
| CN201320462853.8U CN203375510U (zh) | 2013-07-31 | 2013-07-31 | 双制式内循环净化机 |
Publications (1)
| Publication Number | Publication Date |
|---|---|
| CN203375510U true CN203375510U (zh) | 2014-01-01 |
Family
ID=49838036
Family Applications (1)
| Application Number | Title | Priority Date | Filing Date |
|---|---|---|---|
| CN201320462853.8U Expired - Lifetime CN203375510U (zh) | 2013-07-31 | 2013-07-31 | 双制式内循环净化机 |
Country Status (1)
| Country | Link |
|---|---|
| CN (1) | CN203375510U (zh) |
Cited By (2)
| Publication number | Priority date | Publication date | Assignee | Title |
|---|---|---|---|---|
| CN103398405A (zh) * | 2013-07-31 | 2013-11-20 | 上海多环油烟净化设备有限公司 | 双制式内循环净化机 |
| CN104776476A (zh) * | 2015-04-16 | 2015-07-15 | 清华大学 | 一种基于室内pm2.5和co2控制的双功能厨房气幕式油烟机 |
-
2013
- 2013-07-31 CN CN201320462853.8U patent/CN203375510U/zh not_active Expired - Lifetime
Cited By (3)
| Publication number | Priority date | Publication date | Assignee | Title |
|---|---|---|---|---|
| CN103398405A (zh) * | 2013-07-31 | 2013-11-20 | 上海多环油烟净化设备有限公司 | 双制式内循环净化机 |
| CN103398405B (zh) * | 2013-07-31 | 2016-01-20 | 上海多环油烟净化设备有限公司 | 双制式内循环净化机 |
| CN104776476A (zh) * | 2015-04-16 | 2015-07-15 | 清华大学 | 一种基于室内pm2.5和co2控制的双功能厨房气幕式油烟机 |
Similar Documents
| Publication | Publication Date | Title |
|---|---|---|
| CN103398405B (zh) | 双制式内循环净化机 | |
| CN103353134B (zh) | 水冷式循环集成灶 | |
| CN103353138B (zh) | 循环式油烟净化机 | |
| CN102937302B (zh) | 吸排气装置及采用该装置的集成灶 | |
| CN103398404A (zh) | 双风道循环式环保集成灶 | |
| CN201858691U (zh) | 一种吸油烟机 | |
| CN100432546C (zh) | 带立体风幕的清洁循环式吸油烟机 | |
| WO2019037492A1 (zh) | 两用式循环净化机 | |
| CN203657029U (zh) | 循环式油烟净化机 | |
| CN106482223A (zh) | 一种全新风空气净化装置 | |
| CN109323311B (zh) | 一种可净化空气的集成灶 | |
| CN203642264U (zh) | 水冷式循环集成灶 | |
| CN204494633U (zh) | 一体式密闭新风空气净化机 | |
| CN203375510U (zh) | 双制式内循环净化机 | |
| CN203375509U (zh) | 双风道循环式环保集成灶 | |
| CN202947191U (zh) | 吸排气装置及采用该装置的集成灶 | |
| CN203628751U (zh) | 双电机上置式侧吸下排烟集成灶具 | |
| CN203704095U (zh) | 楼宇一体式吸排油烟系统 | |
| CN106839111A (zh) | 一种免清洗多功能家用空调机 | |
| CN213577657U (zh) | 一种综合型油烟机 | |
| CN210463439U (zh) | 一种厨柜框式新风机 | |
| CN201892253U (zh) | 双电机吸入风机上置式侧吸下排除油烟灶具 | |
| CN207112944U (zh) | 一种多爪可调吸气式抽油烟机 | |
| CN204739640U (zh) | 不外排油烟节能集成灶 | |
| CN207196578U (zh) | 一种多爪抽油烟机 |
Legal Events
| Date | Code | Title | Description |
|---|---|---|---|
| C14 | Grant of patent or utility model | ||
| GR01 | Patent grant | ||
| CX01 | Expiry of patent term | ||
| CX01 | Expiry of patent term |
Granted publication date: 20140101 |