CN203362770U - 用于汽车的高抗扭轮胎螺栓 - Google Patents

用于汽车的高抗扭轮胎螺栓 Download PDF

Info

Publication number
CN203362770U
CN203362770U CN 201320407592 CN201320407592U CN203362770U CN 203362770 U CN203362770 U CN 203362770U CN 201320407592 CN201320407592 CN 201320407592 CN 201320407592 U CN201320407592 U CN 201320407592U CN 203362770 U CN203362770 U CN 203362770U
Authority
CN
China
Prior art keywords
bolt
assembly rail
nut
tire
automobile
Prior art date
Legal status (The legal status is an assumption and is not a legal conclusion. Google has not performed a legal analysis and makes no representation as to the accuracy of the status listed.)
Expired - Fee Related
Application number
CN 201320407592
Other languages
English (en)
Inventor
朱成良
万建军
陆福泉
俞法仁
Current Assignee (The listed assignees may be inaccurate. Google has not performed a legal analysis and makes no representation or warranty as to the accuracy of the list.)
HANGZHOU XIAOSHAN AUTO STANDARD PARTS Co Ltd
Original Assignee
HANGZHOU XIAOSHAN AUTO STANDARD PARTS Co Ltd
Priority date (The priority date is an assumption and is not a legal conclusion. Google has not performed a legal analysis and makes no representation as to the accuracy of the date listed.)
Filing date
Publication date
Application filed by HANGZHOU XIAOSHAN AUTO STANDARD PARTS Co Ltd filed Critical HANGZHOU XIAOSHAN AUTO STANDARD PARTS Co Ltd
Priority to CN 201320407592 priority Critical patent/CN203362770U/zh
Application granted granted Critical
Publication of CN203362770U publication Critical patent/CN203362770U/zh
Anticipated expiration legal-status Critical
Expired - Fee Related legal-status Critical Current

Links

Images

Landscapes

  • Tires In General (AREA)

Abstract

本实用新型涉及一种轮胎螺栓,尤其涉及一种用于汽车的高抗扭轮胎螺栓。包括螺栓体,所述的螺栓体的中端设有与之相一体化的挡接突圈,所述的螺栓体的左端设有与之相一体化的左装配杆,所述的螺栓体的右端设有与之相一体化的右装配杆,所述的左装配杆中设有与之相螺接的杯形螺母,所述的杯形螺母外套有与之相螺接的球面大螺母,所述的右装配杆上套有与之相螺接的小螺母,所述的右装配杆上设有扭剪缺口。用于汽车的高抗扭轮胎螺栓结构紧凑,提升安全性,提升使用性能和使用寿命。

Description

用于汽车的高抗扭轮胎螺栓
技术领域
本实用新型涉及一种轮胎螺栓,尤其涉及一种用于汽车的高抗扭轮胎螺栓。 
背景技术
现有技术中钢结构当中用到的轮胎螺栓,普通存在强度低,安装牢固度不高,造成钢结构稳定性降低,存在一定的安全隐患。 
中国专利201120125973.X ,公开一种新型汽车轮胎螺栓总成,包括具有头部和杆部的螺栓以及螺母和垫圈,其特征在于:所述螺母和垫圈套接铆合,垫圈与螺母之间可以相对旋转,螺母下端的翻边与垫圈的上部内环面可活动地相扣,垫圈的上端面与螺母的台阶面之间球面配合,所述垫圈的下部延伸有环套。此结构相对复杂,而且紧固度相对不足,在使用过程中存在一定的安全隐患。 
实用新型内容
 本实用新型主要是解决现有技术中存在的不足,提供一种结构紧凑,而且使用强度高,紧固度高,使用方便的用于汽车的高抗扭轮胎螺栓。 
  本实用新型的上述技术问题主要是通过下述技术方案得以解决的:    
一种用于汽车的高抗扭轮胎螺栓,包括螺栓体,所述的螺栓体的中端设有与之相一体化的挡接突圈,所述的螺栓体的左端设有与之相一体化的左装配杆,所述的螺栓体的右端设有与之相一体化的右装配杆,所述的左装配杆中设有与之相螺接的杯形螺母,所述的杯形螺母外套有与之相螺接的球面大螺母,所述的右装配杆上套有与之相螺接的小螺母,所述的右装配杆上设有扭剪缺口。
 作为优选,所述的左装配杆与挡接突圈间通过圆弧相过渡连接,所述的右装配杆与挡接突圈间通过直角相过渡连接,所述的扭剪缺口设在小螺母的左侧,所述的杯形螺母的尾部设有配接挡块。 
 作为优选,所述的左装配杆的直径小于右装配杆的直径,所述的右装配杆的直径为22mm,所述的左装配杆的长度为37mm,所述的左装配杆的长度小于杯形螺母的长度,所述的螺栓体的长度为100mm,所述的扭剪缺口的宽度为3mm。 
 作为优选,轮胎螺栓的表面设有喷砂层。 
 因此,本实用新型的用于汽车的高抗扭轮胎螺栓,结构紧凑,提升安全性,提升使用性能和使用寿命。 
附图说明
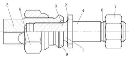
图1是本实用新型的结构示意图。 
具体实施方式
下面通过实施例,并结合附图,对本实用新型的技术方案作进一步具体的说明。 
 实施例1:如图1所示,一种用于汽车的高抗扭轮胎螺栓,包括螺栓体1,所述的螺栓体1的中端设有与之相一体化的挡接突圈2,所述的螺栓体1的左端设有与之相一体化的左装配杆3,所述的螺栓体1的右端设有与之相一体化的右装配杆4,所述的左装配杆3中设有与之相螺接的杯形螺母5,所述的杯形螺母5外套有与之相螺接的球面大螺母6,所述的右装配杆4上套有与之相螺接的小螺母7,所述的右装配杆4上设有扭剪缺口8。所述的左装配杆3与挡接突圈2间通过圆弧相过渡连接,所述的右装配杆4与挡接突圈2间通过直角相过渡连接,所述的扭剪缺口8设在小螺母7的左侧,所述的杯形螺母5的尾部设有配接挡块9。所述的左装配杆3的直径小于右装配杆4的直径,所述的右装配杆4的直径为22mm,所述的左装配杆3的长度为37mm,所述的左装配杆3的长度小于杯形螺母5的长度,所述的螺栓体1的长度为100mm,所述的扭剪缺口8的宽度为3mm。轮胎螺栓的表面设有喷砂层。 

Claims (4)

1.一种用于汽车的高抗扭轮胎螺栓,其特征在于:包括螺栓体(1),所述的螺栓体(1)的中端设有与之相一体化的挡接突圈(2),所述的螺栓体(1)的左端设有与之相一体化的左装配杆(3),所述的螺栓体(1)的右端设有与之相一体化的右装配杆(4),所述的左装配杆(3)中设有与之相螺接的杯形螺母(5),所述的杯形螺母(5)外套有与之相螺接的球面大螺母(6),所述的右装配杆(4)上套有与之相螺接的小螺母(7),所述的右装配杆(4)上设有扭剪缺口(8)。
2.根据权利要求1所述的用于汽车的高抗扭轮胎螺栓,其特征在于:所述的左装配杆(3)与挡接突圈(2)间通过圆弧相过渡连接,所述的右装配杆(4)与挡接突圈(2)间通过直角相过渡连接,所述的扭剪缺口(8)设在小螺母(7)的左侧,所述的杯形螺母(5)的尾部设有配接挡块(9)。
3.根据权利要求1或2所述的用于汽车的高抗扭轮胎螺栓,其特征在于:所述的左装配杆(3)的直径小于右装配杆(4)的直径,所述的右装配杆(4)的直径为22mm,所述的左装配杆(3)的长度为37mm,所述的左装配杆(3)的长度小于杯形螺母(5)的长度,所述的螺栓体(1)的长度为100mm,所述的扭剪缺口(8)的宽度为3mm。
4.根据权利要求1或2所述的用于汽车的高抗扭轮胎螺栓,其特征在于:轮胎螺栓的表面设有喷砂层。
CN 201320407592 2013-07-10 2013-07-10 用于汽车的高抗扭轮胎螺栓 Expired - Fee Related CN203362770U (zh)

Priority Applications (1)

Application Number Priority Date Filing Date Title
CN 201320407592 CN203362770U (zh) 2013-07-10 2013-07-10 用于汽车的高抗扭轮胎螺栓

Applications Claiming Priority (1)

Application Number Priority Date Filing Date Title
CN 201320407592 CN203362770U (zh) 2013-07-10 2013-07-10 用于汽车的高抗扭轮胎螺栓

Publications (1)

Publication Number Publication Date
CN203362770U true CN203362770U (zh) 2013-12-25

Family

ID=49810543

Family Applications (1)

Application Number Title Priority Date Filing Date
CN 201320407592 Expired - Fee Related CN203362770U (zh) 2013-07-10 2013-07-10 用于汽车的高抗扭轮胎螺栓

Country Status (1)

Country Link
CN (1) CN203362770U (zh)

Cited By (1)

* Cited by examiner, † Cited by third party
Publication number Priority date Publication date Assignee Title
CN108580790A (zh) * 2018-04-12 2018-09-28 东风汽车紧固件有限公司 一种汽车车轮杯形螺母多工位冷镦方法及其模具

Cited By (1)

* Cited by examiner, † Cited by third party
Publication number Priority date Publication date Assignee Title
CN108580790A (zh) * 2018-04-12 2018-09-28 东风汽车紧固件有限公司 一种汽车车轮杯形螺母多工位冷镦方法及其模具

Similar Documents

Publication Publication Date Title
CN203739561U (zh) 一种防旋转拖车臂
CN203362770U (zh) 用于汽车的高抗扭轮胎螺栓
CN203477020U (zh) 一种用于防松汽车螺栓的指示圈
CN203362772U (zh) 用于汽车的可调式轮胎螺栓
CN201615127U (zh) 带锁紧螺母组件的轮胎螺栓
CN203362777U (zh) 用于汽车的高适配性轮胎螺栓
CN203362776U (zh) 用于汽车的快装型轮胎螺栓
CN203362774U (zh) 用于汽车的高强度轮胎螺栓
CN203362778U (zh) 用于汽车的高耐腐蚀轮胎螺栓
CN203362773U (zh) 用于汽车的超强刚度轮胎螺栓
CN203362781U (zh) 用于汽车的高装配精度轮胎螺栓
CN203476997U (zh) 双头高强度保护型汽车螺栓
CN203362769U (zh) 用于汽车的超长轮胎螺栓
CN201866393U (zh) 用于阀体的防滑手轮
CN203239730U (zh) 汽车轮胎螺帽
CN203637448U (zh) 一种加强防滑螺栓孔铝合金轮毂
CN203023222U (zh) 一种组合式轮胎螺栓
CN203362775U (zh) 用于汽车的高耐磨轮胎螺栓
CN207715517U (zh) 一种高强度轮毂螺栓
CN102878186A (zh) 轮胎螺栓螺母锁紧结构
CN202718498U (zh) 新型舱盖锁紧装置
CN202896200U (zh) 一种集千斤顶为一体的省力换胎装置
CN202188003U (zh) 轮胎螺栓螺母锁紧结构
CN203477013U (zh) 一种防松汽车螺栓
CN204551314U (zh) 一种警示桩

Legal Events

Date Code Title Description
C14 Grant of patent or utility model
GR01 Patent grant
CF01 Termination of patent right due to non-payment of annual fee

Granted publication date: 20131225

Termination date: 20140710

EXPY Termination of patent right or utility model