CN203356971U - 一种连接器装配压片的装置 - Google Patents

一种连接器装配压片的装置 Download PDF

Info

Publication number
CN203356971U
CN203356971U CN 201320300356 CN201320300356U CN203356971U CN 203356971 U CN203356971 U CN 203356971U CN 201320300356 CN201320300356 CN 201320300356 CN 201320300356 U CN201320300356 U CN 201320300356U CN 203356971 U CN203356971 U CN 203356971U
Authority
CN
China
Prior art keywords
cylinder
guide rail
compressing tablet
connector assembling
connector
Prior art date
Legal status (The legal status is an assumption and is not a legal conclusion. Google has not performed a legal analysis and makes no representation as to the accuracy of the status listed.)
Expired - Fee Related
Application number
CN 201320300356
Other languages
English (en)
Inventor
刘安圣
王海波
夏广华
Current Assignee (The listed assignees may be inaccurate. Google has not performed a legal analysis and makes no representation or warranty as to the accuracy of the list.)
Jinan No10 Radio Factory Co Ltd
Original Assignee
Jinan No10 Radio Factory Co Ltd
Priority date (The priority date is an assumption and is not a legal conclusion. Google has not performed a legal analysis and makes no representation as to the accuracy of the date listed.)
Filing date
Publication date
Application filed by Jinan No10 Radio Factory Co Ltd filed Critical Jinan No10 Radio Factory Co Ltd
Priority to CN 201320300356 priority Critical patent/CN203356971U/zh
Application granted granted Critical
Publication of CN203356971U publication Critical patent/CN203356971U/zh
Anticipated expiration legal-status Critical
Expired - Fee Related legal-status Critical Current

Links

Images

Landscapes

  • Automatic Assembly (AREA)

Abstract

本实用新型公开了一种连接器装配压片的装置,包括两个送料装置,送料装置内分别设置有导轨,导轨固定在工作台上,工作台上还设置有相配合连接的横推装置、给进装置和滑台总成,滑台总成的一侧设置有伺服电机,导轨上部设置有倾斜度,导轨下部设置有气管,横推装置包括第四气缸与第五气缸,第四气缸与第五气缸分别设置在横推平台上,给进装置包括在不同平面上的第一气缸、第二气缸和第三气缸,第二气缸与插片压入总成相连。采用PLC控制器控制各个部件,可靠性及灵敏度高,服电机驱动X轴移动,定位精确,移动速度快,气缸往返送件,效率高,气缸与位置传感器相连,定位准确,各个动作协调且互不干涉。

Description

一种连接器装配压片的装置
技术领域
本实用新型涉及到一种装片机,尤其涉及一种连接器装配压片的装置。
背景技术
目前,大多连接器装配压片的输送及组装都是靠人工完成,效率较低,劳动强度大,工时成本较高,为降低工人劳动强度,降低产品成本,提高产品竞争力,进行本实用新型。
实用新型内容
为了解决现有技术存在的不足,本实用新型具体公开了一种连接器装配压片的装置,该连接器装配压片的装置由PLC控制器控制各个部件的动作,伺服电机驱动X轴移动,定位精确,移动速度快。
为实现上述目的,本实用新型采用下述技术方案:
一种连接器装配压片的装置,包括两个送料装置,送料装置内分别设置有导轨,导轨固定在工作台上,工作台上还设置有相配合连接的横推装置、给进装置和滑台总成,滑台总成的一侧设置有伺服电机。
所述导轨的上部设有调节装置,导轨内侧设有槽,导轨外侧向下倾斜,导轨的结构由窄变宽又变窄,导轨下部设置有气管;
所述调节装置为设置在导轨内侧的弯钩。
所述横推装置包括第四气缸与第五气缸,第四气缸与第五气缸分别设置在横推平台上。
所述给进装置包括在不同平面上的第一气缸、第二气缸和第三气缸,第二气缸与插片压入总成相连。
所述滑台总成上还设置有夹具总成。
所述第一气缸、第二气缸、第三气缸、第四气缸和第五气缸分别设置有位置检测装置。
所述位置检测装置为位置传感器。
所述送料装置包括短片振动盘及长片振动盘,短片振动盘及长片振动盘的结构为螺旋状结构。
所述工作台上还设置有操作面板,工作台与支撑架相连,支撑架的底部支脚及万向轮,支撑架的内部还设置有电气控制器、气动控制器及控制箱,支撑架上还设置有气源处理器。
所述控制箱的控制器为PLC控制器。
使用时,将长片与短片分别放置在长片振动盘与短片振动盘,做好准备工作后,长片振动盘与短片振动盘持续振动,长片与短片在导轨上传输,当长片与短片到达各自的调节装置时,长片与短片的重心在下部,导轨内侧的弯钩拨动长片与短片,符合要求的顺导轨继续传输,不符合的杂质将漏在导轨的槽内,当长片与短片因为导轨上部有倾斜度,这样就能将长片与短片的方向调整为所需的方向,到达导轨的下部时,导轨上的气管将长片与短片吹到所需的位置,此时,第四气缸、第三气缸和第五气缸、第一气缸分别将短片及长片送到工作位置,第二气缸带动插片压入总成将短片及长片压入放在夹具总成的夹具中的工件中,完成一个工作循环,然后伺服电机推动滑台总成移动,准备下一个工作循环。
一种连接器装配压片的装置的使用方法,具体步骤为:
步骤一,将长片与短片分别放置在长片振动盘与短片振动盘,开启长片振动盘与短片振动盘的控制开关,长片与短片顺导轨自动排序导入;
步骤二,按下工作台回原点按钮,工作台回原点状态,将工件放入夹具总成的夹具中;
步骤三,按下启动按钮,工件自动到工作位置,第一气缸、第五气缸将长片送入工作位置,第三气缸、第四气缸将短片送入工作位置,第二气缸将长片与短片同时压入工件中,完成一个工作循环;
步骤四,伺服电机推动滑台总成移动,滑台总成的滑台移动,工件自动跳步,送片、压片动作循环,直至产品组装完成;
步骤五,取出装完的工件放入周转箱,放入先一个工件,按下启动按钮,开始新的组装,此时,不再需要回原点操作。
本实用新型的有益效果:
采用PLC控制器控制各个部件,可靠性及灵敏度高,服电机驱动滑台总成横向移动,定位精确,移动速度快,气缸往返送件,效率高,气缸与位置传感器相连,定位准确,各个动作协调且互不干涉。
附图说明
图1连接器装配压片的装置的正视图;
图2连接器装配压片的装置的左视图;
图3连接器装配压片的装置的局部放大图;
图4导轨放大图;
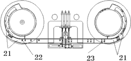
图中,1支撑架、2支脚、3万向轮、4滑台总成、5工作台、6伺服电机、7短片振动盘、8操作面板、9长片振动盘、10电气控制器、11气动控制器、12气源处理器、13插片压入总成、14夹具总成、15控制箱、16第一气缸、17第二气缸、18第三气缸、19第四气缸、20第五气缸、21导轨、22短片、23长片。
具体实施方式
下面结合附图和实施例对本实用新型进一步说明:
如图1-4所示,一种连接器装配压片的装置,包括两个送料装置,送料装置内分别设置有导轨21,导轨21固定在工作台5上,工作台5上还设置有相配合连接的横推装置、给进装置和滑台总成4,滑台总成4的一侧设置有伺服电机6。
所述导轨21的上部设有调节装置,导轨21内侧设有槽,导轨21外侧向下倾斜,导轨21的结构由窄变宽又变窄,导轨21下部设置有气管;
所述横推装置包括第四气缸19与第五气缸20,第四气缸19与第五气缸20分别设置在横推平台上。
所述给进装置包括在不同平面上的第一气缸16、第二气缸17和第三气缸18,第二气缸17与插片压入总成13相连。
所述滑台总成4上还设置有夹具总成14。
所述第一气缸16、第二气缸17、第三气缸18、第四气缸19和第五气缸20分别设置有位置检测装置。
所述位置检测装置为位置传感器。
所述送料装置包括短片振动盘7及长片振动盘9。
所述工作台5上还设置有操作面板8,工作台5与支撑架1相连,支撑架1的底部支脚2及万向轮3,支撑架1的内部还设置有电气控制器10、气动控制器11及控制箱15,支撑架1上还设置有气源处理器12。
所述控制箱15的控制器为PLC控制器。
使用时,将长片23与短片22分别放置在长片振动盘9与短片振动盘7,做好准备工作后,长片振动盘9与短片振动盘7持续振动,长片23与短片22在导轨21上传输,因为导轨21上部有倾斜度,这样就能将长片23与短片22的方向调整为所需的方向,当长片23与短片22到达导轨21的下部时,导轨21上的气管将长片23与短片22吹到所需的位置,此时,第四气缸19、第三气缸18和第五气缸20、第一气缸16分别将短片22及长片23送到工作位置,第二气缸17带动插片压入总成13将短片22及长片23压入放在夹具总成14的夹具中的工件中,完成一个工作循环,然后伺服电机6推动滑台总成4的滑台移动,工件自动跳步,送片、压片动作循环,直至产品组装完成,取出装完的工件放入周转箱,放入另一个工件,按下启动按钮,开始新的组装,此时,不再需要回原点操作。

Claims (9)

1.一种连接器装配压片的装置,其特征是,包括两个送料装置,送料装置内分别设置有导轨,导轨固定在工作台上,工作台上还设置有相配合连接的横推装置、给进装置和滑台总成,滑台总成的一侧设置有伺服电机。
2.如权利要求1所述的一种连接器装配压片的装置,其特征是,所述导轨的上部设有调节装置,导轨内侧设有槽,导轨外侧向下倾斜,导轨的结构由窄变宽又变窄,导轨下部设置有气管;
所述调节装置为设置在导轨内侧的弯钩。
3.如权利要求1所述的一种连接器装配压片的装置,其特征是,所述横推装置包括第四气缸与第五气缸,第四气缸与第五气缸分别设置在横推平台上。
4.如权利要求1所述的一种连接器装配压片的装置,其特征是,所述给进装置包括在不同平面上的第一气缸、第二气缸和第三气缸,第二气缸与插片压入总成相连。
5.如权利要求1所述的一种连接器装配压片的装置,其特征是,所述滑台总成上还设置有夹具总成。
6.如权利要求3或4所述的一种连接器装配压片的装置,其特征是,所述第一气缸、第二气缸、第三气缸、第四气缸和第五气缸分别设置有位置检测装置;
所述位置检测装置为位置传感器。
7.如权利要求1所述的一种连接器装配压片的装置,其特征是,所述送料装置包括短片振动盘及长片振动盘。
8.如权利要求1所述的一种连接器装配压片的装置,其特征是,所述工作台上还设置有操作面板,工作台与支撑架相连,支撑架的底部支脚及万向轮,支撑架的内部还设置有电气控制器、气动控制器及控制箱,支撑架上还设置有气源处理器。
9.如权利要求8所述的一种连接器装配压片的装置,其特征是,所述控制箱的控制器为PLC控制器。
CN 201320300356 2013-05-28 2013-05-28 一种连接器装配压片的装置 Expired - Fee Related CN203356971U (zh)

Priority Applications (1)

Application Number Priority Date Filing Date Title
CN 201320300356 CN203356971U (zh) 2013-05-28 2013-05-28 一种连接器装配压片的装置

Applications Claiming Priority (1)

Application Number Priority Date Filing Date Title
CN 201320300356 CN203356971U (zh) 2013-05-28 2013-05-28 一种连接器装配压片的装置

Publications (1)

Publication Number Publication Date
CN203356971U true CN203356971U (zh) 2013-12-25

Family

ID=49804792

Family Applications (1)

Application Number Title Priority Date Filing Date
CN 201320300356 Expired - Fee Related CN203356971U (zh) 2013-05-28 2013-05-28 一种连接器装配压片的装置

Country Status (1)

Country Link
CN (1) CN203356971U (zh)

Cited By (2)

* Cited by examiner, † Cited by third party
Publication number Priority date Publication date Assignee Title
CN103240584A (zh) * 2013-05-28 2013-08-14 济南无线电十厂有限责任公司 一种连接器装配压片的装置及方法
CN107263059A (zh) * 2017-07-10 2017-10-20 南通创源电化学科技有限公司 一种汽车制动刹车用自动胶塞系统

Cited By (3)

* Cited by examiner, † Cited by third party
Publication number Priority date Publication date Assignee Title
CN103240584A (zh) * 2013-05-28 2013-08-14 济南无线电十厂有限责任公司 一种连接器装配压片的装置及方法
CN103240584B (zh) * 2013-05-28 2015-07-08 济南无线电十厂有限责任公司 一种连接器装配压片的装置及方法
CN107263059A (zh) * 2017-07-10 2017-10-20 南通创源电化学科技有限公司 一种汽车制动刹车用自动胶塞系统

Similar Documents

Publication Publication Date Title
CN204222510U (zh) 一种自动上下料的精雕机
CN202010760U (zh) 自动铆接机
CN107363509B (zh) 压缩机转子装配系统及装配方法
CN108127391B (zh) 一种电子驻车制动器芯轴组装装配方法
CN202704503U (zh) 多功能翻转装置
CN203279180U (zh) 一种喇叭注胶装置
CN203266055U (zh) 自动化双工位机台
CN103737288A (zh) 一种螺栓压装装置
CN105438829A (zh) 一种自动上下料装置
CN103240584B (zh) 一种连接器装配压片的装置及方法
CN105436277B (zh) 冲床生产线自动控制装置
CN204545673U (zh) 车门防撞杆自动化焊接工作站
CN205021108U (zh) 冷凝器弹性螺帽安装机
CN203578458U (zh) 挂车桥自动数字校直机
CN205167378U (zh) 一种注塑成型供料、压进胶点及整形一体结合设备
CN203728189U (zh) 玻璃生产流水线中的输送装置
CN203356971U (zh) 一种连接器装配压片的装置
CN207479920U (zh) 定位机构
CN207611957U (zh) 一种血糖仪连接器全自动组装机
CN207736437U (zh) 数控侧孔机
CN105081733A (zh) 一种铆钉压合流水线
CN205271354U (zh) 一种轴承压合装置
CN206393192U (zh) 监控盒铜镶件和平衡块自动化装配机
CN202762945U (zh) 多位自动铆接架
CN105081115B (zh) 一种自动装配收铆机

Legal Events

Date Code Title Description
C14 Grant of patent or utility model
GR01 Patent grant
C17 Cessation of patent right
CF01 Termination of patent right due to non-payment of annual fee

Granted publication date: 20131225

Termination date: 20140528