CN203345625U - 一种注塑机产品出料主输送机构 - Google Patents
一种注塑机产品出料主输送机构 Download PDFInfo
- Publication number
- CN203345625U CN203345625U CN 201320331942 CN201320331942U CN203345625U CN 203345625 U CN203345625 U CN 203345625U CN 201320331942 CN201320331942 CN 201320331942 CN 201320331942 U CN201320331942 U CN 201320331942U CN 203345625 U CN203345625 U CN 203345625U
- Authority
- CN
- China
- Prior art keywords
- jacking
- main
- injection molding
- molding machine
- master rotor
- Prior art date
- Legal status (The legal status is an assumption and is not a legal conclusion. Google has not performed a legal analysis and makes no representation as to the accuracy of the status listed.)
- Expired - Fee Related
Links
- 238000001746 injection moulding Methods 0.000 title claims abstract description 13
- 230000001360 synchronised effect Effects 0.000 claims abstract description 14
- 230000006698 induction Effects 0.000 claims description 9
- 238000007599 discharging Methods 0.000 claims description 8
- 238000004519 manufacturing process Methods 0.000 abstract description 5
- 230000005540 biological transmission Effects 0.000 abstract description 4
- 230000001939 inductive effect Effects 0.000 abstract 2
- 238000012856 packing Methods 0.000 description 3
- 238000001514 detection method Methods 0.000 description 1
- 238000005516 engineering process Methods 0.000 description 1
- 238000002347 injection Methods 0.000 description 1
- 239000007924 injection Substances 0.000 description 1
- 230000005693 optoelectronics Effects 0.000 description 1
- 239000000243 solution Substances 0.000 description 1
- 239000002699 waste material Substances 0.000 description 1
Images
Landscapes
- Injection Moulding Of Plastics Or The Like (AREA)
Abstract
一种注塑机产品出料主输送机构,包括主滚筒线和主滚筒线内的顶升移载台,所述主滚筒线包括主立柱和主立柱上水平设置的主支架,主支架之间设有主滚筒,主滚筒下方设有顶升移载台;所述顶升移载台包括顶升底座和顶升底座上的顶升支柱,顶升支柱顶端通过连接架安装有传动电机和传动轮,传动轮上设有同步皮带,同步皮带与主滚筒之间的间隙相对应;主支架上设有主光电感应开关,主光电感应开关与传动电机电连接。本实用新型结构合理,便于实施,成本低廉,操作简便,自动化程度高,省时省力,可大大提高生产效率。
Description
技术领域
本实用新型属于注塑产品输送设备技术领域,特别涉及一种注塑机产品出料主输送机构。
背景技术
在注塑产品生产领域,当注塑产品在注塑机中完成后,注塑产品需要经工人人工检验,检验后并需要再经过人工搬运至输送线上。由于产品输送线过于简单、功能单一,导致生产过程自动化程度低,工人劳动强度大、费时费力,且工作效率低下,不能满足产品高速生产的要求,严重制约了注塑生产效率的提高。
实用新型内容
本实用新型的目的是提供一种结构合理、操作简便和自动化程度高的注塑机产品出料主输送机构。
为实现上述目的,本实用新型的技术方案是:一种注塑机产品出料主输送机构,包括主滚筒线和主滚筒线内的顶升移载台,所述主滚筒线包括主立柱和主立柱上水平设置的主支架,主支架之间设有主滚筒,主滚筒下方设有顶升移载台;所述顶升移载台包括顶升底座和顶升底座上的顶升支柱,顶升支柱顶端通过连接架安装有传动电机和传动轮,传动轮上设有同步皮带,同步皮带与主滚筒之间的间隙相对应;主支架上设有主光电感应开关,主光电感应开关与传动电机电连接。
所述主立柱下端设有可调地脚。
所述传动电机上方设有与同步皮带相接的张紧轮。
与现有技术相比,本实用新型的优点是:
1、本实用新型包括主滚筒线和主滚筒线内的顶升移载台,所述主滚筒线包括主立柱和主立柱上水平设置的主支架,主支架之间设有主滚筒,主滚筒下方设有顶升移载台;所述顶升移载台包括顶升底座和顶升底座上的顶升支柱,顶升支柱顶端通过连接架安装有传动电机和传动轮,传动轮上设有同步皮带,同步皮带与主滚筒之间的间隙相对应;主支架上设有主光电感应开关,主光电感应开关与传动电机电连接,其结构合理,便于实施,成本低廉,操作简便,自动化程度高,省时省力,可大大提高生产效率。
2、在传动电机上方设有与同步皮带相接的张紧轮,可保证传动强度,且便于调节。
附图说明
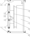
图1是本实用新型的结构示意图;
图2是图1的俯视图。
具体实施方式
如图1和图2所示的注塑机产品出料主输送机构,其包括主滚筒线和主滚筒线内的顶升移载台,所述的主滚筒线包括主立柱1和主立柱1上水平设置的主支架2,在主立柱1下端设有可调地脚4,在主支架2之间间隔设有主滚筒3,主滚筒3下方设有顶升移载台。
顶升移载台包括顶升底座5和顶升底座5上的顶升支柱6,顶升支柱6可自由升降,在顶升支柱6的顶端通过连接架7安装有传动电机8和传动轮10,传动轮10上设有同步皮带11,同步皮带11与主滚筒3之间的间隙相对应。
在右侧的主支架2上设有主光电感应开关12,主光电感应开关12与传动电机8电连接。为了保证传动强度,在传动电机8上方设有与同步皮带11相接的张紧轮9。
在本实施方式中,主滚筒3宽度为1.2m,主支架1的长度为48m,主立柱1的高度为0.72m,主支架1一侧或者两侧等间距设置有多条支滚筒线,主支架1内部设有与支滚筒线对应的顶升移载台。
本实用新型还设有控制系统,即全线PLC控制主滚筒线和顶升移载台动作,光电检测及行程开关获取信号,顶升移载台的动作与注塑机台一侧的机械手联动,打包机光电感应包装箱自动打包,打包机可设定打包次数及打包距离;在输送系统的重要位置还可以设置紧急停止开关以及故障时自动报警。
Claims (3)
1.一种注塑机产品出料主输送机构,其特征在于:包括主滚筒线和主滚筒线内的顶升移载台,所述主滚筒线包括主立柱和主立柱上水平设置的主支架,主支架之间设有主滚筒,主滚筒下方设有顶升移载台;所述顶升移载台包括顶升底座和顶升底座上的顶升支柱,顶升支柱顶端通过连接架安装有传动电机和传动轮,传动轮上设有同步皮带,同步皮带与主滚筒之间的间隙相对应;主支架上设有主光电感应开关,主光电感应开关与传动电机电连接。
2.如权利要求1所述的注塑机产品出料主输送机构,其特征在于:所述主立柱下端设有可调地脚。
3.如权利要求1或2所述的注塑机产品出料主输送机构,其特征在于:所述传动电机上方设有与同步皮带相接的张紧轮。
Priority Applications (1)
| Application Number | Priority Date | Filing Date | Title |
|---|---|---|---|
| CN 201320331942 CN203345625U (zh) | 2013-06-09 | 2013-06-09 | 一种注塑机产品出料主输送机构 |
Applications Claiming Priority (1)
| Application Number | Priority Date | Filing Date | Title |
|---|---|---|---|
| CN 201320331942 CN203345625U (zh) | 2013-06-09 | 2013-06-09 | 一种注塑机产品出料主输送机构 |
Publications (1)
| Publication Number | Publication Date |
|---|---|
| CN203345625U true CN203345625U (zh) | 2013-12-18 |
Family
ID=49745550
Family Applications (1)
| Application Number | Title | Priority Date | Filing Date |
|---|---|---|---|
| CN 201320331942 Expired - Fee Related CN203345625U (zh) | 2013-06-09 | 2013-06-09 | 一种注塑机产品出料主输送机构 |
Country Status (1)
| Country | Link |
|---|---|
| CN (1) | CN203345625U (zh) |
Cited By (1)
| Publication number | Priority date | Publication date | Assignee | Title |
|---|---|---|---|---|
| CN107697539A (zh) * | 2017-11-06 | 2018-02-16 | 黄石市华天自动化设备有限公司 | 一种移载机 |
-
2013
- 2013-06-09 CN CN 201320331942 patent/CN203345625U/zh not_active Expired - Fee Related
Cited By (1)
| Publication number | Priority date | Publication date | Assignee | Title |
|---|---|---|---|---|
| CN107697539A (zh) * | 2017-11-06 | 2018-02-16 | 黄石市华天自动化设备有限公司 | 一种移载机 |
Similar Documents
| Publication | Publication Date | Title |
|---|---|---|
| CN203345700U (zh) | 一种注塑机产品出料输送系统 | |
| CN203667579U (zh) | 一种平移及翻转复合下料机械手 | |
| CN206013152U (zh) | 一种药品装箱用自动封箱装置 | |
| CN204354368U (zh) | 平板硫化机进料系统 | |
| CN104128528A (zh) | 汽车压合模自动化传输机构 | |
| CN203486448U (zh) | 双通道可调速自动喷码流水线 | |
| CN203345663U (zh) | 一种注塑机生产系统 | |
| CN203921873U (zh) | 一种伸缩皮带机 | |
| CN203124591U (zh) | 上料机械手 | |
| CN203345625U (zh) | 一种注塑机产品出料主输送机构 | |
| CN202657616U (zh) | 钢管自动上料推进装置 | |
| CN206552666U (zh) | 一种保温板用加工输送线 | |
| CN203622852U (zh) | 注塑机机械手装置 | |
| CN203667463U (zh) | 高效装配生产线 | |
| CN204957307U (zh) | V型输送机 | |
| CN203306987U (zh) | 一种端头顶升台 | |
| CN203526392U (zh) | 一种立式轮辐旋压机卸料装置 | |
| CN202988069U (zh) | 一种可伸缩式皮带输送机 | |
| CN105128909A (zh) | 一种平板式自动窑车 | |
| CN204137896U (zh) | 建筑用免烧砌块砖坯的新型转运机 | |
| CN203624376U (zh) | 一种磁力输送装置 | |
| CN102874714A (zh) | 一种特轻式气动垂直升降机 | |
| CN203048497U (zh) | 一种小型气动垂直升降机 | |
| CN102897505A (zh) | 一种固定式单叉液压升降输送机 | |
| CN202924339U (zh) | 分瓶机止瓶装置 |
Legal Events
| Date | Code | Title | Description |
|---|---|---|---|
| C14 | Grant of patent or utility model | ||
| GR01 | Patent grant | ||
| CF01 | Termination of patent right due to non-payment of annual fee |
Granted publication date: 20131218 Termination date: 20160609 |
|
| CF01 | Termination of patent right due to non-payment of annual fee |