CN203344150U - Air press - Google Patents
Air press Download PDFInfo
- Publication number
- CN203344150U CN203344150U CN 201320411959 CN201320411959U CN203344150U CN 203344150 U CN203344150 U CN 203344150U CN 201320411959 CN201320411959 CN 201320411959 CN 201320411959 U CN201320411959 U CN 201320411959U CN 203344150 U CN203344150 U CN 203344150U
- Authority
- CN
- China
- Prior art keywords
- table face
- upper table
- pneumatic cylinder
- air press
- air
- Prior art date
- Legal status (The legal status is an assumption and is not a legal conclusion. Google has not performed a legal analysis and makes no representation as to the accuracy of the status listed.)
- Expired - Fee Related
Links
- 239000011449 brick Substances 0.000 description 5
- 238000005516 engineering process Methods 0.000 description 3
- 239000000654 additive Substances 0.000 description 1
- 230000000996 additive effect Effects 0.000 description 1
- 230000009286 beneficial effect Effects 0.000 description 1
- 238000005336 cracking Methods 0.000 description 1
- 230000007812 deficiency Effects 0.000 description 1
- 230000000694 effects Effects 0.000 description 1
- 238000005265 energy consumption Methods 0.000 description 1
- 238000000034 method Methods 0.000 description 1
Images
Landscapes
- Moulds, Cores, Or Mandrels (AREA)
Abstract
An air press comprises a rack, a work surface is arranged on the rack, a die lower cavity is formed in the working surface, an upper working surface capable of moving up and down along a sliding column is arranged right above the die lower cavity, a die upper cavity corresponding to the die lower cavity is formed in the upper working surface, the top of the upper working surface is connected with a pressure unit which is a pneumatic cylinder, a piston rod of the pneumatic cylinder is connected with the top of the upper working surface, and a pipe of the pneumatic cylinder is connected with an air compressor. According to the air press, the pressure stability and working efficiency are improved greatly, and the product quality is improved.
Description
Technical field
The utility model relates to a kind of refractory brick making and uses forcing press, relates in particular to the air press that a kind of automaticity is high.
Background technology
Produce refractory brick and generally adopt the forcing press more than 400 tons, mostly the forcing press of prior art is to adopt Artificial Control pressure big or small and the work top lifting distance, not only to expend a large amount of manpowers, and efficiency is lower, the abrasive brick of producing, because pressure and thickness are difficult to ensure, causes the product cracking, refractory brick unit weight differs, variable thickness causes, and has affected the quality of refractory brick, haves much room for improvement.
Summary of the invention
The utility model, for the deficiencies in the prior art, provides a kind of automaticity high, the air press of effectively improving the quality of products.
Key problem in technology of the present utility model is to set up the air compressing pipeline when utilizing hydraulic means, by compressed air controlled pressure size, its concrete technical scheme is: air press, comprise frame, be provided with work top on frame, be provided with the lower impressions of mould on work top, be provided with the upper table face that can move along the slip column up-down over against mould lower impressions top, the upper table face is provided with the mould upper impression corresponding with the mould lower impressions, described upper table face top Bonding pressure device, it is characterized in that described pressure apparatus is pneumatic cylinder, pneumatic cylinder piston rod connects upper table face top, pneumatic cylinder is separately established a pipeline and is connected air compressor.
As preferably, on described frame, be provided with electric control cabinet.
As preferably, air compressor is piston type air compressor.
As preferably, described slip column is set to symmetrical two, and the described upper table face left and right sides is socketed on the slip column.By this kind of setting, make pressure more balanced.
As preferably, the height of described slip column is 80cm.Can effectively improve the compacting quality by this kind of setting, this is highly preferred heights, and the too high or too low energy consumption that all can cause increases or insufficient pressure.
The beneficial effects of the utility model: the utility model has greatly improved the stability of pressure and has improved operating efficiency, has promoted product quality.
The accompanying drawing explanation
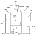
Fig. 1 is structural representation of the present utility model.
The specific embodiment
Air press, comprise frame 001, be provided with work top 002 on frame 001, be provided with the lower impressions 003 of mould on work top 002, over against mould lower impressions 003 top, being provided with can be along the upper table face 005 of slip column 004 lifting moving, upper table face 005 is provided with the mould upper impression 006 corresponding with mould lower impressions 003, described upper table face 005 top Bonding pressure device 007, described pressure apparatus 007 is pneumatic cylinder, pneumatic cylinder piston rod 008 connects upper table face 005 top, pneumatic cylinder is separately established a pipeline 009 and is connected air compressor 010.Be provided with electric control cabinet 011 on described frame 001.Air compressor 010 is piston type air compressor.Described slip column 004 is set to symmetrical two, and described upper table face 005 left and right sides is socketed on slip column 004.The height of described slip column 004 is 80cm.
To those skilled in the art; under this patent design and specific embodiment enlightenment; some distortion that can directly derive or associate from this patent disclosure and general knowledge; those of ordinary skills will recognize also can adopt additive method; or the substituting of known technology commonly used in prior art; and the mutual various combination between feature; etc. unsubstantiality change; can be employed equally; can realize this patent representation function and effect; launch for example no longer one by one to describe in detail, all belong to this patent protection domain.
Claims (5)
1. air press, comprise frame, be provided with work top on frame, be provided with the lower impressions of mould on work top, over against mould lower impressions top, be provided with the upper table face that can move along the slip column up-down, the upper table face is provided with the mould upper impression corresponding with the mould lower impressions, described upper table face top Bonding pressure device, it is characterized in that described pressure apparatus is pneumatic cylinder, pneumatic cylinder piston rod connects upper table face top, and pneumatic cylinder is separately established a pipeline and connected air compressor.
2. air press according to claim 1, is characterized in that being provided with electric control cabinet on described frame.
3. air press according to claim 1, is characterized in that air compressor is piston type air compressor.
4. air press according to claim 1, is characterized in that described slip column is set to symmetrical two, and the described upper table face left and right sides is socketed on the slip column.
5. air press according to claim 1, the height that it is characterized in that described slip column is 80cm.
Priority Applications (1)
| Application Number | Priority Date | Filing Date | Title |
|---|---|---|---|
| CN 201320411959 CN203344150U (en) | 2013-07-11 | 2013-07-11 | Air press |
Applications Claiming Priority (1)
| Application Number | Priority Date | Filing Date | Title |
|---|---|---|---|
| CN 201320411959 CN203344150U (en) | 2013-07-11 | 2013-07-11 | Air press |
Publications (1)
| Publication Number | Publication Date |
|---|---|
| CN203344150U true CN203344150U (en) | 2013-12-18 |
Family
ID=49744082
Family Applications (1)
| Application Number | Title | Priority Date | Filing Date |
|---|---|---|---|
| CN 201320411959 Expired - Fee Related CN203344150U (en) | 2013-07-11 | 2013-07-11 | Air press |
Country Status (1)
| Country | Link |
|---|---|
| CN (1) | CN203344150U (en) |
Cited By (1)
| Publication number | Priority date | Publication date | Assignee | Title |
|---|---|---|---|---|
| CN103341903A (en) * | 2013-07-11 | 2013-10-09 | 宜兴市中环耐火材料有限公司 | Air pressure machine |
-
2013
- 2013-07-11 CN CN 201320411959 patent/CN203344150U/en not_active Expired - Fee Related
Cited By (1)
| Publication number | Priority date | Publication date | Assignee | Title |
|---|---|---|---|---|
| CN103341903A (en) * | 2013-07-11 | 2013-10-09 | 宜兴市中环耐火材料有限公司 | Air pressure machine |
Similar Documents
| Publication | Publication Date | Title |
|---|---|---|
| CN204108097U (en) | Mining pallet one-shot forming hydraulic press | |
| CN207013587U (en) | A kind of adjustable cold stamping drawing die | |
| CN203344150U (en) | Air press | |
| CN205798091U (en) | A kind of mould automatic punching device | |
| CN103341903A (en) | Air pressure machine | |
| CN207914362U (en) | A kind of disposable shaping equipment of S templates part | |
| CN204934524U (en) | A kind of flat fire formula core machine | |
| CN204381148U (en) | Air pressure drives the adjustable aluminium section bar decompressor of stroke | |
| CN203994151U (en) | A kind of double-deck pressing hydraulic machine | |
| CN202741689U (en) | Moulding machine for steel ball sand moulds | |
| CN103568106A (en) | Building block press | |
| CN203945705U (en) | A kind of ridge tiles twin-tub molding press device | |
| CN205253783U (en) | Product correcting unit | |
| CN204736303U (en) | Sidewalk for visually impaired people brick pressure equipment mould | |
| CN103658557A (en) | Molding machine of steel ball sand mould | |
| CN203752399U (en) | Equi-specific-pressure hydraulic press for mold closing and deflation of disc brake pad | |
| CN203109226U (en) | Novel tamping plant | |
| CN207357943U (en) | A kind of U-shaped apparatus for bending | |
| CN204773699U (en) | Semi -automatic brake block briquetting machine | |
| CN204414312U (en) | A kind of brick and tile decorative pattern press | |
| CN205097339U (en) | Steel die stamping roll extrusion pottery one shot forming device | |
| CN103878254A (en) | Semi-circular ring riveting forming mechanism | |
| CN204220865U (en) | A kind of jumping-up pressure handle and steel bar thick machine | |
| CN203449623U (en) | Press machine used for assembling of air bricks | |
| CN203311123U (en) | Plodder for liquid crystal display screen |
Legal Events
| Date | Code | Title | Description |
|---|---|---|---|
| C14 | Grant of patent or utility model | ||
| GR01 | Patent grant | ||
| CF01 | Termination of patent right due to non-payment of annual fee | ||
| CF01 | Termination of patent right due to non-payment of annual fee |
Granted publication date: 20131218 Termination date: 20190711 |