CN203333075U - Automatic wire spool replacing device of H-shaped wheel winding machine - Google Patents
Automatic wire spool replacing device of H-shaped wheel winding machine Download PDFInfo
- Publication number
- CN203333075U CN203333075U CN2013202863533U CN201320286353U CN203333075U CN 203333075 U CN203333075 U CN 203333075U CN 2013202863533 U CN2013202863533 U CN 2013202863533U CN 201320286353 U CN201320286353 U CN 201320286353U CN 203333075 U CN203333075 U CN 203333075U
- Authority
- CN
- China
- Prior art keywords
- wire spool
- wire
- trimming
- spool
- sleeve
- Prior art date
- Legal status (The legal status is an assumption and is not a legal conclusion. Google has not performed a legal analysis and makes no representation as to the accuracy of the status listed.)
- Expired - Fee Related
Links
- 238000004804 winding Methods 0.000 title abstract description 14
- 238000005520 cutting process Methods 0.000 claims abstract description 15
- 238000009966 trimming Methods 0.000 claims description 34
- 230000005540 biological transmission Effects 0.000 claims description 5
- 229910000831 Steel Inorganic materials 0.000 abstract description 16
- 239000010959 steel Substances 0.000 abstract description 16
- 238000004519 manufacturing process Methods 0.000 abstract description 8
- 238000010586 diagram Methods 0.000 description 4
- 238000005096 rolling process Methods 0.000 description 4
- 239000000463 material Substances 0.000 description 3
- 239000000853 adhesive Substances 0.000 description 2
- 230000001070 adhesive effect Effects 0.000 description 2
- 238000007664 blowing Methods 0.000 description 2
- 230000033001 locomotion Effects 0.000 description 2
- 230000009286 beneficial effect Effects 0.000 description 1
- 230000007812 deficiency Effects 0.000 description 1
- 230000000694 effects Effects 0.000 description 1
- 238000005516 engineering process Methods 0.000 description 1
- 238000007373 indentation Methods 0.000 description 1
- 238000000034 method Methods 0.000 description 1
- 238000010008 shearing Methods 0.000 description 1
Images
Landscapes
- Wire Processing (AREA)
Abstract
The utility model discloses an automatic wire spool replacing device of an H-shaped wheel winding machine. The automatic wire spool replacing device of the H-shaped wheel winding machine is characterized by comprising a winding spindle (2). The winding spindle (2) is installed in a hole of a rack (1), is supported by a bearing, and is sleeved with a wire spool (4); a wire clamping mechanism (6) is fixed above the wire spool (4); a wire cutting mechanism (7) is fixed below the wire spool (4); the wire spool (4) is driven by a driving motor (5) through friction or a belt; one side of the wire spool (4) is connected with the winding spindle (2) through an electromagnetic clutch (8), and the other end of the wire spool (4) is connected with a wire spool holder (3) fixed to the rack (2) in a rotating mode. The automatic wire spool replacing device of the H-shaped wheel winding machine effectively achieves automation of wire winding and wire spool replacing, improves production efficiency and reduces labor intensity and production cost because steel wires can be automatically clamped and cut through the wire clamping mechanism and the wire cutting mechanism and can be fixed to an H-shaped wheel.
Description
Technical field
The utility model relates to a kind of automatic Nisc changing device of spool take-up, in the production of carrying out steel wire or other material silk thread, for finished product or semi-finished automatic winding, changes wire winding.
Background technology
In steel wire or the production of other material silk thread, finished product or half-blank adopt spool take-up to carry out rolling and change wire winding, existing spool take-up needs manual operation to realize changing dish when wire winding is changed in rolling, greatly reduce production efficiency, improved artificial labor content, operator one has carelessness may allow whole damp production simultaneously.
Summary of the invention
The purpose of this utility model is to overcome above-mentioned deficiency, and a kind of Nisc changing device simple in structure, full automatic is provided, and has effectively realized that rolling changes the automation of wire winding, improved production efficiency, has reduced labour intensity and productive costs.
The purpose of this utility model is achieved in that a kind of automatic Nisc changing device of spool take-up, it comprises the coiling main shaft, described coiling main shaft is installed in machine frame hole by bearings, on described coiling main shaft, cover has wire spool, be fixed with thread clamping mechanism above described wire spool, below is fixed with thread cutting mechanism, described wire spool passes through friction or band transmission by drive motor, described wire spool one side is connected with the coiling main shaft by magnetic clutch, and the other end is rotationally connected by bearing and the wire spool seat be fixed on frame.
Described thread clamping mechanism comprises fixing gripper sleeve and cylinder, be provided with movably supporting rod in described gripper sleeve, be arranged with spring on the head of described supporting rod, the head of described supporting rod passes gripper sleeve, and be fixedly connected with clamping head with nut, piston rod end at described cylinder is provided with jacking block, and described jacking block matches with the tail end of supporting rod.
Described thread cutting mechanism comprises base plate, cylinder and is fixed in the trimming sleeve on base plate, be provided with movably trimming bar in described trimming sleeve, head at described trimming bar is arranged with spring, the head of described trimming sleeve has the vee that the degree of depth is greater than trimming sleeve radius, piston rod end at described cylinder is provided with jacking block, and tail end and the jacking block of described trimming bar match.
Compared with prior art, the beneficial effects of the utility model are:
The utility model utilizes clamp, thread cutting mechanism to make steel wire can be automatically clamped, cut off, and is fixed on I-beam wheel, has effectively realized that rolling changes the automation of wire winding, improved production efficiency, has reduced labour intensity and productive costs.
The accompanying drawing explanation
Fig. 1 is structural representation of the present utility model.
The structural representation that Fig. 2 is thread clamping mechanism of the present utility model.
The structural representation that Fig. 3 is thread cutting mechanism of the present utility model.
Schematic diagram when Fig. 4 is the utility model I-beam wheel dishful state.
Schematic diagram when Fig. 5 is the utility model clamp, trimming state.
Fig. 6 is the schematic diagram while in the utility model, changing the blank panel state.
Fig. 7 is trimming in the utility model, the schematic diagram while blowing the end of a thread state.
Wherein:
Coiling main shaft 2
Wire spool seat 3
Wire spool 4
Thread cutting mechanism 7
Supporting rod 62
Clamping head 65
Trimming bar 74
Vee 76
The specific embodiment
Referring to Fig. 1, the utility model relates to a kind of automatic Nisc changing device of spool take-up, comprise coiling main shaft 2, described coiling main shaft 2 is installed in frame 1 hole by bearings, on described coiling main shaft 2, cover has wire spool 4, be fixed with thread clamping mechanism 6 above described wire spool 4, below is fixed with thread cutting mechanism 7, described wire spool 4 passes through friction or band transmission by drive motor 5, described wire spool 4 one sides are connected with coiling main shaft 2 by magnetic clutch 8, the other end is rotationally connected by bearing and the wire spool seat 3 be fixed on frame 1, wire spool 4 can be rotated by magnetic clutch 8 adhesives together with coiling main shaft 2, when magnetic clutch 8 is thrown off, the motor 5 that is installed on frame 1 can drive wire spool 4 to rotate separately.
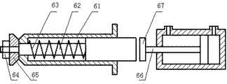
Referring to Fig. 2, described thread clamping mechanism 6 comprises fixing gripper sleeve 61 and cylinder 66, be provided with movably supporting rod 62 in described gripper sleeve 61, described supporting rod 62 is divided into thicker tail end and thinner head, be arranged with spring 63 on the head of described supporting rod 62, the head of described supporting rod 62 passes gripper sleeve 61, and be fixedly connected with clamping head 65 with nut 64, be provided with jacking block 67 in the piston rod end of described cylinder 66, described jacking block 67 contacts and separates with the tail end of supporting rod 62, and clamping head 65 is moved with the movement of supporting rod 62.
Referring to Fig. 3, described thread cutting mechanism comprises base plate 71, cylinder 73 and be fixed in the trimming sleeve 72 on base plate 71, be provided with movably trimming bar 74 in described trimming sleeve 72, described trimming bar 74 is divided into thicker tail end and thinner head, head at described trimming bar 74 is arranged with spring 75, the head of described trimming sleeve 72 has the vee 76 that the degree of depth is greater than trimming sleeve 72 radiuses, the silk thread of steel wire or other material can be placed in vee 76 bottoms, be provided with jacking block 77 in the piston rod end of described cylinder 73, the tail end of described trimming bar 74 and jacking block 77 match, utilize the compressed air-driven cylinder piston rod and drive jacking block and move to the trimming bar, jacking block is contacted with the trimming bar and break away from, when the trimming bar is promoted by jacking block, trimming bar one end and trimming sleeve indentation, there produce the mechanical shearing effect, cut off steel wire.When jacking block and trimming bar break away from, by the reset response of Compress Spring, make the trimming bar other end be limited in base plate.
Its further technical scheme is that wire spool 4 and coiling main shaft 1 are driven by motor separately respectively, can independent rotation, and described wire spool 4 transmits motion by its drive motor 5 by friction or band transmission.
Specific works process of the present invention is as follows: during magnetic clutch 8 disengaged condition, I-beam wheel is rotated and is wound the line with coiling main shaft 2, when I-beam wheel around full steel wire, state as shown in Figure 4, coiling main shaft 2 and I-beam wheel stop operating; Subsequently, wire spool 4 starts independent rotation by its drive motor 5 by friction or band transmission, being fixed on thread clamping mechanism 6 on wire spool 4 and thread cutting mechanism 7 also rotates together with thereupon, go to certain angle, thread clamping mechanism 6 and thread cutting mechanism 7 boost steel wire, make the tight clamp in described thread clamping mechanism 6 and thread cutting mechanism 7 of steel wire and trimming station, state as shown in Figure 5; Steel wire is clamped in thread clamping mechanism 6 work, and then thread cutting mechanism 7 is cut off steel wire, around the I-beam wheel of full steel wire, is put away, loads onto the I-beam wheel of blank panel, as shown in Figure 6; Then, magnetic clutch 8 adhesives, by coiling main shaft 2, driven, wire spool 4 rotates together with I-beam wheel, steel wire under the traction of thread clamping mechanism 6 on I-beam wheel, through once back and forth after cabling, steel wire is fixed on I-beam wheel, utilizes pneumatic scissors to cut off the steel wire between thread clamping mechanism 6 and I-beam wheel, and thread clamping mechanism 6 unclamps steel wire the end of a thread again, blowing nozzle blows out the end of a thread, as shown in Figure 7; After this, magnetic clutch is thrown off again, and wire spool 4 lockings do not turn, and coiling main shaft 2 drives I-beam wheel to start to rotate coiling, until spool spooling is around full.
Claims (3)
1. the automatic Nisc changing device of a spool take-up, it is characterized in that it comprises coiling main shaft (2), described coiling main shaft (2) is installed in frame (1) hole by bearings, at the upper cover of described coiling main shaft (2), wire spool (4) is arranged, be fixed with thread clamping mechanism (6) in described wire spool (4) top, below is fixed with thread cutting mechanism (7), described wire spool (4) passes through friction or band transmission by drive motor (5), described wire spool (4) one sides are connected with coiling main shaft (2) by magnetic clutch (8), the other end is rotationally connected by bearing and the wire spool seat (3) be fixed on frame (2).
2. the automatic Nisc changing device of a spool take-up, it is characterized in that described thread clamping mechanism (6) comprises fixing gripper sleeve (61) and cylinder (66), be provided with movably supporting rod (62) in described gripper sleeve (61), be arranged with spring (63) on the head of described supporting rod (62), the head of described supporting rod (62) passes gripper sleeve (61), and be fixedly connected with clamping head (65) with nut (64), be provided with jacking block (67) in the piston rod end of described cylinder (66), described jacking block (67) matches with the tail end of supporting rod (62).
3. the automatic Nisc changing device of a spool take-up as claimed in claim 1 or 2, it is characterized in that described thread cutting mechanism (7) comprises base plate (71), cylinder (73) and be fixed in the trimming sleeve (72) on base plate (71), be provided with movably trimming bar (74) in described trimming sleeve (72), head at described trimming bar (74) is arranged with spring (75), the head of described trimming sleeve (72) has the vee (76) that the degree of depth is greater than trimming sleeve (72) radius, be provided with jacking block (77) in the piston rod end of described cylinder (73), the tail end of described trimming bar (74) and jacking block (77) match.
Priority Applications (1)
| Application Number | Priority Date | Filing Date | Title |
|---|---|---|---|
| CN2013202863533U CN203333075U (en) | 2013-05-24 | 2013-05-24 | Automatic wire spool replacing device of H-shaped wheel winding machine |
Applications Claiming Priority (1)
| Application Number | Priority Date | Filing Date | Title |
|---|---|---|---|
| CN2013202863533U CN203333075U (en) | 2013-05-24 | 2013-05-24 | Automatic wire spool replacing device of H-shaped wheel winding machine |
Publications (1)
| Publication Number | Publication Date |
|---|---|
| CN203333075U true CN203333075U (en) | 2013-12-11 |
Family
ID=49701766
Family Applications (1)
| Application Number | Title | Priority Date | Filing Date |
|---|---|---|---|
| CN2013202863533U Expired - Fee Related CN203333075U (en) | 2013-05-24 | 2013-05-24 | Automatic wire spool replacing device of H-shaped wheel winding machine |
Country Status (1)
| Country | Link |
|---|---|
| CN (1) | CN203333075U (en) |
Cited By (5)
| Publication number | Priority date | Publication date | Assignee | Title |
|---|---|---|---|---|
| CN103274265A (en) * | 2013-05-24 | 2013-09-04 | 江阴市华方机电科技有限公司 | Automatic plate changing device of spool wire-rewinding machine |
| CN107377671A (en) * | 2017-09-22 | 2017-11-24 | 伊东新(德阳)线缆设备有限公司 | Full-automatic double-deck continuous wire coiler |
| CN112158675A (en) * | 2020-09-29 | 2021-01-01 | 张家港市瑞昌智能机器系统有限公司 | Vertical wire-rewinding machine capable of automatically labeling and ending |
| CN114850244A (en) * | 2022-03-10 | 2022-08-05 | 山东大业股份有限公司 | Tire bead steel wire drawing and winding mechanism |
| CN114988212A (en) * | 2022-06-07 | 2022-09-02 | 湖北三江航天江北机械工程有限公司 | Spool winding device and method |
-
2013
- 2013-05-24 CN CN2013202863533U patent/CN203333075U/en not_active Expired - Fee Related
Cited By (9)
| Publication number | Priority date | Publication date | Assignee | Title |
|---|---|---|---|---|
| CN103274265A (en) * | 2013-05-24 | 2013-09-04 | 江阴市华方机电科技有限公司 | Automatic plate changing device of spool wire-rewinding machine |
| CN103274265B (en) * | 2013-05-24 | 2015-11-18 | 江阴市华方机电科技有限公司 | The automatic Nisc changing device of spool take-up |
| CN107377671A (en) * | 2017-09-22 | 2017-11-24 | 伊东新(德阳)线缆设备有限公司 | Full-automatic double-deck continuous wire coiler |
| CN107377671B (en) * | 2017-09-22 | 2023-12-22 | 伊东新(德阳)线缆设备有限公司 | Full-automatic double-disc continuous wire winding machine |
| CN112158675A (en) * | 2020-09-29 | 2021-01-01 | 张家港市瑞昌智能机器系统有限公司 | Vertical wire-rewinding machine capable of automatically labeling and ending |
| CN114850244A (en) * | 2022-03-10 | 2022-08-05 | 山东大业股份有限公司 | Tire bead steel wire drawing and winding mechanism |
| CN114850244B (en) * | 2022-03-10 | 2023-05-02 | 山东大业股份有限公司 | Tire bead wire drawing and wire collecting mechanism |
| CN114988212A (en) * | 2022-06-07 | 2022-09-02 | 湖北三江航天江北机械工程有限公司 | Spool winding device and method |
| CN114988212B (en) * | 2022-06-07 | 2024-03-29 | 湖北三江航天江北机械工程有限公司 | Spool winding device and winding method |
Similar Documents
| Publication | Publication Date | Title |
|---|---|---|
| CN103274265B (en) | The automatic Nisc changing device of spool take-up | |
| CN203333075U (en) | Automatic wire spool replacing device of H-shaped wheel winding machine | |
| CN102701004B (en) | Bobbin-equipped wire take-up machine | |
| CN104925558A (en) | Full-automatic filter element winding machine | |
| CN105665586B (en) | A kind of automatic coil winding machine of spring wire | |
| CN103929019B (en) | A kind of automatic wiring coil apparatus and the stator coil winding machine equipped with this device | |
| CN116022597B (en) | Semi-automatic reel-changing dual-shaft take-up machine | |
| CN219163192U (en) | Magnetic ring winding machine capable of winding wire in 360-degree rotation mode | |
| CN202523551U (en) | Automatic wire winding machine of induction cooker wire coil | |
| CN113664307B (en) | A fast and slow combined wire cutting machine with automatic threading of molybdenum wire | |
| CN202279244U (en) | Automatic winder | |
| CN204714155U (en) | Inventory belting | |
| CN106542372B (en) | A kind of automatic removable disk thread cutter | |
| CN105000427A (en) | Dacron cleaning ball winding device | |
| CN110424144B (en) | Full-automatic multi-layer cloth laying cutting bed | |
| CN102248399A (en) | Roll forming machine for combined stator | |
| CN219053150U (en) | Molybdenum wire cutting machine tool capable of automatically threading wires by combining speed with wire feeding | |
| CN205187503U (en) | Automatic trade a set tangent line device | |
| CN108683309B (en) | Stator winding machine | |
| CN207966735U (en) | Transformer Coil Winding Device | |
| CN207226631U (en) | A kind of wire-cutting device | |
| CN111243855B (en) | Automatic winding machine for flat wire | |
| CN206359008U (en) | A kind of automatic adhesive tape wrapping machine | |
| CN106968048B (en) | A kind of primary knotting methods tied of bifilar rope more | |
| CN202591492U (en) | Automatic spring winding and cutting machine |
Legal Events
| Date | Code | Title | Description |
|---|---|---|---|
| C14 | Grant of patent or utility model | ||
| GR01 | Patent grant | ||
| CF01 | Termination of patent right due to non-payment of annual fee | ||
| CF01 | Termination of patent right due to non-payment of annual fee |
Granted publication date: 20131211 Termination date: 20180524 |