CN203332840U - A drive assembly of a belt conveyor - Google Patents

A drive assembly of a belt conveyor Download PDF

Info

Publication number
CN203332840U
CN203332840U CN2013202975948U CN201320297594U CN203332840U CN 203332840 U CN203332840 U CN 203332840U CN 2013202975948 U CN2013202975948 U CN 2013202975948U CN 201320297594 U CN201320297594 U CN 201320297594U CN 203332840 U CN203332840 U CN 203332840U
Authority
CN
China
Prior art keywords
motor
drive
drive assembly
driving assembly
fastener
Prior art date
Legal status (The legal status is an assumption and is not a legal conclusion. Google has not performed a legal analysis and makes no representation as to the accuracy of the status listed.)
Expired - Fee Related
Application number
CN2013202975948U
Other languages
Chinese (zh)
Inventor
朱仲达
Current Assignee (The listed assignees may be inaccurate. Google has not performed a legal analysis and makes no representation or warranty as to the accuracy of the list.)
Many Friendly Logistlcs Technologies Equipment Ltd Huzhou
Original Assignee
Many Friendly Logistlcs Technologies Equipment Ltd Huzhou
Priority date (The priority date is an assumption and is not a legal conclusion. Google has not performed a legal analysis and makes no representation as to the accuracy of the date listed.)
Filing date
Publication date
Application filed by Many Friendly Logistlcs Technologies Equipment Ltd Huzhou filed Critical Many Friendly Logistlcs Technologies Equipment Ltd Huzhou
Priority to CN2013202975948U priority Critical patent/CN203332840U/en
Application granted granted Critical
Publication of CN203332840U publication Critical patent/CN203332840U/en
Anticipated expiration legal-status Critical
Expired - Fee Related legal-status Critical Current

Links

Images

Landscapes

  • Belt Conveyors (AREA)

Abstract

The utility model provides a drive assembly of a belt conveyor. The drive assembly comprises a support and a drive assembly unit hung on the support. The drive assembly unit comprises a drive motor, drive frames disposed on the two sides of the motor and at the bottom of the motor and a drive chain wheel disposed on one side of the drive motor. A plurality of hanging holes are formed in a motor board. The drive motor is fixed to the drive frame at the bottom through a fastening structure which comprises the motor board and transverse fasteners used for adjusting the degree of tightness of the motor chain wheel. The motor board is provided with transverse grooves and longitudinal fasteners used for fixing the height of the motor. The drive assembly is simple in structure and convenient to install. The drive assembly is disposed at the bottom of a rack, is of high universality and is convenient for detachment and maintenance. The transverse fasteners slide in the groove structures and are used for adjusting the degree of tightness of the motor chain wheel and the longitudinal fasteners are used for fixing the height of the motor.

Description

A kind of driving assembly of band conveyor
Technical field
The utility model relates to a kind of automatic material flow equipment, particularly a kind of simple in structure, easy for installation, and highly adjustable and highly versatile is easy to maintenance, the driving assembly of safe band conveyor.
Background technology
The driver train of band conveyor of the prior art is that motor is connected to reductor by universal driving shaft, and motor, drive coupling, reductor all are arranged on bogie, then passes through the drum shaft of drive coupling drive transfer machine by the output shaft of reductor.The shortcomings such as it is huge, difficult in maintenance that therefore the conveyer of this structure has equipment, and cost is high, and crossing ability is low; Because this driver train is welded on frame, safeguard very inconveniently, motor is owing to fixing in addition, and the degree of tightness of motor height and drive sprocket is regulated inconvenience.
The utility model content
The utility model is mainly in above-mentioned technology, existing conveyor apparatus huge, and difficult in maintenance, cost is high, the shortcomings such as commonality is low, provide a kind of simple in structure, easy for installation, highly adjustable and highly versatile, easy to maintenance, the driving assembly of safe band conveyor.
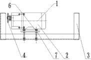
The utility model solves the technical scheme that its technical matters adopts: a kind of driving delivery assembly of band conveyor, it comprises support, hang on the driving assembly on support, described driving assembly comprises drive motor, be located at the bogie of motor both sides and bottom, be located at the drive sprocket of drive motor one side, described motor plate is provided with a plurality of suppending holes, described drive motor is by the bogie that is fixed on bottom by fastening structure, described fastening structure comprises motor plate, for regulating the horizontal fastener of motor sprocket degree of tightness, described motor plate is provided with transverse concave groove, and for vertical fastener of fixed electrical machinery height.
The beneficial effects of the utility model are: driving assembly of the present utility model has advantage simple in structure, easy for installation.Be placed in the frame bottom by suppending hole, there is highly versatile, the advantage be easy to remove and repair; Wherein laterally fastener slides and regulates the motor sprocket degree of tightness in groove structure, and vertically fastener is for the fixed electrical machinery height.
As preferably, the quantity of described suppending hole is 2-10.
Further, described horizontal fastener and vertical fastener are bullet pad nut.
The accompanying drawing explanation
Fig. 1 is structural representation of the present utility model;
Fig. 2 is construction profile schematic diagram of the present utility model.
In figure: 1, drive assembly, 2, drive motor, 3, bogie, 4, drive sprocket, 5, suppending hole, 6, fastening structure, 7, motor plate, 8, horizontal fastener, 9, transverse concave groove, 10, vertical fastener.
The specific embodiment
Below by specific embodiment, and by reference to the accompanying drawings, the technical solution of the utility model is described in further detail.
As Fig. 1, shown in 2, the driving assembly that the utility model is a kind of band conveyor, it comprises support, hang on the driving assembly 1 on support, described driving assembly comprises drive motor 2, be located at the bogie 3 of motor both sides and bottom, be located at the drive sprocket 4 of drive motor one side, described motor plate is provided with a plurality of suppending holes 5, described drive motor is by the bogie that is fixed on bottom by fastening structure 6, described fastening structure comprises motor plate 7, for regulating the horizontal fastener 8 of motor sprocket degree of tightness, described motor plate is provided with transverse concave groove 9, and for vertical fastener 10 of fixed electrical machinery height.This driving assembly has advantage simple in structure, easy for installation, by suppending hole, is placed in the frame bottom, has highly versatile, the advantage be easy to remove and repair; Wherein laterally fastener slides and regulates the motor sprocket degree of tightness in groove structure, and vertically fastener is for the fixed electrical machinery height.
Above-described embodiment is a kind of preferably scheme of the present utility model, not the utility model is done to any pro forma restriction, also has other variant and remodeling under the prerequisite that does not exceed the technical scheme that claim puts down in writing.

Claims (3)

1. the driving assembly of a band conveyor, it is characterized in that, it comprises support, hang on the driving assembly (1) on support, described driving assembly comprises drive motor (2), be located at the bogie (3) of motor both sides and bottom, be located at the drive sprocket (4) of drive motor one side, described motor plate is provided with a plurality of suppending holes (5), described drive motor is by the bogie that is fixed on bottom by fastening structure (6), described fastening structure comprises motor plate (7), for regulating the horizontal fastener (8) of motor sprocket degree of tightness, described motor plate is provided with transverse concave groove (9), and for vertical fastener (10) of fixed electrical machinery height.
2. the driving assembly of a kind of band conveyor according to claim 1, is characterized in that, the quantity of described suppending hole is 2-10.
3. the driving assembly of a kind of band conveyor according to claim 1, is characterized in that, described horizontal fastener and vertical fastener are bullet pad nut.
CN2013202975948U 2013-05-28 2013-05-28 A drive assembly of a belt conveyor Expired - Fee Related CN203332840U (en)

Priority Applications (1)

Application Number Priority Date Filing Date Title
CN2013202975948U CN203332840U (en) 2013-05-28 2013-05-28 A drive assembly of a belt conveyor

Applications Claiming Priority (1)

Application Number Priority Date Filing Date Title
CN2013202975948U CN203332840U (en) 2013-05-28 2013-05-28 A drive assembly of a belt conveyor

Publications (1)

Publication Number Publication Date
CN203332840U true CN203332840U (en) 2013-12-11

Family

ID=49701532

Family Applications (1)

Application Number Title Priority Date Filing Date
CN2013202975948U Expired - Fee Related CN203332840U (en) 2013-05-28 2013-05-28 A drive assembly of a belt conveyor

Country Status (1)

Country Link
CN (1) CN203332840U (en)

Cited By (1)

* Cited by examiner, † Cited by third party
Publication number Priority date Publication date Assignee Title
CN112456070A (en) * 2020-11-30 2021-03-09 扬州得路达交通科技有限公司 Conveying system for waste asphalt recycling process and using method thereof

Cited By (1)

* Cited by examiner, † Cited by third party
Publication number Priority date Publication date Assignee Title
CN112456070A (en) * 2020-11-30 2021-03-09 扬州得路达交通科技有限公司 Conveying system for waste asphalt recycling process and using method thereof

Similar Documents

Publication Publication Date Title
CN204280504U (en) A kind of chain mat machine
CN103616611B (en) A kind of loop test equipment
CN210285826U (en) Sorting trolley of cross belt type sorting machine
CN203332840U (en) A drive assembly of a belt conveyor
CN202864298U (en) Belt conveyor tensioning device
CN203652598U (en) Vertical chain tensioning mechanism
CN203020944U (en) A double-stroke vertical tensioning hammer device with single guide rail
CN204038548U (en) The cross-line transfer system of hanging conveyor line
CN203558500U (en) Goods shelf applicable to screws
CN203624369U (en) Pig carcass conveying line
CN203558495U (en) Connecting rod bushing feeding device
CN204341973U (en) A kind of load-transfer device rebound
CN202807942U (en) Plate conveying device
CN203410996U (en) Carrier roller bracket of belt conveyer
CN203171549U (en) Disassembling and assembling tool of manhole flange of coal liquefaction reactor
CN205291498U (en) Suspension type manipulator and walk crosswise a package assembly thereof
CN202181069U (en) Belt conveyer with fixed plate on surface
CN203541100U (en) Speed reducer supporting device for rolling mill
CN203594743U (en) Pictorial machine trolley driving belt adjusting device
CN203601947U (en) Guide rail device of standby yarn cycle traveling block
CN207142166U (en) The attachment structure of ribbon conveyer backhaul flat carrier roller and frame
CN203392369U (en) Direction changing roller assembly of belt conveyer
CN204938123U (en) A kind of manufacturing line automatic driver
CN204221627U (en) A kind of support changing shot-blasting machine ramming head
CN202484439U (en) Cable slippage rack

Legal Events

Date Code Title Description
C14 Grant of patent or utility model
GR01 Patent grant
CF01 Termination of patent right due to non-payment of annual fee
CF01 Termination of patent right due to non-payment of annual fee

Granted publication date: 20131211

Termination date: 20160528