CN203329929U - 一种多孔点胶针头 - Google Patents
一种多孔点胶针头 Download PDFInfo
- Publication number
- CN203329929U CN203329929U CN201320421219XU CN201320421219U CN203329929U CN 203329929 U CN203329929 U CN 203329929U CN 201320421219X U CN201320421219X U CN 201320421219XU CN 201320421219 U CN201320421219 U CN 201320421219U CN 203329929 U CN203329929 U CN 203329929U
- Authority
- CN
- China
- Prior art keywords
- adhesive dispensing
- plane
- needle
- hole
- dispensing needle
- Prior art date
- Legal status (The legal status is an assumption and is not a legal conclusion. Google has not performed a legal analysis and makes no representation as to the accuracy of the status listed.)
- Expired - Fee Related
Links
- 239000000853 adhesive Substances 0.000 title abstract 8
- 230000001070 adhesive effect Effects 0.000 title abstract 8
- 238000007789 sealing Methods 0.000 claims description 15
- 238000003491 array Methods 0.000 claims description 3
- 239000003292 glue Substances 0.000 description 10
- 238000000034 method Methods 0.000 description 3
- 238000005516 engineering process Methods 0.000 description 2
- 238000003466 welding Methods 0.000 description 2
- ATJFFYVFTNAWJD-UHFFFAOYSA-N Tin Chemical compound [Sn] ATJFFYVFTNAWJD-UHFFFAOYSA-N 0.000 description 1
- 238000005476 soldering Methods 0.000 description 1
Images
Landscapes
- Coating Apparatus (AREA)
Abstract
本实用新型公开了一种多孔点胶针头,由底座和针头组成,所述底座为中空圆柱状,上端敞口且下端封口,封口端平面上具有通孔,在通孔处设有至少两根空心针头;所述多孔点胶针头和系统的可编辑逻辑控制器PLC连接。所述两根针头以封口端平面直径为对称轴对称排列。当封口端平面上具有三根针头时,三根针头与封口端的平面同心,环绕排列在封口端平面,呈正三角形安置。采用这样的技术方案后,通过系统的可编辑逻辑控制器PLC控制,在需要点胶时能够准确完成点胶工作。相比于现有技术中的单孔点胶,效率提高了二到三倍。
Description
技术领域
本实用新型属于接线盒的导电片贴片焊接技术领域,尤其是涉及一种多孔点胶针头。
背景技术
在现有技术中,导电片贴片焊接工艺主要由以下几步完成:首先金属导电片通过上料筒进料,之后导电片进行预上锡处理,随后对导电片进行点胶,放置二极管并与导电片贴片,最后将金属导电片二极管进行回流焊。在导电片点胶时多为单一针头进行点胶,如此点胶效率会有所影响,影响整个工艺进度。
发明内容
为了解决上述问题,本实用新型提供一种多孔点胶针头,从而提高工艺效率。
为此采用如下的技术方案,一种多孔点胶针头,由底座和针头组成,其特征在于:所述底座为中空圆柱状,上端敞口且下端封口,封口端平面上具有通孔,在通孔处设有至少两根空心针头;所述多孔点胶针头和系统的可编辑逻辑控制器PLC连接。
进一步的技术方案,所述两根针头以封口端平面直径为对称轴对称排列。
进一步的技术方案,当封口端平面上具有三根针头时,三根针头与封口端的平面同心,环绕排列在封口端平面,呈正三角形安置。
采用这样的技术方案后,通过系统的可编辑逻辑控制器(PLC)控制,在需要点胶时能够准确完成点胶工作。相比于现有技术中的单孔点胶,效率提高了二到三倍。
附图说明
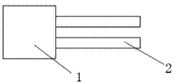
图1为本实施例中两根针头的立体示意图。
图2为本实施例中两根针头的正视图。
图3为本实施例中两根针头的侧视图。
图4为本实施例中三根针头的立体示意图。
图5为本实施例中三根针头的正视图。
图6为本实施例中三根针头的侧视图。
具体实施方式
参见附图1至3。本实施例的第一种方案,由底座1和针头2组成,所述底座1为中空圆柱状,上端敞口且下端封口,封口端平面11上具有通孔,在通孔处设有两根空心针头,所述两根针头以封口端平面直径为对称轴对称排列。该实施例和系统可编辑逻辑控制器(PLC)直接连接。
参见附图4至6。本实施例的第二种方案,由底座1和针头2组成,所述底座1为中空圆柱状,上端敞口且下端封口,封口端平面11上具有通孔,在通孔处设有三根空心针头2,所述三根针头与封口端平面同心,环绕排列在封口端平面,呈正三角形安置。所述多孔点胶针头和系统PLC直接连接。
采用这样的技术方案后,通过系统的可编辑逻辑控制器(PLC)控制,在需要点胶时能够准确完成点胶工作。相比于现有技术中的单孔点胶,效率提高了二到三倍。
Claims (3)
1.一种多孔点胶针头,由底座和针头组成,其特征在于:所述底座为中空圆柱状,上端敞口且下端封口,封口端平面上具有通孔,在通孔处设有至少两根空心针头;所述多孔点胶针头和系统的可编辑逻辑控制器PLC连接。
2.按照权利要求1所述的一种多孔点胶针头,其特征在于:所述两根针头以封口端平面直径为对称轴对称排列。
3. 按照权利要求1所述的一种多孔点胶针头,其特征在于:当封口端平面上具有三根针头时,三根针头与封口端的平面同心,环绕排列在封口端平面,呈正三角形安置。
Priority Applications (1)
| Application Number | Priority Date | Filing Date | Title |
|---|---|---|---|
| CN201320421219XU CN203329929U (zh) | 2013-07-16 | 2013-07-16 | 一种多孔点胶针头 |
Applications Claiming Priority (1)
| Application Number | Priority Date | Filing Date | Title |
|---|---|---|---|
| CN201320421219XU CN203329929U (zh) | 2013-07-16 | 2013-07-16 | 一种多孔点胶针头 |
Publications (1)
| Publication Number | Publication Date |
|---|---|
| CN203329929U true CN203329929U (zh) | 2013-12-11 |
Family
ID=49698630
Family Applications (1)
| Application Number | Title | Priority Date | Filing Date |
|---|---|---|---|
| CN201320421219XU Expired - Fee Related CN203329929U (zh) | 2013-07-16 | 2013-07-16 | 一种多孔点胶针头 |
Country Status (1)
| Country | Link |
|---|---|
| CN (1) | CN203329929U (zh) |
Cited By (5)
| Publication number | Priority date | Publication date | Assignee | Title |
|---|---|---|---|---|
| CN103736627A (zh) * | 2013-12-28 | 2014-04-23 | 吴俊娟 | 一种多孔式灌注头结构 |
| CN105057167A (zh) * | 2015-09-11 | 2015-11-18 | 王忆 | 一种圆形三针头点胶头及点胶机 |
| CN105642502A (zh) * | 2016-03-12 | 2016-06-08 | 无为县宏喜体育用品有限公司 | 一种羽毛球贴标用点胶装置 |
| CN107127111A (zh) * | 2017-06-05 | 2017-09-05 | 苏州马克立亨智能科技有限公司 | 一种点胶机构 |
| CN113510042A (zh) * | 2020-04-10 | 2021-10-19 | 汉达精密电子(昆山)有限公司 | 双胶路点胶结构 |
-
2013
- 2013-07-16 CN CN201320421219XU patent/CN203329929U/zh not_active Expired - Fee Related
Cited By (6)
| Publication number | Priority date | Publication date | Assignee | Title |
|---|---|---|---|---|
| CN103736627A (zh) * | 2013-12-28 | 2014-04-23 | 吴俊娟 | 一种多孔式灌注头结构 |
| CN105057167A (zh) * | 2015-09-11 | 2015-11-18 | 王忆 | 一种圆形三针头点胶头及点胶机 |
| CN105642502A (zh) * | 2016-03-12 | 2016-06-08 | 无为县宏喜体育用品有限公司 | 一种羽毛球贴标用点胶装置 |
| CN105642502B (zh) * | 2016-03-12 | 2018-10-19 | 无为县宏喜体育用品有限公司 | 一种羽毛球贴标用点胶装置 |
| CN107127111A (zh) * | 2017-06-05 | 2017-09-05 | 苏州马克立亨智能科技有限公司 | 一种点胶机构 |
| CN113510042A (zh) * | 2020-04-10 | 2021-10-19 | 汉达精密电子(昆山)有限公司 | 双胶路点胶结构 |
Similar Documents
| Publication | Publication Date | Title |
|---|---|---|
| CN203329929U (zh) | 一种多孔点胶针头 | |
| CN204075493U (zh) | 一种超声波焊头结构 | |
| CN202185672U (zh) | 一种可用于进行螺柱焊接的凸焊机 | |
| CN203265935U (zh) | 新型高效焊条 | |
| CN205200787U (zh) | 一种环形螺母专用防分流式凸焊电极 | |
| CN204295167U (zh) | 一种动臂前叉焊接定位工装 | |
| CN203566038U (zh) | 一种蓄电池端子助焊工装 | |
| CN203197449U (zh) | 一种焊接焊钳电极帽 | |
| CN202137514U (zh) | 一种凸焊螺钉用的下电极 | |
| CN203501919U (zh) | 一种电雷管卡口塞 | |
| CN203072255U (zh) | 一种设有伪极耳的电池组串并联pcb板 | |
| CN203171649U (zh) | 双臂机器人 | |
| CN201264151Y (zh) | 中心定位焊接工装 | |
| CN203109482U (zh) | 金属粉芯焊丝焊枪的喷嘴的改进结构 | |
| CN203141011U (zh) | 多手臂直线焊接机器人 | |
| CN203265938U (zh) | 焊接条 | |
| CN201922169U (zh) | 保险杠支架与蒙皮焊接用焊头 | |
| CN203265936U (zh) | 电焊条 | |
| CN202571580U (zh) | 一种钨棒电极的点焊机 | |
| CN202607058U (zh) | 一种标准节自动焊接生产线用加长弯管焊枪 | |
| CN203380499U (zh) | 用于汽车窗框总成的焊钳 | |
| CN203347025U (zh) | 一种新型的螺栓球节点网架用锥头 | |
| CN203945045U (zh) | 一种自动焊钼碗机定位装置 | |
| CN202684881U (zh) | 一种支架的铆接结构 | |
| CN203330589U (zh) | 高效焊条 |
Legal Events
| Date | Code | Title | Description |
|---|---|---|---|
| C14 | Grant of patent or utility model | ||
| GR01 | Patent grant | ||
| CF01 | Termination of patent right due to non-payment of annual fee | ||
| CF01 | Termination of patent right due to non-payment of annual fee |
Granted publication date: 20131211 Termination date: 20210716 |