CN203328299U - 一种可调节高度的椅子 - Google Patents
一种可调节高度的椅子 Download PDFInfo
- Publication number
- CN203328299U CN203328299U CN2013204226065U CN201320422606U CN203328299U CN 203328299 U CN203328299 U CN 203328299U CN 2013204226065 U CN2013204226065 U CN 2013204226065U CN 201320422606 U CN201320422606 U CN 201320422606U CN 203328299 U CN203328299 U CN 203328299U
- Authority
- CN
- China
- Prior art keywords
- chair
- bar
- guardrail
- adjustable height
- height
- Prior art date
- Legal status (The legal status is an assumption and is not a legal conclusion. Google has not performed a legal analysis and makes no representation as to the accuracy of the status listed.)
- Expired - Fee Related
Links
- 230000000694 effects Effects 0.000 claims description 3
- 235000013305 food Nutrition 0.000 abstract description 2
- 238000010586 diagram Methods 0.000 description 2
- 230000001105 regulatory effect Effects 0.000 description 2
- 230000000630 rising effect Effects 0.000 description 2
- 241001122767 Theaceae Species 0.000 description 1
- 230000007547 defect Effects 0.000 description 1
- 238000004519 manufacturing process Methods 0.000 description 1
Images
Landscapes
- Special Chairs (AREA)
Abstract
本实用新型涉及一种可以调节高度的椅子,包括椅背、椅面、椅、护栏、连接杆、固定环、气杆、方形板、操作杆、安全带、支撑杆、桌板和锁扣,通过气压或螺旋方式使方形板从方形孔中升起可以形成一个可以调节高度的椅子。椅背护栏上的安全带通过锁扣固定在支撑杆的锁扣上形成一个适合小孩做的椅子,小孩子可以安全的坐在方形板上,面前的桌板可以放玩具或食物。本实用新型椅子可以调节高度,既可以供大人使用,又可以供小孩子使用,组合简单,不占用空间。
Description
技术领域
本实用新型涉及一种既可以共大人使用,又可以供小孩子使用的一种椅子,具体涉及一种可以调节高度的椅子,属于椅子制造领域。
背景技术
椅子是居家生活常用的家具之一,就餐、学习或聊天时均会用到椅子。而餐桌、书桌或茶几的高度是不统一的,在这些桌子前,坐单一高度的椅子会感觉诸多不方便,此外,为不同高度的桌子配不同高度的椅子既浪费金钱也占用有限的家具空间。
宝宝在吃饭或玩耍时,成人用椅子高度太矮也不安全;而专门为宝宝设计的座椅,不但占地面积大,且因为只能让宝宝坐而浪费资源。
发明内容
本实用新型的目的是针对上述技术问题所存在的缺陷而提供一种可以调节高度的椅子,既可以供大人使用,又可以供宝宝使用。
本实用新型是这样实现的:
一种可以调节高度的椅子,包括椅背、椅面和椅腿,其特征在于,所述椅背的两侧各铰接一个起保护作用的护栏;所述椅腿各固定一连接杆,连接杆末端与具有内螺纹的固定环相连,固定环通过螺纹与具有外螺纹的气杆配合连接;所述气杆的一端固定一方形板,另一端连接操作杆。
上述椅面中间具有一大小与方形板相同的方形孔。
上述保护栏外侧中间部位固定具有锁扣的安全带。
上述椅面前端铰接一支撑杆,支撑杆末端固定一桌板,支撑杆靠近桌板一端具有两个锁扣,与安全带通过锁扣固定。
上述操作杆按压可调节气杆高度5-10cm,通过螺纹配合作用旋转操作杆可调节气杆高度为10-15cm。
本实用新型椅子,可以通过气压或螺旋使方形板上升,新形成的椅子可以根据需要调节高度,安放桌板方便小孩子放玩具和就餐,护栏可以有效的保护小孩子的安全;本实用新型椅子可以调节高度,既可以供大人使用,又可以供小孩子使用,组合简单,不占用空间。
说明书附图
图1:本实用新型椅子结构示意图。
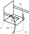
图2:椅子护栏及安全带示意图。
图3:本实用新型椅子俯视图。
其中:1、椅背2、椅面 3、椅腿 4、护栏 5、连接杆 6、固定环7、气杆 8、方形板 9、操作杆 10、安全带 11、支撑杆 12、桌板 13、锁扣
具体实施方案
下面结合实施例和附图对本实用新型做进一步详细的说明。
如图1所示,四条椅腿3各连接一连接杆5,连接杆5的末端与固定环6相连;固定环6内具有内螺纹,通过螺纹与外部具有外螺纹的气杆7配合连接;气杆7的一端连接一方形板8,另一端具有一操作杆9;椅面2中间具有一大小与方形板相同的方形孔,方形板可以从方形孔中升起。
如图2所示,椅背1的两侧各铰接一个护栏4,护栏4外侧中间部位固定具有锁扣13的安全带10,椅面2前端铰接一支撑杆11,支撑杆11末端固定一桌板12(如图1所示),支撑杆11具有两个锁扣13,与安全带通过锁扣13固定。
本实用新型椅子工作时,按压操作杆可将气杆7升高5-10cm,通过螺纹配合作用旋转操作杆可将气杆7升高10-15cm,气杆7升高时,可将与气杆7固定的方形板8从桌面2中的方形孔顶出,这样就可以形成一个可以调节高度的椅子。椅背1的侧面铰接护栏4,椅面前端铰接支撑杆11,大人用时,护栏4和支撑杆11可以放下;小孩子用时,将护栏4和支撑杆11拉起,将护栏4上的安全带10通过锁扣13固定在支撑杆11的锁扣13上,小孩子可以安全的坐在方形板8上,面前的桌板12可以放玩具或食物。本实用新型椅子一椅多用,操作简单,节约资源。
Claims (5)
1.一种可以调节高度的椅子,包括椅背(1)、椅面(2)和椅腿(3),其特征在于,所述椅背(1)的两侧各铰接一个起保护作用的护栏(4);所述椅腿(3)各固定一连接杆(5),连接杆(5)末端与具有内螺纹的固定环(6)相连,固定环(6)通过螺纹与具有外螺纹的气杆(7)配合连接;所述气杆(7)的一端固定一方形板(8),另一端连接操作杆(9)。
2.根据权利要求1所述的椅子,其特征在于,所述椅面(2)中间具有一大小与方形板(8)相同的方形孔。
3.根据权利要求1所述的椅子,其特征在于,所述护栏(4)外侧中间部位固定具有锁扣(13)的安全带(10)。
4.根据权利要求1所述的椅子,其特征在于,所述椅面(2)前端铰接一支撑杆(11),支撑杆(11)末端固定一桌板(12),支撑杆(11)靠近桌板一端具有两个锁扣(13),与安全带(10)通过锁扣(13)固定。
5.根据权利要求1所述的椅子,其特征在于,所述操作杆(9)按压可调节气杆(7)高度5-10cm,通过螺纹配合作用旋转操作杆(9)可调节气杆(7)高度为10-15cm。
Priority Applications (1)
| Application Number | Priority Date | Filing Date | Title |
|---|---|---|---|
| CN2013204226065U CN203328299U (zh) | 2013-07-16 | 2013-07-16 | 一种可调节高度的椅子 |
Applications Claiming Priority (1)
| Application Number | Priority Date | Filing Date | Title |
|---|---|---|---|
| CN2013204226065U CN203328299U (zh) | 2013-07-16 | 2013-07-16 | 一种可调节高度的椅子 |
Publications (1)
| Publication Number | Publication Date |
|---|---|
| CN203328299U true CN203328299U (zh) | 2013-12-11 |
Family
ID=49697015
Family Applications (1)
| Application Number | Title | Priority Date | Filing Date |
|---|---|---|---|
| CN2013204226065U Expired - Fee Related CN203328299U (zh) | 2013-07-16 | 2013-07-16 | 一种可调节高度的椅子 |
Country Status (1)
| Country | Link |
|---|---|
| CN (1) | CN203328299U (zh) |
Cited By (2)
| Publication number | Priority date | Publication date | Assignee | Title |
|---|---|---|---|---|
| CN104545096A (zh) * | 2014-10-28 | 2015-04-29 | 苏州市吴中区光福华盛红木家具厂 | 一种使用方便的椅子 |
| CN106923539A (zh) * | 2017-03-19 | 2017-07-07 | 兰州理工大学 | 一种便携式折叠椅 |
-
2013
- 2013-07-16 CN CN2013204226065U patent/CN203328299U/zh not_active Expired - Fee Related
Cited By (3)
| Publication number | Priority date | Publication date | Assignee | Title |
|---|---|---|---|---|
| CN104545096A (zh) * | 2014-10-28 | 2015-04-29 | 苏州市吴中区光福华盛红木家具厂 | 一种使用方便的椅子 |
| CN106923539A (zh) * | 2017-03-19 | 2017-07-07 | 兰州理工大学 | 一种便携式折叠椅 |
| CN106923539B (zh) * | 2017-03-19 | 2019-06-21 | 兰州理工大学 | 一种便携式折叠椅 |
Similar Documents
| Publication | Publication Date | Title |
|---|---|---|
| CN203328299U (zh) | 一种可调节高度的椅子 | |
| CN202354962U (zh) | 多功能游戏餐桌椅 | |
| CN203709664U (zh) | 儿童多功能餐桌椅 | |
| CN203424652U (zh) | 折叠式儿童餐椅 | |
| CN204232710U (zh) | 多功能婴幼儿休闲椅 | |
| CN202341495U (zh) | 儿童书架伸缩桌椅 | |
| CN204158082U (zh) | 儿童桌椅 | |
| CN201683487U (zh) | 充气式多功能婴幼儿餐椅 | |
| KR20140008813A (ko) | 서랍을 가진 접히는 의자 | |
| CN201929463U (zh) | 一种凳子 | |
| CN205030883U (zh) | 一种多功能婴儿椅 | |
| CN203762687U (zh) | 一种多功能椅子 | |
| CN204273927U (zh) | 一种可调式儿童桌椅 | |
| CN203088196U (zh) | 一种幼儿园餐桌凳 | |
| CN204363522U (zh) | 一种新型餐椅 | |
| CN202760690U (zh) | 多功能折叠椅 | |
| CN201550862U (zh) | 一种课椅 | |
| CN204273776U (zh) | 一种沙发 | |
| CN203506083U (zh) | 一种可供休息的折叠型座椅 | |
| CN203524270U (zh) | 一种儿童餐桌 | |
| CN204120577U (zh) | 一种带收纳功能和儿童安全带的伸缩式扶手椅子 | |
| CN206714520U (zh) | 多功能小凳 | |
| CN207444681U (zh) | 一种儿童餐椅 | |
| CN202820316U (zh) | 一种摇椅 | |
| CN205321893U (zh) | 一种新型便捷一体式幼儿桌椅 |
Legal Events
| Date | Code | Title | Description |
|---|---|---|---|
| C14 | Grant of patent or utility model | ||
| GR01 | Patent grant | ||
| CF01 | Termination of patent right due to non-payment of annual fee |
Granted publication date: 20131211 Termination date: 20150716 |
|
| EXPY | Termination of patent right or utility model |