CN203326294U - 电动车用充电桩的插座门门控装置 - Google Patents
电动车用充电桩的插座门门控装置 Download PDFInfo
- Publication number
- CN203326294U CN203326294U CN2013203104766U CN201320310476U CN203326294U CN 203326294 U CN203326294 U CN 203326294U CN 2013203104766 U CN2013203104766 U CN 2013203104766U CN 201320310476 U CN201320310476 U CN 201320310476U CN 203326294 U CN203326294 U CN 203326294U
- Authority
- CN
- China
- Prior art keywords
- socket
- charging
- gates
- microprocessor
- charging pile
- Prior art date
- Legal status (The legal status is an assumption and is not a legal conclusion. Google has not performed a legal analysis and makes no representation as to the accuracy of the status listed.)
- Expired - Fee Related
Links
- 238000004891 communication Methods 0.000 claims abstract description 8
- 230000001939 inductive effect Effects 0.000 claims description 4
- 239000000523 sample Substances 0.000 claims description 4
- 238000000034 method Methods 0.000 abstract description 4
- 230000006378 damage Effects 0.000 description 3
- 230000000903 blocking effect Effects 0.000 description 2
- 230000005611 electricity Effects 0.000 description 2
- 238000009413 insulation Methods 0.000 description 2
- 208000027418 Wounds and injury Diseases 0.000 description 1
- 238000003915 air pollution Methods 0.000 description 1
- 230000015556 catabolic process Effects 0.000 description 1
- 238000006731 degradation reaction Methods 0.000 description 1
- 238000010586 diagram Methods 0.000 description 1
- 238000004134 energy conservation Methods 0.000 description 1
- 238000005265 energy consumption Methods 0.000 description 1
- 238000005516 engineering process Methods 0.000 description 1
- 230000008676 import Effects 0.000 description 1
- 208000014674 injury Diseases 0.000 description 1
- 239000003208 petroleum Substances 0.000 description 1
- 230000000630 rising effect Effects 0.000 description 1
- 239000013589 supplement Substances 0.000 description 1
Images
Landscapes
- Charge And Discharge Circuits For Batteries Or The Like (AREA)
- Electric Propulsion And Braking For Vehicles (AREA)
Abstract
本实用新型公开了一种充电时无需看管的电动车用充电桩的插座门门控装置,其特征是它包括可对应封闭于各充电插孔(6)外部的插座门(1),各插座门(1)经相应的插座门驱动模块与微处理器连接;所述微处理器连接有功率输出电路、触屏显示器、数字键盘、读卡器、通信接口,功率输出电路的输出端与充电插孔(6)连接,功率输出电路又经功率计数模块与微处理器连接,本实用新型采用电动控制插座门,隔离保护充电插孔的同时又有效防止充电时被恶意拔去插头,安全性更高;且能配合电池实际充电情况开合,各充电插孔(6)利用度在时间统筹上更加合理;车主能自助使用,可广泛适用于社区、办公楼、超市停车场、公路沿线。
Description
技术领域
本实用新型涉及一种电动车,具体地说涉及一种电动车用充电桩,特别是涉及一种电动车用充电桩的插座门门控装置。
背景技术
电动车简而言之就是以电力为驱动,以电力为能源的车子。第一辆电动车于1834年制造出,它是由直流电机驱动的。电动车分为:电动自行车、电动摩托车、电动三轮车、纯电动汽车、增程式电动车、混合动力电动车、燃料电池车。
电动车作为绿色朝阳产业,在我国发展已有十年之久。在电动自行车方面,2010年底,中国电动自行车已经达到1.2亿辆,而且以每年30%的速度增长。从能耗角度看,电动自行车只有摩托车的八分之一、小轿车的十二分之一;从占有空间看,一辆电动自行车占有的空间只有一般私家车的二十分之一,成为非常有效的节能交通工具;从发展趋势上看,电动自行车行业市场前景依然看好。特别是,作为一种节能环保、出行便捷、使用成本相对较低的中短距离交通工具,电动自行车在二、三级城市和农村地区颇受欢迎。随着产业发展环境的改善、农村道路建设的加快、居民收入水平的提高,市场空间会进一步扩大。
随着全球能源危机的不断加深,石油资源的日趋枯渴以及大气污染、全球气温上升的危害加剧,让人们重新关注的电动车。目前的电动车是以动力电池作为动力源,受到里程的限制,当动力电池电力耗尽时必须补充电能量,否则无法行驶到更远的距离。以往,电动车车主都是在家中或单位里充好点再外出,而大部分家庭住宅和办公场所都处于高层,电动车一般停在一楼,充电不便。于是,近年来国内纷纷出现了一些设置于门店有偿充电站,为电动车及时提供续航电力。为了便于充电,则需要将充电装置设置于室外,于是相继出现一些设置于公路沿线的充电桩。
这种充电站、充电桩大部分采用大功率直流充电柜进行快速充电,能10~30分钟快速完成充电,以解电动车车主的燃眉之急,但现实情况是,采用快充的方式对电池伤害很大,缩短了电池的使用寿命;固而又有的采用交流充电,虽能保护电池,却需要7~8个小时的较长时间,而通常电动汽车是通过带插头的电缆来连接充电设备的,为了防止插头被其他充电用户恶意拔掉,往往车主必须留守看管,占用了大量的时间。设置于室外的充电桩由于处在日晒雨淋的环境,则必须对充电插座处进行隔离保护,否则会造成设备故障,甚至威胁带使用者的安全。因此现有设置于室外的充电设备在充电插座处设有隔离门,但仅采用人为开启、关闭的被动式隔离门,仍然无法防止插头被他人恶意拔掉。
现有提供有偿充电的经营方式一般是向需要充电的车主收取费用后,再给充电设备设置一定的充电时间。若充电车主采用钥匙给隔离门上锁的方式也不实际,一方面钥匙容易丢失;另一方面,会出现电池未冲满就停止充电,或已充满仍在进行无效冲电动作的情况,这无形中使车主多花了不必要的费用,又给充电电池带来损伤。另外,当电动车的电池使用一段时候后发生老化,充电时无法充满或充不进去,此时充电插座的占用时间也无形中被延长,再车主迟迟不来取车,延误了下一位充电使用者。
发明内容
本实用新型的目的是提供一种充电时无需看管的电动车用充电桩的插座门门控装置。
本实用新型是采用如下技术方案实现其发明目的的,一种电动车用充电桩的插座门门控装置,它包括可对应封闭于各充电插孔外部的插座门,各插座门经相应的插座门驱动模块与微处理器连接;所述微处理器连接有功率输出电路、触屏显示器、数字键盘、读卡器、通信接口,功率输出电路的输出端与充电插孔连接,功率输出电路又经功率计数模块与微处理器连接。
本实用新型所述的插座门驱动模块包括传感器、由电机带动的驱动机构,备用电源经应急电路与电机连接;传感器的感应探头设于各充电插孔处。
本实用新型所述的驱动机构包括由电机的输出轴驱动的齿轮、设于插座门上的齿条,齿条与齿轮啮合。
由于采用上述技术方案,本实用新型较好的实现了发明目的,其采用电动控制插座门,隔离保护充电插孔的同时又有效防止充电时被恶意拔去插头,安全性更高;且能配合电池实际充电情况开合,各充电插孔利用度在时间统筹上更加合理;车主能自助使用,可广泛适用于社区、办公楼、超市停车场、公路沿线。
附图说明
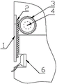
图1是本实用新型的结构原理示意框图;
图2是本实用新型实施例1的结构示意图;
图3是图2的左视图;
图4是本实用新型实施例2的结构示意图;
图5是图4的右视图。
具体实施方式
下面结合附图及实施例对本实用新型作进一步说明。
实施例1:
由图1、图2、图3可知,一种电动车用充电桩的插座门门控装置,它包括可对应封闭于各充电插孔6外部的插座门1,各插座门1经相应的插座门驱动模块与微处理器连接;所述微处理器连接有功率输出电路、触屏显示器、数字键盘、读卡器、通信接口,功率输出电路的输出端与充电插孔6连接,功率输出电路又经功率计数模块与微处理器连接。
本实用新型所述的插座门驱动模块包括传感器、由电机5带动的驱动机构,备用电源经应急电路与电机5连接;传感器的感应探头设于各充电插孔6处。
本实用新型所述的驱动机构包括由电机5的输出轴4(本实施例的输出轴4与插座门1垂直)驱动的齿轮3、设于插座门1上的齿条2(本实施例的齿条2的齿设在齿条2的与插座门1平行的侧边上),齿条2与齿轮3啮合。
本实用新型工作时,由电源模块为包括微处理器的整个装置提供稳定的工作电源;当车主需要充电时,车主将充值卡插入充电桩的插卡孔,与插卡孔连接的读卡器将读取到的充值卡的数据送入微处理器进行处理,微处理器通过插座门驱动模块控制对应的插座门1开启,即通过电机5输出轴4带动驱动机构中的齿轮3旋转,进而带动连接有与齿轮3相啮合的齿条2的插座门1升起,同时,微处理器将充值卡的数据反馈于触屏显示器进行显示;车主将插头插入充电插孔6(充电桩设有多个充电插孔6)后,设在充电插孔6处的传感器(红外传感器或射频传感器)的感应探头感应到充电插孔6处插有插头,传感器将感应信号输送给微处理器,微处理器则控制插座门1关闭;然后,车主通过触屏显示器或数字键盘输入的数据和指令(如账户、密码、充电量或充电金额或充电时间等)送入微处理器进行处理后,微处理器即刻控制读卡器自动退卡,车主即可持卡离开(若充值卡的余额不足,则微处理器通过控制触屏显示器进行显示提示车主,同时控制读卡器自动退卡);此时,微处理器控制功率输出电路给电,同时控制功率计数模块开始计数工作,而功率计数模块又将电动车的实际充电量反馈给微处理器;当完成充电时,微处理器控制插座门1打开,且插座门1待拔出插头以前始终保持为开启状态,该车主或其他需要充电的车主拔出插头后,插座门1再次关闭为初始状态,此时,其他需要充电的车主即可重新插卡进行充电。
若电池老化充不进去,即功率计数模块获取不到功率输出电路的电流输出而反馈于微处理器,则微处理器控制插座门1开启。
如在充电过程中遇电网供电故障(即停电),无法继续充电,此时备用电源(可采用电池或电容)经应急电路(可采用继电器)给电机5供电,控制插座门1开启,车主即可拔下插头驾车离开。
若充电过程中车主需要人为中断充电,则插入充值卡,车主通过触屏显示器或数字键盘输入的数据和指令(输入账户、密码,选择对应的充电插孔6即对应的功率输出电路停止给电)送入微处理器进行处理后,微处理器即刻控制插座门1开启并控制读卡器自动退卡,车主即可拔掉插头携卡离开;拔出插头后,传感器感应到充电插孔6处无插头,即将感应信号送入微处理器进行处理,微处理器则控制插座门1关闭。
车主由于急事需要马上取车离开而进行人为中断充电,造成电池实际的充电量小于预设的充电量而多付了费用,再或者由于电池实际的差电量小于预设充电量而多付了费用,则剩余的金额数据存储在微处理器中,可由管理人员定期通过通信接口导出;管理人员亦可通过通信接口向微处理器导入新的价格计算标准。
微处理器还可通过通信接口连接网络,仅读取每次各车主的充电量并通过通信方式传输给总控制平台,用户到总控制平台读卡充值时完成余额返还抵扣。
实施例2:
由图1、图4、图5可知,本实用新型所述的驱动机构包括由电机5的输出轴4(本实施例的输出轴4与插座门1平行)驱动的齿轮3、设于插座门1上的齿条2(本实施例的齿条2的齿与插座门1垂直),齿条2与齿轮3啮合。
余同实施例1。
Claims (3)
1.一种电动车用充电桩的插座门门控装置,其特征是它包括可对应封闭于各充电插孔(6)外部的插座门(1),各插座门(1)经相应的插座门驱动模块与微处理器连接;所述微处理器连接有功率输出电路、触屏显示器、数字键盘、读卡器、通信接口,功率输出电路的输出端与充电插孔(6)连接。
2.根据权利要求1所述的电动车用充电桩的插座门门控装置,其特征是所述的插座门驱动模块包括传感器、由电机(5)带动的驱动机构,电机(5)经应急电路连接有备用电源;传感器的感应探头设于各充电插孔(6)处。
3.根据权利要求2所述的电动车用充电桩的插座门门控装置,其特征是所述的驱动机构包括由电机(5)的输出轴(4)驱动的齿轮(3)、设于插座门(1)上的齿条(2),齿条(2)与齿轮(3)啮合。
Priority Applications (1)
| Application Number | Priority Date | Filing Date | Title |
|---|---|---|---|
| CN2013203104766U CN203326294U (zh) | 2013-06-01 | 2013-06-01 | 电动车用充电桩的插座门门控装置 |
Applications Claiming Priority (1)
| Application Number | Priority Date | Filing Date | Title |
|---|---|---|---|
| CN2013203104766U CN203326294U (zh) | 2013-06-01 | 2013-06-01 | 电动车用充电桩的插座门门控装置 |
Publications (1)
| Publication Number | Publication Date |
|---|---|
| CN203326294U true CN203326294U (zh) | 2013-12-04 |
Family
ID=49665589
Family Applications (1)
| Application Number | Title | Priority Date | Filing Date |
|---|---|---|---|
| CN2013203104766U Expired - Fee Related CN203326294U (zh) | 2013-06-01 | 2013-06-01 | 电动车用充电桩的插座门门控装置 |
Country Status (1)
| Country | Link |
|---|---|
| CN (1) | CN203326294U (zh) |
Cited By (37)
| Publication number | Priority date | Publication date | Assignee | Title |
|---|---|---|---|---|
| CN104795683A (zh) * | 2015-05-08 | 2015-07-22 | 王惠苗 | 一种使用限位传感器的供电设备及其使用方法 |
| CN104795677A (zh) * | 2015-05-08 | 2015-07-22 | 尚庆光 | 一种使用夹紧装置的供电设备及其使用方法 |
| CN104795680A (zh) * | 2015-05-08 | 2015-07-22 | 楼碧云 | 一种供电设备及其使用方法 |
| CN104795679A (zh) * | 2015-05-08 | 2015-07-22 | 楼碧云 | 一种防松脱的供电设备及其使用方法 |
| CN104795678A (zh) * | 2015-05-08 | 2015-07-22 | 楼碧云 | 一种散热快的供电设备及其使用方法 |
| CN104810666A (zh) * | 2015-05-08 | 2015-07-29 | 毛玲波 | 一种带锁紧功能的供电设备及其使用方法 |
| CN104810669A (zh) * | 2015-05-08 | 2015-07-29 | 绍兴市柯桥辅堂进出口有限公司 | 一种可减少安全隐患的供电设备及其使用方法 |
| CN104810740A (zh) * | 2015-05-08 | 2015-07-29 | 舒泳军 | 一种电机控制的供电设备及其使用方法 |
| CN104810665A (zh) * | 2015-05-08 | 2015-07-29 | 楼碧云 | 一种通过螺纹配合连接的供电设备及其使用方法 |
| CN104810668A (zh) * | 2015-05-08 | 2015-07-29 | 毛玲波 | 一种带导向槽的供电设备及其使用方法 |
| CN104810667A (zh) * | 2015-05-08 | 2015-07-29 | 楼碧云 | 一种带弹片的供电设备及其使用方法 |
| CN104836055A (zh) * | 2015-05-08 | 2015-08-12 | 庆元华太商贸有限公司 | 一种可实现自锁的供电设备及其使用方法 |
| CN104836072A (zh) * | 2015-05-08 | 2015-08-12 | 王惠苗 | 一种防踢碰的供电设备及其使用方法 |
| CN104868301A (zh) * | 2015-05-08 | 2015-08-26 | 何晓明 | 一种带有通电指示灯的供电设备及其使用方法 |
| CN104868300A (zh) * | 2015-05-08 | 2015-08-26 | 周桂林 | 一种设置有含漏斗形区域导向孔的供电设备及其使用方法 |
| CN104868299A (zh) * | 2015-05-08 | 2015-08-26 | 舒泳军 | 一种接入方便的供电设备及其使用方法 |
| CN104868367A (zh) * | 2015-05-08 | 2015-08-26 | 何晓明 | 一种带熔断器的供电设备及其使用方法 |
| CN104868296A (zh) * | 2015-05-08 | 2015-08-26 | 上虞市亚都电子科技有限公司 | 一种使用接触传感器的供电设备及其使用方法 |
| CN104868317A (zh) * | 2015-05-08 | 2015-08-26 | 王惠苗 | 一种低噪音的供电设备及其使用方法 |
| CN104868314A (zh) * | 2015-05-08 | 2015-08-26 | 王惠苗 | 一种带有警示灯的供电设备及其使用方法 |
| CN104953362A (zh) * | 2015-05-08 | 2015-09-30 | 嵊州德庆机械有限公司 | 一种带有指示灯的供电设备及其使用方法 |
| CN104966939A (zh) * | 2015-05-08 | 2015-10-07 | 何晓明 | 一种具有限位功能的供电设备及其使用方法 |
| CN106005805A (zh) * | 2016-06-17 | 2016-10-12 | 董卫华 | 一种智能垃圾箱 |
| CN107146972A (zh) * | 2017-05-25 | 2017-09-08 | 浦江县飞通电子科技有限公司 | 一种预埋式供电装置 |
| CN107171110A (zh) * | 2017-05-28 | 2017-09-15 | 陈光才 | 一种供电插接组件 |
| CN108242634A (zh) * | 2017-05-25 | 2018-07-03 | 广西梧州四海建筑工程有限责任公司 | 一种焊接机连接设备 |
| CN108242635A (zh) * | 2017-05-25 | 2018-07-03 | 广州普隆智能设备有限公司 | 一种嵌入式供电装置 |
| CN108242612A (zh) * | 2017-05-25 | 2018-07-03 | 广州普隆智能设备有限公司 | 一种埋入式供电装置 |
| CN108242636A (zh) * | 2017-05-25 | 2018-07-03 | 广州迅速光电科技有限公司 | 一种改进型桥梁设备 |
| CN108258527A (zh) * | 2017-05-28 | 2018-07-06 | 广西圣洁环境工程有限公司 | 一种新型环保除尘设施 |
| CN108258526A (zh) * | 2017-05-28 | 2018-07-06 | 佛山澹雅自动化技术开发有限公司 | 一种供电连接组件 |
| CN108258470A (zh) * | 2017-05-28 | 2018-07-06 | 佛山澹雅自动化技术开发有限公司 | 一种供电组件 |
| CN108258490A (zh) * | 2017-05-25 | 2018-07-06 | 广西梧州四海建筑工程有限责任公司 | 一种焊接机连接装置 |
| CN108258491A (zh) * | 2017-05-28 | 2018-07-06 | 广西圣洁环境工程有限公司 | 一种新颖型环保除尘设施 |
| CN108258471A (zh) * | 2017-05-28 | 2018-07-06 | 广西梧州四海建筑工程有限责任公司 | 一种焊接机用装置 |
| CN108621848A (zh) * | 2018-05-25 | 2018-10-09 | 深圳市贝优通新能源技术开发有限公司 | 一种用于新能源汽车的具有保护功能的充电桩 |
| CN110858688A (zh) * | 2018-08-23 | 2020-03-03 | 福州明芳汽车部件工业有限公司 | 电动车充电口开闭机构 |
-
2013
- 2013-06-01 CN CN2013203104766U patent/CN203326294U/zh not_active Expired - Fee Related
Cited By (39)
| Publication number | Priority date | Publication date | Assignee | Title |
|---|---|---|---|---|
| CN104868317A (zh) * | 2015-05-08 | 2015-08-26 | 王惠苗 | 一种低噪音的供电设备及其使用方法 |
| CN104868367A (zh) * | 2015-05-08 | 2015-08-26 | 何晓明 | 一种带熔断器的供电设备及其使用方法 |
| CN104795680A (zh) * | 2015-05-08 | 2015-07-22 | 楼碧云 | 一种供电设备及其使用方法 |
| CN104795679A (zh) * | 2015-05-08 | 2015-07-22 | 楼碧云 | 一种防松脱的供电设备及其使用方法 |
| CN104795678A (zh) * | 2015-05-08 | 2015-07-22 | 楼碧云 | 一种散热快的供电设备及其使用方法 |
| CN104810666A (zh) * | 2015-05-08 | 2015-07-29 | 毛玲波 | 一种带锁紧功能的供电设备及其使用方法 |
| CN104810669A (zh) * | 2015-05-08 | 2015-07-29 | 绍兴市柯桥辅堂进出口有限公司 | 一种可减少安全隐患的供电设备及其使用方法 |
| CN104810740A (zh) * | 2015-05-08 | 2015-07-29 | 舒泳军 | 一种电机控制的供电设备及其使用方法 |
| CN104810665A (zh) * | 2015-05-08 | 2015-07-29 | 楼碧云 | 一种通过螺纹配合连接的供电设备及其使用方法 |
| CN104810668A (zh) * | 2015-05-08 | 2015-07-29 | 毛玲波 | 一种带导向槽的供电设备及其使用方法 |
| CN104810667A (zh) * | 2015-05-08 | 2015-07-29 | 楼碧云 | 一种带弹片的供电设备及其使用方法 |
| CN104836055A (zh) * | 2015-05-08 | 2015-08-12 | 庆元华太商贸有限公司 | 一种可实现自锁的供电设备及其使用方法 |
| CN104836072A (zh) * | 2015-05-08 | 2015-08-12 | 王惠苗 | 一种防踢碰的供电设备及其使用方法 |
| CN104868301A (zh) * | 2015-05-08 | 2015-08-26 | 何晓明 | 一种带有通电指示灯的供电设备及其使用方法 |
| CN104868300A (zh) * | 2015-05-08 | 2015-08-26 | 周桂林 | 一种设置有含漏斗形区域导向孔的供电设备及其使用方法 |
| CN104868299A (zh) * | 2015-05-08 | 2015-08-26 | 舒泳军 | 一种接入方便的供电设备及其使用方法 |
| CN104868314A (zh) * | 2015-05-08 | 2015-08-26 | 王惠苗 | 一种带有警示灯的供电设备及其使用方法 |
| CN104868296A (zh) * | 2015-05-08 | 2015-08-26 | 上虞市亚都电子科技有限公司 | 一种使用接触传感器的供电设备及其使用方法 |
| CN104795677A (zh) * | 2015-05-08 | 2015-07-22 | 尚庆光 | 一种使用夹紧装置的供电设备及其使用方法 |
| CN104795683A (zh) * | 2015-05-08 | 2015-07-22 | 王惠苗 | 一种使用限位传感器的供电设备及其使用方法 |
| CN104953362A (zh) * | 2015-05-08 | 2015-09-30 | 嵊州德庆机械有限公司 | 一种带有指示灯的供电设备及其使用方法 |
| CN104966939A (zh) * | 2015-05-08 | 2015-10-07 | 何晓明 | 一种具有限位功能的供电设备及其使用方法 |
| CN106005805A (zh) * | 2016-06-17 | 2016-10-12 | 董卫华 | 一种智能垃圾箱 |
| CN107146972A (zh) * | 2017-05-25 | 2017-09-08 | 浦江县飞通电子科技有限公司 | 一种预埋式供电装置 |
| CN108258490A (zh) * | 2017-05-25 | 2018-07-06 | 广西梧州四海建筑工程有限责任公司 | 一种焊接机连接装置 |
| CN108242634A (zh) * | 2017-05-25 | 2018-07-03 | 广西梧州四海建筑工程有限责任公司 | 一种焊接机连接设备 |
| CN108242635A (zh) * | 2017-05-25 | 2018-07-03 | 广州普隆智能设备有限公司 | 一种嵌入式供电装置 |
| CN108242612A (zh) * | 2017-05-25 | 2018-07-03 | 广州普隆智能设备有限公司 | 一种埋入式供电装置 |
| CN108242636A (zh) * | 2017-05-25 | 2018-07-03 | 广州迅速光电科技有限公司 | 一种改进型桥梁设备 |
| CN108258470A (zh) * | 2017-05-28 | 2018-07-06 | 佛山澹雅自动化技术开发有限公司 | 一种供电组件 |
| CN108258527A (zh) * | 2017-05-28 | 2018-07-06 | 广西圣洁环境工程有限公司 | 一种新型环保除尘设施 |
| CN108258526A (zh) * | 2017-05-28 | 2018-07-06 | 佛山澹雅自动化技术开发有限公司 | 一种供电连接组件 |
| CN107171110A (zh) * | 2017-05-28 | 2017-09-15 | 陈光才 | 一种供电插接组件 |
| CN108258491A (zh) * | 2017-05-28 | 2018-07-06 | 广西圣洁环境工程有限公司 | 一种新颖型环保除尘设施 |
| CN108258471A (zh) * | 2017-05-28 | 2018-07-06 | 广西梧州四海建筑工程有限责任公司 | 一种焊接机用装置 |
| CN108621848A (zh) * | 2018-05-25 | 2018-10-09 | 深圳市贝优通新能源技术开发有限公司 | 一种用于新能源汽车的具有保护功能的充电桩 |
| CN108621848B (zh) * | 2018-05-25 | 2020-03-17 | 南京欧陆电气股份有限公司 | 一种用于新能源汽车的具有保护功能的充电桩 |
| CN110858688A (zh) * | 2018-08-23 | 2020-03-03 | 福州明芳汽车部件工业有限公司 | 电动车充电口开闭机构 |
| CN110858688B (zh) * | 2018-08-23 | 2021-04-20 | 福州明芳汽车部件工业有限公司 | 电动车充电口开闭机构 |
Similar Documents
| Publication | Publication Date | Title |
|---|---|---|
| CN203326294U (zh) | 电动车用充电桩的插座门门控装置 | |
| CN202931008U (zh) | 电动汽车智能交流充电桩 | |
| US9174548B2 (en) | Renewable energy power depositing/charging management system | |
| CN103427457B (zh) | 多功能电动汽车充电桩 | |
| CN103426247B (zh) | 带有充电操控功能的电动汽车充电枪 | |
| CN104377785B (zh) | 一种电动车充电站及使用方法 | |
| CN106347150A (zh) | 一种新型电动汽车充电桩的使用方法 | |
| CN104269909A (zh) | 一种多用户电动汽车交流电充电系统 | |
| CN203326639U (zh) | 电动汽车用充电装置 | |
| CN206327180U (zh) | 一种用于电动汽车专用车位的充电桩 | |
| CN103247110A (zh) | 电动汽车用充电装置 | |
| CN106300521B (zh) | 一种立体车库的交流充电桩控制系统 | |
| CN202997642U (zh) | 自动电动汽车换电站系统 | |
| CN109774669A (zh) | 一种汽车电池共享装置及其实现方法 | |
| CN202333916U (zh) | 一拖多充电系统 | |
| CN206344706U (zh) | 嵌入式灯杆充交流充电桩 | |
| CN208602341U (zh) | 一种便于车辆充电的充电桩 | |
| CN205377317U (zh) | 总线型电动汽车直流充电桩 | |
| CN107264321A (zh) | 一种分体式直流换电充电桩系统 | |
| CN111049248A (zh) | 一种太阳能电动汽车充电桩 | |
| CN207241450U (zh) | 一种多功能户外充电桩 | |
| CN204809900U (zh) | 智能电动车充电装置 | |
| CN212365098U (zh) | 电动自行车十路慢充智能充电站 | |
| CN202210318U (zh) | 一种ic卡充电插座系统 | |
| CN202856410U (zh) | 一站式电动汽车交流充电系统 |
Legal Events
| Date | Code | Title | Description |
|---|---|---|---|
| C14 | Grant of patent or utility model | ||
| GR01 | Patent grant | ||
| C41 | Transfer of patent application or patent right or utility model | ||
| TR01 | Transfer of patent right |
Effective date of registration: 20160701 Address after: 413000 Hunan province Yiyang Heshan Changyi Road No. 55 Patentee after: Zeng Jinjie Address before: 413000 Yiyang City, Hunan province Heshan District Xiufeng Road No. 81 Patentee before: Haiming Electronic Technology Co., Ltd. |
|
| CF01 | Termination of patent right due to non-payment of annual fee |
Granted publication date: 20131204 Termination date: 20170601 |
|
| CF01 | Termination of patent right due to non-payment of annual fee |