CN203321983U - Rod body connecting tool for insulating rod - Google Patents
Rod body connecting tool for insulating rod Download PDFInfo
- Publication number
- CN203321983U CN203321983U CN2013203696612U CN201320369661U CN203321983U CN 203321983 U CN203321983 U CN 203321983U CN 2013203696612 U CN2013203696612 U CN 2013203696612U CN 201320369661 U CN201320369661 U CN 201320369661U CN 203321983 U CN203321983 U CN 203321983U
- Authority
- CN
- China
- Prior art keywords
- protrusion
- sleeve
- rod
- rod body
- tool
- Prior art date
- Legal status (The legal status is an assumption and is not a legal conclusion. Google has not performed a legal analysis and makes no representation as to the accuracy of the status listed.)
- Expired - Fee Related
Links
Landscapes
- Mutual Connection Of Rods And Tubes (AREA)
Abstract
本实用新型提供了一种绝缘杆的杆体连接工具。在使用该工具时,首先将第一套管固定在一个杆体上,第二套管固定在另一个杆体上。由于该工具的第一凸起通过弹性支架与第二凸起相连,且该弹性支架靠近第二凸起的一端固定在第一套管的侧壁上,因而当按下第一凸起时,第二凸起也向下运动。进而,按住第一凸起,将第一套管嵌套在第二套管中,进一步,松开第一凸起,使第二凸起卡接在第二套管的通孔上,以达到固定杆体的目的。
The utility model provides a rod body connection tool for insulating rods. When using the tool, first the first bushing is fixed on one rod body, and the second bushing is fixed on the other rod body. Since the first protrusion of the tool is connected to the second protrusion through the elastic support, and the end of the elastic support near the second protrusion is fixed on the side wall of the first sleeve, when the first protrusion is pressed, The second protrusion also moves downward. Further, pressing the first protrusion, nesting the first sleeve in the second sleeve, and further, loosening the first protrusion, so that the second protrusion is engaged with the through hole of the second sleeve, so that To achieve the purpose of fixing the rod body.
Description
技术领域technical field
本实用新型涉及机械技术领域,尤其是涉及一种绝缘杆的杆体连接工具。The utility model relates to the technical field of machinery, in particular to a rod body connection tool for insulating rods.
背景技术Background technique
在电力线路的维护工作中,绝缘杆是使用频率最高的工具之一。在事故处理、停电检修、线路巡视等工作中都要使用绝缘杆。为了适应不同场合对绝缘杆长度的要求,绝缘杆通常包括多个杆体,多个杆体之间可拆卸连接,以增加或缩小绝缘杆的长度。Insulation rods are one of the most frequently used tools in the maintenance of power lines. Insulation rods are used in accident handling, power outage maintenance, line inspection and other work. In order to meet the requirements for the length of the insulating rod in different occasions, the insulating rod usually includes a plurality of rod bodies, and the plurality of rod bodies are detachably connected to increase or decrease the length of the insulating rod.
现在使用的绝缘杆的杆体之间的连接通常采用螺纹拧合连接。在使用一段时间后,螺纹被磨平,使杆体之间的连接不牢固,降低绝缘杆的使用寿命。The connection between the rod bodies of the insulating rods currently in use usually adopts threaded connection. After being used for a period of time, the threads are worn out, making the connection between the rods weak and reducing the service life of the insulating rods.
实用新型内容Utility model content
有鉴于此,本实用新型一种绝缘杆的杆体连接工具,以提高绝缘杆的使用寿命。In view of this, the utility model relates to a rod body connecting tool for an insulating rod, so as to improve the service life of the insulating rod.
为实现上述目的,本实用新型提供如下技术方案:In order to achieve the above object, the utility model provides the following technical solutions:
一种绝缘杆的杆体连接工具,包括:A rod body connection tool for insulating rods, comprising:
第一套管和第二套管,所述第一套管嵌套在所述第二套管的内部;a first sleeve and a second sleeve, the first sleeve is nested inside the second sleeve;
所述第一套管的上表面上贯穿设置有第一凸起和第二凸起;A first protrusion and a second protrusion are provided through the upper surface of the first sleeve;
所述第一套管的内部设置有分别与所述第一凸起和所述第二凸起相连的弹性支架,所述弹性支架靠近所述第二凸起的一端与所述第一套管的侧壁固定连接;The inside of the first sleeve is provided with elastic brackets respectively connected to the first protrusion and the second protrusion, and the end of the elastic bracket close to the second protrusion is connected to the first sleeve. The side wall is fixedly connected;
所述第二套管上设置有与所述第二凸起相适配的通孔,所述第二凸起卡接在所述通孔内。The second sleeve is provided with a through hole adapted to the second protrusion, and the second protrusion is clamped in the through hole.
与现有技术相比,本实用新型提供了一种绝缘杆的杆体连接工具。在使用该工具时,首先将第一套管固定在一个杆体上,第二套管固定在另一个杆体上。由于该工具的第一凸起通过弹性支架与第二凸起相连,且该弹性支架靠近第二凸起的一端固定在第一套管的侧壁上,因而当按下第一凸起时,第二凸起也向下运动。进而,按住第一凸起,将第一套管嵌套在第二套管中,进一步,松开第一凸起,使第二凸起卡接在第二套管的通孔上,以达到固定杆体的目的。本实用新型没有采用螺纹固定,不会产生螺纹被磨平的情况,因而提高了绝缘杆的使用寿命。Compared with the prior art, the utility model provides a rod body connection tool for insulating rods. When using the tool, first the first bushing is fixed on one rod body, and the second bushing is fixed on the other rod body. Since the first protrusion of the tool is connected to the second protrusion through the elastic bracket, and the end of the elastic bracket near the second protrusion is fixed on the side wall of the first sleeve, when the first protrusion is pressed, The second protrusion also moves downward. Further, pressing the first protrusion, nesting the first sleeve in the second sleeve, and further, loosening the first protrusion, so that the second protrusion is clamped on the through hole of the second sleeve, so that To achieve the purpose of fixing the rod body. The utility model does not adopt thread fixing, and the thread will not be ground flat, thus improving the service life of the insulating rod.
附图说明Description of drawings
为了更清楚地说明本实用新型实施例或现有技术中的技术方案,下面将对实施例或现有技术描述中所需要使用的附图作简单地介绍,显而易见地,下面描述中的附图仅仅是本实用新型的一些实施例,对于本领域普通技术人员来讲,在不付出创造性劳动的前提下,还可以根据这些附图获得其他的附图。In order to more clearly illustrate the technical solutions in the embodiments of the present invention or the prior art, the following will briefly introduce the accompanying drawings that need to be used in the description of the embodiments or the prior art. Obviously, the accompanying drawings in the following description These are only some embodiments of the utility model, and those skilled in the art can also obtain other drawings based on these drawings without creative work.
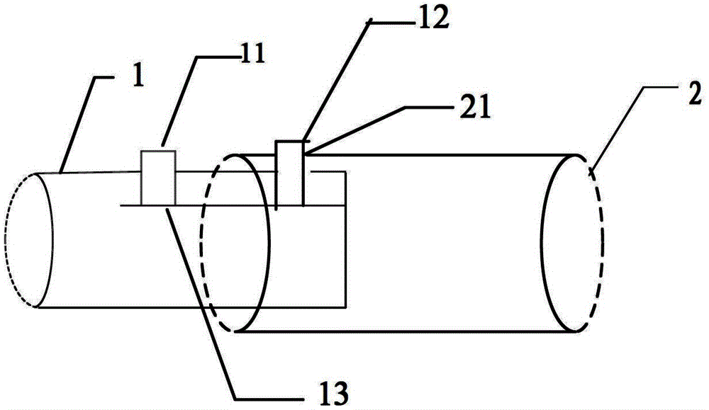
图1示出了本实用新型一种绝缘杆的杆体连接工具的结构示意图。Fig. 1 shows a structural schematic diagram of a rod connecting tool for insulating rods of the present invention.
具体实施方式Detailed ways
下面将结合本实用新型实施例中的附图,对本实用新型实施例中的技术方案进行清楚、完整地描述,显然,所描述的实施例仅仅是本实用新型一部分实施例,而不是全部的实施例。基于本实用新型中的实施例,本领域普通技术人员在没有做出创造性劳动前提下所获得的所有其他实施例,都属于本实用新型保护的范围。The technical solutions in the embodiments of the present invention will be clearly and completely described below in conjunction with the accompanying drawings in the embodiments of the present invention. Obviously, the described embodiments are only part of the embodiments of the present invention, not all of them. example. Based on the embodiments of the present utility model, all other embodiments obtained by persons of ordinary skill in the art without making creative efforts belong to the scope of protection of the present utility model.
参见图1示出可本实用新型一种绝缘杆的杆体连接工具的结构示意图。在本实用新型中,该工具包括:第一套管1和第二套管2,其中第一套管1嵌套在第二套管2的内部。Referring to FIG. 1 , it shows a structural schematic diagram of a rod connecting tool for an insulating rod according to the present invention. In the present invention, the tool includes: a first sleeve 1 and a second sleeve 2 , wherein the first sleeve 1 is nested inside the second sleeve 2 .
另外,在第一套管1的上表面上还贯穿设置有第一凸起11和第二凸起12,在第一套管1的内部设置有分别于第一凸起11和第二凸起12相连接的弹性支架13,其中该弹性支架13靠近第二凸起的一端固定在第一套管的侧壁上。In addition, a first protrusion 11 and a second protrusion 12 are provided through the upper surface of the first sleeve 1 , and the first protrusion 11 and the second protrusion 12 are provided inside the first sleeve 1 respectively. 12 connected elastic support 13, wherein one end of the elastic support 13 close to the second protrusion is fixed on the side wall of the first casing.
需要说明的是,在第二套管2上设置有与第二凸起12相适配的通孔21,第二凸起12可卡接在通孔21上。It should be noted that a through hole 21 matching the second protrusion 12 is provided on the second sleeve 2 , and the second protrusion 12 can be snapped into the through hole 21 .
该工具用于绝缘杆的杆体之间的连接,使用该工具时,首先将第一套管1固定在一个杆体上,第二套管2固定在另一个杆体上。由于该工具的第一凸起11通过弹性支架13与第二凸起12相连,且该弹性支架13靠近第二凸起12的一端固定在第一套管的侧壁上,因而当按下第一凸起11时,第一凸起11通过弹性支架13带动第二凸起12也向下运动。从而将第一套管1插入第二套管2内部,进一步,松开第一凸起11,由于弹性支架的弹力作用,第一凸起11和第二凸起12恢复到正常状态,从而将第二凸起12卡接在第二套管2的通孔21上,以达到固定杆体的目的。本实用新型没有采用螺纹固定,不会产生螺纹被磨平的情况,因而提高了绝缘杆的使用寿命。The tool is used for the connection between the rod bodies of insulating rods. When using the tool, the first bushing 1 is first fixed on one rod body, and the second bushing 2 is fixed on the other rod body. Because the first protrusion 11 of this tool is connected with the second protrusion 12 by the elastic bracket 13, and the end of the elastic bracket 13 near the second protrusion 12 is fixed on the side wall of the first sleeve, so when the second protrusion is pressed When there is a protrusion 11 , the first protrusion 11 drives the second protrusion 12 to move downward through the elastic bracket 13 . Therefore, the first sleeve 1 is inserted into the second sleeve 2, and further, the first protrusion 11 is released, and due to the elastic force of the elastic support, the first protrusion 11 and the second protrusion 12 return to the normal state, thereby the The second protrusion 12 is clamped on the through hole 21 of the second sleeve 2 to achieve the purpose of fixing the rod body. The utility model does not adopt thread fixing, and the thread will not be ground flat, thus improving the service life of the insulating rod.
对所公开的实施例的上述说明,使本领域专业技术人员能够实现或使用本实用新型。对这些实施例的多种修改对本领域的专业技术人员来说将是显而易见的,本文中所定义的一般原理可以在不脱离本实用新型的精神或范围的情况下,在其它实施例中实现。因此,本实用新型将不会被限制于本文所示的这些实施例,而是要符合与本文所公开的原理和新颖特点相一致的最宽的范围。The above description of the disclosed embodiments enables those skilled in the art to realize or use the utility model. Various modifications to these embodiments will be readily apparent to those skilled in the art, and the general principles defined herein may be implemented in other embodiments without departing from the spirit or scope of the invention. Therefore, the present invention will not be limited to these embodiments shown herein, but will conform to the widest scope consistent with the principles and novel features disclosed herein.
Claims (1)
Priority Applications (1)
| Application Number | Priority Date | Filing Date | Title |
|---|---|---|---|
| CN2013203696612U CN203321983U (en) | 2013-06-25 | 2013-06-25 | Rod body connecting tool for insulating rod |
Applications Claiming Priority (1)
| Application Number | Priority Date | Filing Date | Title |
|---|---|---|---|
| CN2013203696612U CN203321983U (en) | 2013-06-25 | 2013-06-25 | Rod body connecting tool for insulating rod |
Publications (1)
| Publication Number | Publication Date |
|---|---|
| CN203321983U true CN203321983U (en) | 2013-12-04 |
Family
ID=49661338
Family Applications (1)
| Application Number | Title | Priority Date | Filing Date |
|---|---|---|---|
| CN2013203696612U Expired - Fee Related CN203321983U (en) | 2013-06-25 | 2013-06-25 | Rod body connecting tool for insulating rod |
Country Status (1)
| Country | Link |
|---|---|
| CN (1) | CN203321983U (en) |
Cited By (1)
| Publication number | Priority date | Publication date | Assignee | Title |
|---|---|---|---|---|
| CN106890689A (en) * | 2017-02-23 | 2017-06-27 | 苏州欣祥本机械科技有限公司 | A kind of foldable iron pallet for high school chemical experiment |
-
2013
- 2013-06-25 CN CN2013203696612U patent/CN203321983U/en not_active Expired - Fee Related
Cited By (1)
| Publication number | Priority date | Publication date | Assignee | Title |
|---|---|---|---|---|
| CN106890689A (en) * | 2017-02-23 | 2017-06-27 | 苏州欣祥本机械科技有限公司 | A kind of foldable iron pallet for high school chemical experiment |
Similar Documents
| Publication | Publication Date | Title |
|---|---|---|
| CN203321983U (en) | Rod body connecting tool for insulating rod | |
| CN204230439U (en) | A kind of copper pipe bus transition joint fixture | |
| CN203631771U (en) | Angle-adjustable ground wire device | |
| CN204252623U (en) | A kind of easy-to-mount bracing wire sheath | |
| CN204089047U (en) | A kind of fixing-line device and pull bar combination tool | |
| CN204049542U (en) | A kind of high-altitude rinse arm | |
| CN202094324U (en) | Wire splicing joint | |
| CN204459560U (en) | A kind of return tube riveted structure | |
| CN202026035U (en) | Wire fixing device for live line work of overhead line | |
| CN204565374U (en) | Telescopic electric welding pen | |
| CN204129291U (en) | Optical cable fixing device | |
| CN205487842U (en) | Vacuum circuit breaker touches installation frock of arm and contact | |
| CN203335577U (en) | Countersunk bolt for pressing wire | |
| CN204858464U (en) | A electric wire fixing device for ceramic tile face is fixed | |
| CN204309406U (en) | Telescopic jet graph plotter delivery device | |
| CN204130341U (en) | A kind of mould syndeton of transformer | |
| CN202466919U (en) | Connecting piece for integrated ceiling | |
| CN203452847U (en) | Pendant pipeline hook for channel | |
| CN203325737U (en) | Adjustable brake pull-rod | |
| CN203226600U (en) | Ring for hanging objects | |
| CN204640094U (en) | The wrinkle resistant sheath assembly tool of oil return pipe | |
| CN202564878U (en) | Pipe fitting joint for lead connection | |
| CN204651289U (en) | Bulb removable device | |
| CN204508713U (en) | A kind of link span | |
| CN203146531U (en) | Large-diameter bolt |
Legal Events
| Date | Code | Title | Description |
|---|---|---|---|
| C14 | Grant of patent or utility model | ||
| GR01 | Patent grant | ||
| CF01 | Termination of patent right due to non-payment of annual fee | ||
| CF01 | Termination of patent right due to non-payment of annual fee |
Granted publication date: 20131204 Termination date: 20200625 |
