CN203310371U - Connector detection system based on machine vision - Google Patents

Connector detection system based on machine vision Download PDF

Info

Publication number
CN203310371U
CN203310371U CN2013203317033U CN201320331703U CN203310371U CN 203310371 U CN203310371 U CN 203310371U CN 2013203317033 U CN2013203317033 U CN 2013203317033U CN 201320331703 U CN201320331703 U CN 201320331703U CN 203310371 U CN203310371 U CN 203310371U
Authority
CN
China
Prior art keywords
light source
camera
web member
plate
machine vision
Prior art date
Legal status (The legal status is an assumption and is not a legal conclusion. Google has not performed a legal analysis and makes no representation as to the accuracy of the status listed.)
Expired - Fee Related
Application number
CN2013203317033U
Other languages
Chinese (zh)
Inventor
孙怀远
张劼
周夫之
郑玉涛
Current Assignee (The listed assignees may be inaccurate. Google has not performed a legal analysis and makes no representation or warranty as to the accuracy of the list.)
SHANGHAI MEDICAL INSTRUMENTATION COLLEGE
University of Shanghai for Science and Technology
Original Assignee
SHANGHAI MEDICAL INSTRUMENTATION COLLEGE
University of Shanghai for Science and Technology
Priority date (The priority date is an assumption and is not a legal conclusion. Google has not performed a legal analysis and makes no representation as to the accuracy of the date listed.)
Filing date
Publication date
Application filed by SHANGHAI MEDICAL INSTRUMENTATION COLLEGE, University of Shanghai for Science and Technology filed Critical SHANGHAI MEDICAL INSTRUMENTATION COLLEGE
Priority to CN2013203317033U priority Critical patent/CN203310371U/en
Application granted granted Critical
Publication of CN203310371U publication Critical patent/CN203310371U/en
Anticipated expiration legal-status Critical
Expired - Fee Related legal-status Critical Current

Links

Images

Landscapes

  • Length Measuring Devices By Optical Means (AREA)

Abstract

本实用新型涉及一种基于机器视觉的连接件检测系统,支柱固定连接在底板前端中间,支柱上部安装有相机支承板,相机支承板后端上面安装有相机,相机支承板后端下面通过Z形支承板固定连接同轴光源,且同轴光源位于相机正下方;底板后部上面安装背板光源,背板光源上面固定连接支承框,支承框表面中装有玻璃板,支承框前部上面装有定位块,定位块内侧表面上装有弹性片;相机、同轴光源和定位块自上而下垂直对中;相机与操作系统连接,同轴光源和背板光源均与光源控制器相连。本实用新型具有结构紧凑简单、操作方便快捷、工作过程平稳、检测结果准确稳定等特点,能减轻劳动强度、提高产品检测精度和效率。

Figure 201320331703

The utility model relates to a connector detection system based on machine vision. A pillar is fixedly connected in the middle of the front end of a bottom plate. A camera support plate is installed on the upper part of the pillar. A camera is installed on the rear end of the camera support plate. The support plate is fixedly connected to the coaxial light source, and the coaxial light source is located directly below the camera; the back plate light source is installed on the rear of the bottom plate, and the back plate light source is fixedly connected to the support frame, the glass plate is installed on the surface of the support frame, and the front of the support frame is mounted There is a positioning block, and an elastic sheet is installed on the inner surface of the positioning block; the camera, the coaxial light source and the positioning block are aligned vertically from top to bottom; the camera is connected to the operating system, and the coaxial light source and the back panel light source are connected to the light source controller. The utility model has the characteristics of compact and simple structure, convenient and fast operation, stable working process, accurate and stable detection results, etc., which can reduce labor intensity and improve product detection accuracy and efficiency.

Figure 201320331703

Description

Web member detection system based on machine vision
Technical field
The utility model relates to a kind of detection system, especially a kind of detection system of web member based on machine vision.
Background technology
Along with expanding economy, all trades and professions are more and more higher to the requirement of product quality.At present, industrial technology advanced person's country has realized that all the web member production run that is applied to network communication apparatus detects online, and China substantially still adopts the manual detection method to reject substandard products, labor strength is large, production efficiency is low, and is easy to cause testing result unstable, even inaccurate.Constantly perfect along with the development of IT technology and digital image processing method, utilize the contactless automatic detection of realizing of Robot Vision product quality to become practical, for this reason, machine vision technique is applied to the web member qualification to be detected, design is based on the web member detection system of machine vision, with realize the web member quality of production fast, reliable, automatic gauging and monitoring.
Summary of the invention
The utility model is that a kind of detection system of web member based on machine vision will be provided, can be applicable to the Detection & Controling fast and automatically of web member qualification, have the web member detection system of the characteristics such as compact conformation is simple, convenient to operation, the course of work steady, testing result accurate stable, the labor strength of bringing be used to the manual detection method that solves current employing is large, production efficiency is low, testing result is unstable and inaccurate technical matters.
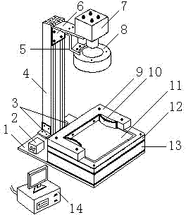
The utility model is that to solve the problems of the technologies described above the technical scheme adopted as follows: a kind of detection system of web member based on machine vision, comprise base plate, pillar, camera, coaxial light source, locating piece, flexure strip, glass plate, supporting frame, backboard light source, light source controller, operating system, be characterized in: pillar is fixedly connected in the middle of the base plate front end, pillar top is equipped with the camera support plate, the camera support plate is equipped with camera above rear end, camera support plate rear end is fixedly connected with coaxial light source below by Z-shaped support plate, and coaxial light source is positioned under camera; Base plate is installed backboard light source above rear portion, above backboard light source, is fixedly connected with supporting frame, and supporting frame is equipped with glass plate in surface, and supporting frame is equipped with locating piece above front portion, on the locating piece inner surface, flexure strip is housed; Camera, coaxial light source and locating piece be vertical centering from top to bottom; Camera is connected with operating system, and coaxial light source all is connected with light source controller with backboard light source.
Camera is black and white face battle array or linear array industrial camera, be used to gathering the web member image.Glass plate is transparency glass plate.Light source controller is placed in above the left front end of base plate, and operating system is positioned at the base plate left side.
The utility model compared with prior art has following beneficial effect:
1. based on the web member detection system of machine vision, adopt the unit module array configuration, compact conformation is simple, dismounting and adjustment easy, easy to maintenance.
2. convenient to operation, but single-set operation also can be assembled online use, is the ideal product of realizing that the quality testing of web member production run is controlled.
3. the applied for machines vision technique is realized the contactless automatic detection of web member qualification, and labor intensity of operating staff is low, efficiency is high, the testing result accurate stable.
4. can realize quick, steady, the automatic detecting & monitoring that web member is produced, provide good basic condition for web member manufacturing enterprise realizes computer integrated control and digital management.
The accompanying drawing explanation
Fig. 1 is structural upright schematic diagram of the present utility model.
Embodiment
The utility model will be further described with enforcement below in conjunction with accompanying drawing.
As shown in Figure 1, web member based on machine vision detection system of the present utility model, comprise base plate 1, contiguous block 3, pillar 4, Z-shaped support plate 5, camera support plate 6, camera 7, coaxial light source 8, locating piece 9, flexure strip 10, glass plate 11, supporting frame 12, backboard light source 13, light source controller 2, operating system 14.
Pillar 4 is installed in the middle of base plate 1 front end by two contiguous blocks 3, pillar 1 top is equipped with camera support plate 6, black and white face battle array or linear array industrial camera 7 are arranged on above camera support plate 6 rear ends, Z-shaped support plate 5 is fixed on below camera support plate 6, coaxial light source 8 is contained on Z-shaped support plate 5, and is positioned under camera 7; Backboard light source 13 is arranged on base plate 1 rear portion, and supporting frame 12 is arranged on backboard light source 13, and transparent glass plate 11 is contained in supporting frame 12 surfaces, and locating piece 9 is arranged on supporting frame 12 front portions, on locating piece 9 inner surfaces, flexure strip 10 is housed; Camera 7, coaxial light source 8 and locating piece 9 be vertical centering from top to bottom; Light source controller 2 is placed in the left front end of base plate 1, all with light source controller 2, is connected with backboard light source 13 be used to the coaxial light source 8 that irradiates web member; Operating system 14 is positioned at base plate 1 left side, is connected with operating system 14 be used to the camera 7 that gathers the web member image.
During work, first open the operating system 14 based on machine vision technique, and make camera 7 in running order, then open coaxial light source 8 and backboard light source 13.After entering workflow, web member to be measured is placed on glass plate 11, by the flexure strip 10 on locating piece 9 inner surfaces, positioned; Then by light source controller 2, regulate the brightness of each light source, the web member image that makes camera 7 gather and be transferred to operating system 14 meets the requirements; Afterwards, operating system 14 utilizes software to analyze and process image, the qualification of judgement web member.For defective, system will be indicated and report to the police.

Claims (4)

1. detection system of the web member based on machine vision, comprise base plate (1), pillar (4), camera (7), coaxial light source (8), locating piece (9), flexure strip (10), glass plate (11), supporting frame (12), backboard light source (13), light source controller (2), operating system (14), it is characterized in that: described pillar (4) is fixedly connected in the middle of base plate (1) front end, pillar (1) top is equipped with camera support plate (6), camera support plate (6) is equipped with camera (7) above rear end, camera support plate (6) rear end is fixedly connected with coaxial light source (8) below by Z-shaped support plate (5), and coaxial light source (8) is positioned under camera (7), base plate (1) is installed backboard light source (13) above rear portion, above backboard light source (13), be fixedly connected with supporting frame (12), supporting frame (12) is equipped with glass plate (11) in surface, supporting frame (12) is equipped with locating piece (9) above front portion, on locating piece (9) inner surface, flexure strip (10) is housed, camera (7), coaxial light source (8) and locating piece (9) be vertical centering from top to bottom, camera (7) is connected with operating system (14), and coaxial light source (8) all is connected with light source controller (2) with backboard light source (13).
2. the detection system of the web member based on machine vision according to claim 1, is characterized in that, described camera (7) is black and white face battle array or linear array industrial camera, be used to gathering the web member image.
3. the detection system of the web member based on machine vision according to claim 1, is characterized in that, described glass plate (11) is transparency glass plate.
4. the detection system of the web member based on machine vision according to claim 1, is characterized in that, described light source controller (2) is placed in above the left front end of base plate (1), and described operating system (14) is positioned at base plate (1) left side.
CN2013203317033U 2013-06-09 2013-06-09 Connector detection system based on machine vision Expired - Fee Related CN203310371U (en)

Priority Applications (1)

Application Number Priority Date Filing Date Title
CN2013203317033U CN203310371U (en) 2013-06-09 2013-06-09 Connector detection system based on machine vision

Applications Claiming Priority (1)

Application Number Priority Date Filing Date Title
CN2013203317033U CN203310371U (en) 2013-06-09 2013-06-09 Connector detection system based on machine vision

Publications (1)

Publication Number Publication Date
CN203310371U true CN203310371U (en) 2013-11-27

Family

ID=49616574

Family Applications (1)

Application Number Title Priority Date Filing Date
CN2013203317033U Expired - Fee Related CN203310371U (en) 2013-06-09 2013-06-09 Connector detection system based on machine vision

Country Status (1)

Country Link
CN (1) CN203310371U (en)

Cited By (3)

* Cited by examiner, † Cited by third party
Publication number Priority date Publication date Assignee Title
CN104677782A (en) * 2015-02-13 2015-06-03 江苏大学 Machine vision online detection system and method for electric connector shell
CN105371888A (en) * 2015-11-27 2016-03-02 航天东方红卫星有限公司 Satellite electric connector plugging examination system and method based on machine vision
CN114473241A (en) * 2022-03-04 2022-05-13 安徽熙泰智能科技有限公司 Bright point repairing method suitable for Micro OLED

Cited By (4)

* Cited by examiner, † Cited by third party
Publication number Priority date Publication date Assignee Title
CN104677782A (en) * 2015-02-13 2015-06-03 江苏大学 Machine vision online detection system and method for electric connector shell
CN105371888A (en) * 2015-11-27 2016-03-02 航天东方红卫星有限公司 Satellite electric connector plugging examination system and method based on machine vision
CN114473241A (en) * 2022-03-04 2022-05-13 安徽熙泰智能科技有限公司 Bright point repairing method suitable for Micro OLED
CN114473241B (en) * 2022-03-04 2023-11-07 安徽熙泰智能科技有限公司 Bright spot repairing method suitable for Micro OLED

Similar Documents

Publication Publication Date Title
CN102095732B (en) Rotary part surface quality detection system
CN102095373B (en) System for detecting size of sealing member
CN109580642B (en) Film material gluing surface defect analysis control system and method thereof
CN203310371U (en) Connector detection system based on machine vision
CN104459602A (en) Intelligent detection device for electric energy meters returned back through disassembly
CN204182595U (en) A kind of lithium ion battery surface defect detection equipment
CN103278092A (en) Connecting piece detecting system based on machine vision
CN208596208U (en) A kind of liquid crystal display simple detection device
CN202452961U (en) Solar frame automatic detecting device
CN108982529A (en) A kind of power battery coating quality vision-based detection platform and detection method
CN203672319U (en) Automation equipment for visual inspection of large-scale automobile parts
CN208091376U (en) A mobile phone shell length and width and step depth detection equipment
CN204269810U (en) Tear back electric energy meter intelligent detection device open
CN201935668U (en) System used for detecting dimensions of sealing piece
CN201984042U (en) Rotation-type part surface quality detecting system
CN202133348U (en) Automobile glass cutting dimension statistical process control detector
CN204202561U (en) A kind of coating dew paper tinsel on-line measuring device
CN103616776B (en) The apparatus and method of a kind of machine automatic gauging liquid crystal module and assembling one
CN102789752A (en) Visual detection system of LCD display screen
CN207964658U (en) Lithium battery pole piece cutting burr detection device
CN203772221U (en) Automobile metal sheet position and size detection system
CN204741622U (en) Tin foot roughness of SMT paster product detects and adjusting device
CN205466546U (en) Cross cutting machine detection device
CN205344152U (en) Laser marking detects and alarm device
CN205271182U (en) Battery terminal welding set

Legal Events

Date Code Title Description
C14 Grant of patent or utility model
GR01 Patent grant
C17 Cessation of patent right
CF01 Termination of patent right due to non-payment of annual fee

Granted publication date: 20131127

Termination date: 20140609