CN203300916U - 卷尺型便捷式插排装置 - Google Patents

卷尺型便捷式插排装置 Download PDF

Info

Publication number
CN203300916U
CN203300916U CN2013202890051U CN201320289005U CN203300916U CN 203300916 U CN203300916 U CN 203300916U CN 2013202890051 U CN2013202890051 U CN 2013202890051U CN 201320289005 U CN201320289005 U CN 201320289005U CN 203300916 U CN203300916 U CN 203300916U
Authority
CN
China
Prior art keywords
plug
power cord
storage box
type portable
utility
Prior art date
Legal status (The legal status is an assumption and is not a legal conclusion. Google has not performed a legal analysis and makes no representation as to the accuracy of the status listed.)
Expired - Fee Related
Application number
CN2013202890051U
Other languages
English (en)
Inventor
陆玉亭
Current Assignee (The listed assignees may be inaccurate. Google has not performed a legal analysis and makes no representation or warranty as to the accuracy of the list.)
Changzhou Vocational Institute of Textile and Garment
Original Assignee
Changzhou Vocational Institute of Textile and Garment
Priority date (The priority date is an assumption and is not a legal conclusion. Google has not performed a legal analysis and makes no representation as to the accuracy of the date listed.)
Filing date
Publication date
Application filed by Changzhou Vocational Institute of Textile and Garment filed Critical Changzhou Vocational Institute of Textile and Garment
Priority to CN2013202890051U priority Critical patent/CN203300916U/zh
Application granted granted Critical
Publication of CN203300916U publication Critical patent/CN203300916U/zh
Anticipated expiration legal-status Critical
Expired - Fee Related legal-status Critical Current

Links

Images

Landscapes

  • Coupling Device And Connection With Printed Circuit (AREA)

Abstract

本实用新型公开了一种卷尺型便捷式插排装置,它包括收纳盒、插头、电源线和插排,电源线的一端与插头电性连接,电源线的另一端与插排电性连接,收纳盒内安装有可自动收回的弹簧转盘,电源线缠绕在弹簧转盘上,收纳盒上还安装有可限定电源线拉出收纳盒的长度的按钮组件。本实用新型的电源线长度可变,使用时可根据需要在一定长度范围类进行调节,不用可自动收集整理,并且便于携带。

Description

卷尺型便捷式插排装置
技术领域
    本实用新型涉及一种卷尺型便捷式插排装置。 
背景技术
目前,拖线板是常用的电源延长和扩展设备,但是目前大多数拖线板是固定长度的,为了提高拖线板的适应性,大家常常会挑电源线长点的,但在使用过程中我们很少去整理多余长度的电源线,造成环境的杂乱和一定的安全隐患,并且这类拖线板体积相当较大,不便于携带。 
发明内容
本实用新型所要解决的技术问题是克服现有技术的缺陷,提供一种卷尺型便捷式插排装置,它的电源线长度可变,使用时可根据需要在一定长度范围类进行调节,不用可自动收集整理,并且便于携带。 
    本实用新型解决上述技术问题采取的技术方案是:一种卷尺型便捷式插排装置,它包括收纳盒、插头、电源线和插排,电源线的一端与插头电性连接,电源线的另一端与插排电性连接,收纳盒内安装有可自动收回的弹簧转盘,电源线缠绕在弹簧转盘上,收纳盒上还安装有可限定电源线拉出收纳盒的长度的按钮组件。 
进一步,所述的插头位于收纳盒的上侧,所述的插排位于收纳盒的下侧。 
进一步,所述的插排上具有至少一个两线插孔和至少一个三线插孔。 
更进一步,所述的电源线为扁平形结构。 
采用了上述技术方案后,本实用新型采用自动卷尺的原理,平时会利用收纳盒内部中心的弹簧转盘将电源线按规则整理在收纳盒内,使用时可根据需要拉出一定范围的电源线,然后按下按钮组件,电源线由于外力固定作用不会收回,为用户提供适合长度的电源供给,并且减少了电源线放置空间,便于携带,另外,本插排具有多种插孔,方便了多种设备的使用,电源线为扁平形结构,方便了收纳盒内能够放置更多的电源线。 
附图说明
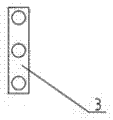
图1为本实用新型的卷尺型便捷式插排装置的结构示意图; 
图2为本实用新型的电源线的结构示意图;
图3为图2的左视图。
具体实施方式
   为了使本实用新型的内容更容易被清楚地理解,下面根据具体实施例并结合附图,对本实用新型作进一步详细的说明。 
如图1所示,一种卷尺型便捷式插排装置,它包括收纳盒1、插头2、电源线3和插排4,电源线3的一端与插头2电性连接,电源线3的另一端与插排4电性连接,收纳盒1内安装有可自动收回的弹簧转盘5,电源线3缠绕在弹簧转盘5上,收纳盒1上还安装有可限定电源线3拉出收纳盒1的长度的按钮组件6。 
插头2位于收纳盒1的上侧,插排4位于收纳盒1的下侧。 
插排4上具有至少一个两线插孔4-1和至少一个三线插孔4-2。 
电源线3为扁平形结构。 
本实用新型的工作原理如下: 
本实用新型采用自动卷尺的原理,平时会利用收纳盒1内部中心的弹簧转盘5将电源线3按规则整理在收纳盒1内,使用时可根据需要拉出一定范围的电源线3,然后按下按钮组件6,电源线3由于外力固定作用不会收回,为用户提供适合长度的电源供给,并且减少了电源线3放置空间,便于携带,另外,本插排4具有多种插孔,方便了多种设备的使用,电源线3为扁平形结构,方便了收纳盒1内能够放置更多的电源线3。
以上所述的具体实施例,对本实用新型的目的、技术方案和有益效果进行了进一步详细说明,所应理解的是,以上所述仅为本实用新型的具体实施例而已,并不用于限制本实用新型,凡在本实用新型的精神和原则之内,所做的任何修改、等同替换、改进等,均应包含在本实用新型的保护范围之内。 

Claims (4)

1.一种卷尺型便捷式插排装置,其特征在于:它包括收纳盒(1)、插头(2)、电源线(3)和插排(4),电源线(3)的一端与插头(2)电性连接,电源线(3)的另一端与插排(4)电性连接,收纳盒(1)内安装有可自动收回的弹簧转盘(5),电源线(3)缠绕在弹簧转盘(5)上,收纳盒(1)上还安装有可限定电源线(3)拉出收纳盒(1)的长度的按钮组件(6)。
2.根据权利要求1所述的卷尺型便捷式插排装置,其特征在于:所述的插头(2)位于收纳盒(1)的上侧,所述的插排(4)位于收纳盒(1)的下侧。
3.根据权利要求1或2所述的卷尺型便捷式插排装置,其特征在于:所述的插排(4)上具有至少一个两线插孔(4-1)和至少一个三线插孔(4-2)。
4.根据权利要求1或2所述的卷尺型便捷式插排装置,其特征在于:所述的电源线(3)为扁平形结构。
CN2013202890051U 2013-09-26 2013-09-26 卷尺型便捷式插排装置 Expired - Fee Related CN203300916U (zh)

Priority Applications (1)

Application Number Priority Date Filing Date Title
CN2013202890051U CN203300916U (zh) 2013-09-26 2013-09-26 卷尺型便捷式插排装置

Applications Claiming Priority (1)

Application Number Priority Date Filing Date Title
CN2013202890051U CN203300916U (zh) 2013-09-26 2013-09-26 卷尺型便捷式插排装置

Publications (1)

Publication Number Publication Date
CN203300916U true CN203300916U (zh) 2013-11-20

Family

ID=49576899

Family Applications (1)

Application Number Title Priority Date Filing Date
CN2013202890051U Expired - Fee Related CN203300916U (zh) 2013-09-26 2013-09-26 卷尺型便捷式插排装置

Country Status (1)

Country Link
CN (1) CN203300916U (zh)

Cited By (7)

* Cited by examiner, † Cited by third party
Publication number Priority date Publication date Assignee Title
CN103915735A (zh) * 2014-03-24 2014-07-09 浙江朝晖过滤技术股份有限公司 一种外置式空气净化器用电源装置
CN105469871A (zh) * 2016-01-28 2016-04-06 苏州路之遥科技股份有限公司 一种抗共模干扰三层扁平屏蔽电源线
CN105469870A (zh) * 2016-01-28 2016-04-06 苏州路之遥科技股份有限公司 一种抗共模干扰三层扁平电源线
CN105513690A (zh) * 2016-01-28 2016-04-20 苏州路之遥科技股份有限公司 一种抗干扰三层扁平屏蔽电源线
CN105679422A (zh) * 2016-01-28 2016-06-15 苏州路之遥科技股份有限公司 一种抗共模干扰三层扁平屏蔽电缆
CN108199198A (zh) * 2018-02-14 2018-06-22 李海亮 一种新型插排
CN108213011A (zh) * 2017-07-28 2018-06-29 广州腾耐计算机科技有限公司 一种新型电力供电用的排插装置

Cited By (7)

* Cited by examiner, † Cited by third party
Publication number Priority date Publication date Assignee Title
CN103915735A (zh) * 2014-03-24 2014-07-09 浙江朝晖过滤技术股份有限公司 一种外置式空气净化器用电源装置
CN105469871A (zh) * 2016-01-28 2016-04-06 苏州路之遥科技股份有限公司 一种抗共模干扰三层扁平屏蔽电源线
CN105469870A (zh) * 2016-01-28 2016-04-06 苏州路之遥科技股份有限公司 一种抗共模干扰三层扁平电源线
CN105513690A (zh) * 2016-01-28 2016-04-20 苏州路之遥科技股份有限公司 一种抗干扰三层扁平屏蔽电源线
CN105679422A (zh) * 2016-01-28 2016-06-15 苏州路之遥科技股份有限公司 一种抗共模干扰三层扁平屏蔽电缆
CN108213011A (zh) * 2017-07-28 2018-06-29 广州腾耐计算机科技有限公司 一种新型电力供电用的排插装置
CN108199198A (zh) * 2018-02-14 2018-06-22 李海亮 一种新型插排

Similar Documents

Publication Publication Date Title
CN203300916U (zh) 卷尺型便捷式插排装置
CN206022806U (zh) 一种具有卷线功能的插线板
CN204577906U (zh) 便携式多功能检修电源箱
CN203521807U (zh) 一种卷尺式插座
CN206203595U (zh) 一种数据线收纳器
CN203826659U (zh) 多孔位可伸缩插座
CN104868330A (zh) 一种立式电源转换器
CN202651485U (zh) 室外防雨防尘防水电源插板盒
CN205595513U (zh) 一种新型便携式可收纳导线插座
CN205406864U (zh) 一种电力用插板
CN202798070U (zh) 一种便捷式充电装置
CN201789143U (zh) 可绕线式插线板
CN204349037U (zh) 一种移动式电源插座
CN201256204Y (zh) 可拉长插线板
CN207732131U (zh) 一种试验室易拔插头装置
CN201898254U (zh) 一种电源连接器的绕线结构
CN207925805U (zh) 一种智能插座
CN206076600U (zh) 一种柔性太阳能电池板用接线插件壳
CN205488904U (zh) 一种带可插拔usb插座的接线板
CN204407573U (zh) 一种带有挂钩的插座
CN203690575U (zh) 插座
CN203747114U (zh) 吸附式电源线插头套
CN203014047U (zh) 防老化电源插座
CN202997160U (zh) 一种抽拉式插座
CN202423763U (zh) 便携式插座

Legal Events

Date Code Title Description
C14 Grant of patent or utility model
GR01 Patent grant
CF01 Termination of patent right due to non-payment of annual fee
CF01 Termination of patent right due to non-payment of annual fee

Granted publication date: 20131120

Termination date: 20180926