CN203294895U - Cutting machine - Google Patents

Cutting machine Download PDF

Info

Publication number
CN203294895U
CN203294895U CN2013203558720U CN201320355872U CN203294895U CN 203294895 U CN203294895 U CN 203294895U CN 2013203558720 U CN2013203558720 U CN 2013203558720U CN 201320355872 U CN201320355872 U CN 201320355872U CN 203294895 U CN203294895 U CN 203294895U
Authority
CN
China
Prior art keywords
sensor
controller
cutting
actuating device
bench board
Prior art date
Legal status (The legal status is an assumption and is not a legal conclusion. Google has not performed a legal analysis and makes no representation as to the accuracy of the status listed.)
Expired - Fee Related
Application number
CN2013203558720U
Other languages
Chinese (zh)
Inventor
周天毫
Current Assignee (The listed assignees may be inaccurate. Google has not performed a legal analysis and makes no representation or warranty as to the accuracy of the list.)
Suzhou Suteng Electronic Technology Co Ltd
Original Assignee
Suzhou Suteng Electronic Technology Co Ltd
Priority date (The priority date is an assumption and is not a legal conclusion. Google has not performed a legal analysis and makes no representation as to the accuracy of the date listed.)
Filing date
Publication date
Application filed by Suzhou Suteng Electronic Technology Co Ltd filed Critical Suzhou Suteng Electronic Technology Co Ltd
Priority to CN2013203558720U priority Critical patent/CN203294895U/en
Application granted granted Critical
Publication of CN203294895U publication Critical patent/CN203294895U/en
Anticipated expiration legal-status Critical
Expired - Fee Related legal-status Critical Current

Links

Images

Landscapes

  • Details Of Cutting Devices (AREA)

Abstract

The utility model relates to a cutting machine comprising a bench, a discharge device, a conveying device, and a cutting device. The discharge device is mounted on the bench. A controller, a first sensor and a second sensor are further disposed on the bench, wherein the first sensor is connected with the second sensor. The cutting device locates partially above the conveying device. The cutting machine has the advantages that the controller coordinates with the first sensor, the second sensor, a first drive device, a cylinder and a second drive device to allow for accurate control of cutting and high automation level; an adjusting device allows the cutting machine to adapt to coils of different sizes and prevents the coils from deviating the center to affect the cutting; a receiving trough allows cut coils to be stored and avoids disarray in arrangement.

Description

Guillotine
Technical field
The utility model relates to a kind of guillotine.
Background technology
The precision that guillotine can be used for various coiled materials and sheet material cuts, and, as cutting of the materials such as gummed paper, high-strength reflective film, PVC film, leather, is applicable to the multiple industries such as electronics, automobile fitting.
Existing cutting means complex structure, complex operation, in the process that cuts, coiled material and sheet material easily move, and need to readjust coiled material and the sheet material center on bench board, have wasted a large amount of time, and the otch that cuts is irregular, impact cuts quality, has increased the productive costs of enterprise, and degree of automation is low.
The utility model content
The utility model has overcome the deficiencies in the prior art, and a kind of simple in structure, guillotine that degree of automation is high is provided.
For achieving the above object, the technical solution adopted in the utility model is: a kind of guillotine, comprise bench board, be arranged on discharging device, conveyer and cutting means on described bench board, also be provided with controller, the first sensor that is connected with described controller, the second sensor on described bench board, described cutting means partly is positioned at the top of described conveyer.
In preferred embodiment of the utility model, guillotine further comprises on described bench board and is arranged with two control apparatuss, described control apparatus comprises the adjusting part that two intervals arrange, described adjusting part comprises base plate, blend stop, is connected to the buckle on described blend stop, described base plate is provided with chute, and the lower end of described blend stop is inserted in described chute and by described buckle, is fixed on described base plate.
In preferred embodiment of the utility model, two supports that guillotine comprises further that described conveyer comprises the first actuating device, the driving wheel that connects by belt conveyor is connected with flower wheel respectively is connected with flower wheel with described driving wheel, described support comprises symmetrically arranged support plate, wears the fulcrum of described support plate, described fulcrum is connected with described the first actuating device, and described the first actuating device is connected with described controller.
In preferred embodiment of the utility model, guillotine further comprises on described belt conveyor and is bonded with rubber layer.
In preferred embodiment of the utility model, guillotine comprises that further described bench board is provided with near an end of described flower wheel the groove that connects material.
In preferred embodiment of the utility model, guillotine further comprise described cutting means comprise cut frame, with the described cylinder that frame is connected and the cutting knife that is connected with described cylinder of cutting, described cylinder is connected with described controller.
In preferred embodiment of the utility model, guillotine comprises that further described discharging device comprises symmetrically arranged discharging frame, wears the dispensing shaft of described discharging frame, the second actuating device that is set in the emptying roller on described dispensing shaft and with described dispensing shaft, is connected, and described the second actuating device is connected with described controller.
The utlity model has following beneficial effect:
1,, by the coordinating of controller and first sensor, the second sensor, the first actuating device, cylinder, the second actuating device, realize the accurate control that cuts, degree of automation is high;
2, can be suitable for the coiled material of different sizes by arranging of control apparatus, avoid coiled material to depart from center, impact cuts effect;
3, the arranging of groove that connect material can store the coiled material that cuts, and avoids mixed and disorderly placement.
Description of drawings
Below in conjunction with drawings and Examples, the utility model is further illustrated.
Fig. 1 is the structural representation of preferred embodiment of the present utility model;
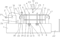
in figure: 1, bench board, 2, discharging device, 3, conveyer, 4, cutting means, 5, controller, 6, first sensor, 7, the second sensor, 8, pole, 9, adjusting part, 10, base plate, 11, blend stop, 12, buckle, 13, chute, 14, the first actuating device, 15, belt conveyor, 16, driving wheel, 17, flower wheel, 18, support, 19, support plate, 20, fulcrum, 21, rubber layer, 22, groove connects material, 23, cut frame, 24, cylinder, 25, cutting knife, 26, discharging frame, 27, dispensing shaft, 28, emptying roller, 29, the second actuating device, 30, cylinder arm, 31, coiled material.
The specific embodiment
In conjunction with the accompanying drawings and embodiments the utility model is described in further detail now, these accompanying drawings are the schematic diagram of simplification, basic structure of the present utility model only is described in a schematic way, so it only show the formation relevant with the utility model.
As shown in Figure 1, a kind of guillotine, comprise bench board 1, be arranged on discharging device 2, conveyer 3 and cutting means 4 on bench board 1, also be provided with controller 5, the first sensor 6 that is connected with controller 5, the second sensor 7 on bench board 1, interval arranges two poles 8 on bench board 1, first sensor 6, the second sensor 7 are arranged on respectively on two poles 8, the length of the required coiled material that cuts 31 is half of distance between first sensor 6 and the second sensor 7, and cutting means 4 parts are positioned at the top of conveyer 3.
coiled material 31 for applicable different in width, be arranged with two control apparatuss on bench board 1, control apparatus comprises the adjusting part 9 that two intervals arrange, adjusting part 9 comprises base plate 10, blend stop 11, be connected to the buckle 12 on blend stop 11, base plate 10 is provided with chute 13, the lower end of blend stop 11 is inserted in chute 13 and by buckle 12, is fixed on base plate 10, blend stop 11 can move along chute 13, regulate the distance of two relative blend stops 11, thereby the coiled material of different in width 31 can be positioned in the space of two blend stops 11, avoid the movement of coiled material 31, make that to cut quality good.
Two supports 18 that are connected are connected, are connected with flower wheel with driving wheel 16 respectively to the driving wheel 16 that the preferred conveyer 3 of the utility model comprises the first actuating device 14, connect by belt conveyor 15 with flower wheel, the first actuating device 14 is motor, support 18 comprises symmetrically arranged support plate 19, wears the fulcrum 20 of support plate 19, fulcrum 20 on driving wheel 16 is connected with the first actuating device 14, and the first actuating device 14 is connected with controller 5.
For fear of when cutting to the damage of belt conveyor 15, be bonded with rubber layer 21 on belt conveyor 15.
The preferred bench board 1 of the utility model is provided with near an end of flower wheel 17 groove 22 that connects material, and is used for storing the coiled material 31 that cuts, and avoids mixed and disorderly placement.
Cutting means 4 comprise cut frame 23, with cut the cylinder 24 that frame 23 is connected and the cutting knife 25 that is connected with cylinder 24, cylinder 24 is connected with controller 5, cutting knife is along the Width setting of coiled material 31.
The second actuating device 29 that discharging device 2 comprises symmetrically arranged discharging frame 26, wears the dispensing shaft 27 of discharging frame 26, is set in the emptying roller 28 on dispensing shaft 27 and with dispensing shaft 27, is connected, the second actuating device is motor, and the second actuating device 29 is connected with controller 5.
Principle of work of the present utility model is as follows:
start controller 5, the second actuating device 29 moves by the coiled material 31 that dispensing shaft 27 drives on emptying roller 28, the first actuating device 14 motions simultaneously, driving coiled material 31 by belt conveyor 15 moves to first sensor 6, first sensor 6 passes to controller 5 with signal, when the second sensor 7 receives signal and passes to controller 5, controller 5 control cylinders 24 start, the cylinder arm 30 promotion cutting knifes 25 of cylinder 24 move downward and cut coiled material 31, obtain the coiled material 31 of required length, cylinder arm 30 backhauls of cylinder 24, belt conveyor 15 continues transmission, when the second sensor 7 receives for the second time signal and passes to controller 5, controller 5 control cylinders 24 start, the cylinder arm 30 promotion cutting knifes 25 of cylinder 24 move downward and cut coiled material 31, this action circulates, coiled material 31 after cutting is stored in the groove 22 that connects material.
Above foundation desirable embodiment of the present utility model is enlightenment, and by above-mentioned description, the related personnel can in the scope that does not depart from this utility model technological thought, carry out various change and modification fully.The technical scope of this utility model is not limited to the content on specification sheets, must determine technical scope according to the claim scope.

Claims (7)

1. guillotine, it is characterized in that: comprise bench board, be arranged on discharging device, conveyer and cutting means on described bench board, also be provided with controller, the first sensor that is connected with described controller, the second sensor on described bench board, described cutting means partly is positioned at the top of described conveyer.
2. guillotine according to claim 1, it is characterized in that: be arranged with two control apparatuss on described bench board, described control apparatus comprises the adjusting part that two intervals arrange, described adjusting part comprises base plate, blend stop, is connected to the buckle on described blend stop, described base plate is provided with chute, and the lower end of described blend stop is inserted in described chute and by described buckle, is fixed on described base plate.
3. guillotine according to claim 1, it is characterized in that: the driving wheel that described conveyer comprises the first actuating device, connect by belt conveyor is connected respectively two supports that are connected with flower wheel with described driving wheel with flower wheel, described support comprises symmetrically arranged support plate, wears the fulcrum of described support plate, described fulcrum is connected with described the first actuating device, and described the first actuating device is connected with described controller.
4. guillotine according to claim 3, is characterized in that: be bonded with rubber layer on described belt conveyor.
5. guillotine according to claim 3 is characterized in that: described bench board is provided with near an end of described flower wheel the groove that connects material.
6. guillotine according to claim 1 is characterized in that: described cutting means comprise cut frame, with the described cylinder that frame is connected and the cutting knife that is connected with described cylinder of cutting, described cylinder is connected with described controller.
7. guillotine according to claim 1, it is characterized in that: the second actuating device that described discharging device comprises symmetrically arranged discharging frame, wears the dispensing shaft of described discharging frame, is set in the emptying roller on described dispensing shaft and with described dispensing shaft, is connected, described the second actuating device is connected with described controller.
CN2013203558720U 2013-06-21 2013-06-21 Cutting machine Expired - Fee Related CN203294895U (en)

Priority Applications (1)

Application Number Priority Date Filing Date Title
CN2013203558720U CN203294895U (en) 2013-06-21 2013-06-21 Cutting machine

Applications Claiming Priority (1)

Application Number Priority Date Filing Date Title
CN2013203558720U CN203294895U (en) 2013-06-21 2013-06-21 Cutting machine

Publications (1)

Publication Number Publication Date
CN203294895U true CN203294895U (en) 2013-11-20

Family

ID=49570926

Family Applications (1)

Application Number Title Priority Date Filing Date
CN2013203558720U Expired - Fee Related CN203294895U (en) 2013-06-21 2013-06-21 Cutting machine

Country Status (1)

Country Link
CN (1) CN203294895U (en)

Cited By (8)

* Cited by examiner, † Cited by third party
Publication number Priority date Publication date Assignee Title
CN103287908A (en) * 2013-06-21 2013-09-11 苏州速腾电子科技有限公司 Cutting machine
CN104275553A (en) * 2014-06-17 2015-01-14 广州中国科学院工业技术研究院 Cutting equipment
CN106429585A (en) * 2016-11-02 2017-02-22 平湖市耀华金属制品有限公司 Label paper conveying device
CN106477373A (en) * 2016-11-02 2017-03-08 平湖市耀华金属制品有限公司 A kind of Novel tagboard material collecting device
CN106629167A (en) * 2016-11-02 2017-05-10 平湖市耀华金属制品有限公司 Multifunctional label paper collecting device
CN107458911A (en) * 2017-09-13 2017-12-12 重庆三创印刷有限公司 A kind of packing film making apparatus
CN110329834A (en) * 2019-06-26 2019-10-15 安徽文博纸品印刷有限公司 A kind of former cutting apparatus used for paper processing of packing case
CN110562793A (en) * 2019-09-17 2019-12-13 浙江宜佳新材料股份有限公司 anti-warping comprehensive finishing device for impregnated paper production

Cited By (12)

* Cited by examiner, † Cited by third party
Publication number Priority date Publication date Assignee Title
CN103287908A (en) * 2013-06-21 2013-09-11 苏州速腾电子科技有限公司 Cutting machine
CN103287908B (en) * 2013-06-21 2016-03-23 苏州速腾电子科技有限公司 Guillotine
CN104275553A (en) * 2014-06-17 2015-01-14 广州中国科学院工业技术研究院 Cutting equipment
CN104275553B (en) * 2014-06-17 2016-08-17 广州中国科学院工业技术研究院 Cutter sweep
CN106429585A (en) * 2016-11-02 2017-02-22 平湖市耀华金属制品有限公司 Label paper conveying device
CN106477373A (en) * 2016-11-02 2017-03-08 平湖市耀华金属制品有限公司 A kind of Novel tagboard material collecting device
CN106629167A (en) * 2016-11-02 2017-05-10 平湖市耀华金属制品有限公司 Multifunctional label paper collecting device
CN107458911A (en) * 2017-09-13 2017-12-12 重庆三创印刷有限公司 A kind of packing film making apparatus
CN107458911B (en) * 2017-09-13 2019-02-19 重庆三创印刷有限公司 A kind of packing film making apparatus
CN110329834A (en) * 2019-06-26 2019-10-15 安徽文博纸品印刷有限公司 A kind of former cutting apparatus used for paper processing of packing case
CN110562793A (en) * 2019-09-17 2019-12-13 浙江宜佳新材料股份有限公司 anti-warping comprehensive finishing device for impregnated paper production
CN110562793B (en) * 2019-09-17 2021-05-04 浙江宜佳新材料股份有限公司 A comprehensive anti-warping finishing device for the production of impregnated paper

Similar Documents

Publication Publication Date Title
CN203294895U (en) Cutting machine
CN103287908A (en) Cutting machine
CN105171843B (en) Intelligent multifunctional cutting machine for blister materials
CN204429610U (en) Point adhesive curing composite integrated machine
CN104029878B (en) Rubberizing paper equipment
CN102990498B (en) For the automatic gauge cutting take out device of abrasive machine
CN202670147U (en) Feeding mechanism of multiple row strip-shaped packing machine
CN205630744U (en) Full automotive vehicle window glass rubber strip cutter of borduring
CN206569792U (en) A kind of automatic intelligent multilayer cutting device
CN104275768B (en) A kind of horizontal injection press full-automatic feeding dummy slider system
CN102941953A (en) Automatic labeler
CN201619897U (en) Full automatic material storing device for stationery printer
CN203565960U (en) Plate opening machining device
CN203804519U (en) Automatic bearing pressing mechanism
CN104647460A (en) Cutting machine
CN210850412U (en) Rubber cutting device for rubber plug production
CN204322336U (en) Banbury is for glue automatic cutting device
CN204507414U (en) A kind of packaging bag feed mechanism of automatic remote controller compress
CN204504373U (en) High speed slabber
CN202966823U (en) Automatic labeling machine
CN204221361U (en) 2400 ultra-wide super thick aluminium plate transverse cutting units
CN202685572U (en) Fully-automatic typewriter
CN202480128U (en) Full-automatic hatchback single-sheet die-cutting machine
CN203692146U (en) Conveying belt type automatic feeding machine
CN210762706U (en) Lock body automatic feeding device

Legal Events

Date Code Title Description
C14 Grant of patent or utility model
GR01 Patent grant
CF01 Termination of patent right due to non-payment of annual fee

Granted publication date: 20131120

Termination date: 20140621

EXPY Termination of patent right or utility model