CN203292713U - 全自动直条焊丝加工生产线 - Google Patents
全自动直条焊丝加工生产线 Download PDFInfo
- Publication number
- CN203292713U CN203292713U CN201320336152XU CN201320336152U CN203292713U CN 203292713 U CN203292713 U CN 203292713U CN 201320336152X U CN201320336152X U CN 201320336152XU CN 201320336152 U CN201320336152 U CN 201320336152U CN 203292713 U CN203292713 U CN 203292713U
- Authority
- CN
- China
- Prior art keywords
- wire
- welding wire
- frame
- vertical bar
- bar welding
- Prior art date
- Legal status (The legal status is an assumption and is not a legal conclusion. Google has not performed a legal analysis and makes no representation as to the accuracy of the status listed.)
- Withdrawn - After Issue
Links
- 238000003466 welding Methods 0.000 title claims abstract description 49
- 238000004519 manufacturing process Methods 0.000 title claims abstract description 14
- 238000003754 machining Methods 0.000 title claims abstract description 13
- 229910052751 metal Inorganic materials 0.000 claims abstract description 24
- 239000002184 metal Substances 0.000 claims abstract description 24
- 230000007246 mechanism Effects 0.000 claims abstract description 20
- 230000001360 synchronised effect Effects 0.000 claims abstract description 20
- 230000006835 compression Effects 0.000 claims abstract description 9
- 238000007906 compression Methods 0.000 claims abstract description 9
- 230000005540 biological transmission Effects 0.000 claims description 16
- 238000007790 scraping Methods 0.000 claims description 11
- 238000005520 cutting process Methods 0.000 claims description 10
- 238000010008 shearing Methods 0.000 claims description 10
- 238000000748 compression moulding Methods 0.000 claims description 6
- 238000005096 rolling process Methods 0.000 claims description 4
- 238000004513 sizing Methods 0.000 claims description 3
- 238000000034 method Methods 0.000 abstract description 5
- 238000004140 cleaning Methods 0.000 abstract description 4
- 238000003825 pressing Methods 0.000 abstract 5
- 238000004804 winding Methods 0.000 abstract 2
- 238000005498 polishing Methods 0.000 abstract 1
- 239000000126 substance Substances 0.000 description 3
- 230000007547 defect Effects 0.000 description 2
- 238000005516 engineering process Methods 0.000 description 2
- 229910000838 Al alloy Inorganic materials 0.000 description 1
- 230000001133 acceleration Effects 0.000 description 1
- 230000001464 adherent effect Effects 0.000 description 1
- 239000003513 alkali Substances 0.000 description 1
- 238000000137 annealing Methods 0.000 description 1
- 230000007797 corrosion Effects 0.000 description 1
- 238000005260 corrosion Methods 0.000 description 1
- 238000010586 diagram Methods 0.000 description 1
- 239000004519 grease Substances 0.000 description 1
- 238000003475 lamination Methods 0.000 description 1
- 239000000463 material Substances 0.000 description 1
- 238000004021 metal welding Methods 0.000 description 1
- 238000005554 pickling Methods 0.000 description 1
- 238000007517 polishing process Methods 0.000 description 1
- 239000011148 porous material Substances 0.000 description 1
Images
Landscapes
- Wire Processing (AREA)
Abstract
本实用新型公开了一种全自动直条焊丝加工生产线,包括沿水平方向依次间隔排列设置的放线机、轮式校直器、压缩刮削单元、牵引卷筒、送丝校直系统、飞剪压号机。本实用新型优点在于实现对金属直条焊丝刮削、矫直、切断、打号连续加工。送丝校直系统采取两组送丝机构,中间设置压轮校直机构,使得矫校直金属直条焊丝时刻保持直线状态。送丝机构采用上、下两个同步履带通过设置在下滑板上的动力气缸气动开合形式,丝条压紧部位采用两排同步压轮靠同步履带压紧,增大了与丝条的接触面积大,更有利于保持丝条的线性特征。同步履带夹紧送丝,减少了丝条表面的划伤,有效的保证了丝表条面的品质,同时省去了丝条后续清洗、抛光工序。
Description
技术领域
本实用新型涉及金属焊丝的加工生产,尤其是涉及全自动直条焊丝加工生产线。
背景技术:
金属直条焊丝如铝合金直条焊丝多用于高铁车体、航空、船舶、工艺品等领域的焊接。焊丝在拉拔过程中,需要一次或多次退火,其表面必然存在氧化膜和油污。这不仅影响到焊丝的外观质量,还直接影响焊接质量,在焊缝处出现气孔或氧化夹杂等缺陷,造成在焊缝处的组织变坏,力学性能降低。
目前,直条焊丝表面的氧化膜和油污垢多采用化学处理工艺(碱洗、酸洗)来消除。该方法处理的焊丝表面从微观看存在很多凹坑,容易附着腐蚀产物和水分,焊接过程造成夹杂和气孔缺陷,直接影响焊缝质量,同时给环境造成一定的污染。目前直条焊丝的加工生产分为:焊丝拉拔—旋转矫直—定长剪切—打号—化学清洗—机械抛光等几大工序。其存在的不足主要表现为:1、生产效率低,劳动强度大,工序繁琐。2、为了清处焊丝表面的污垢油脂进行化学清洗,工人劳动强度大,效率低,工况环境差,污染环境严重。3、旋转校直工序极容易在直条焊丝表面形成螺旋纹,影响丝表面的亮度和品质。为了得到高品质的直条焊丝,不得不采用机械抛光处理。
实用新型内容:
本实用新型目的在于提供一种性能稳定、高效环保的全自动直条焊丝加工生产线。
为实现上述目的,本实用新型采取下述技术方案:
本实用新型所述的全自动直条焊丝加工生产线,包括沿水平方向依次间隔排列设置的放线机、轮式校直器、压缩刮削单元、牵引卷筒、送丝校直系统、飞剪压号机;所述送丝校直系统包括压轮校直机构,对称设置在所述压轮校直机构左、右两侧具有相同结构的送丝机构,驱动电机;所述每个送丝机构均包括:机架,对称所述机架水平中线垂直设置在其上的上、下滑板,在所述上、下滑板上对称机架水平中线沿水平方向分别设置有两排同步压轮;位于上、下滑板一侧机架上对称机架水平中线设置有相互啮合的上、下齿轮,位于上、下滑板另一侧机架上对称机架水平中线分别设置有送丝同步轮,所述两送丝同步轮分别通过送丝同步履带绕过对应的两排同步压轮与对应设置在所述上、下齿轮上的同步轮传动连接;在机架上设置有用于上顶下滑板的动力缸和上滑板调整螺钉;在机架左、右端部位于机架水平中线位置分别设置有过丝套;两送丝机构的上齿轮的同步轮通过同步带传动连接;所述驱动电机通过传动带与其中一个送丝机构的下齿轮上的同步轮传动连接;所述压轮矫直机构由沿矫直金属直条焊丝走向排列设置在其上、下两侧的滚动轮组构成;所述飞剪压号机包括剪切机架,设置在所述剪切机架上由伺服电机驱动的传动系统和压号、剪切机构;所述传动系统包括由所述伺服电机驱动的主动轴、设置在所述主动轴上的下同步齿轮和下刀盘,所述下同步齿轮与设置在其上方被动轴上的上同步齿轮啮合;在所述被动轴上位于所述下刀盘正上方设置有上刀盘;所述剪切机构包括对称于矫直金属直条焊丝设置在所述上、下刀盘上的压刀块,和分别设置在所述压刀块上的切刀、压号块;在剪切机架上位于水平中线的两端分别设置有进丝定位套、出丝定位套。
所述轮式校直器由沿校直金属直条焊丝走向上、下两侧排列的两排滚动轮构成;所述上、下两排滚动轮沿校直金属直条焊丝走向交错设置,在滚动轮支架上设置有滚动轮位置显示仪。
所述压缩刮削单元由沿校直金属直条焊丝走向同轴线依次间隔设置的压缩模、两刮削模、定径压缩模构成。
本实用新型优点在于实现对金属直条焊丝刮削、矫直、切断、打号连续加工。送丝校直系统采取两组送丝机构,中间设置压轮校直机构,使得矫校直金属直条焊丝30时刻保持直线状态,为了提高丝条的校直质量,在校直器上装加了位置数字显示器52。送丝机构采用上、下两个同步履带20、21通过设置在下滑板13上的动力气缸24气动开合形式,丝条压紧部位采用两排同步压轮14、15靠同步履带压紧,增大了与丝条的接触面积大,更有利于保持丝条的线性特征。同步履带夹紧送丝,减少了丝条表面的划伤,有效的保证了丝表条面的品质,同时省去了丝条后续清洗、抛光工序。
对金属直条焊丝30的剪切、压号采用装有切刀43、44和压号块45、46的上、下刀盘40、37旋转,同步实现切剪和压号工序。压号块可以根据不同丝径和牌号进行调整。矫直后的金属直条焊丝30从进丝定位套47匀速进入切断压号区,伺服电机34根据长度检测装置57设定的长度值信号输出动力,带动上、下刀盘40、37瞬间加速并与送丝速度同步,实现金属直条焊丝30的剪切和压号,并从出丝定位套30输出。剪切和压号连续进行,不存在送丝停顿现象,实现了对丝条的飞剪操作。本实用新型线速度最大可达到120m/min,精度±1mm,解决了丝条产品生产效率低,工序繁琐的问题。
轮式校直器2由沿金属直条焊丝30走向上、下两侧排列的两排滚动轮49、50构成,并将该上、下两排滚动轮49、50沿水平方向左、右交错设置,这样更利于被校直丝条产生变形,达到校直的目的。
在滚动轮支架51上安装滚动轮位置显示仪52,可以直观地显示各滚动轮的位置,便于参照调整,量化校直。通过滚动轮位置显示仪52又可记录不同材质、不同丝径校直后丝条的数值,大大缩短了矫直调整时间。
附图说明
图1是本实用新型的结构示意图。
图2是本实用新型所述送丝校直系统的结构示意图。
图3是本实用新型所述送丝校直系统中送丝机构的结构示意图。
图4是本实用新型所述飞剪压号机的结构示意图。
图5是本实用新型所述飞剪压号机的动力传动结构示意图。
图6是本实用新型所述轮式校直器的结构示意图。
图7是本实用新型所述压缩刮削单元的结构示意图。
具体实施方式
如图1所示,本实用新型所述的全自动直条焊丝加工生产线,包括沿水平方向依次间隔排列设置的放线机1、轮式矫直器2、压缩刮削单元3、牵引卷筒4、送丝矫直系统5、飞剪压号机6。
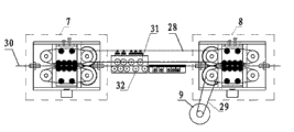
如图2、3所示,所述送丝校直系统5包括压轮矫直机构,对称设置在所述压轮校直机构左、右两侧具有相同结构的送丝机构7、8,驱动电机9;所述每个送丝机构均包括:机架10,对称所述机架水平中线11垂直设置在其上的上、下滑板12、13,在所述上、下滑板12、13上对称机架水平中线11沿水平方向分别设置有两排同步压轮14、15;位于上、下滑板12、13一侧机架10上对称机架水平中线11设置有相互啮合的上、下齿轮16、17,位于上、下滑板12、13另一侧机架10上对称机架水平中线11分别设置有送丝同步轮18、19,所述两送丝同步轮18、19分别通过送丝同步履带20、21绕过对应的两排同步压轮14、15与对应设置在所述上、下齿轮16、17上的同步轮22、23传动连接;在机架10上设置有用于上顶下滑板13的动力气缸24和上滑板调整螺钉25;在机架10左、右端部位于机架水平中线11位置处分别设置有过丝套26、27;两送丝机构7、8的上齿轮16的同步轮22通过同步带28传动连接;所述驱动电机9通过传动带29与送丝机构8的下齿轮17上的同步轮23传动连接;所述压轮校直机构由沿矫直金属直条焊丝30走向排列设置在其上、下两侧的滚动轮组31、32构成。
如图4、5所示,所述飞剪压号机包括剪切机架33,设置在所述剪切机架33上由伺服电机34驱动的传动系统和压号、剪切机构;所述传动系统包括由所述伺服电机34驱动的主动轴35、设置在所述主动轴35上的下同步齿轮36和下刀盘37,所述下同步齿轮36与设置在其上方被动轴38上的上同步齿轮39啮合;在所述被动轴38上位于所述下刀盘37正上方设置有上刀盘40;所述剪切机构包括对称于矫直金属直条焊丝30设置在所述上、下刀盘40、37上的压刀块41、42,和分别设置在所述压刀块41、42上的切刀43、44、压号块45、46;在剪切机架33上位于水平中线的两端分别设置有进丝、出丝定位套47、48。
如图6所示,所述轮式矫直器2由沿校直金属直条焊丝30走向上、下两侧排列的两排滚动轮49、50构成;所述上、下两排滚动轮49、50沿校直金属直条焊丝30走向交错设置,在滚动轮支架51上设置有滚动轮位置显示仪52。
如图7所示,所述压缩刮削单元3由沿校直金属直条焊丝30走向同轴线依次间隔设置的压缩模53、两刮削模54、55、定径压缩模56构成。
Claims (3)
1.一种全自动直条焊丝加工生产线,包括沿水平方向依次间隔排列设置的放线机(1)、轮式校直器(2)、压缩刮削单元(3)、牵引卷筒(4)、送丝校直系统(5)、飞剪压号机(6);其特征在于:所述送丝校直系统(5)包括压轮校直机构,对称设置在所述压轮校直机构左、右两侧具有相同结构的送丝机构(7、8),驱动电机(9);所述每个送丝机构均包括:机架(10),对称所述机架水平中线(11)垂直设置在其上的上、下滑板(12、13),在所述上、下滑板(12、13)上对称机架水平中线(11)沿水平方向分别设置有两排同步压轮(14、15);位于上、下滑板(12、13)一侧机架(10)上对称机架水平中线(11)设置有相互啮合的上、下齿轮(16、17),位于上、下滑板(12、13)另一侧机架(10)上对称机架水平中线(11)分别设置有送丝同步轮(18、19),所述两送丝同步轮(18、19)分别通过送丝同步履带(20、21)绕过对应的两排同步压轮(14、15)与对应设置在所述上、下齿轮(16、17)上的同步轮(22、23)传动连接;在机架(10)上设置有用于上顶下滑板(13)的动力缸(24)和上滑板调整螺钉(25);在机架(10)左、右端部位于机架水平中线(11)位置分别设置有过丝套(26、27);两送丝机构(7、8)的上齿轮(16)的同步轮(22)通过同步带(28)传动连接;所述驱动电机(9)通过传动带(29)与其中一个送丝机构的下齿轮(17)上的同步轮(23)传动连接;所述压轮校直机构由沿矫直金属直条焊丝(30)走向排列设置在其上、下两侧的滚动轮组(31、32)构成;所述飞剪压号机包括剪切机架(33),设置在所述剪切机架(33)上由伺服电机(34)驱动的传动系统和压号、剪切机构;所述传动系统包括由所述伺服电机(34)驱动的主动轴(35)、设置在所述主动轴(35)上的下同步齿轮(36)和下刀盘(37),所述下同步齿轮(36)与设置在其上方被动轴(38)上的上同步齿轮(39)啮合;在所述被动轴(38)上位于所述下刀盘(37)正上方设置有上刀盘(40);所述剪切机构包括对称于校直金属直条焊丝(30)设置在所述上、下刀盘(40、37)上的压刀块(41、42),和分别设置在所述压刀块(41、42)上的切刀(43、44)、压号块(45、46);在剪切机架(33)上位于水平中线的两端分别设置有进丝、出丝定位套(47、48)。
2.根据权利要求1所述的全自动直条焊丝加工生产线,其特征在于:所述轮式校直器(2)由沿校直金属直条焊丝(30)走向上、下两侧排列的两排滚动轮(49、50)构成;所述上、下两排滚动轮(49、50)沿校直金属直条焊丝(30)走向交错设置,在滚动轮支架(51)上设置有滚动轮位置数字显示仪(52)。
3.根据权利要求1或2所述的全自动直条焊丝加工生产线,其特征在于:所述压缩刮削单元(3)由沿校直金属直条焊丝(30)走向同轴线依次间隔设置的压缩模(53)、两刮削模(54、55)、定径压缩模(56)构成。
Priority Applications (1)
| Application Number | Priority Date | Filing Date | Title |
|---|---|---|---|
| CN201320336152XU CN203292713U (zh) | 2013-06-13 | 2013-06-13 | 全自动直条焊丝加工生产线 |
Applications Claiming Priority (1)
| Application Number | Priority Date | Filing Date | Title |
|---|---|---|---|
| CN201320336152XU CN203292713U (zh) | 2013-06-13 | 2013-06-13 | 全自动直条焊丝加工生产线 |
Publications (1)
| Publication Number | Publication Date |
|---|---|
| CN203292713U true CN203292713U (zh) | 2013-11-20 |
Family
ID=49568751
Family Applications (1)
| Application Number | Title | Priority Date | Filing Date |
|---|---|---|---|
| CN201320336152XU Withdrawn - After Issue CN203292713U (zh) | 2013-06-13 | 2013-06-13 | 全自动直条焊丝加工生产线 |
Country Status (1)
| Country | Link |
|---|---|
| CN (1) | CN203292713U (zh) |
Cited By (2)
| Publication number | Priority date | Publication date | Assignee | Title |
|---|---|---|---|---|
| CN103286482A (zh) * | 2013-06-13 | 2013-09-11 | 郑州亚丰立得表面技术有限公司 | 全自动直条焊丝加工生产线 |
| CN105414805A (zh) * | 2014-09-04 | 2016-03-23 | 福知山(苏州)机械有限公司 | 一种全自动焊条涂装机 |
-
2013
- 2013-06-13 CN CN201320336152XU patent/CN203292713U/zh not_active Withdrawn - After Issue
Cited By (3)
| Publication number | Priority date | Publication date | Assignee | Title |
|---|---|---|---|---|
| CN103286482A (zh) * | 2013-06-13 | 2013-09-11 | 郑州亚丰立得表面技术有限公司 | 全自动直条焊丝加工生产线 |
| CN105414805A (zh) * | 2014-09-04 | 2016-03-23 | 福知山(苏州)机械有限公司 | 一种全自动焊条涂装机 |
| CN105414805B (zh) * | 2014-09-04 | 2018-01-05 | 南陵旺科知识产权运营有限公司 | 一种全自动焊条涂装机 |
Similar Documents
| Publication | Publication Date | Title |
|---|---|---|
| CN103286482B (zh) | 全自动直条焊丝加工生产线 | |
| CN202105890U (zh) | 钢材卷圆机 | |
| CN102989868A (zh) | 在线冲孔冷弯成型切断生产线工艺的实现方法 | |
| CN202539322U (zh) | 硅钢片数控冲剪线设备 | |
| CN103318674A (zh) | 收卷直线切刀装置 | |
| CN106513538A (zh) | 自动无划痕钢丝调直切断机 | |
| CN108188307A (zh) | 全自动折弯对焊机及其加工方法 | |
| CN202377778U (zh) | 铝扁管下料机 | |
| CN204429975U (zh) | 一种桥架一体化生产设备 | |
| CN201264054Y (zh) | 一种辊式冲裁装置 | |
| CN203292713U (zh) | 全自动直条焊丝加工生产线 | |
| CN206241636U (zh) | 一种数控板材冲孔剪切生产线 | |
| CN218134259U (zh) | 一种扁线转塔冲孔折弯成型装置 | |
| CN102172812B (zh) | 中空铝隔条连续成型方法 | |
| CN204295180U (zh) | 一种钢带的对焊平台 | |
| CN206343561U (zh) | 一种具有弹性压紧机构的弯箍机 | |
| CN203791952U (zh) | 一种包边铝合金型材穿条和压条设备 | |
| CN104308544B (zh) | 升降车剪刀臂料片无边料加工工艺及加工装置 | |
| CN203158900U (zh) | 一种带有独立驱动压板机构的切带机 | |
| CN216965849U (zh) | 一种不锈钢管生产线 | |
| CN215237288U (zh) | 一种带冲孔的c型槽轧机 | |
| CN103465313A (zh) | 一种带锯机送料装置 | |
| CN204182772U (zh) | 一种卧式贯流风机风道冲压机 | |
| CN204160182U (zh) | 升降车剪刀臂料片加工装置 | |
| CN208485411U (zh) | 一种送线装置 |
Legal Events
| Date | Code | Title | Description |
|---|---|---|---|
| C14 | Grant of patent or utility model | ||
| GR01 | Patent grant | ||
| AV01 | Patent right actively abandoned |
Granted publication date: 20131120 Effective date of abandoning: 20150415 |
|
| RGAV | Abandon patent right to avoid regrant |