CN203273647U - Solar wall lamp - Google Patents
Solar wall lamp Download PDFInfo
- Publication number
- CN203273647U CN203273647U CN201320307884.6U CN201320307884U CN203273647U CN 203273647 U CN203273647 U CN 203273647U CN 201320307884 U CN201320307884 U CN 201320307884U CN 203273647 U CN203273647 U CN 203273647U
- Authority
- CN
- China
- Prior art keywords
- solar
- shell
- light
- wall
- battery
- Prior art date
- Legal status (The legal status is an assumption and is not a legal conclusion. Google has not performed a legal analysis and makes no representation as to the accuracy of the status listed.)
- Expired - Fee Related
Links
Images
Classifications
-
- Y—GENERAL TAGGING OF NEW TECHNOLOGICAL DEVELOPMENTS; GENERAL TAGGING OF CROSS-SECTIONAL TECHNOLOGIES SPANNING OVER SEVERAL SECTIONS OF THE IPC; TECHNICAL SUBJECTS COVERED BY FORMER USPC CROSS-REFERENCE ART COLLECTIONS [XRACs] AND DIGESTS
- Y02—TECHNOLOGIES OR APPLICATIONS FOR MITIGATION OR ADAPTATION AGAINST CLIMATE CHANGE
- Y02B—CLIMATE CHANGE MITIGATION TECHNOLOGIES RELATED TO BUILDINGS, e.g. HOUSING, HOUSE APPLIANCES OR RELATED END-USER APPLICATIONS
- Y02B20/00—Energy efficient lighting technologies, e.g. halogen lamps or gas discharge lamps
- Y02B20/72—Energy efficient lighting technologies, e.g. halogen lamps or gas discharge lamps in street lighting
Landscapes
- Non-Portable Lighting Devices Or Systems Thereof (AREA)
- Photovoltaic Devices (AREA)
- Finishing Walls (AREA)
Abstract
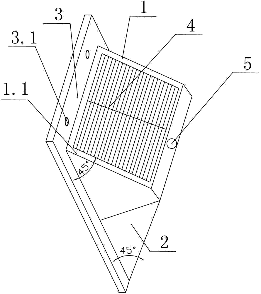
本实用新型公开了一种太阳能壁灯,包括竖向设置的安装板(3)、与安装板(3)一体式注塑成型的外壳(1)、太阳能电池板(4)、与太阳能电池板(4)的输出端口电连接的蓄电池、透光灯罩(2)、与蓄电池电连接的LED灯珠和红外感应开关(5),太阳能电池板(4)嵌设于外壳(1)的上斜壁(1.1)的凹槽内,且太阳能电池板(4)的表面设有保护薄膜层;外壳(1)的上斜壁(1.1)与竖直方向的夹角为45°,LED灯珠置于透光灯罩(2)内,透光灯罩(2)可拆式连接于外壳(1)的下端,且透光灯罩(2)的侧壁与竖直方向的夹角为45°;红外感应开关(5)设于外壳(1)上。该太阳能壁灯安装方便、节能环保,使用非常方便。
The utility model discloses a solar wall lamp, which comprises a vertically arranged mounting plate (3), an integrally injection-molded shell (1) with the mounting plate (3), a solar battery panel (4), and a solar battery panel (4) ), the battery electrically connected to the output port of ), the light-transmitting lampshade (2), the LED light beads electrically connected to the battery, and the infrared sensor switch (5), and the solar panel (4) is embedded in the upper inclined wall of the housing (1) ( 1.1), and the surface of the solar panel (4) is provided with a protective film layer; the angle between the upper slope wall (1.1) of the housing (1) and the vertical direction is 45°, and the LED lamp beads are placed in the transparent In the light lampshade (2), the light-transmitting lampshade (2) is detachably connected to the lower end of the shell (1), and the angle between the side wall of the light-transmitting lampshade (2) and the vertical direction is 45°; the infrared sensor switch ( 5) Set on the casing (1). The solar wall lamp is easy to install, energy-saving and environment-friendly, and very convenient to use.
Description
技术领域technical field
本实用新型涉及太阳能照明领域,特别涉及一种太阳能壁灯。The utility model relates to the field of solar lighting, in particular to a solar wall lamp.
背景技术Background technique
壁灯被广泛运用于居民小区、旅游景区、公园、广场、私家花园、庭院走廊等公共场所照明,提供必要的照明及生活便利,增加居民安全感。但问题在于,现有技术的壁灯需要额外布置电源线对其进行供电,十分不便。Wall lamps are widely used in residential areas, tourist attractions, parks, squares, private gardens, courtyard corridors and other public places for lighting, providing necessary lighting and living convenience, and increasing residents' sense of security. But the problem is that the wall lamps of the prior art need to arrange additional power lines to supply power to them, which is very inconvenient.
发明内容Contents of the invention
本实用新型所要解决的技术问题是:提供安装方便、节能环保,使用非常方便的一种太阳能壁灯。The technical problem to be solved by the utility model is to provide a solar wall lamp which is easy to install, energy-saving and environment-friendly, and very convenient to use.
本实用新型解决上述问题所采用的技术方案为:一种太阳能壁灯,包括竖向设置的安装板、与安装板一体式注塑成型的外壳、太阳能电池板、与太阳能电池板的输出端口电连接且设于外壳内的蓄电池、透光灯罩、与蓄电池电连接的LED灯珠和红外感应开关,所述的太阳能电池板嵌设于外壳的上斜壁的凹槽内,且太阳能电池板的表面设有保护薄膜层;所述的外壳的上斜壁与竖直方向的夹角为45°,所述的LED灯珠置于所述的透光灯罩内,所述的透光灯罩可拆式连接于所述的外壳的下端,且所述的透光灯罩的侧壁与竖直方向的夹角为45°;所述的红外感应开关设于所述的外壳上。The technical scheme adopted by the utility model to solve the above-mentioned problems is: a solar wall lamp, including a vertically arranged mounting plate, an integrally injection-molded shell with the mounting plate, a solar cell panel, an electrical connection with the output port of the solar cell panel and A storage battery, a light-transmitting lampshade, an LED lamp bead electrically connected to the storage battery, and an infrared sensor switch are arranged in the casing, and the solar battery panel is embedded in a groove on the upper inclined wall of the casing, and the surface of the solar battery panel is arranged There is a protective film layer; the angle between the upper inclined wall of the shell and the vertical direction is 45°, the LED lamp beads are placed in the light-transmitting lampshade, and the light-transmitting lampshade is detachably connected It is located at the lower end of the shell, and the angle between the side wall of the light-transmitting lampshade and the vertical direction is 45°; the infrared sensor switch is arranged on the shell.
与现有技术相比,本实用新型的优点在于:该太阳能壁灯的安装板和外壳一体式注塑成型,太阳能电池板设于外壳的上斜壁的凹槽内,且外壳的上斜壁与竖直方向的夹角为45°,太阳能电池板可更好地接收阳光。外壳内设有与太阳能电池板的输出端口电连接的蓄电池,可将太阳能电池板白天转化的电能储存起来,夜晚时,当有人靠近,红外感应开关感应到即可将LED灯珠开启,提供照明。LED灯珠置于透光灯罩内且透光灯罩可拆式连接于外壳的下端,则安装和拆卸均更加方便。透光灯罩的侧壁与竖直方向的夹角为45°,照射的范围更广。该太阳能壁灯安装方便、节能环保,使用非常方便。Compared with the prior art, the utility model has the advantages that: the mounting plate and the casing of the solar wall lamp are integrally injection molded, the solar battery panel is arranged in the groove of the upper inclined wall of the casing, and the upper inclined wall of the casing is connected to the vertical wall. The included angle in the vertical direction is 45°, and the solar panel can receive sunlight better. The shell is equipped with a battery electrically connected to the output port of the solar panel, which can store the electric energy converted by the solar panel during the day. At night, when someone approaches, the infrared sensor switch can sense the LED lamp bead and turn it on to provide lighting. . The LED lamp beads are placed in the light-transmitting lampshade and the light-transmitting lampshade is detachably connected to the lower end of the housing, so that installation and disassembly are more convenient. The angle between the side wall of the light-transmitting lampshade and the vertical direction is 45°, and the irradiation range is wider. The solar wall lamp is easy to install, energy-saving and environment-friendly, and very convenient to use.
附图说明Description of drawings
图1本实用新型一种太阳能壁灯的结构示意图。Fig. 1 is a structural schematic diagram of a solar wall lamp of the utility model.
图1中:1外壳、1.1上斜壁、2透光灯罩、3安装板、3.1安装孔、4太阳能电池板、5红外感应开关。In Fig. 1: 1 shell, 1.1 upper inclined wall, 2 light-transmitting lampshade, 3 mounting plate, 3.1 mounting hole, 4 solar cell panel, 5 infrared sensor switch.
具体实施方式Detailed ways
下面结合附图对本实用新型的实施例作进一步描述。Embodiments of the utility model will be further described below in conjunction with the accompanying drawings.
如图1所示,一种太阳能壁灯,包括竖向设置的安装板3、与安装板3一体式注塑成型的外壳1、太阳能电池板4、与太阳能电池板4的输出端口电连接且设于外壳1内的蓄电池、透光灯罩2、与蓄电池电连接的LED灯珠和红外感应开关5,所述的太阳能电池板4嵌设于外壳1的上斜壁1.1的凹槽内,且太阳能电池板4的表面设有保护薄膜层;所述的外壳1的上斜壁1.1与竖直方向的夹角为45°,所述的LED灯珠置于所述的透光灯罩2内,所述的透光灯罩2可拆式连接于所述的外壳1的下端,且所述的透光灯罩2的侧壁与竖直方向的夹角为45°;所述的红外感应开关5设于所述的外壳1上。As shown in Figure 1, a kind of solar wall lamp, comprises the
所述的安装板3上对称设有两安装孔3.1。可直接利用该两安装孔3.1将壁灯固定,安装非常方便。The
所述的保护薄膜层为ETFE层,且保护薄膜层的厚度为0.2~0.5mm。可有效防止太阳能电池板被刮花,防止太阳能电池板表面产生损害。The protective film layer is an ETFE layer, and the thickness of the protective film layer is 0.2-0.5 mm. It can effectively prevent the solar panel from being scratched and prevent the surface of the solar panel from being damaged.
Claims (3)
Priority Applications (1)
| Application Number | Priority Date | Filing Date | Title |
|---|---|---|---|
| CN201320307884.6U CN203273647U (en) | 2013-05-30 | 2013-05-30 | Solar wall lamp |
Applications Claiming Priority (1)
| Application Number | Priority Date | Filing Date | Title |
|---|---|---|---|
| CN201320307884.6U CN203273647U (en) | 2013-05-30 | 2013-05-30 | Solar wall lamp |
Publications (1)
| Publication Number | Publication Date |
|---|---|
| CN203273647U true CN203273647U (en) | 2013-11-06 |
Family
ID=49504048
Family Applications (1)
| Application Number | Title | Priority Date | Filing Date |
|---|---|---|---|
| CN201320307884.6U Expired - Fee Related CN203273647U (en) | 2013-05-30 | 2013-05-30 | Solar wall lamp |
Country Status (1)
| Country | Link |
|---|---|
| CN (1) | CN203273647U (en) |
Cited By (1)
| Publication number | Priority date | Publication date | Assignee | Title |
|---|---|---|---|---|
| WO2018006243A1 (en) * | 2016-07-04 | 2018-01-11 | 深圳市利思达光电科技有限公司 | Solar wall lamp |
-
2013
- 2013-05-30 CN CN201320307884.6U patent/CN203273647U/en not_active Expired - Fee Related
Cited By (1)
| Publication number | Priority date | Publication date | Assignee | Title |
|---|---|---|---|---|
| WO2018006243A1 (en) * | 2016-07-04 | 2018-01-11 | 深圳市利思达光电科技有限公司 | Solar wall lamp |
Similar Documents
| Publication | Publication Date | Title |
|---|---|---|
| CN203273649U (en) | Solar outdoor wall lamp | |
| CN203273646U (en) | Solar wall lamp | |
| CN203273647U (en) | Solar wall lamp | |
| CN202140800U (en) | Waterproof LED outdoor lights that can float on the water | |
| CN203249157U (en) | Solar Outdoor Lighting | |
| CN203273657U (en) | Solar garden lamp | |
| CN206303516U (en) | Solar-powered heating generating landscape stool | |
| CN201014315Y (en) | Induction type solar lamp | |
| CN203273650U (en) | Solar outdoor lighting lamp | |
| CN203240479U (en) | Solar external stairway illuminating lamp | |
| CN205402541U (en) | Bury formula solar energy -saving lamp | |
| CN203273656U (en) | Solar outdoor wall lamp | |
| CN203223847U (en) | Road traffic construction lamp | |
| CN203231232U (en) | A solar decorative lamp | |
| CN205480735U (en) | Waterproof rotational moulding solar energy LED lamp | |
| CN203273645U (en) | Solar stair lamp | |
| CN203273648U (en) | Outdoor stair solar illuminating lamp | |
| CN206320672U (en) | A kind of energy-saving buried lamp | |
| CN203298169U (en) | Solar outdoor wall lamp | |
| CN203273655U (en) | Solar outdoor lighting lamp | |
| CN203249158U (en) | Energy-saving balcony illumination lamp | |
| CN205824874U (en) | Green energy luminous lamp body | |
| CN203273651U (en) | Solar outdoor wall lamp | |
| CN202852649U (en) | Garden lamp | |
| CN202581081U (en) | Solar enclosing wall lamp |
Legal Events
| Date | Code | Title | Description |
|---|---|---|---|
| C14 | Grant of patent or utility model | ||
| GR01 | Patent grant | ||
| C17 | Cessation of patent right | ||
| CF01 | Termination of patent right due to non-payment of annual fee |
Granted publication date: 20131106 Termination date: 20140530 |
