CN203273458U - Highly-sealed light-emitting diode (LED) underwater lamp - Google Patents
Highly-sealed light-emitting diode (LED) underwater lamp Download PDFInfo
- Publication number
- CN203273458U CN203273458U CN2013203567537U CN201320356753U CN203273458U CN 203273458 U CN203273458 U CN 203273458U CN 2013203567537 U CN2013203567537 U CN 2013203567537U CN 201320356753 U CN201320356753 U CN 201320356753U CN 203273458 U CN203273458 U CN 203273458U
- Authority
- CN
- China
- Prior art keywords
- led
- light
- power supply
- lamp
- lamp housing
- Prior art date
- Legal status (The legal status is an assumption and is not a legal conclusion. Google has not performed a legal analysis and makes no representation as to the accuracy of the status listed.)
- Expired - Fee Related
Links
- 238000007789 sealing Methods 0.000 claims abstract description 6
- 239000003643 water by type Substances 0.000 claims description 3
- 230000005611 electricity Effects 0.000 description 4
- XLYOFNOQVPJJNP-UHFFFAOYSA-N water Substances O XLYOFNOQVPJJNP-UHFFFAOYSA-N 0.000 description 3
- 238000010586 diagram Methods 0.000 description 1
- 230000000694 effects Effects 0.000 description 1
- 238000005516 engineering process Methods 0.000 description 1
- 230000007613 environmental effect Effects 0.000 description 1
- 238000000034 method Methods 0.000 description 1
- 230000005855 radiation Effects 0.000 description 1
- 238000004078 waterproofing Methods 0.000 description 1
Images
Landscapes
- Arrangement Of Elements, Cooling, Sealing, Or The Like Of Lighting Devices (AREA)
Abstract
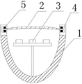
The utility model relates to the technical fields of light-emitting diode (LED) lamps and in particular relates to a highly-sealed LED underwater lamp. The highly-sealed LED underwater lamp comprises a lamp housing (1) with half-elliptic section, a light-transmitting plate (2) and an LED light-emitting module (3) arranged in the lamp housing (1), wherein one end of the lamp housing (1) is provided with a round opening; an annular slot (4) is formed in the inner wall of the lamp housing (1) and positioned at the round opening; the light-transmitting plate (2) is matched with the annular slot (4); waterproof sealing rings (5) for tightly pressing the light-transmitting plate (2) and sealing are arranged on the upper wall and the lower wall of the slot (4); the LED light-emitting module (3) provides a power supply through a solar power supply device (6); the solar power supply device (6) is electrically connected with the LED light-emitting module (3). The highly-sealed LED underwater lamp has good waterproof property and is convenient to electrify.
Description
Technical field
The utility model relates to LED lamp technical field, relates in particular to a kind of LED underwater lamp of high-seal.
Background technology
At present, along with popular growth in the living standard, the development of lighting engineering, people take much count of beautifying of environment, the LED underwater lamp is a kind of Landscape Lamp that is installed under water, particularity due to environment, underwater lamp is in water for a long time, sealing effectiveness is not fine, be easy to cause lamp body to damage, and the underwater lamp of prior art generally all adopts common power supply mode power supply, this mode has certain requirement to power supply and circuit, more especially be arranged on the underwater lamp away from power supply, connect that electricity is very inconvenient and cost is also higher.
Summary of the invention
Technical scheme to be solved in the utility model is: provide a kind of water resistance good and connect the electricity LED underwater lamp of high-seal easily.
the technical scheme that the utility model adopts is: a kind of LED underwater lamp of high-seal, comprise that the cross section is half elliptic lamp housing, light-passing board and be arranged on LED light emitting module in lamp housing, described lamp housing one end is provided with circular open, described envelope inner wall is positioned at the circular open place and is provided with annular slot, described light-passing board coordinates with annular slot, be equipped with on described slot upper wall and lower wall for the waterproof grommet that compresses light-passing board and sealing, and described LED light emitting module also provides power supply by solar power supply apparatus, described solar power supply apparatus is electrically connected to the LED light emitting module.
Adopt above structure compared with prior art, the utlity model has following advantage: in light-passing board both sides, waterproof grommet is set all, waterproof effect is better like this, and power by solar power supply apparatus, so just do not needed external electricity, so it is more convenient to connect electricity, and environmental protection and energy saving more.
As preferably, the outwardly camber of described light-passing board.Radiation response is better like this.
As preferably, described solar power supply apparatus is fixed on the limit, waters.Make like this distance between solar power supply apparatus and LED underwater lamp can be not fine, saved cost.
Description of drawings
Fig. 1 is the cutaway view of the LED underwater lamp of a kind of high-seal of the utility model.
Fig. 2 is that the circuit of the LED underwater lamp of a kind of high-seal of the utility model connects block diagram.
As shown in the figure: 1, lamp housing; 2, light-passing board; 3, LED light emitting module; 4, slot; 5, waterproof grommet; 6, solar power supply apparatus.
The specific embodiment
Below in conjunction with accompanying drawing and the specific embodiment, the utility model is described further, but the utility model is not limited only to the following specific embodiment.
as shown in the figure: a kind of LED underwater lamp of high-seal, comprise that the cross section is half elliptic lamp housing 1, light-passing board 2 and be arranged on LED light emitting module 3 in lamp housing 1, described lamp housing 1 one ends are provided with circular open, described lamp housing 1 inwall is positioned at the circular open place and is provided with annular slot 4, described light-passing board 2 coordinates with annular slot 4, be equipped with on described slot 4 upper walls and lower wall for the waterproof grommet 5 that compresses light-passing board 2 and sealing, and described LED light emitting module 3 also provides power supply by solar power supply apparatus 6, described solar power supply apparatus 6 is electrically connected to LED light emitting module 3.Described LED light emitting module 3 is fixed in lamp housing 1 by support.Electric wire between described LED light emitting module 3 and solar powered module 3 is through water-proofing treatment, and also process through water-tight the junction between they and electric wire.
The outwardly camber of described light-passing board 2.
Described solar power supply apparatus 6 is fixed on the limit, waters.
Claims (3)
1. the LED underwater lamp of a high-seal, comprise that the cross section is half elliptic lamp housing (1), light-passing board (2) and be arranged on LED light emitting module (3) in lamp housing (1), it is characterized in that: described lamp housing (1) one end is provided with circular open, described lamp housing (1) inwall is positioned at the circular open place and is provided with annular slot (4), described light-passing board (2) coordinates with annular slot (4), be equipped with on described slot (4) upper wall and lower wall for the waterproof grommet (5) that compresses light-passing board (2) and sealing, and described LED light emitting module (3) also provides power supply by solar power supply apparatus (6), described solar power supply apparatus (6) is electrically connected to LED light emitting module (3).
2. the LED underwater lamp of a kind of high-seal according to claim 1, is characterized in that: the outwardly camber of described light-passing board (2).
3. the LED underwater lamp of a kind of high-seal according to claim 1, it is characterized in that: described solar power supply apparatus (6) is fixed on the limit, waters.
Priority Applications (1)
| Application Number | Priority Date | Filing Date | Title |
|---|---|---|---|
| CN2013203567537U CN203273458U (en) | 2013-06-21 | 2013-06-21 | Highly-sealed light-emitting diode (LED) underwater lamp |
Applications Claiming Priority (1)
| Application Number | Priority Date | Filing Date | Title |
|---|---|---|---|
| CN2013203567537U CN203273458U (en) | 2013-06-21 | 2013-06-21 | Highly-sealed light-emitting diode (LED) underwater lamp |
Publications (1)
| Publication Number | Publication Date |
|---|---|
| CN203273458U true CN203273458U (en) | 2013-11-06 |
Family
ID=49503862
Family Applications (1)
| Application Number | Title | Priority Date | Filing Date |
|---|---|---|---|
| CN2013203567537U Expired - Fee Related CN203273458U (en) | 2013-06-21 | 2013-06-21 | Highly-sealed light-emitting diode (LED) underwater lamp |
Country Status (1)
| Country | Link |
|---|---|
| CN (1) | CN203273458U (en) |
Cited By (1)
| Publication number | Priority date | Publication date | Assignee | Title |
|---|---|---|---|---|
| CN105010275A (en) * | 2015-07-07 | 2015-11-04 | 柳州市华方电器厂 | Fishing light |
-
2013
- 2013-06-21 CN CN2013203567537U patent/CN203273458U/en not_active Expired - Fee Related
Cited By (1)
| Publication number | Priority date | Publication date | Assignee | Title |
|---|---|---|---|---|
| CN105010275A (en) * | 2015-07-07 | 2015-11-04 | 柳州市华方电器厂 | Fishing light |
Similar Documents
| Publication | Publication Date | Title |
|---|---|---|
| CN105076105A (en) | Automatic-sensing mosquito dispeller | |
| CN104344327A (en) | Wave power generation lamp | |
| CN203273458U (en) | Highly-sealed light-emitting diode (LED) underwater lamp | |
| CN203836628U (en) | Novel COB work maintenance lamp | |
| CN204042694U (en) | The lampshade of spotlight | |
| CN203517596U (en) | A LED solar umbrella light | |
| CN204268104U (en) | LED solar energy lantern | |
| CN207740750U (en) | A kind of LED lamp which is convenient to replace internal LED light-emitting element | |
| CN207438202U (en) | A kind of LED light with water-proof function | |
| CN207599359U (en) | A LED point light source | |
| CN204026481U (en) | A kind of umbrella formula book clamp lighting | |
| CN203517597U (en) | A solar-powered antique horse lamp | |
| CN201582768U (en) | Waterproof device of LED street lamp | |
| CN204181155U (en) | With the outdoor multifunctional LED of drinking water function | |
| CN204806149U (en) | High -efficient radiating illumination ceiling light | |
| CN201363641Y (en) | Solar ground lamp | |
| CN203177023U (en) | Solar garden lamp | |
| CN202901870U (en) | Light emitting diode (LED) chargeable flashlight | |
| CN203082769U (en) | Solar wall lamp with luminescent tube | |
| CN202602974U (en) | Cascade type LED driver | |
| CN201533262U (en) | Solar electric source | |
| CN206439641U (en) | A kind of Moisture-proof lamp | |
| CN202972885U (en) | Waterproof solar bulb | |
| CN204062714U (en) | LED light device in a kind of switch cubicle | |
| CN205508879U (en) | A high-efficiency LED lamp with a golden ball |
Legal Events
| Date | Code | Title | Description |
|---|---|---|---|
| C14 | Grant of patent or utility model | ||
| GR01 | Patent grant | ||
| CF01 | Termination of patent right due to non-payment of annual fee |
Granted publication date: 20131106 Termination date: 20140621 |
|
| EXPY | Termination of patent right or utility model |