CN203260731U - 一种宽带移动终端天线 - Google Patents
一种宽带移动终端天线 Download PDFInfo
- Publication number
- CN203260731U CN203260731U CN 201320071473 CN201320071473U CN203260731U CN 203260731 U CN203260731 U CN 203260731U CN 201320071473 CN201320071473 CN 201320071473 CN 201320071473 U CN201320071473 U CN 201320071473U CN 203260731 U CN203260731 U CN 203260731U
- Authority
- CN
- China
- Prior art keywords
- radiation
- loop
- metal
- antenna
- links
- Prior art date
- Legal status (The legal status is an assumption and is not a legal conclusion. Google has not performed a legal analysis and makes no representation as to the accuracy of the status listed.)
- Expired - Fee Related
Links
- 230000005855 radiation Effects 0.000 claims abstract description 126
- 239000002184 metal Substances 0.000 claims abstract description 93
- 229910052751 metal Inorganic materials 0.000 claims abstract description 93
- 229910052755 nonmetal Inorganic materials 0.000 abstract 2
- 238000004891 communication Methods 0.000 description 4
- 150000002739 metals Chemical group 0.000 description 4
- 230000015572 biosynthetic process Effects 0.000 description 2
- 238000011161 development Methods 0.000 description 2
- 238000010586 diagram Methods 0.000 description 2
- 238000005516 engineering process Methods 0.000 description 2
- 230000005404 monopole Effects 0.000 description 2
- 230000001105 regulatory effect Effects 0.000 description 2
- 238000012360 testing method Methods 0.000 description 2
- 238000013461 design Methods 0.000 description 1
- 230000009977 dual effect Effects 0.000 description 1
- 238000005259 measurement Methods 0.000 description 1
- 238000000034 method Methods 0.000 description 1
Images
Landscapes
- Support Of Aerials (AREA)
Abstract
本实用新型提供了一种宽带移动终端天线,该宽带移动终端天线包括手持终端金属部分和非金属部分,金属部分包括PCB板以及与PCB板相连的金属外框,PCB板上覆盖有金属层,该天线系统还包括天线部分,天线部分位于非金属部分并与金属部分相连。天线部分包括馈电部分、接地部分、回路辐射部分和金属辐射环,馈电部分连接馈源信号端,接地部分接地且与金属部分相连,回路辐射部分首尾分别与馈电部分和接地部分相连,且回路辐射部分还与金属辐射环相连,金属辐射环与金属外框之间存在间隙,天线部分和金属部分构成了整个天线系统。本实用新型有效利用部分金属外框,并实现宽带特点,覆盖GSM,UMTS,LTE6个频段,且缩短天线占用空间。
Description
技术领域
本实用新型涉及手机天线的设计技术领域,尤其涉及一种宽带移动终端天线。
背景技术
小型化多频段内置天线一直是手持通信终端天线的发展方向。已有的天线形式包括多频单极子天线(monopole antenna),单环或双环天线(single loop or dual loop antenna),倒置折叠天线(IFA),平面倒置折叠天线(PIFA)。这些天线类型在不同的手持通信终端环境中各有其使用的条件和性能。根据不同的要求可以选择不同的天线形式。
通常移动终端设备包括GSM850/900,DCS,PCS,UMTS,其频率范围为0.824GHz-0.96GHz,1.71GHz-2.17GHz。随着LTE技术的不断发展,3.5GHz,4GHz备受关注.愈来愈多的手机需要天线同时满足传统的2G网络频段和LTE频段,手机等移动终端的发展越来越多样化。
实用新型内容
本实用新型旨在提供一种宽带移动终端天线,以提高天线的性能。
本实用新型为一种宽带移动终端天线,该宽带移动终端天线包括手持终端的金属部分和非金属部分,所述金属部分包括PCB板以及与所述PCB板相连的金属外框,所述PCB板上覆盖有金属层,所述宽带移动终端天线还包括天线部分,所述天线部分位于所述非金属部分上,且所述天线部分与所述金属部分相连,其中,所述天线部分包括:
馈电部分,与一馈源信号端相连;
接地部分,接地且与所述金属部分相连;
回路辐射部分,与所述馈电部分及所述接地部分相连,且位于所述馈电部分与所述接地部分之间;
金属辐射环,位于所述非金属部分的外侧边缘处,且所述金属辐射环与所述回路辐射部分相连;且所述金属辐射环与所述金属外框之间存在缝隙。
一些实施例中,所述回路辐射部分包括依次相连的回路辐射第一部分、回路辐射第二部分、回路辐射第三部分、回路辐射第四部分,回路辐射第五部分和回路辐射第六部分,且所述回路辐射第二部分通过所述回路辐射第一部分与所述馈电部分相连,所述回路辐射第五部分通过所述回路辐射第六部分与所述接地部分相连。
一些实施例中,所述回路辐射第三部分一端与所述回路辐射第二部分相连,所述回路辐射第三部分的另一端连接到所述金属辐射环上。
一些实施例中,所述回路辐射第四部分两端分别横向连接在所述回路辐射第三部分和第五部分上,且所述回路辐射第四部分与所述金属辐射环相对并间隔开。
一些实施例中,所述回路辐射部分还包括回路辐射第七部分,所述回路辐射第七部分连接所述回路辐射第四部分和所述金属辐射环,且所述回路辐射第七部分与所述回路辐射第四部分相对并间隔开。
一些实施例中,所述金属辐射环为具有厚度的金属结构件。
本实用新型由于采用以上技术方案,使之与现有技术相比:
本实用新型使用部分金属结构作为天线的一部分参与辐射,进一步的利用有限空间,缩短天线部分占用尺寸,且该天线有效利用部分金属外框,并实现宽带特点,覆盖GSM,UMTS,LTE6个频段。
附图说明
结合附图,通过下文的述详细说明,可更清楚地理解本实用新型的上述及其他特征和优点,其中:
图1为本实用新型天线系统组装示意图
图2为本实用新型天线正视图
图3为本实用新型天线局部图
图4为本实用新型天线频率响应图
图5为本实用新型实测辐射效率图
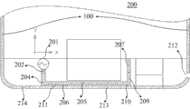
符号说明:
100-金属部分
101、102-非金属部分
103、104-金属器件
105-支撑部件
200-天线部分
201-馈电部分
202-回路辐射第一部分
203-回路辐射第二部分
204-回路辐射第三部分
205-回路辐射第四部分
206-回路辐射第七部分
207-接地部分
208-回路辐射第六部分
209-回路辐射第五部分
210-回路辐射第四部分与金属辐射环之间的第一缝隙
211-回路辐射第四部分与金属辐射环之间的第二缝隙
212,214-金属辐射环两端的缝隙
213-金属辐射环
具体实施方式
参见示出本实用新型实施例的附图,下文将更详细地描述本实用新型。然而,本实用新型可以以许多不同形式实现,并且不应解释为受在此提出之实施例的限制。相反,提出这些实施例是为了达成充分及完整公开,并且使本技术领域的技术人员完全了解本实用新型的范围。这些附图中,为清楚起见,可能放大了层及区域的尺寸及相对尺寸。
参考图1,本实用新型提供的一种宽带移动终端天线,该宽带移动终端天线包括手持终端金属部分100和非金属部分101、102,金属部分100包括PCB板以及与PCB板相连的金属外框,具体的金属外框设置于PCB板的外侧边缘上,且PCB板上覆盖有金属层,该利用金属环做天线的新型LTE终端天线还包括天线部分200,天线部分200位于非金属部分101、102上,且天线部分200与金属部分100相连。
参考图2-3,天线部分200包括:馈电部分201、接地部分207、回路辐射部分、金属辐射环213以及设置于金属辐射环213与金属外框之间的缝隙212、214。其中,馈电部分201与馈源信号端相连,接收馈源信号;接地部分207接地且与金属部分100相连,具体地在该实例中,接地部分207与PCB板相连;回路辐射部分与馈电部分201和接地部分207相连,且位于馈电部分201和接地部分207之间;金属辐射环213位于非金属部分101、102的外侧边缘处,且金属辐射环213与回路辐射部分相连。
其中,回路辐射部分包括依次相连的回路辐射第一部分202、回路辐射第二部分203、回路辐射第三部分204、回路辐射第四部分205、回路辐射第五部分209和回路辐射第六部分208。上述回路辐射各部分形成一个U型回路。具体的,回路辐射第二部分203通过回路辐射第一部分202与馈电部分201相连,回路辐射第二部分203竖直方向上连接了回路辐射第一部分202和回路辐射第三部分204,即如图3中所示回路辐射第二部分203位于XZ平面内;回路辐射第三部分204一端与回路辐射第二部分203相连,另一端连接到金属辐射环213上;回路辐射第四部分205的一端连接到回路辐射第三部分204上,并与金属辐射环213相对且间隔开形成缝隙210,缝隙210的大小可以根据具体情况调节,此处不做限制;回路辐射第四部分205的另一端与回路辐射第五部分209连接;回路辐射第六部分208竖直方向上连接了回路辐射第五部分209和接地部分207,即如图3中所示回路辐射 第六部分208位于XZ平面内。回路辐射部分还包括回路辐射第七部分206,回路辐射第七部分206连接金属辐射环213与回路辐射第四部分205,且回路辐射第七部分206与回路辐射第三部分204相对且间隔开形成缝隙211,回路辐射第六部分206的位置以及缝隙211的大小可以根据具体情况调节,此处不做限制。
金属辐射环213为具有一定厚度的金属结构件,此处对于金属辐射环213的厚度不做限制,根据具体情况而定。金属辐射环213与手持终端共性,即具有特定的倒角等特征。采用金属辐射环213使本实施例最大限度的利用了天线的高度。
金属框架与金属辐射环213之间存在的缝隙214、212,。金属辐射环213一端的缝隙214位于非金属部分的一端边缘靠近馈电部分201处,缝隙214为1mm宽度窄缝,靠近馈电部分201,靠近缝隙214的金属部分等效为寄生谐振,增加高频带宽;金属辐射环213另一端的金缝隙212为1mm宽度窄缝,。当然金属辐射环213两端缝隙214、212的位置以及大小也可根据具体情况而定,此处不做限制。
本实用新型提供的一种宽带移动终端天线中金属外框与天线部分结合构成了整个天线系统,当然各天线部分的的宽度可根据体情况而改变,此处不做限制。
参照图4为本实施例回波损耗图,由图4可知GSM850/900,DCS,PCS,UMTS,LTE TD-SCDMA1800/2000/2300通讯带宽所在频率段对应的回波损失度满足要求。
参照图5为本实施例测试自由空间辐射效率图,由图4可知,测试得到的自由空间辐射效率的低频平均效率为-2.7dB,高频平均效率为-1.5dB,满足通讯带宽要求。
本实用新型利用部分金属外框与天线部分结合构成了整个天线系统,从而使得本实用新型运用在手机中时,能更合理、紧凑的布局手机内部器件,现参考图1,该手机终端具体还可以包括多个金属器件,这些金属器件的优化布局如下:金属器件104,具体的可为与扬声器近似尺寸的手机部件,可设置于金属部分103与非金属部分101的交接区域内,且位于回路辐射第四部分205的下方以及馈电部分201和接地部分208的之间;金属器件103,具体的可为与USB近似尺寸的手机部件,金属部件103通过一绝缘支撑部件105设置于非金属区内,且位于接地 部分208的右侧,金属部件103并与支撑部件105相连。上述手机内部布局方案只是举例说明由于采用本实用新型缩小了天线部分占用空间,具体实施过程中并不以此为例,可根据具体情况而定。
综上所述,本实用新型提供了一种宽带移动终端天线,该宽带移动终端天线包括手持终端金属部分和非金属部分,金属部分包括PCB板以及与PCB板相连的金属外框,PCB板上覆盖有金属层,利用金属环做天线的新型LTE终端天线还包括天线部分,天线部分位于非金属部分及非金属部分的上方,且天线部分与金属部分相连。其中,天线部分包括馈电部分、接地部分、回路辐射部分、金属辐射环,馈电部分连接馈源信号端,接地部分接地且与金属部分相连,回路辐射部分首尾分别与馈电部分和接地部分相连,且回路辐射部分还与金属辐射环相连,金属辐射环与金属外框之间存在间隙,天线部分和金属部分构成了整个天线系统。本实用新型有效利用部分金属外框,并实现宽带特点,覆盖GSM,UMTS,LTE6个频段,同时还缩短了天线占用空间。
本技术领域的技术人员应理解,本实用新型可以以许多其他具体形式实现而不脱离本实用新型的精神或范围。尽管也已描述了本实用新型的实施例,应理解本实用新型不应限制为这些实施例,本技术领域的技术人员可如所附权利要求书界定的本实用新型精神和范围之内作出变化和修改。
Claims (6)
1.一种宽带移动终端天线,其特征在于,该宽带移动终端天线包括手持终端的金属部分和非金属部分,所述金属部分包括PCB板以及与所述PCB板相连的金属外框,所述PCB板上覆盖有金属层,所述宽带移动终端天线还包括天线部分,所述天线部分位于所述非金属部分上,且所述天线部分与所述金属部分相连,其中,所述天线部分包括:
馈电部分,与一馈源信号端相连;
接地部分,接地且与所述金属部分相连;
回路辐射部分,与所述馈电部分及所述接地部分相连,且位于所述馈电部分与所述接地部分之间;
金属辐射环,位于所述非金属部分的外侧边缘处,且所述金属辐射环与所述回路辐射部分相连;且所述金属辐射环与所述金属外框之间存在缝隙。
2.根据权利要求1所述的宽带移动终端天线,其特征在于,所述回路辐射部分包括依次相连的回路辐射第一部分、回路辐射第二部分、回路辐射第三部分、回路辐射第四部分,回路辐射第五部分和回路辐射第六部分,且所述回路辐射第二部分通过所述回路辐射第一部分与所述馈电部分相连,所述回路辐射第五部分通过所述回路辐射第六部分与所述接地部分相连。
3.根据权利要求2所述的宽带移动终端天线,其特征在于,所述回路辐射第三部分一端与所述回路辐射第二部分相连,所述回路辐射第三部分的另一端连接到所述金属辐射环上。
4.根据权利要求2所述的宽带移动终端天线,其特征在于,所述回路辐射第四部分两端分别横向连接在所述回路辐射第三部分和第五部分上,且所述回路辐射第四部分与所述金属辐射环相对并间隔开。
5.根据权利要求2所述的宽带移动终端天线,其特征在于,所述回路辐射部分还包括回路辐射第七部分,所述回路辐射第七部分连接所述回路辐射第四部分和所述金属辐射环,且所述回路辐射第七部分与所述回路辐射第四部分相对并间隔开。
6.根据权利要求1所述的宽带移动终端天线,其特征在于,所述金属辐射环为具有厚度的金属结构件。
Priority Applications (1)
| Application Number | Priority Date | Filing Date | Title |
|---|---|---|---|
| CN 201320071473 CN203260731U (zh) | 2013-02-07 | 2013-02-07 | 一种宽带移动终端天线 |
Applications Claiming Priority (1)
| Application Number | Priority Date | Filing Date | Title |
|---|---|---|---|
| CN 201320071473 CN203260731U (zh) | 2013-02-07 | 2013-02-07 | 一种宽带移动终端天线 |
Publications (1)
| Publication Number | Publication Date |
|---|---|
| CN203260731U true CN203260731U (zh) | 2013-10-30 |
Family
ID=49473271
Family Applications (1)
| Application Number | Title | Priority Date | Filing Date |
|---|---|---|---|
| CN 201320071473 Expired - Fee Related CN203260731U (zh) | 2013-02-07 | 2013-02-07 | 一种宽带移动终端天线 |
Country Status (1)
| Country | Link |
|---|---|
| CN (1) | CN203260731U (zh) |
Cited By (8)
| Publication number | Priority date | Publication date | Assignee | Title |
|---|---|---|---|---|
| CN104022350A (zh) * | 2014-06-12 | 2014-09-03 | 电子科技大学 | 具有金属边框的智能机天线 |
| CN105530342A (zh) * | 2016-01-29 | 2016-04-27 | 上海华章信息科技有限公司 | 天线系统及其移动终端 |
| CN105552552A (zh) * | 2016-01-27 | 2016-05-04 | 杭州禾声科技有限公司 | 一种基于金属边框的多频带天线 |
| CN105897962A (zh) * | 2015-02-06 | 2016-08-24 | 三星电子株式会社 | 具有覆盖物的电子装置 |
| CN106450669A (zh) * | 2016-12-15 | 2017-02-22 | 奇酷互联网络科技(深圳)有限公司 | 移动终端及其天线装置 |
| CN108023183A (zh) * | 2016-10-31 | 2018-05-11 | 北京小米移动软件有限公司 | 移动终端的天线结构及移动终端 |
| US10530912B2 (en) | 2015-02-06 | 2020-01-07 | Samsung Electronics Co., Ltd. | Electronic device including display with bent area |
| US10665924B2 (en) | 2015-02-06 | 2020-05-26 | Samsung Electronics Co., Ltd | Housing, manufacturing method thereof, and electronic device having the housing |
-
2013
- 2013-02-07 CN CN 201320071473 patent/CN203260731U/zh not_active Expired - Fee Related
Cited By (13)
| Publication number | Priority date | Publication date | Assignee | Title |
|---|---|---|---|---|
| CN104022350B (zh) * | 2014-06-12 | 2016-06-08 | 电子科技大学 | 具有金属边框的智能机天线 |
| CN104022350A (zh) * | 2014-06-12 | 2014-09-03 | 电子科技大学 | 具有金属边框的智能机天线 |
| US10530912B2 (en) | 2015-02-06 | 2020-01-07 | Samsung Electronics Co., Ltd. | Electronic device including display with bent area |
| CN105897962A (zh) * | 2015-02-06 | 2016-08-24 | 三星电子株式会社 | 具有覆盖物的电子装置 |
| US10665924B2 (en) | 2015-02-06 | 2020-05-26 | Samsung Electronics Co., Ltd | Housing, manufacturing method thereof, and electronic device having the housing |
| US11575779B2 (en) | 2015-02-06 | 2023-02-07 | Samsung Electronics Co., Ltd. | Electronic device including display with bent area |
| US11611141B2 (en) | 2015-02-06 | 2023-03-21 | Samsung Electronics Co., Ltd | Housing, manufacturing method thereof, and electronic device having the housing |
| CN105552552A (zh) * | 2016-01-27 | 2016-05-04 | 杭州禾声科技有限公司 | 一种基于金属边框的多频带天线 |
| CN105552552B (zh) * | 2016-01-27 | 2018-09-18 | 杭州禾声科技有限公司 | 一种基于金属边框的多频带天线 |
| CN105530342B (zh) * | 2016-01-29 | 2018-05-29 | 上海华章信息科技有限公司 | 天线系统及其移动终端 |
| CN105530342A (zh) * | 2016-01-29 | 2016-04-27 | 上海华章信息科技有限公司 | 天线系统及其移动终端 |
| CN108023183A (zh) * | 2016-10-31 | 2018-05-11 | 北京小米移动软件有限公司 | 移动终端的天线结构及移动终端 |
| CN106450669A (zh) * | 2016-12-15 | 2017-02-22 | 奇酷互联网络科技(深圳)有限公司 | 移动终端及其天线装置 |
Similar Documents
| Publication | Publication Date | Title |
|---|---|---|
| CN103117452B (zh) | 一种新型lte终端天线 | |
| CN203260731U (zh) | 一种宽带移动终端天线 | |
| CN104795623B (zh) | 移动装置及其制造方法 | |
| US11133605B2 (en) | Antenna structure | |
| CN103151601B (zh) | 一种底边槽耦合天线 | |
| CN101106211B (zh) | 双回路多频天线 | |
| US20090051614A1 (en) | Folded dipole antenna | |
| CN103236583A (zh) | 一种增强带宽的新型lte金属框天线 | |
| TWI646731B (zh) | 行動電子裝置 | |
| KR20120138758A (ko) | 강화된 안테나 아이솔레이션을 위한 새로운 전류 분포 및 방사 패턴을 가진 안테나 | |
| CN201616506U (zh) | 移动通信天线设备及移动通信终端设备 | |
| US9379429B2 (en) | Antenna assembly and wireless communication device using the same | |
| US9142890B2 (en) | Antenna assembly | |
| US20120176291A1 (en) | Input device for computer system | |
| CN103346393A (zh) | 一种应用于移动终端的含有凸出地板的多频平面印制天线 | |
| CN109509961B (zh) | 移动电子装置 | |
| US10122093B2 (en) | Dipole array antenna | |
| CN204441460U (zh) | 一种新型宽频带的ifa天线 | |
| CN203367465U (zh) | 一种超宽带的新型lte金属框天线 | |
| US9385417B2 (en) | Broadband antenna and wireless communication device employing same | |
| CN202817178U (zh) | 双频单级天线及其移动终端 | |
| CN202513278U (zh) | 一种终端天线 | |
| WO2014171670A1 (ko) | 도체 표면 안테나 | |
| CN107275770A (zh) | 一种双频wifi环形天线及移动终端 | |
| US20130342420A1 (en) | Antenna assembly with multiband function |
Legal Events
| Date | Code | Title | Description |
|---|---|---|---|
| C14 | Grant of patent or utility model | ||
| GR01 | Patent grant | ||
| CF01 | Termination of patent right due to non-payment of annual fee |
Granted publication date: 20131030 Termination date: 20170207 |
|
| CF01 | Termination of patent right due to non-payment of annual fee |