CN203254396U - Device for storing liquid crystal display screen - Google Patents

Device for storing liquid crystal display screen Download PDF

Info

Publication number
CN203254396U
CN203254396U CN 201320233206 CN201320233206U CN203254396U CN 203254396 U CN203254396 U CN 203254396U CN 201320233206 CN201320233206 CN 201320233206 CN 201320233206 U CN201320233206 U CN 201320233206U CN 203254396 U CN203254396 U CN 203254396U
Authority
CN
China
Prior art keywords
groove
lcds
round bar
straight plates
screw rods
Prior art date
Legal status (The legal status is an assumption and is not a legal conclusion. Google has not performed a legal analysis and makes no representation as to the accuracy of the status listed.)
Expired - Lifetime
Application number
CN 201320233206
Other languages
Chinese (zh)
Inventor
贺术春
Current Assignee (The listed assignees may be inaccurate. Google has not performed a legal analysis and makes no representation or warranty as to the accuracy of the list.)
Hunan Jingxun Photoelectric Co ltd
Original Assignee
CHENZHOU JENSON DISPLAY Co Ltd
Priority date (The priority date is an assumption and is not a legal conclusion. Google has not performed a legal analysis and makes no representation as to the accuracy of the date listed.)
Filing date
Publication date
Application filed by CHENZHOU JENSON DISPLAY Co Ltd filed Critical CHENZHOU JENSON DISPLAY Co Ltd
Priority to CN 201320233206 priority Critical patent/CN203254396U/en
Application granted granted Critical
Publication of CN203254396U publication Critical patent/CN203254396U/en
Anticipated expiration legal-status Critical
Expired - Lifetime legal-status Critical Current

Links

Images

Landscapes

  • Devices For Indicating Variable Information By Combining Individual Elements (AREA)

Abstract

Provided is a device for storing a liquid crystal display screen. Evenly-distributed grooves are formed in round groove rods, the width of the grooves is a little larger than the thickness of the liquid crystal display screen, screw rods are arranged at the two ends of each round groove rod, screw rods are arranged at the two ends of each round rod, two sets of circular holes matched with the screw rods at the two ends of each round groove rod are respectively formed in the middle of two straight plates, and a set of circular holes matched with the screw rods at the two ends of each round rod is respectively formed in the lower portions of the two straight plates. Two ends of two sets of round groove rods penetrate through the matched circular holes formed in the middle of the two straight plates respectively and are fixed through nuts, and two ends of one set of round rods penetrate through the matched circular holes formed in the lower portions of the two straight plates respectively and are fixed through nuts.

Description

A kind of device of depositing LCDs
Technical field
The utility model relates to a kind of device of depositing LCDs.
Background technology
At present, known LCDs manufacturing enterprise is to deposit LCDs with box, this location mode, and Air Flow is not smooth, is unfavorable for the LCDs keeping.
Summary of the invention
To deposit LCDs in order overcoming to have now with box, and to cause Air Flow not smooth, be unfavorable for the deficiency of LCDs keeping.The utility model provides a kind of device of depositing LCDs, uses this device, can guarantee LCDs in the keeping process, and Air Flow is smooth and easy.
In order to achieve the above object, to solve the technical scheme that its technical problem adopts be following design to the utility model:
Equally distributed groove is arranged on the groove round bar, the width of groove is slightly larger than the thickness of LCDs, the two ends of groove round bar are screw rods, the two ends of round bar are screw rods, the circular hole that the circular hole that the middle part of two blocks of straight plates respectively has two groups of screw rods with groove round bar two ends to be complementary, the bottom of two blocks of straight plates respectively have one group of screw rod with the round bar two ends to be complementary.The two ends of two groups of groove round bars are fixed by nut after passing respectively the circular hole that the middle part of two blocks of straight plates is complementary, and the two ends of one group of round bar are fixed by nut after passing respectively the circular hole that the bottom of two blocks of straight plates is complementary.
During use, this device is placed on finishing room of factory, and the LCDs of producing is put into this device, and in the groove on the edge of the LCDs insertion groove round bar.
Effect of the present utility model is: can guarantee LCDs in the keeping process, Air Flow is smooth and easy, and structure cylinder list is easy to use.
Description of drawings
The utility model is described in further detail below in conjunction with the drawings and specific embodiments:
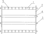
Fig. 1 is a kind of structural representation of depositing the device of LCDs.
Fig. 2 is the top view of Fig. 1.
Fig. 3 is the A of Fig. 1---the A view.
Among the figure,
1, groove round bar 2, straight plate 3, nut 4, round bar
5, groove.
The specific embodiment
In Fig. 1, Fig. 2, embodiment shown in Figure 3, equally distributed groove 5 is arranged on the groove round bar 1, the width of groove 5 is slightly larger than the thickness of LCDs, the two ends of groove round bar 1 are screw rods, the two ends of round bar 4 are screw rods, the circular hole that the circular hole that the middle part of two blocks of straight plates 2 respectively has two groups of screw rods with groove round bar 1 two ends to be complementary, the bottom of two blocks of straight plates 2 respectively have one group of screw rod with round bar 4 two ends to be complementary.After the circular hole that the middle part of two blocks of straight plates 2 is complementary is passed respectively at the two ends of two groups of groove round bars 1, fixing by nut 3, after the circular hole that the bottom of two blocks of straight plates 2 is complementary is passed respectively at the two ends of one group of round bar 4, fixing by nut 3.
During use, this device is placed on finishing room of factory, and the LCDs of producing is put into this device, and in the groove 5 on the edge of the LCDs insertion groove round bar 1.

Claims (2)

1. device of depositing LCDs, the two ends of groove round bar (1) are screw rods, the two ends of round bar (4) are screw rods, after the circular hole that the middle part of two blocks of straight plates (2) is complementary is passed respectively at the two ends of two groups of groove round bars (1), fixing by nut (3), after the circular hole that the bottom of two blocks of straight plates (2) is complementary is passed respectively at the two ends of one group of round bar (4), fixing by nut (3) It is characterized in that: equally distributed groove (5) is arranged on the groove round bar (1).
2. a kind of device of depositing LCDs according to claim 1, It is characterized in that: the width of groove (5) is slightly larger than the thickness of LCDs.
CN 201320233206 2013-05-03 2013-05-03 Device for storing liquid crystal display screen Expired - Lifetime CN203254396U (en)

Priority Applications (1)

Application Number Priority Date Filing Date Title
CN 201320233206 CN203254396U (en) 2013-05-03 2013-05-03 Device for storing liquid crystal display screen

Applications Claiming Priority (1)

Application Number Priority Date Filing Date Title
CN 201320233206 CN203254396U (en) 2013-05-03 2013-05-03 Device for storing liquid crystal display screen

Publications (1)

Publication Number Publication Date
CN203254396U true CN203254396U (en) 2013-10-30

Family

ID=49467000

Family Applications (1)

Application Number Title Priority Date Filing Date
CN 201320233206 Expired - Lifetime CN203254396U (en) 2013-05-03 2013-05-03 Device for storing liquid crystal display screen

Country Status (1)

Country Link
CN (1) CN203254396U (en)

Cited By (1)

* Cited by examiner, † Cited by third party
Publication number Priority date Publication date Assignee Title
CN103252765A (en) * 2013-05-03 2013-08-21 郴州市晶讯光电有限公司 Device for storing liquid crystal display screen

Cited By (1)

* Cited by examiner, † Cited by third party
Publication number Priority date Publication date Assignee Title
CN103252765A (en) * 2013-05-03 2013-08-21 郴州市晶讯光电有限公司 Device for storing liquid crystal display screen

Similar Documents

Publication Publication Date Title
CN203254396U (en) Device for storing liquid crystal display screen
CN202848321U (en) Gear wheel placing frame
CN204137549U (en) A kind of glass turnover rack
CN103252765A (en) Device for storing liquid crystal display screen
CN203460155U (en) Device for storing shaft workpieces
CN203185328U (en) Adjustable grid plate storage frame
CN202807651U (en) Conveying belt with dummy plates
CN203650490U (en) Handrail storing rack
CN204688696U (en) A kind of storage bracket of lithium battery pole slice
CN204117809U (en) The adjustable for height transformer framework of fixed block
CN204068612U (en) A kind of template being wound around motor coil
CN103170937A (en) Double-head and double-layer ring spanner
CN202869346U (en) Arc condenser sectional material
CN203067493U (en) Corrugated connection fixing piece with cushion plates
CN209016018U (en) Suitable for thin slice PERC battery laser technique notching construction
CN109895052A (en) A kind of device for storing liquid crystal display
CN203168491U (en) Bedroom television placing cabinet with left row drawers and right row drawers
CN206777960U (en) A kind of cellular spandex stoste screen pack
CN203592479U (en) Shelf capable of being disassembled and assembled
CN203680133U (en) Multifunctional nut internal thread mold fixing device
CN203320762U (en) Curtain wall with storage function
CN203144657U (en) Warp knitting machine stripping comb
CN203067472U (en) Screw with cushion plates
CN203195068U (en) Honeycomb cupboard panel
CN202513580U (en) Thyristor valve for fling-cut switch of solid composite reactive device

Legal Events

Date Code Title Description
C14 Grant of patent or utility model
GR01 Patent grant
CP03 Change of name, title or address

Address after: 423300 Zhoujia village, Bianjiang Town, Yongxing County, Chenzhou City, Hunan Province (jingxun science and Technology Park, national circular economy demonstration park)

Patentee after: Hunan jingxun photoelectric Co.,Ltd.

Address before: 423300 national circular economy demonstration park, Yongxing County, Chenzhou City, Hunan Province

Patentee before: CHENZHOU JENSON DISPLAY Co.,Ltd.

CP03 Change of name, title or address
CX01 Expiry of patent term

Granted publication date: 20131030

CX01 Expiry of patent term