CN203229338U - Simple auxiliary lifting device - Google Patents
Simple auxiliary lifting device Download PDFInfo
- Publication number
- CN203229338U CN203229338U CN 201220709379 CN201220709379U CN203229338U CN 203229338 U CN203229338 U CN 203229338U CN 201220709379 CN201220709379 CN 201220709379 CN 201220709379 U CN201220709379 U CN 201220709379U CN 203229338 U CN203229338 U CN 203229338U
- Authority
- CN
- China
- Prior art keywords
- arm
- auxiliary lifting
- crane arm
- lifting device
- clutch disk
- Prior art date
- Legal status (The legal status is an assumption and is not a legal conclusion. Google has not performed a legal analysis and makes no representation as to the accuracy of the status listed.)
- Expired - Lifetime
Links
- 229910000831 Steel Inorganic materials 0.000 claims abstract description 17
- 239000010959 steel Substances 0.000 claims abstract description 17
- 238000003466 welding Methods 0.000 claims description 6
- 229910000679 solder Inorganic materials 0.000 claims description 3
- 238000005553 drilling Methods 0.000 abstract description 3
- 239000010720 hydraulic oil Substances 0.000 abstract 2
- 238000005516 engineering process Methods 0.000 description 2
- 238000009434 installation Methods 0.000 description 2
- 238000010586 diagram Methods 0.000 description 1
- 230000009977 dual effect Effects 0.000 description 1
- 230000001050 lubricating effect Effects 0.000 description 1
- 238000000034 method Methods 0.000 description 1
Images
Landscapes
- Jib Cranes (AREA)
Abstract
The utility model discloses a simple auxiliary lifting device belonging to the technical field of drilling machine lifting. The simple auxiliary lifting device comprises a hydraulic oil cylinder, a connection support, a rotating mechanism, a lifting arm, a connection disk and a connection bracket, wherein the hydraulic oil cylinder is connected with the lifting arm; the lifting arm is welded with the connection support; the lifting arm and the connection support are welded to the connection disk in an integrated manner; the connection disk and the rotating mechanism as well as the rotating mechanism and the connection bracket are connected through bolts; the lifting arm consists of an inner telescopic arm and an outer fixed arm; the inner telescopic arm and the outer fixed arm are made of rectangular steel. Compared with the prior art, the simple auxiliary lifting device has the advantages that 140-degree rotation is realized, and 70-degree rotating angles in the left-right direction can be formed; the simple auxiliary lifting device is economical and practical; the coverage area of a lifted heavy is wide; the simple auxiliary lifting device can lift heavies at different positions by only rotating a certain angle; the simple auxiliary lifting device is safe, reliable and convenient to mount and lubricate.
Description
Technical field
The utility model specifically is a kind of easy auxiliary lifting appliance, belongs to auxiliary lifting technical field.
Background technology
Auxiliary lifting appliance is widely used in the occasion of various hoisting heavies, is used the loading and unloading of carrying out weight with elevator.At present, the lifting appliance of the lifting drilling rod that adopts in the drilling well, crane arm is connected with dual mode: first kind is to be welded on the support of cylinder type, this type of attachment is very inconvenient when installing, dismantle, lubricating the pulley of guide wire rope; Second kind to be that two block plates are edge-on be welded on the crane arm rectangle steel, and the Joint strenght of this kind mode is low, and ability to bear is poor.In addition, whole with the outside attaching parts of lifting appliance partly bears bigger power, and present cantilever design form is stressed bigger, fragile.
Summary of the invention
At the problem that above-mentioned prior art exists, the utility model provides a kind of easy auxiliary lifting appliance, and is simple in structure, easily installation, dismounting, and easy care, structural strength is reliable, and ability to bear is good, and is not fragile, long service life.
For solving the problems of the technologies described above, the utility model is auxiliary lifting appliance easily, comprise hydraulic ram, connect bearing, swing type mechanism, crane arm, clutch disk, connection support, hydraulic ram is connected with crane arm, crane arm be connected bearing welding, above-mentioned crane arm be connected the bearing integral solder to clutch disk, between clutch disk and the swing type mechanism, swing type mechanism all connects by bolt with being connected between the support, described crane arm is made up of internal layer telescopic boom and outer fixed arm, and described internal layer telescopic boom and outer fixed arm are made by rectangle steel.
Further, connect bearing and be welded by left and right sides supporting steel plate and middle rectangle steel, structural strength is reliable, and load-carrying capacity is bigger, is difficult for losing long service life.
Further, connect support and be welded by top connecting panel and bottom connecting panel, the top connecting panel is installed the crane arm structure, the bottom connecting panel is the L type and the external device (ED) welding is fixing, technique scheme bottom connecting panel adopts the design of L type, has increased the face of being welded to connect, and strengthens to connect load-carrying capacity.
Further, be provided with positive stop at clutch disk, be provided with postive stop baffle at the connection support, thereby the degreeof turn that guarantees crane arm can not transfinite, prevent that crane arm and other device from producing collision, protected crane arm effectively.
Further, clutch disk is designed to notch cuttype, all adopt bolt to be connected with the Internal and external cycle of swing type mechanism, the swing type mechanism revolution drives crane arm and clutch disk rotation, thereby realize the revolution action of lifting appliance, the design of notch cuttype makes swing type mechanism more flexible when rotating, and lubricated convenient, is conducive to M R.
Compared with prior art, the utlity model has following:
1) realize 140 ° of revolutions, about can realize 70 ° the anglec of rotation;
2) economical and practical: the utility model is simple to operate, be used with the hydraulic pressure elevator, 1 meter of crane arm maximum elongation, about can rotate 70 °, economical and practical, the covering face width of hoisting heavy only need rotate to an angle, and can realize the lifting of diverse location weight.
3) safe and reliable: connect bearing and adopt steel plate and rectangle steel Combination Welding to form, load-carrying capacity is bigger; Welded limiting block on the rotating disk guarantees that the degreeof turn of crane arm can not transfinite, and prevents that crane arm and other device from producing collision; The connecting panel that connects on the support is designed to the L type, has increased the face of being welded to connect, and strengthens to connect load-carrying capacity.
4) installation, conveniently lubricated: the utility model employing rectangle steel connects bearing, makes steel rope guide pulley and installs, lubricates conveniently; Design one notch cuttype clutch disk in the middle of revolution support and the crane arm bearing adopts the bolt connection, and assurance is installed, dismounting is all very simple.
Description of drawings
Fig. 1 is the constructional drawing of auxiliary lifting appliance of the present utility model;
Fig. 2 is left view of the present utility model;
Fig. 3 is birds-eye view of the present utility model;
Fig. 4 connects the bearing scheme drawing for the utility model;
Fig. 5 is the utility model L shaped steel plate connection diagram.
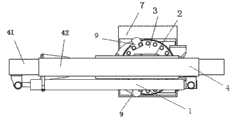
Among the figure: 1, hydraulic ram; 2, connect bearing; 3, swing type mechanism; 4, crane arm; 41, internal layer telescopic boom; 42, outer fixed arm; 5, guide wire rope pulley; 6, clutch disk; 7, connect support; 71, top connecting panel, 8, postive stop baffle; 9, positive stop.
The specific embodiment
The utility model is described in further detail below in conjunction with accompanying drawing.
The utility model is made up of hydraulic ram 1, connection bearing 2, swing type mechanism 3, crane arm 4, clutch disk 6, connection support 7; This crane arm 4 is made up of internal layer telescopic boom and outer fixed arm, this internal layer telescopic boom 41 and outer fixed arm 42 are made by rectangle steel, hydraulic ram 1 is connected with crane arm 4, is realized stretching out of crane arm 4 and is withdrawn (as depicted in figs. 1 and 2) by the expanding-contracting action of hydraulic ram 1.
Connecting bearing 2 is welded by two supporting steel plates 21 and middle rectangle steel 22, this structure is used for supporting whole crane arm 4(as shown in Figure 4), crane arm 4 be connected bearing 2 integral solder to clutch disk 6, clutch disk 6 is designed to notch cuttype, all adopt bolt to be connected with the Internal and external cycle of swing type mechanism, the swing type mechanism revolution drives crane arm 4 and clutch disk 6 rotations, thereby realize the revolution action of lifting appliance, the restriction of degreeof turn realizes (as shown in Figures 2 and 3) by the positive stop 9 that connects on the clutch disk 6 with the postive stop baffle 8 on being connected support.
The integral lifting device is finished with extraneous welding by the bottom connecting panel 72 that connects support 7, the bottom connecting panel 72 that the utility model will connect support 7 is designed to L shaped steel plate (as shown in Figure 6), compare with the structure design of present cantilever beam form, this kind design has increased structural strength, makes integral structure more safe and reliable.After integral structure is welded to connect by L plate and the external world, can assist the operation of finishing weight in the lifting certain limit.Whole apparatus structure is simple, and intensity is reliable, can realize the angle rotation of preset range, and cost is low.
Claims (5)
1. assist lifting appliance easily for one kind, comprise hydraulic ram (1), connect bearing (2), swing type mechanism (3), crane arm (4), clutch disk (6), connect support (7), hydraulic ram (1) is connected with crane arm (4), crane arm (4) be connected bearing (2) welding, above-mentioned crane arm (4) be connected bearing (2) integral solder to the clutch disk (6), between clutch disk (6) and the swing type mechanism (3), swing type mechanism (3) all connects by bolt with being connected between the support (7), it is characterized in that, described crane arm (4) is made up of internal layer telescopic boom and outer fixed arm, and described internal layer telescopic boom (41) and outer fixed arm (42) are made by rectangle steel.
2. a kind of easy auxiliary lifting appliance according to claim 1 is characterized in that described connection bearing (2) is welded by left and right sides supporting steel plate (21) and middle rectangle steel (22).
3. a kind of easy auxiliary lifting appliance according to claim 1, it is characterized in that, described connection support (7) is welded by top connecting panel (71) and bottom connecting panel (72), top connecting panel (71) is installed the crane arm structure, and bottom connecting panel (72) is the L type and the external device (ED) welding is fixing.
4. a kind of easy auxiliary lifting appliance according to claim 1 is characterized in that described clutch disk (6) is provided with positive stop (9), and described connection support (7) is provided with postive stop baffle (8).
5. a kind of easy auxiliary lifting appliance according to claim 1 is characterized in that described clutch disk (6) is notch cuttype.
Priority Applications (1)
| Application Number | Priority Date | Filing Date | Title |
|---|---|---|---|
| CN 201220709379 CN203229338U (en) | 2012-12-20 | 2012-12-20 | Simple auxiliary lifting device |
Applications Claiming Priority (1)
| Application Number | Priority Date | Filing Date | Title |
|---|---|---|---|
| CN 201220709379 CN203229338U (en) | 2012-12-20 | 2012-12-20 | Simple auxiliary lifting device |
Publications (1)
| Publication Number | Publication Date |
|---|---|
| CN203229338U true CN203229338U (en) | 2013-10-09 |
Family
ID=49285476
Family Applications (1)
| Application Number | Title | Priority Date | Filing Date |
|---|---|---|---|
| CN 201220709379 Expired - Lifetime CN203229338U (en) | 2012-12-20 | 2012-12-20 | Simple auxiliary lifting device |
Country Status (1)
| Country | Link |
|---|---|
| CN (1) | CN203229338U (en) |
Cited By (4)
| Publication number | Priority date | Publication date | Assignee | Title |
|---|---|---|---|---|
| CN105621279A (en) * | 2014-10-31 | 2016-06-01 | 无锡晟欧船舶设备有限公司 | Revolving crane with limiting function |
| CN107010546A (en) * | 2017-05-23 | 2017-08-04 | 徐工集团工程机械有限公司 | Hoisting structure and rig |
| CN111606223A (en) * | 2020-05-05 | 2020-09-01 | 邹龙龙 | Hard well lid handling device of electric power facility |
| CN113928986A (en) * | 2021-10-09 | 2022-01-14 | 中石化四机石油机械有限公司 | Hydraulic control cantilever lifting system |
-
2012
- 2012-12-20 CN CN 201220709379 patent/CN203229338U/en not_active Expired - Lifetime
Cited By (5)
| Publication number | Priority date | Publication date | Assignee | Title |
|---|---|---|---|---|
| CN105621279A (en) * | 2014-10-31 | 2016-06-01 | 无锡晟欧船舶设备有限公司 | Revolving crane with limiting function |
| CN107010546A (en) * | 2017-05-23 | 2017-08-04 | 徐工集团工程机械有限公司 | Hoisting structure and rig |
| CN111606223A (en) * | 2020-05-05 | 2020-09-01 | 邹龙龙 | Hard well lid handling device of electric power facility |
| CN113928986A (en) * | 2021-10-09 | 2022-01-14 | 中石化四机石油机械有限公司 | Hydraulic control cantilever lifting system |
| CN113928986B (en) * | 2021-10-09 | 2024-08-09 | 中石化四机石油机械有限公司 | Hydraulic control cantilever lifting system |
Similar Documents
| Publication | Publication Date | Title |
|---|---|---|
| CN102795555B (en) | Large slalom crane for offshore platform | |
| CN206156637U (en) | Electronic heavy hoist of frequency conversion | |
| CN203229338U (en) | Simple auxiliary lifting device | |
| CN207108418U (en) | Turning tool for wind-driven generator | |
| CN105110190B (en) | Tire crane counterweight control method with moving counterweight system | |
| CN201525709U (en) | Transverse eccentric type lorry-mounted crane | |
| CN101793000B (en) | Hydraulic multifunctional delivery trestle of multifunctional self-elevating supporting platform for ocean oil field | |
| CN100400409C (en) | Hydraulic self-balancing crane device | |
| CN205855854U (en) | A kind of hydraulically extensible boom crane | |
| CN203212242U (en) | Vehicle-mounted electric telpher | |
| CN202423956U (en) | Hoisting device for power transmission line maintenance | |
| CN204848017U (en) | Swing crane; derrick | |
| CN202766146U (en) | Large pile circling type offshore platform crane | |
| CN202400754U (en) | Mast crane | |
| CN203639040U (en) | Hoisting device and hoisting system of rotary drilling rig and rotary drilling rig with hoisting system | |
| CN105060121A (en) | Control room deflection system and engineering machine | |
| CN207002184U (en) | A kind of upset frame mechanism of oscillating oil cylinder driving | |
| CN201746254U (en) | Crawler crane combined rotary table | |
| CN210655897U (en) | Low-altitude crane | |
| CN212079268U (en) | Gear ring type non-beam pumping unit | |
| CN204848036U (en) | Assembled arm -tie bracket and hoist cantilever crane | |
| CN105502176A (en) | Hydraulic luffing-type cantilever tower crane | |
| CN202265350U (en) | Overwinding preventing and hook fixing device of lorry-mounted crane | |
| CN215669812U (en) | Base chassis, pipe hanger device and excavating gear | |
| CN203287189U (en) | Lifting hook and weight frame structure and winch test platform |
Legal Events
| Date | Code | Title | Description |
|---|---|---|---|
| C14 | Grant of patent or utility model | ||
| GR01 | Patent grant | ||
| CX01 | Expiry of patent term | ||
| CX01 | Expiry of patent term |
Granted publication date: 20131009 |