CN203227825U - Sliding lathe - Google Patents
Sliding lathe Download PDFInfo
- Publication number
- CN203227825U CN203227825U CN 201320101293 CN201320101293U CN203227825U CN 203227825 U CN203227825 U CN 203227825U CN 201320101293 CN201320101293 CN 201320101293 CN 201320101293 U CN201320101293 U CN 201320101293U CN 203227825 U CN203227825 U CN 203227825U
- Authority
- CN
- China
- Prior art keywords
- slippage
- lathe
- tailstock
- sliding
- connecting plate
- Prior art date
- Legal status (The legal status is an assumption and is not a legal conclusion. Google has not performed a legal analysis and makes no representation as to the accuracy of the status listed.)
- Expired - Fee Related
Links
- 238000000034 method Methods 0.000 description 3
- 230000009286 beneficial effect Effects 0.000 description 2
- 238000005266 casting Methods 0.000 description 1
- 238000010276 construction Methods 0.000 description 1
- 238000005520 cutting process Methods 0.000 description 1
- 238000005516 engineering process Methods 0.000 description 1
- 238000005242 forging Methods 0.000 description 1
- 238000003754 machining Methods 0.000 description 1
- 238000004519 manufacturing process Methods 0.000 description 1
- 239000002184 metal Substances 0.000 description 1
- 238000004080 punching Methods 0.000 description 1
- 230000001105 regulatory effect Effects 0.000 description 1
- 230000003746 surface roughness Effects 0.000 description 1
- 238000003466 welding Methods 0.000 description 1
Images
Landscapes
- Turning (AREA)
Abstract
The utility model discloses a sliding lathe which comprises a lathe base, a guide track arranged on the lathe base, a sliding work table installed on the guide track and a sliding tailstock arranged at the left end position of the guide track. A connecting plate with a cambered surface is arranged on the sliding tailstock, one end of the connecting plate is connected with the sliding tailstock, and the other end of the connecting plate is connected with the sliding work table through a support rod. By arranging the connecting plate and the sliding tailstock capable of achieving sliding and vertical height adjustment on a traditional lathe, the problem that workpieces need to be moved manually and the connecting plate angle is not adjustable in the prior art is solved, operators can operate and use the lathe conveniently, and productivity is improved.
Description
Technical field
The utility model relates to machine tool field, is specifically related to a kind of slippage lathe.
Background technology
Lathe is the machine that metal blank is processed into machine parts, and it is the machine of manufacturing machine, so be called again " machine-tool " or " toolroom machine ", be called for short lathe traditionally.The method of processing equipment part was a lot of during modern mechanical was made: except machining, also have casting, forging, welding, punching press, extruding etc., in every case belong to the part that required precision is higher and the surface roughness requirement is thinner, generally all need finally to process with the method for cutting at lathe.In general machine was made, the labor content that lathe is undertaken accounted for the 40%-60% that machine is always made workload, and lathe plays significant role in the construction of national economic modernization.
In the prior art, lathe function is single, even but some conveying workpieces also can't be regulated the height and position of conveying device etc., can't satisfy operator's demand.
The utility model content
The slippage lathe of problems such as technical problem to be solved in the utility model provides a kind of simple to operate, and the traditional travelling workpiece manually of solution and connecting plate angle are non-adjustable.
The utility model is achieved through the following technical solutions: a kind of slippage lathe, comprise the lathe base, and be located at guide rail on the lathe base, and be installed in slippage workbench on the guide rail, and install in the slippage tailstock at guide rail left end place, the connecting plate of one band cambered surface is set on the described slippage tailstock, and an end and the slippage tailstock of connecting plate join, and its other end is connected with the slippage workbench by support bar.
As preferably, described slippage tailstock is T word shape, and is provided with spring at slippage tailstock both sides recess.
As preferably, described any side at slippage tailstock both sides recess is respectively equipped with three groups of springs, and the spring lower end is connected and fixed by the base plate that is provided with, and described base plate contacts with guide rail.
The beneficial effect of the utility model slippage lathe is: the utility model installs connecting plate additional at traditional lathe, and can realize that slippage reaches adjustable for height slippage tailstock up and down, solve tradition and need travelling workpiece and the nonadjustable problem of connecting plate angle manually, greatly the handled easily personnel operation is used, and increases productivity ratio.
Description of drawings
In order to be easy to explanation, the utility model is done to describe in detail by following specific embodiment and accompanying drawing.
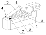
Fig. 1 is the structural representation of the utility model slippage lathe.
The specific embodiment
As shown in Figure 1, a kind of slippage lathe, comprise lathe base 1, and be located at guide rail 2 on the lathe base 1, and be installed in slippage workbench 3 on the guide rail 2, and install in the slippage tailstock 4 at guide rail 2 left end places, the connecting plate 5 of a band cambered surface is set on the described slippage tailstock 4, one end and the slippage tailstock 4 of connecting plate 5 join, and its other end is connected with slippage workbench 3 by support bar 6.
Wherein, described slippage tailstock 4 is T word shape, and is provided with spring 7 at slippage tailstock 3 both sides recesses.
Described any side at slippage tailstock 4 both sides recesses is respectively equipped with three groups of springs 7, and spring 7 lower ends are connected and fixed by the base plate that is provided with, and described base plate contacts with guide rail 2.
The beneficial effect of the utility model slippage lathe is: the utility model installs connecting plate additional at traditional lathe, and can realize that slippage reaches adjustable for height slippage tailstock up and down, solve tradition and need travelling workpiece and the nonadjustable problem of connecting plate angle manually, greatly the handled easily personnel operation is used, and increases productivity ratio.
The above only is the specific embodiment of the present utility model, but protection domain of the present utility model is not limited thereto, and any variation or replacement of expecting without creative work all should be encompassed within the protection domain of the present utility model.Therefore, protection domain of the present utility model should be as the criterion with the protection domain that claims were limited.
Claims (3)
1. slippage lathe, it is characterized in that: comprise the lathe base, and be located at guide rail on the lathe base, and be installed in slippage workbench on the guide rail, and install in the slippage tailstock at guide rail left end place, the connecting plate of one band cambered surface is set on the described slippage tailstock, and an end and the slippage tailstock of connecting plate join, and its other end is connected with the slippage workbench by support bar.
2. slippage lathe according to claim 1, it is characterized in that: described slippage tailstock is T word shape, and is provided with spring at slippage tailstock both sides recess.
3. slippage lathe according to claim 2, it is characterized in that: described any side at slippage tailstock both sides recess is respectively equipped with three groups of springs, and the spring lower end is connected and fixed by the base plate that is provided with, and described base plate contacts with guide rail.
Priority Applications (1)
| Application Number | Priority Date | Filing Date | Title |
|---|---|---|---|
| CN 201320101293 CN203227825U (en) | 2013-03-06 | 2013-03-06 | Sliding lathe |
Applications Claiming Priority (1)
| Application Number | Priority Date | Filing Date | Title |
|---|---|---|---|
| CN 201320101293 CN203227825U (en) | 2013-03-06 | 2013-03-06 | Sliding lathe |
Publications (1)
| Publication Number | Publication Date |
|---|---|
| CN203227825U true CN203227825U (en) | 2013-10-09 |
Family
ID=49283974
Family Applications (1)
| Application Number | Title | Priority Date | Filing Date |
|---|---|---|---|
| CN 201320101293 Expired - Fee Related CN203227825U (en) | 2013-03-06 | 2013-03-06 | Sliding lathe |
Country Status (1)
| Country | Link |
|---|---|
| CN (1) | CN203227825U (en) |
Cited By (1)
| Publication number | Priority date | Publication date | Assignee | Title |
|---|---|---|---|---|
| CN104001937A (en) * | 2014-05-27 | 2014-08-27 | 朱子勤 | Sliding lathe with connecting plate |
-
2013
- 2013-03-06 CN CN 201320101293 patent/CN203227825U/en not_active Expired - Fee Related
Cited By (1)
| Publication number | Priority date | Publication date | Assignee | Title |
|---|---|---|---|---|
| CN104001937A (en) * | 2014-05-27 | 2014-08-27 | 朱子勤 | Sliding lathe with connecting plate |
Similar Documents
| Publication | Publication Date | Title |
|---|---|---|
| CN204868223U (en) | Multi -purpose anchor clamps | |
| CN105415037A (en) | Simple clamp | |
| CN203156410U (en) | High-precision single-piece semicircular die self-centering clamp | |
| CN205465208U (en) | Duplex position slip table device | |
| CN205350068U (en) | Cross roller slide bracket | |
| CN203227825U (en) | Sliding lathe | |
| CN203236245U (en) | Workpiece base for numerical control machine tool | |
| CN204366435U (en) | Machining center follow-up work bench | |
| CN204094481U (en) | For expanding the frock of CNC work top | |
| CN204486877U (en) | The quick lathe of multistation | |
| CN204089016U (en) | A kind of multistation auto bus machine | |
| CN202292208U (en) | Clamp | |
| CN203900944U (en) | Structure capable of prolonging length of base plate of machine tool | |
| CN203831003U (en) | Spot-welding pneumatic sliding table | |
| CN203210050U (en) | Improved tool clamp for numerical control machine tool | |
| CN206010525U (en) | Keyseat clamp | |
| CN207735672U (en) | A kind of multistation broaching machine with tool magazine | |
| CN203003564U (en) | Five-axis-linkage vertical-type tool magazine | |
| CN205520455U (en) | Numerical control punch and horizontal articulated type laser cutting's compound lathe | |
| CN204449454U (en) | The plate shearing machine of efficient location | |
| CN204771657U (en) | Cylindrical work piece presss from both sides tight positioner | |
| CN204074978U (en) | Cutlery processing automatic feeding | |
| CN205520040U (en) | Plasma cuts hole equipment | |
| CN202846574U (en) | Numerical control V-cutting machine of front-loading mobile type locating clip | |
| CN205289765U (en) | Lathe dust collector |
Legal Events
| Date | Code | Title | Description |
|---|---|---|---|
| C14 | Grant of patent or utility model | ||
| GR01 | Patent grant | ||
| EE01 | Entry into force of recordation of patent licensing contract |
Assignee: Anhui Hongqing Precision Machine Co., Ltd. Assignor: Liu Meifu Contract record no.: 2014340000128 Denomination of utility model: Sliding lathe Granted publication date: 20131009 License type: Exclusive License Record date: 20140630 |
|
| LICC | Enforcement, change and cancellation of record of contracts on the licence for exploitation of a patent or utility model | ||
| CF01 | Termination of patent right due to non-payment of annual fee |
Granted publication date: 20131009 Termination date: 20150306 |
|
| EXPY | Termination of patent right or utility model |