CN203227257U - Yoga leg ligament stretching machine - Google Patents
Yoga leg ligament stretching machine Download PDFInfo
- Publication number
- CN203227257U CN203227257U CN 201320243814 CN201320243814U CN203227257U CN 203227257 U CN203227257 U CN 203227257U CN 201320243814 CN201320243814 CN 201320243814 CN 201320243814 U CN201320243814 U CN 201320243814U CN 203227257 U CN203227257 U CN 203227257U
- Authority
- CN
- China
- Prior art keywords
- pedal
- stretching machine
- support tube
- angle
- pedals
- Prior art date
- Legal status (The legal status is an assumption and is not a legal conclusion. Google has not performed a legal analysis and makes no representation as to the accuracy of the status listed.)
- Expired - Fee Related
Links
- 210000003041 ligament Anatomy 0.000 title claims abstract description 9
- 239000002245 particle Substances 0.000 claims abstract description 4
- 230000001105 regulatory effect Effects 0.000 claims abstract description 3
- 230000009286 beneficial effect Effects 0.000 abstract description 2
- 230000000694 effects Effects 0.000 description 2
Landscapes
- Massaging Devices (AREA)
Abstract
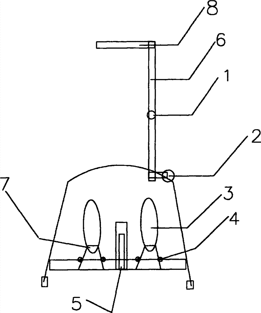
本实用新型属于体育领域,涉及一种瑜伽腿部韧带拉伸机,支撑管(6)上安装360度旋转L型手柄(8),支撑管(6)中间设置调节高度钮(1),支撑管(6)要与扶手固定螺母(2)紧固连接,拉伸机设置成由两个防滑颗粒的踏板(3),踏板(3)后面是脚跟防滑护垫(7),踏板(3)的角度由控制键(4)调节,踏板(3)的中间安装液压缸(5)。使用该器材的有益效果是,一、适合各种人群,占地面积小,容易安装;二、功能型较强的健身器材,具有调节高度和角度的功能,能够有效的拉伸、美腿、塑身的功效;三、按摩足底,有抗阻的能力,运动时没有任何扰人的杂音发生。
The utility model belongs to the field of sports, and relates to a yoga leg ligament stretching machine. A 360-degree rotating L-shaped handle (8) is installed on a support tube (6), and a height adjustment button (1) is arranged in the middle of the support tube (6). The pipe (6) is to be tightly connected with the handrail fixing nut (2), and the stretching machine is set to consist of two pedals (3) of anti-skid particles, behind the pedal (3) is a heel anti-skid pad (7), and the pedal (3) The angle of the pedal (3) is regulated by the control key (4), and a hydraulic cylinder (5) is installed in the middle of the pedal (3). The beneficial effects of using this equipment are: 1. It is suitable for all kinds of people, it occupies a small area and is easy to install; 2. It is a strong functional fitness equipment with the function of adjusting height and angle, which can effectively stretch, beautify legs and shape the body 3. Massage the soles of the feet, have the ability to resist resistance, and there will be no disturbing noises during exercise.
Description
技术领域technical field
本实用新型属于体育运动领域,涉及一种瑜伽腿部韧带拉伸机。The utility model belongs to the field of sports and relates to a yoga leg ligament stretching machine.
背景技术Background technique
进行瑜伽腿部韧带拉伸时,经常采用的方法是徒手动作练习,没有器械的配合使瑜伽韧带拉伸练习单一化,缺少扭转运动与垂直抗阻运动的有效结合,达不到足底按摩健身的效果。When doing yoga leg ligament stretching, the method often used is bare-handed exercise. Without the cooperation of equipment, the yoga ligament stretching exercise is simplified, and there is no effective combination of torsion movement and vertical resistance movement, so foot massage and fitness cannot be achieved. Effect.
发明内容Contents of the invention
本实用新型要解决的技术问题是提供一种既能按摩足底,又能调节高度和角度的功能,达到多功能锻炼效果显著的一种健身器材。The technical problem to be solved by the utility model is to provide a kind of fitness equipment which can not only massage the sole of the foot, but also adjust the height and angle, so as to achieve a remarkable effect of multifunctional exercise.
本实用新型解决其技术问题所采用的技术方案是:一种瑜伽腿部韧带拉伸机,其特点是,支撑管上安装360度旋转L型手柄,支撑管中间设置调节高度钮,支撑管要与扶手固定螺母紧固连接,拉伸机设置成由两个防滑颗粒的踏板,踏板后面是脚跟防滑护垫,踏板的角度由控制键调节,踏板的中间安装液压缸。The technical scheme adopted by the utility model to solve the technical problems is: a yoga leg ligament stretching machine, which is characterized in that a 360-degree rotating L-shaped handle is installed on the support tube, and a height adjustment button is arranged in the middle of the support tube. Tightly connected with the handrail fixing nut, the stretching machine is set to have two pedals with anti-skid particles, behind the pedals is a heel anti-skid pad, the angle of the pedals is adjusted by the control key, and a hydraulic cylinder is installed in the middle of the pedals.
本实用新型的有益效果是:一、适合各种人群,占地面积小,容易安装;二、功能型较强的健身器材,具有调节高度和角度的功能,能够有效的拉伸、美腿、塑身的功效;三、按摩足底,有抗阻的能力,运动时没有任何扰人的杂音发生。The beneficial effects of the utility model are: 1. It is suitable for various groups of people, and it occupies a small area and is easy to install; 2. It is a fitness equipment with strong functions, which has the function of adjusting height and angle, and can effectively stretch, beautify legs and shape the body. 3. Massage the soles of the feet, have the ability to resist resistance, and there will be no disturbing noises during exercise.
附图说明Description of drawings
下面结合附图和具体实施方式对本实用新型做进一步详细地说明。Below in conjunction with accompanying drawing and specific embodiment, the utility model is described in further detail.
图1是瑜伽腿部韧带拉伸机主视简图。Fig. 1 is a schematic front view of the yoga leg ligament stretching machine.
具体实施方式Detailed ways
参照附图,一种瑜伽腿部韧带拉伸机,其特征在于:支撑管6上安装360度旋转L型手柄8,支撑管6中间设置调节高度钮1,支撑管6要与扶手固定螺母2紧固连接,拉伸机设置成由两个防滑颗粒的踏板3,踏板3后面是脚跟防滑护垫7,踏板3的角度由控制键4调节,踏板3的中间安装液压缸5。With reference to the accompanying drawings, a yoga leg ligament stretching machine is characterized in that: a 360-degree rotating L-shaped handle 8 is installed on the support tube 6, a height adjustment button 1 is arranged in the middle of the support tube 6, and the support tube 6 is to be connected with the handrail fixing nut 2 Tightly connected, the stretching machine is set to consist of two pedals 3 of anti-slip particles, behind the pedals 3 is a heel anti-skid pad 7, the angle of the pedals 3 is regulated by the control key 4, and a hydraulic cylinder 5 is installed in the middle of the pedals 3.
Claims (1)
Priority Applications (1)
| Application Number | Priority Date | Filing Date | Title |
|---|---|---|---|
| CN 201320243814 CN203227257U (en) | 2013-04-21 | 2013-04-21 | Yoga leg ligament stretching machine |
Applications Claiming Priority (1)
| Application Number | Priority Date | Filing Date | Title |
|---|---|---|---|
| CN 201320243814 CN203227257U (en) | 2013-04-21 | 2013-04-21 | Yoga leg ligament stretching machine |
Publications (1)
| Publication Number | Publication Date |
|---|---|
| CN203227257U true CN203227257U (en) | 2013-10-09 |
Family
ID=49283407
Family Applications (1)
| Application Number | Title | Priority Date | Filing Date |
|---|---|---|---|
| CN 201320243814 Expired - Fee Related CN203227257U (en) | 2013-04-21 | 2013-04-21 | Yoga leg ligament stretching machine |
Country Status (1)
| Country | Link |
|---|---|
| CN (1) | CN203227257U (en) |
Cited By (2)
| Publication number | Priority date | Publication date | Assignee | Title |
|---|---|---|---|---|
| CN111617432A (en) * | 2020-05-26 | 2020-09-04 | 李海平 | Four-limb linkage training device for health rehabilitation |
| WO2024031417A1 (en) * | 2022-08-10 | 2024-02-15 | 钱枝 | Stretching device for yoga training |
-
2013
- 2013-04-21 CN CN 201320243814 patent/CN203227257U/en not_active Expired - Fee Related
Cited By (2)
| Publication number | Priority date | Publication date | Assignee | Title |
|---|---|---|---|---|
| CN111617432A (en) * | 2020-05-26 | 2020-09-04 | 李海平 | Four-limb linkage training device for health rehabilitation |
| WO2024031417A1 (en) * | 2022-08-10 | 2024-02-15 | 钱枝 | Stretching device for yoga training |
Similar Documents
| Publication | Publication Date | Title |
|---|---|---|
| CN204073286U (en) | A kind of leg muscle training aids | |
| CN203227257U (en) | Yoga leg ligament stretching machine | |
| CN206792926U (en) | A kind of physical rehabilitation stair machine | |
| CN203710607U (en) | Pedal stretching muscle enhancing frame | |
| JP2017528284A (en) | Stepper footboard with mat attached | |
| CN204319638U (en) | Left-right balance exercising machine | |
| CN202105376U (en) | Foot-stepping barbell stand | |
| CN203663359U (en) | Device for fixing both feet during sit-ups | |
| CN104922874A (en) | Barbell leg press | |
| CN202506059U (en) | Push-up supporting plate | |
| CN203663342U (en) | Small-load active-resistance drag running device | |
| CN207708427U (en) | A kind of wall type sliding york exercising machine | |
| CN204073237U (en) | Indoor comprehensive training aids | |
| CN205287448U (en) | Supplementary training fitness equipment of arm strength | |
| CN204996074U (en) | Two -way regulation formula presser foot back of body ware | |
| CN102553165A (en) | Pedalling elastic muscle exerciser | |
| CN204745529U (en) | Aerobics exercises training frame | |
| CN203123450U (en) | Tai Chi pushing and kneading device | |
| CN203227254U (en) | Leg pressing device | |
| CN204319658U (en) | Both legs exercising machine | |
| CN204034179U (en) | Two push away to pedal stretch exercising machine | |
| CN102949810B (en) | Sole massage stepping device | |
| CN203342300U (en) | Strong dynamic fitness dancing machine | |
| CN102526945A (en) | Instrument for building muscles by pedaling to lift barbell | |
| CN202263338U (en) | Magnetic stepper |
Legal Events
| Date | Code | Title | Description |
|---|---|---|---|
| C14 | Grant of patent or utility model | ||
| GR01 | Patent grant | ||
| C17 | Cessation of patent right | ||
| CF01 | Termination of patent right due to non-payment of annual fee |
Granted publication date: 20131009 Termination date: 20140421 |
