CN203203263U - Ready-to-use water heating device of solar water heater - Google Patents
Ready-to-use water heating device of solar water heater Download PDFInfo
- Publication number
- CN203203263U CN203203263U CN201320218083.2U CN201320218083U CN203203263U CN 203203263 U CN203203263 U CN 203203263U CN 201320218083 U CN201320218083 U CN 201320218083U CN 203203263 U CN203203263 U CN 203203263U
- Authority
- CN
- China
- Prior art keywords
- water
- outlet pipe
- control valve
- heater
- temperature control
- Prior art date
- Legal status (The legal status is an assumption and is not a legal conclusion. Google has not performed a legal analysis and makes no representation as to the accuracy of the status listed.)
- Expired - Fee Related
Links
- XLYOFNOQVPJJNP-UHFFFAOYSA-N water Substances O XLYOFNOQVPJJNP-UHFFFAOYSA-N 0.000 title claims abstract description 97
- 238000010438 heat treatment Methods 0.000 title claims abstract description 20
- 239000007921 spray Substances 0.000 claims description 2
- 239000002699 waste material Substances 0.000 abstract description 3
- 238000005485 electric heating Methods 0.000 description 4
- 238000003287 bathing Methods 0.000 description 1
- 238000004851 dishwashing Methods 0.000 description 1
- 238000000034 method Methods 0.000 description 1
- 238000005507 spraying Methods 0.000 description 1
Images
Classifications
-
- Y—GENERAL TAGGING OF NEW TECHNOLOGICAL DEVELOPMENTS; GENERAL TAGGING OF CROSS-SECTIONAL TECHNOLOGIES SPANNING OVER SEVERAL SECTIONS OF THE IPC; TECHNICAL SUBJECTS COVERED BY FORMER USPC CROSS-REFERENCE ART COLLECTIONS [XRACs] AND DIGESTS
- Y02—TECHNOLOGIES OR APPLICATIONS FOR MITIGATION OR ADAPTATION AGAINST CLIMATE CHANGE
- Y02E—REDUCTION OF GREENHOUSE GAS [GHG] EMISSIONS, RELATED TO ENERGY GENERATION, TRANSMISSION OR DISTRIBUTION
- Y02E10/00—Energy generation through renewable energy sources
- Y02E10/40—Solar thermal energy, e.g. solar towers
Landscapes
- Heat-Pump Type And Storage Water Heaters (AREA)
Abstract
本实用新型公开了一种太阳能热水器即开即用热水装置,包括太阳能热水器、出水管和用水阀门,所述出水管包括第一出水管和第二出水管,第一出水管和第二出水管垂直设置;所述的第一出水管内设置第一温度控制阀,第二出水管内设置第二温度控制阀,所述第二出水管的下部设置加热装置,加热装置底部设置三通管连接第一出水管。与现有技术相比,本实用新型的太阳能热水器即开即用热水装置,能够随开随用热水,减少了水管内的冷水的浪费,同时当太阳能热水器内的水温过低时,当需要使用热水时,随时可以进行快速加热。
The utility model discloses an instant hot water device for a solar water heater, which comprises a solar water heater, a water outlet pipe and a water valve. The water outlet pipe includes a first water outlet pipe and a second water outlet pipe. The water pipes are arranged vertically; the first temperature control valve is arranged in the first water outlet pipe, the second temperature control valve is arranged in the second water outlet pipe, a heating device is arranged at the lower part of the second water outlet pipe, and a tee pipe is arranged at the bottom of the heating device to connect the second A water pipe. Compared with the prior art, the instant hot water device of the solar water heater of the utility model can use hot water as soon as it is turned on, reducing the waste of cold water in the water pipe, and at the same time, when the water temperature in the solar water heater is too low, Rapid heating is always available when hot water is needed.
Description
技术领域technical field
本实用新型涉及太阳能热水器技术领域,特别是一种太阳能热水器即开即用热水装置。The utility model relates to the technical field of solar water heaters, in particular to an instant hot water device for solar water heaters.
背景技术Background technique
太阳能热水器被广泛应用,能够满足人们的生活需要,如热水洗澡,洗碗等。其不足之处是:在寒冷的冬季,当太阳能热水器离用水装置的距离比较远时,有很大一段冷水会被白白地放掉,造成水资源的浪费和用户等待时间。Solar water heaters are widely used and can meet people's daily needs, such as hot water for bathing and washing dishes. Its shortcoming is: in the cold winter, when the solar water heater is far away from the water device, a large section of cold water will be released in vain, resulting in waste of water resources and user waiting time.
发明内容Contents of the invention
本实用新型的目的是要提供一种太阳能热水器即开即用热水装置。The purpose of the utility model is to provide a solar water heater instant hot water device.
为达到上述目的,本实用新型是按照以下技术方案实施的:In order to achieve the above object, the utility model is implemented according to the following technical solutions:
一种太阳能热水器即开即用热水装置,包括太阳能热水器、出水管和用水阀门,所述出水管包括第一出水管和第二出水管,第一出水管和第二出水管垂直设置;所述的第一出水管内设置第一温度控制阀,第二出水管内设置第二温度控制阀,所述第二出水管的下部设置加热装置,加热装置外设置有微处理器,所述的微处理器与第一温度控制阀和第二温度控制阀电气连接;加热装置底部设置三通管连接第一出水管。An instant hot water device for a solar water heater, comprising a solar water heater, a water outlet pipe and a water valve, wherein the water outlet pipe includes a first water outlet pipe and a second water outlet pipe, and the first water outlet pipe and the second water outlet pipe are arranged vertically; The first temperature control valve is arranged in the first water outlet pipe, the second temperature control valve is arranged in the second water outlet pipe, a heating device is arranged in the lower part of the second water outlet pipe, and a microprocessor is arranged outside the heating device. The device is electrically connected with the first temperature control valve and the second temperature control valve; a three-way pipe is arranged at the bottom of the heating device to connect with the first water outlet pipe.
作为本实用新型的进一步优选方案,所述的加热装置在第二温度控制阀下部,第二出水管与加热装置连接处设置有喷淋头,所述加热装置底部设置有电加热丝。As a further preferred solution of the present utility model, the heating device is provided with a shower head at the lower part of the second temperature control valve, at the connection between the second water outlet pipe and the heating device, and an electric heating wire is provided at the bottom of the heating device.
与现有技术相比,本实用新型的太阳能热水器即开即用热水装置,能够随开随用热水,减少了水管内的冷水的浪费,同时当太阳能热水器内的水温过低时,当需要使用热水时,随时可以进行快速加热。Compared with the prior art, the instant hot water device of the solar water heater of the utility model can use hot water as soon as it is turned on, reducing the waste of cold water in the water pipe, and at the same time, when the water temperature in the solar water heater is too low, Rapid heating is always available when hot water is needed.
附图说明Description of drawings
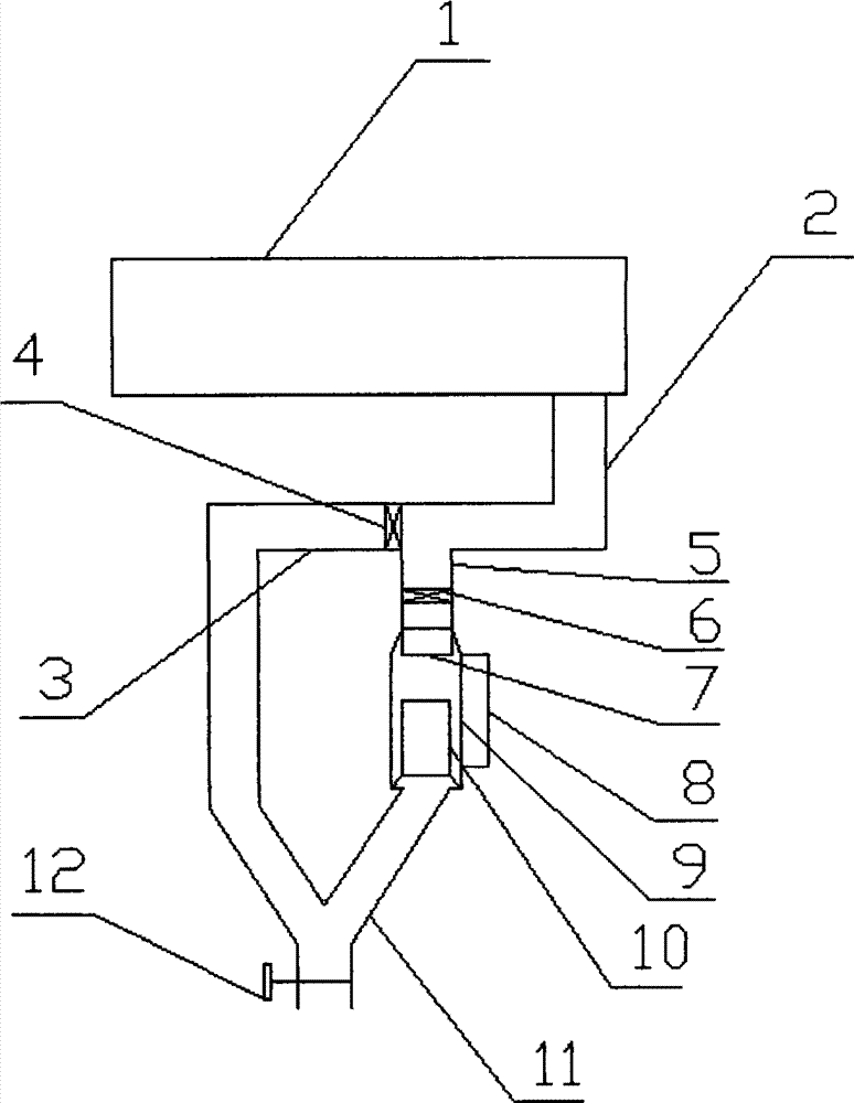
图1为本实用新型的结构示意图;Fig. 1 is the structural representation of the utility model;
图中:1、太阳能热水器;2、出水管;3、第一出水管;4、第一温度控制阀;5、第二出水管;6、第二温度控制阀;7、喷淋头;8、微处理器;9、加热装置;10、电加热丝;11、三通管;12用水阀门。In the figure: 1. Solar water heater; 2. Water outlet pipe; 3. First water outlet pipe; 4. First temperature control valve; 5. Second water outlet pipe; 6. Second temperature control valve; 7. Spray head; 8 1. Microprocessor; 9. Heating device; 10. Electric heating wire; 11. Tee pipe; 12. Water valve.
具体实施方式Detailed ways
下面结合附图以及具体实施例对本实用新型作进一步描述,在此实用新型的示意性实施例以及说明用来解释本实用新型,但并不作为对本实用新型的限定。The utility model will be further described below in conjunction with the accompanying drawings and specific embodiments. The schematic embodiments and descriptions of the utility model are used to explain the utility model, but not as a limitation to the utility model.
如图1所示的太阳能热水器即开即用热水装置,包括太阳能热水器1、出水管2和用水阀门12,所述出水管2包括第一出水管3和第二出水管5,第一出水管3和第二出水管5垂直设置;所述的第一出水管3内设置第一温度控制阀4,第二出水管5内设置第二温度控制阀6,所述第二出水管5的下部设置加热装置9,加热装置9外设置有微处理器8,所述的微处理器8与第一温度控制阀4和第二温度控制阀6电气连接;加热装置9底部设置三通管11连接第一出水管3。The instant hot water device for solar water heaters as shown in Figure 1 includes a
进一步的,加热装置9在第二温度控制阀6下部,第二出水管5与加热装置9连接处设置有喷淋头7,所述加热装置9底部设置有电加热丝10。Further, the
本实用新型的工作状态:首先第一温度控制阀4选用较高温度的控制阀,第二温度控制阀需用较低温的控制阀,当太阳能热水器1内有热水而出水管2内水温较低时,在微处理器8的控制下,第一温度控制阀4处于关闭状态,第二温度控制阀6开启,经过喷淋头7进行喷淋后通过电加热丝10加热,加热后的热水进入三通管11,使用者可以打开用水阀门12使用热水,等到出水管2内低温的水排完后,水温升高,第一温度控制阀4开启,第二温度控制阀6关闭;当太阳能热水器1内水温也较低时,在微处理器8的控制下,第一温度控制阀4始终处于关闭状态,第二温度控制阀6开启,通过加热装置9加热第二出水管5内的水,以便于使用者能够随时使用热水。Working state of the present utility model: at first the first
本实用新型的技术方案不限于上述具体实施例的限制,凡是根据本实用新型的技术方案做出的技术变形,均落入本实用新型的保护范围之内。The technical solution of the utility model is not limited to the limitations of the above-mentioned specific embodiments, and any technical deformation made according to the technical solution of the utility model falls within the protection scope of the utility model.
Claims (2)
Priority Applications (1)
| Application Number | Priority Date | Filing Date | Title |
|---|---|---|---|
| CN201320218083.2U CN203203263U (en) | 2013-04-26 | 2013-04-26 | Ready-to-use water heating device of solar water heater |
Applications Claiming Priority (1)
| Application Number | Priority Date | Filing Date | Title |
|---|---|---|---|
| CN201320218083.2U CN203203263U (en) | 2013-04-26 | 2013-04-26 | Ready-to-use water heating device of solar water heater |
Publications (1)
| Publication Number | Publication Date |
|---|---|
| CN203203263U true CN203203263U (en) | 2013-09-18 |
Family
ID=49147366
Family Applications (1)
| Application Number | Title | Priority Date | Filing Date |
|---|---|---|---|
| CN201320218083.2U Expired - Fee Related CN203203263U (en) | 2013-04-26 | 2013-04-26 | Ready-to-use water heating device of solar water heater |
Country Status (1)
| Country | Link |
|---|---|
| CN (1) | CN203203263U (en) |
Cited By (1)
| Publication number | Priority date | Publication date | Assignee | Title |
|---|---|---|---|---|
| CN105042860A (en) * | 2015-08-21 | 2015-11-11 | 黄昱琪 | Pre-acting system of flowing media |
-
2013
- 2013-04-26 CN CN201320218083.2U patent/CN203203263U/en not_active Expired - Fee Related
Cited By (1)
| Publication number | Priority date | Publication date | Assignee | Title |
|---|---|---|---|---|
| CN105042860A (en) * | 2015-08-21 | 2015-11-11 | 黄昱琪 | Pre-acting system of flowing media |
Similar Documents
| Publication | Publication Date | Title |
|---|---|---|
| CN205593157U (en) | Water -saving gas water heater | |
| CN204574515U (en) | Domestic hot water system | |
| CN205002340U (en) | Zero cold water instant heating heating water system | |
| CN203203263U (en) | Ready-to-use water heating device of solar water heater | |
| CN203964381U (en) | A kind of electric heater | |
| CN208238231U (en) | A kind of Mousehold water saving water heater | |
| CN202304002U (en) | Instant solar water heater | |
| CN205793424U (en) | A heating tube power adjustment device | |
| CN205878568U (en) | An external heater circulation preheating and constant temperature electric water heater | |
| CN203550259U (en) | Solar water heater auxiliary water tank | |
| CN203024396U (en) | Intelligent water heater | |
| CN201983420U (en) | Instant electric water heater with central hot water circulation system | |
| CN105534357A (en) | Environment-friendly bathtub device with heat-preserving system | |
| CN202835751U (en) | Cup-type electric water heater | |
| CN203605305U (en) | Solar energy and electric energy hybrid heating device | |
| CN205781086U (en) | A kind of intelligent tap of pair of exit design | |
| CN206281192U (en) | A kind of electric heater | |
| CN105299892A (en) | Bathtub having thermal insulation function | |
| CN206556234U (en) | A kind of regenerative electrochemical boiler constant temperature circulating system | |
| CN206291454U (en) | A kind of hot water circulating device with water proportioning valve | |
| CN104921598B (en) | A kind of quick-heating water dispenser | |
| CN202419890U (en) | Water heater capable of automatically heating and preserving heat | |
| CN206478870U (en) | A kind of regenerative electrochemical boiled water tank automatic water-supply control system | |
| CN203163207U (en) | Instant-heating water heater under cabinet | |
| CN204923474U (en) | Hot water pipe heating and heat preservation device for water heater |
Legal Events
| Date | Code | Title | Description |
|---|---|---|---|
| C14 | Grant of patent or utility model | ||
| GR01 | Patent grant | ||
| CF01 | Termination of patent right due to non-payment of annual fee |
Granted publication date: 20130918 Termination date: 20160426 |
