CN203201547U - 煤矿用长臂组合式钻孔水平偏角测量尺 - Google Patents

煤矿用长臂组合式钻孔水平偏角测量尺 Download PDF

Info

Publication number
CN203201547U
CN203201547U CN201320086630.6U CN201320086630U CN203201547U CN 203201547 U CN203201547 U CN 203201547U CN 201320086630 U CN201320086630 U CN 201320086630U CN 203201547 U CN203201547 U CN 203201547U
Authority
CN
China
Prior art keywords
pole
main body
long
coal mine
angle
Prior art date
Legal status (The legal status is an assumption and is not a legal conclusion. Google has not performed a legal analysis and makes no representation as to the accuracy of the status listed.)
Expired - Fee Related
Application number
CN201320086630.6U
Other languages
English (en)
Inventor
魏永建
邱家川
白景双
Current Assignee (The listed assignees may be inaccurate. Google has not performed a legal analysis and makes no representation or warranty as to the accuracy of the list.)
Yongcheng Coal and Electricity Holding Group Co Ltd
Original Assignee
Yongcheng Coal and Electricity Holding Group Co Ltd
Priority date (The priority date is an assumption and is not a legal conclusion. Google has not performed a legal analysis and makes no representation as to the accuracy of the date listed.)
Filing date
Publication date
Application filed by Yongcheng Coal and Electricity Holding Group Co Ltd filed Critical Yongcheng Coal and Electricity Holding Group Co Ltd
Priority to CN201320086630.6U priority Critical patent/CN203201547U/zh
Application granted granted Critical
Publication of CN203201547U publication Critical patent/CN203201547U/zh
Anticipated expiration legal-status Critical
Expired - Fee Related legal-status Critical Current

Links

Images

Classifications

    • YGENERAL TAGGING OF NEW TECHNOLOGICAL DEVELOPMENTS; GENERAL TAGGING OF CROSS-SECTIONAL TECHNOLOGIES SPANNING OVER SEVERAL SECTIONS OF THE IPC; TECHNICAL SUBJECTS COVERED BY FORMER USPC CROSS-REFERENCE ART COLLECTIONS [XRACs] AND DIGESTS
    • Y02TECHNOLOGIES OR APPLICATIONS FOR MITIGATION OR ADAPTATION AGAINST CLIMATE CHANGE
    • Y02ATECHNOLOGIES FOR ADAPTATION TO CLIMATE CHANGE
    • Y02A90/00Technologies having an indirect contribution to adaptation to climate change
    • Y02A90/30Assessment of water resources

Landscapes

  • Length-Measuring Instruments Using Mechanical Means (AREA)

Abstract

煤矿用长臂组合式钻孔水平偏角测量尺,它包括角度尺主体,其特点是角度尺主体的圆心分别与基准标杆的一端和度量标杆的一端铰接,基准标杆与角度尺主体直线段外沿平行且与角度尺主体固定,基准标杆设置有凹槽,度量标杆放在凹槽内,度量标杆上设置有指示标识,基准标杆的上表面设置有气泡水平仪。优点在于:结构简单,操作简便,有效解决了煤矿井下钻孔水平偏角使用普通角度尺来测量时因普通角度尺难以摆放水平、角度线绳难以对准,很容易产生较大的误差的难题。

Description

煤矿用长臂组合式钻孔水平偏角测量尺
技术领域:
本实用新型涉及一种煤矿井下钻孔方位角测量工具,更具体的说是一种煤矿用长臂组合式钻孔水平偏角测量尺。
背景技术:
目前,煤矿井下钻孔水平偏角大多使用普通角度尺来测量,普通角度尺测量常常会难以摆放水平、角度线绳难以对准,很容易产生较大的误差。
实用新型内容:
本实用新型的目的是为了弥补现有技术的不足而提供一种带有水平仪、容易对准的煤矿用长臂组合式钻孔水平偏角测量尺。
为了解决背景技术所存在的问题,本实用新型是采用以下技术方案:煤矿用长臂组合式钻孔水平偏角测量尺,它包括角度尺主体,其特点是角度尺主体的圆心分别与基准标杆的一端和度量标杆的一端铰接,基准标杆与角度尺主体直线段外沿平行且与角度尺主体固定,基准标杆设置有凹槽,度量标杆放在凹槽内,度量标杆上设置有指示标识,基准标杆的上表面设置有气泡水平仪。
本实用新型与现有技术相比有如下优点:结构简单,操作简便,有效解决了煤矿井下钻孔水平偏角使用普通角度尺来测量时因普通角度尺难以摆放水平、角度线绳难以对准,很容易产生较大的误差的难题。
附图说明:
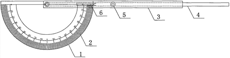
图1是本实用新型的侧视图。
图2是本实用新型的俯视图。
图中:1、角度尺主体;2、刻度标识;3、基准标杆;4、度量标杆;5、气泡水平仪;6、指示标识。
具体实施方式:
参照附图如下,煤矿用长臂组合式钻孔水平偏角测量尺,包括角度尺主体1,其特点是角度尺主体1的圆心分别与基准标杆3的一端和度量标杆4的一端铰接,基准标杆3与角度尺主体1直线段外沿平行且与角度尺主体1固定,基准标杆3设置有凹槽,度量标杆4放在凹槽内,度量标杆4上设置有指示标识6,基准标杆3的上表面设置有气泡水平仪5。
使用时将基准标杆3对准井下钻孔测量参照的基准线,调整本实用新型位置,使本实用新型的气泡水平仪5的气泡居中,然后将度量标杆4打开,通过观测、调整度量标杆4的方向,使度量标杆4与钻孔方向平行,指示标识6指示的读数即为钻孔水平方向上的偏角,并且本实用新型结构简单,操作方便,有效解决了煤矿井下钻孔水平偏角使用普通角度尺来测量时因普通角度尺难以摆放水平、角度线绳难以对准,很容易产生较大的误差的难题。

Claims (1)

1.煤矿用长臂组合式钻孔水平偏角测量尺,包括角度尺主体(1),其特征在于:角度尺主体(1)的圆心分别与基准标杆(3)的一端和度量标杆(4)的一端铰接,基准标杆(3)与角度尺主体(1)直线段外沿平行且与角度尺主体(1)固定,基准标杆(3)设置有凹槽,度量标杆(4)放在凹槽内,度量标杆(4)上设置有指示标识(6),基准标杆(3)的上表面设置有气泡水平仪(5)。 
CN201320086630.6U 2013-02-03 2013-02-03 煤矿用长臂组合式钻孔水平偏角测量尺 Expired - Fee Related CN203201547U (zh)

Priority Applications (1)

Application Number Priority Date Filing Date Title
CN201320086630.6U CN203201547U (zh) 2013-02-03 2013-02-03 煤矿用长臂组合式钻孔水平偏角测量尺

Applications Claiming Priority (1)

Application Number Priority Date Filing Date Title
CN201320086630.6U CN203201547U (zh) 2013-02-03 2013-02-03 煤矿用长臂组合式钻孔水平偏角测量尺

Publications (1)

Publication Number Publication Date
CN203201547U true CN203201547U (zh) 2013-09-18

Family

ID=49145662

Family Applications (1)

Application Number Title Priority Date Filing Date
CN201320086630.6U Expired - Fee Related CN203201547U (zh) 2013-02-03 2013-02-03 煤矿用长臂组合式钻孔水平偏角测量尺

Country Status (1)

Country Link
CN (1) CN203201547U (zh)

Cited By (6)

* Cited by examiner, † Cited by third party
Publication number Priority date Publication date Assignee Title
CN103775064A (zh) * 2014-01-10 2014-05-07 国家电网公司 挖孔灌注桩成孔质量检测装置
CN104653133A (zh) * 2013-11-18 2015-05-27 刘敬寿 一种斜井中非定向取心地质体的产状校正装置及使用方法
CN105332691A (zh) * 2015-11-19 2016-02-17 重庆工程职业技术学院 炮眼检测系统
CN106705805A (zh) * 2016-12-30 2017-05-24 山东大学 隧道爆破炮孔参数便携式多功能测量装置及使用方法
CN109025822A (zh) * 2018-09-20 2018-12-18 山西煤炭运销集团晋城有限公司 用于煤矿井下的定向探水装置
CN112727446A (zh) * 2020-12-31 2021-04-30 煤科集团沈阳研究院有限公司 煤矿井下打钻放线方法、装置以及煤矿井下打钻方法

Cited By (11)

* Cited by examiner, † Cited by third party
Publication number Priority date Publication date Assignee Title
CN104653133A (zh) * 2013-11-18 2015-05-27 刘敬寿 一种斜井中非定向取心地质体的产状校正装置及使用方法
CN104653133B (zh) * 2013-11-18 2017-02-08 孙雯婧 一种斜井中非定向取心地质体的产状校正装置
CN103775064A (zh) * 2014-01-10 2014-05-07 国家电网公司 挖孔灌注桩成孔质量检测装置
CN103775064B (zh) * 2014-01-10 2016-08-17 国家电网公司 挖孔灌注桩成孔质量检测装置
CN105332691A (zh) * 2015-11-19 2016-02-17 重庆工程职业技术学院 炮眼检测系统
CN105332691B (zh) * 2015-11-19 2018-01-30 重庆工程职业技术学院 炮眼检测系统
CN106705805A (zh) * 2016-12-30 2017-05-24 山东大学 隧道爆破炮孔参数便携式多功能测量装置及使用方法
CN106705805B (zh) * 2016-12-30 2019-08-30 山东大学 隧道爆破炮孔参数便携式多功能测量装置及使用方法
CN109025822A (zh) * 2018-09-20 2018-12-18 山西煤炭运销集团晋城有限公司 用于煤矿井下的定向探水装置
CN112727446A (zh) * 2020-12-31 2021-04-30 煤科集团沈阳研究院有限公司 煤矿井下打钻放线方法、装置以及煤矿井下打钻方法
CN112727446B (zh) * 2020-12-31 2024-02-27 中煤科工集团沈阳研究院有限公司 煤矿井下打钻放线和钻孔校验方法及装置

Similar Documents

Publication Publication Date Title
CN203201547U (zh) 煤矿用长臂组合式钻孔水平偏角测量尺
CN203769763U (zh) 一种钻孔方位倾角组合测量仪
CN204405014U (zh) 一种基于激光测距仪的巷道变形测量装置
CN204085521U (zh) 一种井下巷道腰线测量仪
CN201989506U (zh) 多功能尺
CN202937253U (zh) 爆破孔的孔深和倾角及方位角测定仪
MX2012000310A (es) Mejora de la exactitud de una brujula provista de una estructura portadora para usarse en levantamientos subterraneos.
CN202403702U (zh) 建筑监理用检测尺
CN205138495U (zh) 一种吸附式竖直度数据采集靠尺装置
CN202573503U (zh) 一种新型圆规
CN205422692U (zh) 一种便携式钻孔测角仪
CN203629568U (zh) 多功能水平仪
CN102128612A (zh) 一种矿用锚杆水平倾角测量仪
CN201575812U (zh) 建筑工程监理用检测尺
CN202994139U (zh) 一种塔尺
CN202300373U (zh) 激光方位仪
CN201945306U (zh) 煤矿用巷道坡度测角仪
CN206733901U (zh) 一种新型直尺圆规
CN205537652U (zh) 建筑工程监理用检测装置
CN201945309U (zh) 矿用锚杆水平倾角测量仪
CN202439425U (zh) 圆规尺
CN205154142U (zh) 滚筒式孔深测量器
CN201407968Y (zh) 一种钢板尺
CN108955636A (zh) 矿山巷道断面尺寸简易测量仪
CN203116667U (zh) 一种松铺厚度测定尺

Legal Events

Date Code Title Description
C14 Grant of patent or utility model
GR01 Patent grant
CF01 Termination of patent right due to non-payment of annual fee

Granted publication date: 20130918

Termination date: 20150203

EXPY Termination of patent right or utility model