CN203187501U - 组装式化粪池 - Google Patents
组装式化粪池 Download PDFInfo
- Publication number
- CN203187501U CN203187501U CN 201320069518 CN201320069518U CN203187501U CN 203187501 U CN203187501 U CN 203187501U CN 201320069518 CN201320069518 CN 201320069518 CN 201320069518 U CN201320069518 U CN 201320069518U CN 203187501 U CN203187501 U CN 203187501U
- Authority
- CN
- China
- Prior art keywords
- septic tank
- pond body
- face
- tank body
- fan
- Prior art date
- Legal status (The legal status is an assumption and is not a legal conclusion. Google has not performed a legal analysis and makes no representation as to the accuracy of the status listed.)
- Expired - Fee Related
Links
- 239000007788 liquid Substances 0.000 claims abstract description 6
- 239000007787 solid Substances 0.000 claims abstract description 4
- 210000005056 cell body Anatomy 0.000 claims description 16
- 238000004140 cleaning Methods 0.000 claims description 4
- 239000012530 fluid Substances 0.000 claims description 4
- 238000012423 maintenance Methods 0.000 claims description 4
- 238000007789 sealing Methods 0.000 claims description 4
- 239000002689 soil Substances 0.000 claims description 4
- 238000010276 construction Methods 0.000 claims description 3
- 210000001503 joint Anatomy 0.000 claims 1
- 238000004519 manufacturing process Methods 0.000 abstract description 7
- 239000010865 sewage Substances 0.000 abstract description 4
- 210000003608 fece Anatomy 0.000 abstract 1
- 229910000831 Steel Inorganic materials 0.000 description 3
- 238000000034 method Methods 0.000 description 3
- 239000010959 steel Substances 0.000 description 3
- 238000009434 installation Methods 0.000 description 2
- 238000005516 engineering process Methods 0.000 description 1
Images
Landscapes
- Treatment Of Biological Wastes In General (AREA)
Abstract
本实用新型涉及化粪池,具体是一种组装式化粪池。本实用新型解决了现有化粪池生产难度大、运输成本高、以及安装不方便的问题。组装式化粪池包括圆柱状池体;圆柱状池体的内侧壁沿轴向等距设置有若干个环状安装槽;每个环状安装槽内均安装有一个隔板;每个隔板的下半部分均为实心结构;每个隔板的上半部分均为空心结构,且空心内设置有两个竖直支撑杆;圆柱状池体的前端面开设有进液口;圆柱状池体的后端面开设有出液口;圆柱状池体的侧面开设有检修观察清污口;圆柱状池体由三个120°扇形柱状槽体密封对接组成。本实用新型适用于居民小区、单元住宅楼和办公楼的化粪和污水处理。
Description
技术领域
本实用新型涉及化粪池,具体是一种组装式化粪池。
背景技术
化粪池广泛应用于居民小区、单元住宅楼和办公楼的化粪和污水处理。现有化粪池普遍采用一体式结构。此种化粪池无法拆卸,因而其仅能进行整体生产、整体运输、整体安装。然而由于化粪池体积极大,便导致其存在生产难度大、运输成本高(通常一辆车仅能运输一个化粪池)、安装不方便(通常需要通过吊车进行安装)的问题。基于此,有必要发明一种全新的化粪池,以解决现有化粪池存在的上述问题。
发明内容
本实用新型为了解决现有化粪池生产难度大、运输成本高、以及安装不方便的问题,提供了一种组装式化粪池。
本实用新型是采用如下技术方案实现的:组装式化粪池,包括圆柱状池体;圆柱状池体的内侧壁沿轴向等距设置有若干个环状安装槽;每个环状安装槽内均安装有一个隔板;每个隔板的下半部分均为实心结构;每个隔板的上半部分均为空心结构,且空心内设置有两个竖直支撑杆;圆柱状池体的前端面开设有进液口;圆柱状池体的后端面开设有出液口;圆柱状池体的侧面开设有检修观察清污口;圆柱状池体由三个120°扇形柱状槽体密封对接组成;每个120°扇形柱状槽体的槽口左侧端面上均设有一条凸起;每个120°扇形柱状槽体的槽口右侧端面上均设有一条凹槽;相邻两个120°扇形柱状槽体上的一条凸起与一条凹槽相互对接。
具体使用过程如下:当对本实用新型所述的组装式化粪池进行生产时,仅需分别生产三个120°扇形柱状槽体,从而有效降低了生产难度。当对本实用新型所述的组装式化粪池进行运输时,仅需将圆柱状池体分拆为三个120°扇形柱状槽体即可运输,从而有效降低了运输成本(一辆车可运输多个化粪池)。当对本实用新型所述的组装式化粪池进行安装时,仅需将三个120°扇形柱状槽体密封对接,并在凸起与凹槽之间灌注密封胶,即可组装成圆柱状池体(无需通过吊车进行安装),从而有效提高了安装方便性。在此过程中,凸起、凹槽、密封胶能够有效保证圆柱状池体的密封性。基于上述过程,本实用新型所述的组装式化粪池有效解决了现有化粪池生产难度大、运输成本高、以及安装不方便的问题。
进一步地,圆柱状池体的外侧面开设有若干条周向沟槽。使用时,通过钢丝将圆柱状池体进行紧箍,并将钢丝部分嵌入周向沟槽中,从而有效提高了运输方便性。在此过程中,周向沟槽能够避免钢丝发生滑脱,从而为运输圆柱状池体提供了有效着力点。
本实用新型结构简单、设计合理,有效解决了现有化粪池生产难度大、运输成本高、以及安装不方便的问题,适用于居民小区、单元住宅楼和办公楼的化粪和污水处理。
附图说明
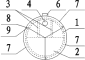
图1是本实用新型的结构示意图。
图2是图1的左视图。
图中:1-环状安装槽,2-隔板,3-竖直支撑杆,4-进液口,5-出液口,6-检修观察清污口,7-120°扇形柱状槽体,8-凸起,9-凹槽,10-周向沟槽。
具体实施方式
组装式化粪池,包括圆柱状池体;圆柱状池体的内侧壁沿轴向等距设置有若干个环状安装槽1;每个环状安装槽1内均安装有一个隔板2;每个隔板2的下半部分均为实心结构;每个隔板2的上半部分均为空心结构,且空心内设置有两个竖直支撑杆3;圆柱状池体的前端面开设有进液口4;圆柱状池体的后端面开设有出液口5;圆柱状池体的侧面开设有检修观察清污口6;圆柱状池体由三个120°扇形柱状槽体7密封对接组成;每个120°扇形柱状槽体7的槽口左侧端面上均设有一条凸起8;每个120°扇形柱状槽体7的槽口右侧端面上均设有一条凹槽9;相邻两个120°扇形柱状槽体7上的一条凸起8与一条凹槽9相互对接;
圆柱状池体的外侧面开设有若干条周向沟槽10。
Claims (2)
1.一种组装式化粪池,包括圆柱状池体;圆柱状池体的内侧壁沿轴向等距设置有若干个环状安装槽(1);每个环状安装槽(1)内均安装有一个隔板(2);每个隔板(2)的下半部分均为实心结构;每个隔板(2)的上半部分均为空心结构,且空心内设置有两个竖直支撑杆(3);圆柱状池体的前端面开设有进液口(4);圆柱状池体的后端面开设有出液口(5);圆柱状池体的侧面开设有检修观察清污口(6);其特征在于:圆柱状池体由三个120°扇形柱状槽体(7)密封对接组成;每个120°扇形柱状槽体(7)的槽口左侧端面上均设有一条凸起(8);每个120°扇形柱状槽体(7)的槽口右侧端面上均设有一条凹槽(9);相邻两个120°扇形柱状槽体(7)上的一条凸起(8)与一条凹槽(9)相互对接。
2.根据权利要求1所述的组装式化粪池,其特征在于:圆柱状池体的外侧面开设有若干条周向沟槽(10)。
Priority Applications (1)
| Application Number | Priority Date | Filing Date | Title |
|---|---|---|---|
| CN 201320069518 CN203187501U (zh) | 2013-02-06 | 2013-02-06 | 组装式化粪池 |
Applications Claiming Priority (1)
| Application Number | Priority Date | Filing Date | Title |
|---|---|---|---|
| CN 201320069518 CN203187501U (zh) | 2013-02-06 | 2013-02-06 | 组装式化粪池 |
Publications (1)
| Publication Number | Publication Date |
|---|---|
| CN203187501U true CN203187501U (zh) | 2013-09-11 |
Family
ID=49104375
Family Applications (1)
| Application Number | Title | Priority Date | Filing Date |
|---|---|---|---|
| CN 201320069518 Expired - Fee Related CN203187501U (zh) | 2013-02-06 | 2013-02-06 | 组装式化粪池 |
Country Status (1)
| Country | Link |
|---|---|
| CN (1) | CN203187501U (zh) |
Cited By (1)
| Publication number | Priority date | Publication date | Assignee | Title |
|---|---|---|---|---|
| CN104909532A (zh) * | 2015-06-10 | 2015-09-16 | 湖州国盛环保工程有限公司 | 组合式化粪池 |
-
2013
- 2013-02-06 CN CN 201320069518 patent/CN203187501U/zh not_active Expired - Fee Related
Cited By (1)
| Publication number | Priority date | Publication date | Assignee | Title |
|---|---|---|---|---|
| CN104909532A (zh) * | 2015-06-10 | 2015-09-16 | 湖州国盛环保工程有限公司 | 组合式化粪池 |
Similar Documents
| Publication | Publication Date | Title |
|---|---|---|
| CN203187501U (zh) | 组装式化粪池 | |
| CN203731009U (zh) | 内衬pvc片材的钢筋混凝土排水管 | |
| CN202324176U (zh) | 一种组合式预制蓄水池 | |
| CN203403000U (zh) | 一种玻璃钢化粪池 | |
| CN205133375U (zh) | 一种玻璃钢化粪池 | |
| CN201722795U (zh) | 方钢管混凝土柱与h型钢梁节点连接结构 | |
| CN203307191U (zh) | 带加强筋的化粪池 | |
| CN203475580U (zh) | 多功能组合雨水塑料检查井 | |
| CN103588371A (zh) | 上下组合式塑料化粪池 | |
| CN203498234U (zh) | 上下组合式塑料化粪池 | |
| CN201459693U (zh) | 一种透水管 | |
| CN203939125U (zh) | 大直径聚乙烯缠绕结构管新型检查井 | |
| CN103288318B (zh) | 圆台型组合式化粪池组装件 | |
| CN203927127U (zh) | 一种低密度轻质upvc管材 | |
| CN202246352U (zh) | 一种新型化粪池 | |
| CN203284298U (zh) | 圆台型组合式化粪池组装件 | |
| CN202214276U (zh) | 组装式预制内圆外八角型钢筋砼化粪池 | |
| CN203821511U (zh) | 中水循环节水系统 | |
| CN203999295U (zh) | 玻璃钢化粪池 | |
| CN202248225U (zh) | 一种塑料检查井挡圈 | |
| CN204490550U (zh) | 一种溶气气浮机 | |
| CN204173982U (zh) | 一种水解酸化高效脉冲布水器 | |
| CN203728692U (zh) | 塑胶组合式化粪池 | |
| CN202270509U (zh) | 一种反应釜出料装置 | |
| CN202672705U (zh) | 碗扣式脚手架用下碗扣 |
Legal Events
| Date | Code | Title | Description |
|---|---|---|---|
| C14 | Grant of patent or utility model | ||
| GR01 | Patent grant | ||
| C17 | Cessation of patent right | ||
| CF01 | Termination of patent right due to non-payment of annual fee |
Granted publication date: 20130911 Termination date: 20140206 |