CN203171008U - 一种高精密多孔钻床 - Google Patents
一种高精密多孔钻床 Download PDFInfo
- Publication number
- CN203171008U CN203171008U CN 201320049992 CN201320049992U CN203171008U CN 203171008 U CN203171008 U CN 203171008U CN 201320049992 CN201320049992 CN 201320049992 CN 201320049992 U CN201320049992 U CN 201320049992U CN 203171008 U CN203171008 U CN 203171008U
- Authority
- CN
- China
- Prior art keywords
- drilling machine
- gearbox
- column
- workpiece
- moving spring
- Prior art date
- Legal status (The legal status is an assumption and is not a legal conclusion. Google has not performed a legal analysis and makes no representation as to the accuracy of the status listed.)
- Expired - Fee Related
Links
- 238000005553 drilling Methods 0.000 title claims abstract description 30
- 238000001816 cooling Methods 0.000 claims abstract description 10
- 230000000694 effects Effects 0.000 claims description 8
- 230000003028 elevating effect Effects 0.000 claims description 8
- 238000003825 pressing Methods 0.000 claims description 4
- 238000003754 machining Methods 0.000 abstract description 7
- 238000009434 installation Methods 0.000 abstract 1
- 239000011148 porous material Substances 0.000 abstract 1
- 238000010586 diagram Methods 0.000 description 4
- 229910000831 Steel Inorganic materials 0.000 description 3
- 239000010959 steel Substances 0.000 description 3
- 230000005540 biological transmission Effects 0.000 description 2
- 238000005516 engineering process Methods 0.000 description 2
- 238000000034 method Methods 0.000 description 2
- 230000009286 beneficial effect Effects 0.000 description 1
- 238000006243 chemical reaction Methods 0.000 description 1
- 239000000446 fuel Substances 0.000 description 1
- 238000002347 injection Methods 0.000 description 1
- 239000007924 injection Substances 0.000 description 1
- 239000000243 solution Substances 0.000 description 1
Images
Landscapes
- Drilling And Boring (AREA)
Abstract
本实用新型公开一种高精密多孔钻床,包括电机、变速箱、切削装置、升降机构、冷却装置、压紧装置、工件定位模具、顶板、立柱和机台底座,所述立柱垂直设置在机台底座的周部,所述顶板安装在立柱的上端部上,所述顶板上安装有变速箱和电机,所述变数箱的下方动力输出端上安装有切削装置,所述切削装置的刀具安装板上还设置有冷却装置和用于压紧工件的压紧装置,所述切削装置下方的立柱上设置有可沿立柱上下升降运动的升降工作台,所述升降工作台上侧可拆安装有工件定位模具,所述升降工作台下侧与机台底座之间设置有升降机构,该高精密多孔钻床设计合理,结构简单,能在一个加工周期中同时完成多个孔的加工,不仅工作效率和加工精度高,而且其通用性高,通过更换工件定位模具能够适应不同工件。
Description
技术领域
本实用新型涉及一种钻床,具体涉及一种高精密多孔钻床。
背景技术
钻床是机加工领域中常用的设备,通用钻床的通用性虽然比较高,但是无法满足工业产业上对工作效率的要求。因此,在不同的机加工工厂中,都需要设计针对其主要产品的专用钻床。
在现有技术中,常用的钻床如专利号为:200720105517.2的实用新型专利所公开的一种全自动多孔钻床,其主要包括钻头装置、动力装置、传动机构和工作台,在工作台上设有轮毂钢圈固定台,所述的钻头装置为若干个呈圆周分布的小钻头装置组成,每个小钻头装置均通过传动机构与动力装置相联接,在所述的固定台下部还设有固定台的升降机构,该多孔钻床能够适应电动轮毂钢圈的加工,并且具有工作效率高、孔距一致的特点。但由于该多孔钻床的轮毂钢圈固定台是不可拆卸的,导致多孔钻床能够加工的工件有限,通用性不高。另外,多孔钻床的主轴为普通主轴,不可调整,其加工精度得不到很好的保障。
实用新型内容
本实用新型目的是提供一种高精密多孔钻床,该高精密多孔钻床设计合理,结构简单,能在一个加工周期中同时完成多个孔的加工,不仅工作效率和加工精度高,而且其通用性高,通过更换工件定位模具能够适应不同工件。
本实用新型的技术方案在于:一种高精密多孔钻床,包括电机、变速箱、切削装置、升降机构、冷却装置、压紧装置、工件定位模具、顶板、立柱和机台底座,所述立柱垂直设置在机台底座的周部,所述顶板安装在立柱的上端部上,所述顶板上安装有变速箱和电机,所述变速箱的下方动力输出端上安装有切削装置,所述切削装置的刀具安装板上还设置有冷却装置和用于压紧工件的压紧装置,所述切削装置下方的立柱上设置有可沿立柱上下升降运动的升降工作台,所述升降工作台上侧可拆安装有工件定位模具,所述升降工作台下侧与机台底座之间设置有升降机构。
进一步,所述切削装置包括安装在变速箱下方动力输出端的精密主轴、安装在精密主轴下端的刀具和设置在刀具之间的刀具安装板。
进一步,所述压紧装置包括螺杆、螺母和第一复位弹簧,所述第一复位弹簧套置在螺杆外侧,所述第一复位弹簧上端与刀具安装板固连,所述第一复位弹簧下端与螺杆的下端固连。
进一步,所述工件定位模具包括模板和设置在模板上的顶柱、固定柱和定位活动柱,所述定位活动柱由相对套接的上套管和下套管构成,所述上套管上端设置有定位凸台,所述下套管下端插接在模板的安装孔上,所述上套管和下套管的内腔设置有第二复位弹簧。
本实用新型的有益效果在于:一是该高精密多孔钻床布局合理,结构简单,能在一个加工周期中同时完成多个孔的加工,具有较高的工作效率;二是设置了可以精确调节的精密主轴,提高了钻床的加工精度;三是该高精密多孔钻床的工件定位模具与升降工作台为可拆连接,根据不同的工件,更换不同的工件定位模具,具有较高的通用性。
附图说明
图1为实施例中高精密多孔钻床的主视结构示意图。
图2为实施例中高精密多孔钻床的的俯视结构示意图。
图3为实施例中切削装置的安装结构放大示意图。
图4为实施例中工件定位模具的结构放大示意图。
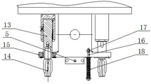
标号说明:1-电机2-变速箱3-切削装置4-升降机构5-冷却装置6-压紧装置7-工件定位模具8-顶板9-立柱10-机台底座11-升降工作台12-工件13-精密主轴14-刀具15-刀具安装板16-螺杆17-螺母18-第一复位弹簧19-模板20-顶柱21-固定柱22-定位活动柱。
具体实施方式
为详细说明本实用新型的技术内容、构造特征、所实现目的及效果,以下结合实施方式并配合附图详予说明。
参阅图1~2,一种高精密多孔钻床,包括电机1、变速箱2、切削装置3、升降机构4、冷却装置5、压紧装置6、工件定位模具7、顶板8、立柱9和机台底 座10,所述立柱9垂直设置在机台底座10的周部,所述顶板8安装在立柱9的上端部上,所述顶板8上安装有变速箱2和电机1,所述变速箱2的下方动力输出端上安装有切削装置3,所述切削装置3的刀具安装板上还设置有冷却装置5和用于压紧工件的压紧装置6,所述切削装置3下方的立柱9上设置有可沿立柱上下升降运动的升降工作台11,所述升降工作台11上侧可拆安装有工件定位模具7,所述升降工作台11下侧与机台底座10之间设置有升降机构4。
在本实施例中,为了能够调整主轴的加工精度,所述切削装置3包括安装在变速箱下方动力输出端的精密主轴13、安装在精密主轴下端的刀具14和设置在刀具之间的刀具安装板15。
在本实施例中,为了配合工件定位模具夹紧工件,所述压紧装置6包括螺杆16、螺母17和第一复位弹簧18,所述第一复位弹簧套置在螺杆外侧,所述第一复位弹簧上端与刀具安装板15固连,所述第一复位弹簧下端与螺杆的下端固连。
在本实施例中,所述工件定位模具7包括模板19和设置在模板19上的顶柱20、固定柱21和定位活动柱22,所述定位活动柱22由相对套接的上套管和下套管构成,所述上套管上端设置有定位凸台,所述下套管下端插接在模板的安装孔上,所述下套管的管壁上开设有导向槽道,所述上套管上设置有与导向槽道配合的导向销,所述上套管和下套管的内腔设置有第二复位弹簧。该工件定位模具7夹持精度高,且有利于工件的脱出。
本实用新型的工作过程:在升降机构的带动下,升降工作台可沿立柱上下活动,工件定位模具7安装在升降工作台上,工件固定在工件定位模具7上,工件在升降工作台的带动下同步上升,工件上升到一定高度,首先触碰到压紧装置,压紧装置压紧工件,切削装置开始钻孔,冷却装置同时开始喷油进行冷却,钻孔完毕后,工作台下降,取出工件。
以上所述仅为本实用新型的实施例,并非因此限制本实用新型的专利范围,凡是利用本实用新型说明书及附图内容所作的等效结构或等效流程变换,或直接或间接运用在其他相关的技术领域,均同理包括在本实用新型的专利保护范围内。
Claims (4)
1.一种高精密多孔钻床,包括电机、变速箱、切削装置、升降机构、冷却装置、压紧装置、工件定位模具、顶板、立柱和机台底座,所述立柱垂直设置在机台底座的周部,所述顶板安装在立柱的上端部上,其特征在于,所述顶板上安装有变速箱和电机,所述变速箱的下方动力输出端上安装有切削装置,所述切削装置的刀具安装板上还设置有冷却装置和用于压紧工件的压紧装置,所述切削装置下方的立柱上设置有可沿立柱上下升降运动的升降工作台,所述升降工作台上侧可拆安装有工件定位模具,所述升降工作台下侧与机台底座之间设置有升降机构。
2.根据权利要求1所述的高精密多孔钻床,其特征在于,所述切削装置包括安装在变速箱下方动力输出端的精密主轴、安装在精密主轴下端的刀具和设置在刀具之间的刀具安装板。
3.根据权利要求1或2所述的高精密多孔钻床,其特征在于,所述压紧装置包括螺杆、螺母和第一复位弹簧,所述第一复位弹簧套置在螺杆外侧,所述第一复位弹簧上端与刀具安装板固连,所述第一复位弹簧下端与螺杆的下端固连。
4.根据权利要求1所述的高精密多孔钻床,其特征在于,所述工件定位模具包括模板和设置在模板上的顶柱、固定柱和定位活动柱,所述定位活动柱由相对套接的上套管和下套管构成,所述上套管上端设置有定位凸台,所述下套管下端插接在模板的安装孔上,所述上套管和下套管的内腔设置有第二复位弹簧。
Priority Applications (1)
| Application Number | Priority Date | Filing Date | Title |
|---|---|---|---|
| CN 201320049992 CN203171008U (zh) | 2013-01-30 | 2013-01-30 | 一种高精密多孔钻床 |
Applications Claiming Priority (1)
| Application Number | Priority Date | Filing Date | Title |
|---|---|---|---|
| CN 201320049992 CN203171008U (zh) | 2013-01-30 | 2013-01-30 | 一种高精密多孔钻床 |
Publications (1)
| Publication Number | Publication Date |
|---|---|
| CN203171008U true CN203171008U (zh) | 2013-09-04 |
Family
ID=49067762
Family Applications (1)
| Application Number | Title | Priority Date | Filing Date |
|---|---|---|---|
| CN 201320049992 Expired - Fee Related CN203171008U (zh) | 2013-01-30 | 2013-01-30 | 一种高精密多孔钻床 |
Country Status (1)
| Country | Link |
|---|---|
| CN (1) | CN203171008U (zh) |
Cited By (15)
| Publication number | Priority date | Publication date | Assignee | Title |
|---|---|---|---|---|
| CN104708088A (zh) * | 2014-12-05 | 2015-06-17 | 贵州西南工具(集团)有限公司 | 一种自动压紧多孔精密钻铰夹具钻铰零件的方法及夹具 |
| CN105414670A (zh) * | 2016-01-13 | 2016-03-23 | 中国工程物理研究院核物理与化学研究所 | 同位素靶件切割装置 |
| CN105817665A (zh) * | 2016-05-16 | 2016-08-03 | 嘉善卡固电气设备有限公司 | 钻攻机及加工方法 |
| CN105965053A (zh) * | 2016-06-30 | 2016-09-28 | 新蕾车业无锡有限公司 | 一种金属制品加工用钻孔装置 |
| CN106392134A (zh) * | 2016-12-14 | 2017-02-15 | 重庆智和机械制造有限公司 | 轴孔钻孔机 |
| CN106424842A (zh) * | 2016-11-18 | 2017-02-22 | 惠安灿锐信息技术咨询有限公司 | 一种基于物联网的智能多轴打孔设备 |
| CN106584061A (zh) * | 2016-12-29 | 2017-04-26 | 天津市金万方钢结构有限公司 | 转盘平台式钢结构组装设备 |
| WO2017080060A1 (zh) * | 2015-11-13 | 2017-05-18 | 太仓井林机械科技有限公司 | 一种自动化多工件钻孔装置 |
| CN106694938A (zh) * | 2016-12-29 | 2017-05-24 | 天津市金万方钢结构有限公司 | 移动工作台式钢构打孔机 |
| CN106735424A (zh) * | 2016-12-29 | 2017-05-31 | 天津市金万方钢结构有限公司 | 钢结构打孔装置 |
| CN107825223A (zh) * | 2017-11-15 | 2018-03-23 | 遵义中铂硬质合金有限责任公司 | 一种钻孔降温装置 |
| CN108247099A (zh) * | 2018-01-18 | 2018-07-06 | 岳睿 | 自动定位的液压驱动的钻孔机械装置 |
| CN108356533A (zh) * | 2018-02-09 | 2018-08-03 | 乐福特科技(深圳)有限公司 | 一种直线工位上实现多工位加工的零件钻铣装置 |
| CN108453535A (zh) * | 2018-06-27 | 2018-08-28 | 青岛昌辉管业有限公司 | 一种压紧三通管件的模具 |
| CN112453463A (zh) * | 2020-11-25 | 2021-03-09 | 杭州鼎友五金机械制造有限公司 | 一种金属件高精准钻孔设备 |
-
2013
- 2013-01-30 CN CN 201320049992 patent/CN203171008U/zh not_active Expired - Fee Related
Cited By (17)
| Publication number | Priority date | Publication date | Assignee | Title |
|---|---|---|---|---|
| CN104708088A (zh) * | 2014-12-05 | 2015-06-17 | 贵州西南工具(集团)有限公司 | 一种自动压紧多孔精密钻铰夹具钻铰零件的方法及夹具 |
| WO2017080060A1 (zh) * | 2015-11-13 | 2017-05-18 | 太仓井林机械科技有限公司 | 一种自动化多工件钻孔装置 |
| CN105414670A (zh) * | 2016-01-13 | 2016-03-23 | 中国工程物理研究院核物理与化学研究所 | 同位素靶件切割装置 |
| CN105817665A (zh) * | 2016-05-16 | 2016-08-03 | 嘉善卡固电气设备有限公司 | 钻攻机及加工方法 |
| CN105965053A (zh) * | 2016-06-30 | 2016-09-28 | 新蕾车业无锡有限公司 | 一种金属制品加工用钻孔装置 |
| CN106424842A (zh) * | 2016-11-18 | 2017-02-22 | 惠安灿锐信息技术咨询有限公司 | 一种基于物联网的智能多轴打孔设备 |
| CN106392134A (zh) * | 2016-12-14 | 2017-02-15 | 重庆智和机械制造有限公司 | 轴孔钻孔机 |
| CN106694938A (zh) * | 2016-12-29 | 2017-05-24 | 天津市金万方钢结构有限公司 | 移动工作台式钢构打孔机 |
| CN106584061A (zh) * | 2016-12-29 | 2017-04-26 | 天津市金万方钢结构有限公司 | 转盘平台式钢结构组装设备 |
| CN106735424A (zh) * | 2016-12-29 | 2017-05-31 | 天津市金万方钢结构有限公司 | 钢结构打孔装置 |
| CN106735424B (zh) * | 2016-12-29 | 2019-02-05 | 浙江明机风机有限公司 | 钢结构打孔装置 |
| CN107825223A (zh) * | 2017-11-15 | 2018-03-23 | 遵义中铂硬质合金有限责任公司 | 一种钻孔降温装置 |
| CN108247099A (zh) * | 2018-01-18 | 2018-07-06 | 岳睿 | 自动定位的液压驱动的钻孔机械装置 |
| CN108356533A (zh) * | 2018-02-09 | 2018-08-03 | 乐福特科技(深圳)有限公司 | 一种直线工位上实现多工位加工的零件钻铣装置 |
| CN108453535A (zh) * | 2018-06-27 | 2018-08-28 | 青岛昌辉管业有限公司 | 一种压紧三通管件的模具 |
| CN108453535B (zh) * | 2018-06-27 | 2024-05-10 | 青岛昌辉管业有限公司 | 一种压紧三通管件的模具 |
| CN112453463A (zh) * | 2020-11-25 | 2021-03-09 | 杭州鼎友五金机械制造有限公司 | 一种金属件高精准钻孔设备 |
Similar Documents
| Publication | Publication Date | Title |
|---|---|---|
| CN203171008U (zh) | 一种高精密多孔钻床 | |
| CN203076905U (zh) | 一种带有十字滑台工作台的单柱式数控机床 | |
| CN103769823B (zh) | Pxe活塞自动生产线 | |
| CN107931474A (zh) | 一种双工位上料机 | |
| CN202087965U (zh) | 简易立式多功能机床 | |
| CN203495503U (zh) | Pxe活塞自动生产线 | |
| CN203772240U (zh) | 一种用于三坐标测量机的快换装夹装置 | |
| CN102205432B (zh) | 阀门法兰多轴钻孔装置 | |
| CN201744708U (zh) | 用于钻床上的钻孔装置 | |
| CN207308690U (zh) | 一种分度冲孔机 | |
| CN202779918U (zh) | 圆形平面盘多孔打眼定位模具 | |
| CN204524929U (zh) | 轴固打孔、套扣及铣平窝专用夹装装置 | |
| CN202490988U (zh) | 一种多轴攻丝装置 | |
| CN208398852U (zh) | 一种适用于法兰叉平面度检测装置 | |
| CN202606634U (zh) | 一体化感应机床 | |
| CN103302363A (zh) | 一种多轴攻丝装置 | |
| CN202006353U (zh) | 多功能焊接切割工作台 | |
| CN202137401U (zh) | 阀门法兰多轴钻孔装置 | |
| CN204736264U (zh) | 一种自动化多钻头打孔装置 | |
| CN204160471U (zh) | 用于加工平面工件的划线工具 | |
| CN202655951U (zh) | 水阀法兰孔钻孔工装 | |
| CN203197490U (zh) | 油箱加油口焊接工装 | |
| CN202824336U (zh) | 一种新型的自动冲孔机 | |
| CN201534228U (zh) | 一种立式镗床 | |
| CN202015883U (zh) | 一种齿轮的齿面加工设备 |
Legal Events
| Date | Code | Title | Description |
|---|---|---|---|
| C14 | Grant of patent or utility model | ||
| GR01 | Patent grant | ||
| C17 | Cessation of patent right | ||
| CF01 | Termination of patent right due to non-payment of annual fee |
Granted publication date: 20130904 Termination date: 20140130 |