CN203170848U - 一种大型瓦楞形工件折弯用的分段滚轮自由折弯模具 - Google Patents
一种大型瓦楞形工件折弯用的分段滚轮自由折弯模具 Download PDFInfo
- Publication number
- CN203170848U CN203170848U CN 201320225958 CN201320225958U CN203170848U CN 203170848 U CN203170848 U CN 203170848U CN 201320225958 CN201320225958 CN 201320225958 CN 201320225958 U CN201320225958 U CN 201320225958U CN 203170848 U CN203170848 U CN 203170848U
- Authority
- CN
- China
- Prior art keywords
- die
- bending
- roller
- die shoe
- shape workpiece
- Prior art date
- Legal status (The legal status is an assumption and is not a legal conclusion. Google has not performed a legal analysis and makes no representation as to the accuracy of the status listed.)
- Expired - Fee Related
Links
- 238000005452 bending Methods 0.000 title claims abstract description 91
- 238000007493 shaping process Methods 0.000 claims description 38
- 230000011218 segmentation Effects 0.000 claims description 16
- 238000004519 manufacturing process Methods 0.000 abstract description 2
- 238000000034 method Methods 0.000 description 6
- 238000012545 processing Methods 0.000 description 5
- 239000000463 material Substances 0.000 description 4
- 239000002184 metal Substances 0.000 description 4
- 238000010586 diagram Methods 0.000 description 3
- 230000003014 reinforcing effect Effects 0.000 description 3
- 238000013461 design Methods 0.000 description 2
- 238000005516 engineering process Methods 0.000 description 2
- 238000005242 forging Methods 0.000 description 2
- 238000003754 machining Methods 0.000 description 2
- 238000005728 strengthening Methods 0.000 description 2
- 229910000831 Steel Inorganic materials 0.000 description 1
- 238000010009 beating Methods 0.000 description 1
- 230000009286 beneficial effect Effects 0.000 description 1
- 230000007812 deficiency Effects 0.000 description 1
- 238000002474 experimental method Methods 0.000 description 1
- 238000000465 moulding Methods 0.000 description 1
- 238000012856 packing Methods 0.000 description 1
- 238000003825 pressing Methods 0.000 description 1
- 230000001915 proofreading effect Effects 0.000 description 1
- 238000012797 qualification Methods 0.000 description 1
- 238000005096 rolling process Methods 0.000 description 1
- 239000010959 steel Substances 0.000 description 1
Images
Landscapes
- Bending Of Plates, Rods, And Pipes (AREA)
Abstract
本实用新型公开了一种大型瓦楞形工件折弯用的分段滚轮自由折弯模具,属于折弯模具领域。本实用新型包括上模、下模和连接模板,上模包括上模板、上模座固定螺钉、上模座、上滚轮、成形上模和轴套,上模座均匀间隔安装在上模板上,每个上模座的两侧边均对称设置有2个轴套安装孔,轴套安装孔内镶嵌有轴套,相邻的两个轴套内安装有上滚轮;下模包括下模板、下模座固定螺钉、下模座、下滚轮和轴套,下模座均匀间隔安装在下模板上,每个下模座的梯形槽开口的两侧均对称设置有2个轴套安装孔,轴套安装孔内镶嵌有轴套,相邻的两个轴套内安装有下滚轮。本实用新型实现了四角同时自由折弯,解决了角度回弹难以控制的难题,降低了模具生产成本。
Description
技术领域
本实用新型属于钣金折弯模具技术领域,更具体地说,涉及一种大型瓦楞形工件折弯用的分段滚轮自由折弯模具。
背景技术
在电力行业、大型运输汽车行业,经常用到如图1所示的这种瓦楞形折弯的钣金件,这种瓦楞形工件呈梯形四角折弯,其板材较厚,尺寸较大。图1中瓦楞形工件的板厚一般都为2~6mm,甚至更厚,其折弯宽度都在100mm以上,总长度达到4000mm以上。对于这种大型瓦楞形工件的折弯过程,常用结构如图2所示折弯模具,该模具由上模和下模组成,工件按上模和下模的形状直接复制成形,该模具的耗材多,导致模具笨重,运输和装模都非常繁琐。
图1中的大型瓦楞形工件在折弯加工时,通常先进行矫正折弯,再通过加大折弯力量,减小角度回弹,使成形角度接近设计要求,但是由于该瓦楞形工件成形过程是四角同时折弯,角度相互牵制,导致角度回弹难以控制。为了尽量控制角度回弹,很多模具加工企业提高模具成形的折弯力,导致动力成本大大增加,且模具磨损严重,其寿命不能到达理想要求。图2所示的上下模具是整体结构式的,其模具材料成本高,同时加工困难,这是困扰很多模具加工企业的重大难题。
通过专利检索,中国专利申请号201210157521.9,申请日为2012年5月18日,发明创造名称为:新型锻压折弯机构,该申请案涉及的锻压折弯机构有一机构体,在机构体的上面设置有折弯机平板,折弯机平板通过右支架与左支架由螺栓固定在机构体的上面,在右支架与左支架的上面设有双动滚轮,双动滚轮通过销轴安装在右支架与左支架的上面;在折弯冲头的左右两侧下端部位设置有双动滚轮,双动滚轮通过销轴安装在折弯冲头的两侧下端部,在折弯冲头的上端连接有冲头连接板,下端放置有棒型工件;如此,将棒型工件放入带凹型槽内的折弯机平板的上面,即可将棒型工件冲压成型。该申请案是为了调节左支架与右支架之间的距离,以方便更换折弯冲头即可生产加工出所需棒型工件,但是,该申请案的结构无法实现四角同时弯曲,这种结构通过加大折弯力可一定程度减小回弹,但无法消除回弹。
此外,中国专利号ZL201120093078.4,授权公告日为2011年11月2日,发明创造名称为:钢筋滚轮折弯模具,该申请案涉及一种钢筋滚轮折弯模具,它包括上模部分、折弯部分、下模部分,上模部分包括上模座、垫块、上夹板,各部件之间采用固定连接;下模部分包括下模座、垫板,垫板与下模座固定连接,下模部分固定设置在机器的工作平台上,所述折弯部分包括折弯公、滚轮、折弯凹模,折弯公固定设置在上夹板上,折弯凹模固定设置在下模座上,折弯凹模的底部即是下模座,滚轮设置在折弯凹模内,滚轮通过滚轮轴固定在折弯凹模的两侧壁上。该申请案可有效避免钢筋擦伤,从而改善了产品的外观质量,但是,该申请案无法用于大型钣金件的折弯加工,且无法实现四角同时弯曲,也无法靠调整模具合模深度 控制折弯角度回弹。
发明内容
实用新型要解决的技术问题
本实用新型的目的是在于克服现有技术中大型瓦楞形工件折弯时采用的模具易磨损、且钣金件四角同时折弯时角度回弹难以控制的不足,提供了一种大型瓦楞形工件折弯用的分段滚轮自由折弯模具,采用本实用新型的技术方案,可降低折弯力,降低模具的磨损,提高了模具寿命,同时通过调整上下模具的合模深度,可以方便有效地克服折弯回弹,还可以减少磨擦滑痕。
技术方案
为达到上述目的,本实用新型提供的技术方案为:
本实用新型的一种大型瓦楞形工件折弯用的分段滚轮自由折弯模具,包括上模、下模和连接模板,所述的连接模板的上端设置有连接凹槽,该连接凹槽用于连接冲床,所述的连接模板的下端与上模相连,所述的上模和下模构成成型模,其中:
所述的上模包括上模板、上模座固定螺钉、上模座、上滚轮、成形上模和轴套,其中:所述上模板的上部与连接模板相固连,所述的上模座上表面开设有凹槽,该凹槽用于放置上模板,该上模板通过上模座固定螺钉与上模座、成形上模相连接,上述上模板的截面为矩形结构,且该上模板的长度大于瓦楞形工件的长度;所述的成形上模位于上模座的下方,该上模座和成形上模组成T形结构,该T形结构的伸出端的高度大于瓦楞形工件的成形深度5-10mm,上述的成形上模下部的两侧边均为弧形结构,该成形上模用于成形瓦楞形工件的底部;所述的上模座均匀间隔安装在上模板上,上述每个上模座的两侧边均对称设置有2个轴套安装孔,该轴套安装孔内镶嵌有轴套,相邻的两个轴套内安装有上滚轮,所述的上滚轮为中间直径大于两端直径的台阶形结构,该上滚轮的两端安装于上述的轴套中,该上滚轮的中间部分为折弯成形部分,所述上模座两侧的上滚轮的轴间距大于下模座的宽度10-20mm,所述上滚轮的外表面凸出上模座上部的下表面5~10mm;
所述的下模包括下模板、下模座固定螺钉、下模座、下滚轮和轴套,其中:所述下模板的截面为从上表面开设有凹槽的矩形结构,该凹槽用于放置下模座,所述下模座的下表面为平面,其两侧面均与下表面相垂直,该下模座从下表面开设有两排螺纹孔,上述的下模板通过下模座固定螺钉与下模座相连接,该下模板的长度大于瓦楞形工件的长度;所述下模座均匀间隔安装在下模板上,该下模座的截面为从上表面开设有梯形槽的长方形结构,上述梯形槽的开口大于瓦楞形工件的开口,该梯形槽两侧的斜度比瓦楞形工件的斜度大4°~6°,该梯形槽的深度大于瓦楞形工件的深度5~15mm;上述每个下模座的梯形槽开口的两侧均对称设置有2个轴套安装孔,该轴套安装孔内镶嵌有轴套,相邻的两个轴套内安装有下滚轮,所述的下滚轮为中间直径大于两端直径的台阶形结构,该下滚轮的两端安装于上述的轴套中,所述下模座两侧的下滚轮的轴间距大于成形上模的宽度,所述下滚轮的外表面凸出下模座的上表面5~10mm。
优选地,所述上滚轮的外表面凸出上模座上部的下表面7mm,上模座两侧的上滚轮的轴间距大于下模座的宽度15mm。
优选地,所述下模座的梯形槽两侧的斜度比瓦楞形工件的斜度大5°。
优选地,所述下模座的梯形槽的深度大于瓦楞形工件的深度8mm。
优选地,所述下滚轮的外表面凸出下模座的上表面7mm。
有益效果
采用本实用新型提供的技术方案,与已有的公知技术相比,具有如下显著效果:
(1)本实用新型的一种大型瓦楞形工件折弯用的分段滚轮自由折弯模具,其结构设计合理,使用安全可靠,通过调整上下模具的合模深度,就可以有效地克服折弯回弹,解决了四角同时折弯时角度相互牵制,角度回弹难以控制的难题,还可以减少磨擦滑痕;
(2)本实用新型的一种大型瓦楞形工件折弯用的分段滚轮自由折弯模具,其上下模具中易磨损部位均采用分段式结构设计,且采用高硬度滚轮间隔安装于上下模座,使得节约优质钢材40%左右,从而大大降低了模具成本,模具也因此减轻了重量,给运输和装卸模具都带来很大方便,同时所需冲压力比成普通模具折弯力减小一倍左右,因此为使用者节约了动力成本且提高了模具使用寿命;
(3)本实用新型的一种大型瓦楞形工件折弯用的分段滚轮自由折弯模具,其上下滚轮均采用中间直径大于两端直径的台阶形结构,使得加工方便,可以实现高硬度、高光洁度、高尺寸精度的加工要求,这是普通整体式折弯模具所不可能做到的。
附图说明
图1为瓦楞形工件的结构示意图;
图2为瓦楞形工件的常用折弯模具结构示意图;
图3为本实用新型的一种大型瓦楞形工件折弯用的分段滚轮自由折弯模具的结构示意图;
图4为本实用新型中上模的仰视结构局部示意图;
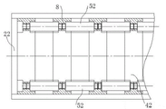
图5为本实用新型中下模的俯视结构局部示意图。
示意图中的标号说明:
1、连接模板;21、上模板;22、下模板;31、上模座固定螺钉;32、下模座固定螺钉;41、上模座;42、下模座;51、上滚轮;52、下滚轮;6、成形上模;7、工件;8、轴套。
具体实施方式
为进一步了解本实用新型的内容,结合附图和实施例对本实用新型作详细描述。
实施例
结合图3、图4和图5,本实施例的一种大型瓦楞形工件折弯用的分段滚轮自由折弯模具,包括上模、下模和连接模板1,所述的连接模板1的上端设置有连接凹槽,该连接凹槽用于连接冲床,所述的连接模板1的下端与上模相连,所述的上模和下模构成成型模。
本实施例中的上模包括上模板21、上模座固定螺钉31、上模座41、上滚轮51、成形上模6和轴套8,其中:所述上模板21的上部与连接模板1相固连,所述的上模座41上表面开设有凹槽,该凹槽用于放置上模板21,该上模板21通过上模座固定螺钉31与上模座41、成形上模6相连接,上述上模板21的截面为矩形结构,且该上模板21的长度大于瓦楞形工件7的长度;所述的成形上模6位于上模座41的下方,该上模座41和成形上模6组成T形结构,本实用新型中T形结构的伸出端的高度大于瓦楞形工件7的成形深度5-10mm均可,本实施例中优选T形结构的伸出端的高度大于瓦楞形工件7的成形深度8mm,上述的成形上模6下部的两侧边均为弧形结构,该成形上模6用于成形瓦楞形工件7的底部;所述的上模座41均匀间隔安装在上模板21上,上述每个上模座41的两侧边均对称设置有2个轴套安装孔,该轴套安装孔内镶嵌有轴套8,相邻的两个轴套8内安装有上滚轮51,所述的上滚轮51为中间直径大于两端直径的台阶形结构,该上滚轮51的两端安装于上述的轴套8中,该上滚轮51的中间部分为折弯成形部分,本实用新型中上模座41两侧的上滚轮51的轴间距大于下模座42的宽度10-20mm,所述上滚轮51的外表面凸出上模座41上部的下表面5~10mm均可,具体在本实施例中优选上滚轮51的外表面凸出上模座41上部的下表面7mm,上模座41两侧的上滚轮51的轴间距大于下模座42的宽度15mm。
本实施例中的下模包括下模板22、下模座固定螺钉32、下模座42、下滚轮52和轴套8,其中:所述下模板22的截面为从上表面开设有凹槽的矩形结构,该凹槽用于放置下模座42,所述下模座42的下表面为平面,其两侧面均与下表面相垂直,该下模座42从下表面开设有两排螺纹孔,上述的下模板22通过下模座固定螺钉32与下模座42相连接,该下模板22的长度大于瓦楞形工件7的长度;所述下模座42均匀间隔安装在下模板22上,该下模座42的截面为从上表面开设有梯形槽的长方形结构,上述梯形槽的开口大于瓦楞形工件7的开口,本实用新型中梯形槽两侧的斜度比瓦楞形工件7的斜度大4°~6°,该梯形槽的深度大于瓦楞形工件7的深度5~15mm均可,本实施例中优选梯形槽两侧的斜度比瓦楞形工件7的斜度大5°,该梯形槽的深度大于瓦楞形工件7的深度8mm;上述每个下模座42的梯形槽开口的两侧均对称设置有2个轴套安装孔,该轴套安装孔内镶嵌有轴套8,相邻的两个轴套8内安装有下滚轮52,所述的下滚轮52为中间直径大于两端直径的台阶形结构,该下滚轮52的两端安装于上述的轴套8中,所述下模座42两侧的下滚轮52的轴间距大于成形上模6的宽度,本实用新型中下滚轮52的外表面凸出下模座42的上表面5~10mm,具体在本实施例中优选下滚轮52的外表面凸出下模座42的上表面7mm。本实施例中上滚轮51和下滚轮52均采用高硬度并且粗糙度值小的滚轮。
本实施例的一种大型瓦楞形工件折弯用的分段滚轮自由折弯模具,瓦楞形工件7的成形过程如下:上模和下模装入冲床,上下模具对中后锁紧。当上模下行,瓦楞形工件7下面的两个角度随成形上模6下行得以成形,成形过程板料沿着下滚轮52进入模具,上模板21两侧的上滚轮51随着上模的下行将斜向上的板料压平,压平过程中板料与上滚轮51之间的摩擦力由常规的滑动摩擦改为滚动摩擦,因此板料能在较小的阻力下进入模具成形,使得大大减小了模具折弯所需的折弯力,也因此很大程度的减小了摩擦划痕。由于下模座42中梯形槽的深度大于瓦楞形工件7的深度5~15mm,T形结构的伸出端的高度大于瓦楞形工件7的成形深度5-10mm,使得可以调节合模深度,通过上模座41两侧的上滚轮51将板材的平面下压实现校正回弹角度,从而解决了大型钣金件四角同时折弯时角度回弹难以控制的难题。实验证明,采用图2所示的整体式折弯模具很难精确的控制折弯角度,而采用本实用新型的技术方案,能够使得瓦楞形工件7的成型合格率达100%。
本实用新型中,由于模具磨损最严重的上模座41两侧、下模座42梯形槽开口的两侧分别间隔安装有上滚轮51、下滚轮52,本实用新型的上滚轮51和下滚轮52均采用高硬度并且粗糙度值小的滚轮,这是整体式模具所不可能做到的。自由弯曲的折弯力较矫正折弯的折弯力可小50%左右,本实用新型模具的成形过程非常近似自由弯曲,因此本实用新型模具在工件7成形时的折弯力要小于常规矫正折弯成形所需折弯力近50%。
以上示意性的对本实用新型及其实施方式进行了描述,该描述没有限制性,附图中所示的也只是本实用新型的实施方式之一,实际的结构并不局限于此。所以,如果本领域的普通技术人员受其启示,在不脱离本实用新型创造宗旨的情况下,不经创造性的设计出与该技术方案相似的结构方式及实施例,均应属于本实用新型的保护范围。
Claims (5)
1.一种大型瓦楞形工件折弯用的分段滚轮自由折弯模具,包括上模、下模和连接模板(1),其特征在于:所述的连接模板(1)的上端设置有连接凹槽,该连接凹槽用于连接冲床,所述的连接模板(1)的下端与上模相连,所述的上模和下模构成成型模,其中:
所述的上模包括上模板(21)、上模座固定螺钉(31)、上模座(41)、上滚轮(51)、成形上模(6)和轴套(8),其中:所述上模板(21)的上部与连接模板(1)相固连,所述的上模座(41)上表面开设有凹槽,该凹槽用于放置上模板(21),该上模板(21)通过上模座固定螺钉(31)与上模座(41)、成形上模(6)相连接,上述上模板(21)的截面为矩形结构,且该上模板(21)的长度大于瓦楞形工件(7)的长度;所述的成形上模(6)位于上模座(41)的下方,该上模座(41)和成形上模(6)组成T形结构,该T形结构的伸出端的高度大于瓦楞形工件(7)的成形深度5-10mm,上述的成形上模(6)下部的两侧边均为弧形结构,该成形上模(6)用于成形瓦楞形工件(7)的底部;所述的上模座(41)均匀间隔安装在上模板(21)上,上述每个上模座(41)的两侧边均对称设置有2个轴套安装孔,该轴套安装孔内镶嵌有轴套(8),相邻的两个轴套(8)内安装有上滚轮(51),所述的上滚轮(51)为中间直径大于两端直径的台阶形结构,该上滚轮(51)的两端安装于上述的轴套(8)中,该上滚轮(51)的中间部分为折弯成形部分,所述上模座(41)两侧的上滚轮(51)的轴间距大于下模座(42)的宽度10-20mm,所述上滚轮(51)的外表面凸出上模座(41)上部的下表面5~10mm;
所述的下模包括下模板(22)、下模座固定螺钉(32)、下模座(42)、下滚轮(52)和轴套(8),其中:所述下模板(22)的截面为从上表面开设有凹槽的矩形结构,该凹槽用于放置下模座(42),所述下模座(42)的下表面为平面,其两侧面均与下表面相垂直,该下模座(42)从下表面开设有两排螺纹孔,上述的下模板(22)通过下模座固定螺钉(32)与下模座(42)相连接,该下模板(22)的长度大于瓦楞形工件(7)的长度;所述下模座(42)均匀间隔安装在下模板(22)上,该下模座(42)的截面为从上表面开设有梯形槽的长方形结构,上述梯形槽的开口大于瓦楞形工件(7)的开口,该梯形槽两侧的斜度比瓦楞形工件(7)的斜度大4°~6°,该梯形槽的深度大于瓦楞形工件(7)的深度5~15mm;上述每个下模座(42)的梯形槽开口的两侧均对称设置有2个轴套安装孔,该轴套安装孔内镶嵌有轴套(8),相邻的两个轴套(8)内安装有下滚轮(52),所述的下滚轮(52)为中间直径大于两端直径的台阶形结构,该下滚轮(52)的两端安装于上述的轴套(8)中,所述下模座(42)两侧的下滚轮(52)的轴间距大于成形上模(6)的宽度,所述下滚轮(52)的外表面凸出下模座(42)的上表面5~10mm。
2.根据权利要求1所述的一种大型瓦楞形工件折弯用的分段滚轮自由折弯模具,其特征在于:所述上滚轮(51)的外表面凸出上模座(41)上部的下表面7mm,上模座(41)两侧的上滚轮(51)的轴间距大于下模座(42)的宽度15mm。
3.根据权利要求2所述的一种大型瓦楞形工件折弯用的分段滚轮自由折弯模具,其特征在于:所述下模座(42)的梯形槽两侧的斜度比瓦楞形工件(7)的斜度大5°。
4.根据权利要求3所述的一种大型瓦楞形工件折弯用的分段滚轮自由折弯模具,其特征在于:所述下模座(42)的梯形槽的深度大于瓦楞形工件(7)的深度8mm。
5.根据权利要求4所述的一种大型瓦楞形工件折弯用的分段滚轮自由折弯模具,其特征在于:所述下滚轮(52)的外表面凸出下模座(42)的上表面7mm。
Priority Applications (1)
| Application Number | Priority Date | Filing Date | Title |
|---|---|---|---|
| CN 201320225958 CN203170848U (zh) | 2013-04-28 | 2013-04-28 | 一种大型瓦楞形工件折弯用的分段滚轮自由折弯模具 |
Applications Claiming Priority (1)
| Application Number | Priority Date | Filing Date | Title |
|---|---|---|---|
| CN 201320225958 CN203170848U (zh) | 2013-04-28 | 2013-04-28 | 一种大型瓦楞形工件折弯用的分段滚轮自由折弯模具 |
Publications (1)
| Publication Number | Publication Date |
|---|---|
| CN203170848U true CN203170848U (zh) | 2013-09-04 |
Family
ID=49067603
Family Applications (1)
| Application Number | Title | Priority Date | Filing Date |
|---|---|---|---|
| CN 201320225958 Expired - Fee Related CN203170848U (zh) | 2013-04-28 | 2013-04-28 | 一种大型瓦楞形工件折弯用的分段滚轮自由折弯模具 |
Country Status (1)
| Country | Link |
|---|---|
| CN (1) | CN203170848U (zh) |
Cited By (4)
| Publication number | Priority date | Publication date | Assignee | Title |
|---|---|---|---|---|
| CN103203412A (zh) * | 2013-04-28 | 2013-07-17 | 马鞍山市辰兴机械制造有限公司 | 一种大型瓦楞形工件折弯用的分段滚轮自由折弯模具 |
| CN103506489A (zh) * | 2013-09-10 | 2014-01-15 | 苏州安洁科技股份有限公司 | 一种精密五金模的双向安装底板 |
| CN107073860A (zh) * | 2014-08-28 | 2017-08-18 | 戴维·布罗德赫德 | 用于冲压模具的冲模或冲头 |
| IT201800009684A1 (it) * | 2018-10-22 | 2020-04-22 | Rolleri SPA | Matrice per una pressa piegatrice |
-
2013
- 2013-04-28 CN CN 201320225958 patent/CN203170848U/zh not_active Expired - Fee Related
Cited By (5)
| Publication number | Priority date | Publication date | Assignee | Title |
|---|---|---|---|---|
| CN103203412A (zh) * | 2013-04-28 | 2013-07-17 | 马鞍山市辰兴机械制造有限公司 | 一种大型瓦楞形工件折弯用的分段滚轮自由折弯模具 |
| CN103203412B (zh) * | 2013-04-28 | 2015-10-28 | 马鞍山市辰兴机械制造有限公司 | 一种大型瓦楞形工件折弯用的分段滚轮自由折弯模具 |
| CN103506489A (zh) * | 2013-09-10 | 2014-01-15 | 苏州安洁科技股份有限公司 | 一种精密五金模的双向安装底板 |
| CN107073860A (zh) * | 2014-08-28 | 2017-08-18 | 戴维·布罗德赫德 | 用于冲压模具的冲模或冲头 |
| IT201800009684A1 (it) * | 2018-10-22 | 2020-04-22 | Rolleri SPA | Matrice per una pressa piegatrice |
Similar Documents
| Publication | Publication Date | Title |
|---|---|---|
| CN103203412B (zh) | 一种大型瓦楞形工件折弯用的分段滚轮自由折弯模具 | |
| CN202479347U (zh) | 一种模板可调的简易冲压模具 | |
| CN203170848U (zh) | 一种大型瓦楞形工件折弯用的分段滚轮自由折弯模具 | |
| CN202447517U (zh) | 一种u型梁液压一次成型模具 | |
| CN210023507U (zh) | 一种折弯机用下模及下模组件 | |
| CN203091530U (zh) | 可调式精密u型弯曲模 | |
| CN207533817U (zh) | 一种冲压级进模的导向定位机构 | |
| CN203578575U (zh) | 一种特殊z型工件的折弯机专用模具 | |
| CN206981552U (zh) | 一种钢板压力成型模具 | |
| CN205668027U (zh) | 一种钢板u型件多功能弯曲模 | |
| CN211250549U (zh) | 一种多工位瓷器冲压模具 | |
| CN206662061U (zh) | 一种折弯模具 | |
| CN203356400U (zh) | 一体式可调压弯模 | |
| CN205309079U (zh) | 一种防工件磨损的中铰链垫片弯曲模母模组件 | |
| CN206519490U (zh) | 一种弧形工件加工模具 | |
| CN108393388A (zh) | 一种坯板导向的连续冲压模具 | |
| CN204449029U (zh) | 导向板折弯工装 | |
| CN204294758U (zh) | 蛇形弹簧一次成型模具 | |
| CN202752438U (zh) | 一种折弯无刮痕模具 | |
| CN202114156U (zh) | 热成型冲压试验模具所用的通用模架 | |
| CN210620181U (zh) | 一种用于实木板的翻转夹持装置 | |
| CN115301776A (zh) | 一种具有定位加热功能的板材柔性折弯机下模具 | |
| CN202239095U (zh) | 一种折弯下模 | |
| CN207839697U (zh) | 一种专用于棒料零件的打弯模具 | |
| CN201324790Y (zh) | 冲压模具 |
Legal Events
| Date | Code | Title | Description |
|---|---|---|---|
| C14 | Grant of patent or utility model | ||
| GR01 | Patent grant | ||
| CF01 | Termination of patent right due to non-payment of annual fee |
Granted publication date: 20130904 Termination date: 20190428 |
|
| CF01 | Termination of patent right due to non-payment of annual fee |