CN203163011U - Energy-saving environment-friendly electromagnetic oven - Google Patents

Energy-saving environment-friendly electromagnetic oven Download PDF

Info

Publication number
CN203163011U
CN203163011U CN201320155047.6U CN201320155047U CN203163011U CN 203163011 U CN203163011 U CN 203163011U CN 201320155047 U CN201320155047 U CN 201320155047U CN 203163011 U CN203163011 U CN 203163011U
Authority
CN
China
Prior art keywords
control module
energy
battery
heater
furnace body
Prior art date
Legal status (The legal status is an assumption and is not a legal conclusion. Google has not performed a legal analysis and makes no representation as to the accuracy of the status listed.)
Expired - Fee Related
Application number
CN201320155047.6U
Other languages
Chinese (zh)
Inventor
马进华
Current Assignee (The listed assignees may be inaccurate. Google has not performed a legal analysis and makes no representation or warranty as to the accuracy of the list.)
Kunshan You Jin Intelligent Building Engineering Co Ltd
Original Assignee
Kunshan You Jin Intelligent Building Engineering Co Ltd
Priority date (The priority date is an assumption and is not a legal conclusion. Google has not performed a legal analysis and makes no representation as to the accuracy of the date listed.)
Filing date
Publication date
Application filed by Kunshan You Jin Intelligent Building Engineering Co Ltd filed Critical Kunshan You Jin Intelligent Building Engineering Co Ltd
Priority to CN201320155047.6U priority Critical patent/CN203163011U/en
Application granted granted Critical
Publication of CN203163011U publication Critical patent/CN203163011U/en
Anticipated expiration legal-status Critical
Expired - Fee Related legal-status Critical Current

Links

Images

Classifications

    • YGENERAL TAGGING OF NEW TECHNOLOGICAL DEVELOPMENTS; GENERAL TAGGING OF CROSS-SECTIONAL TECHNOLOGIES SPANNING OVER SEVERAL SECTIONS OF THE IPC; TECHNICAL SUBJECTS COVERED BY FORMER USPC CROSS-REFERENCE ART COLLECTIONS [XRACs] AND DIGESTS
    • Y02TECHNOLOGIES OR APPLICATIONS FOR MITIGATION OR ADAPTATION AGAINST CLIMATE CHANGE
    • Y02BCLIMATE CHANGE MITIGATION TECHNOLOGIES RELATED TO BUILDINGS, e.g. HOUSING, HOUSE APPLIANCES OR RELATED END-USER APPLICATIONS
    • Y02B40/00Technologies aiming at improving the efficiency of home appliances, e.g. induction cooking or efficient technologies for refrigerators, freezers or dish washers

Landscapes

  • Electric Stoves And Ranges (AREA)

Abstract

一种节能环保电磁炉,它涉及节能环保型电器领域,支架设置在炉体的上方,且支架的外侧设有一圈反射罩,炉体的两侧设有散热结构,炉体的下方设有操控面板,操控面板与炉体内部的控制模块连接,控制模块与蓄电池连接,蓄电池与电源线连接,控制模块上依次设有温度显示屏、开关和电量显示屏。它结构简单,操作方便,便于搬运,并降低了对人体的辐射,提高了使用的安全性,它可实时观察电量的多少,避免了因电量不足而导致饭菜不熟的现象。

Figure 201320155047

An energy-saving and environment-friendly induction cooker, which relates to the field of energy-saving and environment-friendly electrical appliances, a bracket is arranged above a furnace body, and a circle of reflective cover is arranged on the outside of the bracket, heat dissipation structures are arranged on both sides of the furnace body, and a control panel is arranged under the furnace body , the control panel is connected to the control module inside the furnace body, the control module is connected to the battery, the battery is connected to the power line, and the control module is provided with a temperature display, a switch and a power display in sequence. It is simple in structure, easy to operate, easy to carry, reduces the radiation to the human body, and improves the safety of use. It can observe the power level in real time and avoid the phenomenon of undercooked food due to insufficient power.

Figure 201320155047

Description

A kind of energy-conserving and environment-protective electromagnetic oven
Technical field:
The utility model relates to energy saving and environment friendly appliance field, is specifically related to a kind of energy-conserving and environment-protective electromagnetic oven.
Background technology:
Electromagnetic oven has another name called electromagnetic stove, is the product of modern kitchen revolution, and it need not naked light or conduction-type heats and allow heat directly produce in the bottom of a pan, so the thermal efficiency is greatly improved.Be a kind of energy-efficient kitchen utensils, be different from all fire being arranged or do not have fire conduction heating kitchen tools of tradition fully.Electromagnetic oven is the electric cooking apparatus that utilizes electromagnetic inductive heating principle to make, and partly is made up of high-frequency induction heating coil (being magnet exciting coil), RF power conversion equipment, controller and ferromagnetic material the bottom of a pan cooker etc.During use, feed alternating current in the heater coil, just produce an alternating magnetic field around the coil, the magnetic line of force of alternating magnetic field is most of by the metal pan body, produces a large amount of eddy current in the bottom of a pan, thereby produces the required heat of culinary art.In heating process, there is not naked light, so safety, health.
But existing electromagnetic oven mostly is direct insertion, is subjected to the restriction of power line length and electric power; The radiativity of well-known electromagnetic oven is stronger, and is big to the harm of human body.
Along with growth in the living standard, chafing dish is made with electromagnetic oven at home by a lot of families, and when being heated to a certain degree, the boiler face of electromagnetic oven can be very boiling hot, though outer use thermal insulation layer, but be not easy to carrying.
The utility model content:
The purpose of this utility model provides a kind of energy-conserving and environment-protective electromagnetic oven, and it is simple in structure, and is easy to operate, be convenient to carrying, and reduced the radiation to human body, improved the security of using, but what of its Real Time Observation electric weight have avoided causing because electric weight is not enough the not yet done phenomenon of food.
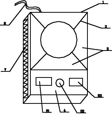
In order to solve the existing problem of background technology, the utility model is by the following technical solutions: it comprises body of heater 1, support 2, reflector 3, control panel 4, control module 5, battery 6, radiator structure 7 and power line 8; Support 2 is arranged on the top of body of heater 1, and the outside of support 2 is provided with a circle reflector 3, the both sides of body of heater 1 are provided with radiator structure 7, the below of body of heater 1 is provided with control panel 4, control panel 4 is connected with the control module 5 of body of heater 1 inside, control module 5 is connected with battery 6, and battery 6 is connected with power line 8, is provided with temperature display 51, switch 52 and electric weight display screen 53 on the control module 5 successively.
Described reflector 3 can play radiation protection, reduces radiation to the injury of human body.
During the utility model operation, pot is placed on the support 2, connects power supply; Under the situation that does not have electricity, can provide electric weight by battery 6, in the process of cooking, can learn electric quantity conditions by electric weight display screen 53, be convenient to make real-time countermeasure.
The utility model is simple in structure, and is easy to operate, is convenient to carrying, and reduced radiation to human body, improved the security of using, but what of its Real Time Observation electric weight have avoided causing because electric weight is not enough the not yet done phenomenon of food.
Description of drawings:
Fig. 1 is structural representation of the present utility model;
Fig. 2 is internal structure schematic diagram of the present utility model.
The specific embodiment:
See figures.1.and.2, this specific embodiment by the following technical solutions: it comprises body of heater 1, support 2, reflector 3, control panel 4, control module 5, battery 6, radiator structure 7 and power line 8; Support 2 is arranged on the top of body of heater 1, and the outside of support 2 is provided with a circle reflector 3, the both sides of body of heater 1 are provided with radiator structure 7, the below of body of heater 1 is provided with control panel 4, control panel 4 is connected with the control module 5 of body of heater 1 inside, control module 5 is connected with battery 6, and battery 6 is connected with power line 8, is provided with temperature display 51, switch 52 and electric weight display screen 53 on the control module 5 successively.
Described reflector 3 can play radiation protection, reduces radiation to the injury of human body.
During the operation of this specific embodiment, pot is placed on the support 2, connects power supply; Under the situation that does not have electricity, can provide electric weight by battery 6, in the process of cooking, can learn electric quantity conditions by electric weight display screen 53, be convenient to make real-time countermeasure.
This specific embodiment is simple in structure, and is easy to operate, is convenient to carrying, and reduced radiation to human body, improved the security of using, but what of its Real Time Observation electric weight have avoided causing because electric weight is not enough the not yet done phenomenon of food.

Claims (1)

1. an energy-conserving and environment-protective electromagnetic oven is characterized in that it comprises body of heater (1), support (2), reflector (3), control panel (4), control module (5), battery (6), radiator structure (7) and power line (8); Support (2) is arranged on the top of body of heater (1), and the outside of support (2) is provided with a circle reflector (3), the both sides of body of heater (1) are provided with radiator structure (7), the below of body of heater (1) is provided with control panel (4), control panel (4) is connected with the control module (5) of body of heater (1) inside, control module (5) is connected with battery (6), and battery (6) is connected with power line (8), is provided with temperature display (51), switch (52) and electric weight display screen (53) on the control module (5) successively.
CN201320155047.6U 2013-03-30 2013-03-30 Energy-saving environment-friendly electromagnetic oven Expired - Fee Related CN203163011U (en)

Priority Applications (1)

Application Number Priority Date Filing Date Title
CN201320155047.6U CN203163011U (en) 2013-03-30 2013-03-30 Energy-saving environment-friendly electromagnetic oven

Applications Claiming Priority (1)

Application Number Priority Date Filing Date Title
CN201320155047.6U CN203163011U (en) 2013-03-30 2013-03-30 Energy-saving environment-friendly electromagnetic oven

Publications (1)

Publication Number Publication Date
CN203163011U true CN203163011U (en) 2013-08-28

Family

ID=49024192

Family Applications (1)

Application Number Title Priority Date Filing Date
CN201320155047.6U Expired - Fee Related CN203163011U (en) 2013-03-30 2013-03-30 Energy-saving environment-friendly electromagnetic oven

Country Status (1)

Country Link
CN (1) CN203163011U (en)

Cited By (1)

* Cited by examiner, † Cited by third party
Publication number Priority date Publication date Assignee Title
CN104075355A (en) * 2013-03-30 2014-10-01 昆山友进智能建筑工程有限公司 Energy-saving and environment-friendly induction cooker

Cited By (1)

* Cited by examiner, † Cited by third party
Publication number Priority date Publication date Assignee Title
CN104075355A (en) * 2013-03-30 2014-10-01 昆山友进智能建筑工程有限公司 Energy-saving and environment-friendly induction cooker

Similar Documents

Publication Publication Date Title
CN103054458A (en) Split type electric pressure cooker
CN202234770U (en) Electromagnetic seafood steaming cabinet
CN201658229U (en) Ceramic boiler accepting multiple heating ways
CN203088715U (en) Split type electric pressure cooker
CN203163011U (en) Energy-saving environment-friendly electromagnetic oven
CN204611863U (en) A kind of hot pot induction cooker
CN201948782U (en) Soup making and heat insulation pot with pot cover having stirring device
CN102721090A (en) An induction cooktop suitable for ceramic, glass or metal pans
CN202553481U (en) Automatic stir-frying cooking electric stove
CN202524586U (en) Low-power high-energy-efficiency electromagnetic coil panel
CN102042623A (en) Pulse storing and releasing heating furnace
CN201452816U (en) Special plastic saute pan for electromagnetic oven
CN202312815U (en) Electromagnetic rice cooker
CN203442912U (en) Electric ceramic stove
CN201836942U (en) Pulse storage/release heating furnace
CN104075355A (en) Energy-saving and environment-friendly induction cooker
CN202908488U (en) Special electromagnetic rice cooker
CN202146198U (en) Novel electromagnetic pot
CN203354355U (en) Stainless iron composite magnetic conductive sheet
CN203657010U (en) Household electric furnace
CN202919971U (en) Tin pot heating device
CN203517921U (en) Induction cooker
CN202757162U (en) Touch type induction cooker
CN208365595U (en) Neodymium iron boron magnetic body for electromagnetic oven
CN202908493U (en) A cooking and stirring nutritional food conditioning machine

Legal Events

Date Code Title Description
C14 Grant of patent or utility model
GR01 Patent grant
C17 Cessation of patent right
CF01 Termination of patent right due to non-payment of annual fee

Granted publication date: 20130828

Termination date: 20140330