CN203150323U - 自动缠胶布机 - Google Patents

自动缠胶布机 Download PDF

Info

Publication number
CN203150323U
CN203150323U CN 201320147903 CN201320147903U CN203150323U CN 203150323 U CN203150323 U CN 203150323U CN 201320147903 CN201320147903 CN 201320147903 CN 201320147903 U CN201320147903 U CN 201320147903U CN 203150323 U CN203150323 U CN 203150323U
Authority
CN
China
Prior art keywords
winding
slide block
adhesive plaster
automatic apparatus
screw mandrel
Prior art date
Legal status (The legal status is an assumption and is not a legal conclusion. Google has not performed a legal analysis and makes no representation as to the accuracy of the status listed.)
Expired - Fee Related
Application number
CN 201320147903
Other languages
English (en)
Inventor
尚立明
Current Assignee (The listed assignees may be inaccurate. Google has not performed a legal analysis and makes no representation or warranty as to the accuracy of the list.)
XIANGYAO ELECTRONIC (SHENZHEN) CO Ltd
Original Assignee
XIANGYAO ELECTRONIC (SHENZHEN) CO Ltd
Priority date (The priority date is an assumption and is not a legal conclusion. Google has not performed a legal analysis and makes no representation as to the accuracy of the date listed.)
Filing date
Publication date
Application filed by XIANGYAO ELECTRONIC (SHENZHEN) CO Ltd filed Critical XIANGYAO ELECTRONIC (SHENZHEN) CO Ltd
Priority to CN 201320147903 priority Critical patent/CN203150323U/zh
Application granted granted Critical
Publication of CN203150323U publication Critical patent/CN203150323U/zh
Anticipated expiration legal-status Critical
Expired - Fee Related legal-status Critical Current

Links

Images

Landscapes

  • Manufacture Of Motors, Generators (AREA)

Abstract

一种自动缠胶布机,包括设置在底座上的水平直线驱动装置,设置有电机和缠绕机构的滑块,及设置在滑块两侧的夹紧机构,一线孔贯穿缠绕机构和滑块,水平直线驱动装置驱动滑块在夹紧机构之间来回移动,电机驱动缠绕机构以线孔为中心旋转运动,待缠绕线缆穿过线孔固定在夹紧机构上。本实用新型具有结构简单,方便实用,工作效率高和无需操作人员协助操作就可以将胶布缠绕在线缆上的优点。

Description

自动缠胶布机
技术领域
本实用新型涉及一种结构简单、方便实用、无需操作人员协助操作的自动缠胶布机。
背景技术
当需要在导线上缠上用于静电屏蔽的胶布时,经常需要操作员手工将胶布缠绕在导线上,这种方法效率低,劳动强度大,很浪费时间,受人为因素影响大,胶布贴的不均匀,影响美观,产品品质差,也不适合工厂专业化的大规模生产。
为了解决由于人工操作带来的不便,人们发明了一种缠胶布机,如中国专利文献号为CN2926148Y,这是一种同步轴承结构及使用该同步轴承结构的半自动缠绕胶布机,同步轴承结构,包括一轴承、套设于轴承之上的一套筒,轴承为一多角轴承,套筒具有多内角,与轴承耦合设置,轴承的一端固定连一具有圆型挂夹的夹具,套筒外部套设一齿轮。半自动缠绕胶布机具有一工作平台,以及从该工作平台的两端分贝上延伸出的支撑座,同步轴承机构分别设置在支撑座上,其中之一同步轴承结构通过一皮带将以变速电机和一传动杆连接,另一同步轴承机构通过皮带与传动杆连接。
 这种方法与手工操作相比,在生产效率和产品品质上有了很到的提高,但是这种方法存在一个问题,需要操作人员协助操作,从而达到缠绕的目的,生产不方便。因此,有必要开发设计一种不需要操作人员用手或其他东西拿着胶布,就自动完成对诸如导线或其他线缆外部再缠绕一层胶布缠胶布机,以提高工作效率。
实用新型内容
本实用新型的目的是针对上述问题,向社会提供一种无需操作人员协助操作的自动缠胶布机。
本实用新型的技术方案是:设计一种自动缠胶布机,包括设置在底座上的水平直线驱动装置,设置有电机和缠绕机构的滑块,及设置在所述滑块两侧的夹紧机构,一线孔贯穿所述缠绕机构和所述滑块,所述水平直线驱动装置驱动所述滑块在所述夹紧机构之间来回移动,所述电机驱动所述缠绕机构以所述线孔为中心旋转运动,待缠绕线缆穿过所述线孔固定在所述夹紧机构上。
作为对本实用新型的改进,所述缠绕机构包括一个以上的缠绕臂,所述缠绕臂上设置有胶布固定架,所述缠绕臂与待缠绕线缆成钝角。
作为对本实用新型的改进,所述夹紧机构包括定位板和夹具,所述夹具设置在所述定位板上,所述定位板设置在底座支架上。 
作为对本实用新型的改进,还包括两端设置在所述底座支架上的导柱,所述滑块设置在导柱套上。
作为对本实用新型的改进,还包括两端设置在所述底座支架上的丝杆,所述滑块在所述丝杆上来回移动,在所述滑块两侧的所述丝杆上设置有传感器。
作为对本实用新型的改进,所述丝杆可以用光杆代替。
作为对本实用新型的改进,所述水平直线驱动装置用气缸、液压缸或电功缸代替。
本实用新型具有结构简单,方便实用,工作效率高和无需操作人员协助操作就可以将胶布缠绕在线缆上的优点。
附图说明
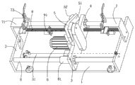
图1是本实用新型一种实施例的立体结构示意图。
其中:1.底座;2.底座支架;3.气缸;31.气缸导杆;4.滑块;41.线孔;5.缠绕机构;51.缠绕臂;52.胶布固定架;6.电机;7.夹紧机构;71.定位板;72.夹具;8.导柱;81.导柱套;9.丝杆;91.传感器。
具体实施方式
请参见图1,图1所揭示的是一种自动缠胶布机,包括设置在底座1上的气缸3,设置有电机6和缠绕机构5的滑块4,及设置在所述滑块4两侧的夹紧机构7,一线孔41贯穿所述缠绕机构5和所述滑块4,所述滑块设置在所述气缸3上,所述气缸3在气缸导杆31上来回移动(所述气缸3驱动所述滑块4在所述夹紧机构7之间来回移动),所述电机6驱动所述缠绕机构5以所述线孔41为中心旋转运动,待缠绕线缆穿过所述线孔41固定在所述夹紧机构7上。
本实施例中,所述缠绕机构5包括两个对称分布的缠绕臂51,所述缠绕臂51上设置有胶布固定架52,所述缠绕臂51与待缠绕线缆成钝角。所述缠绕臂51的数量可以是一个或多个。所述夹紧机构7包括定位板71和夹具72,所述夹具72设置在所述定位板71上,所述定位板71设置在底座支架2上。导柱8的两端设置在所述底座支架上2,所述滑块4设置在导柱套81上。
本实施例中,还包括两端设置在所述底座支架2上的丝杆9,所述滑块4在所述丝杆9上来回移动,在所述滑块4两侧的所述丝杆9上设置有传感器91。所述丝杆9可以用光杆代替。所述气缸3可以用液压缸或电功缸代替。
本实施例中,待缠绕线缆穿过所述线孔41,通过所述夹具72被固定在所述定位板71上,在所述胶布固定架52上固定胶布卷,将胶布卷上的胶布的一端缠绕在待缠绕线缆上,然后所述气缸3驱动所述滑块4移动,同时所述电机6驱动所述缠绕机构5转动。当所述滑块4接触到所述传感器91时,所述传感器91将信号发送给控制箱(此图略去),所述控制箱就会发送控制信号给所述电机6和所述气缸3,所述电机6和所述气缸3就会停止工作,操作人员用剪刀将胶布在没有缠绕的地方剪断,然后从所述夹具72上取下缠绕好的线缆。操作所述控制箱的控制开关,所述气缸3驱动所述滑块4回到开始缠绕的位置。
本实用新型具有结构简单,方便实用,工作效率高和无需操作人员协助操作就可以将胶布缠绕在线缆上的优点。

Claims (7)

1.一种自动缠胶布机,其特征在于,包括设置在底座上的水平直线驱动装置,设置有电机和缠绕机构的滑块,及设置在所述滑块两侧的夹紧机构,一线孔贯穿所述缠绕机构和所述滑块,所述水平直线驱动装置驱动所述滑块在所述夹紧机构之间来回移动,所述电机驱动所述缠绕机构以所述线孔为中心旋转运动,待缠绕线缆穿过所述线孔固定在所述夹紧机构上。
2.如权利要求1所述的自动缠胶布机,其特征在于:所述缠绕机构包括一个以上的缠绕臂,所述缠绕臂上设置有胶布固定架,所述缠绕臂与待缠绕线缆成钝角。
3.如权利要求1或2所述的自动缠胶布机,其特征在于:所述夹紧机构包括定位板和夹具,所述夹具设置在所述定位板上,所述定位板设置在底座支架上。
4.如权利要求1或2所述的自动缠胶布机,其特征在于:还包括两端设置在所述底座支架上的导柱,所述滑块设置在导柱套上。
5.如权利要求1或2所述的自动缠胶布机,其特征在于:还包括两端设置在所述底座支架上的丝杆,所述滑块在所述丝杆上来回移动,在所述滑块两侧的所述丝杆上设置有传感器。
6.如权利要求5所述的自动缠胶布机,其特征在于:所述丝杆可以用光杆代替。
7.如权利要求1或2所述的自动缠胶布机,其特征在于:所述水平直线驱动装置用气缸、液压缸或电功缸代替。
CN 201320147903 2013-03-28 2013-03-28 自动缠胶布机 Expired - Fee Related CN203150323U (zh)

Priority Applications (1)

Application Number Priority Date Filing Date Title
CN 201320147903 CN203150323U (zh) 2013-03-28 2013-03-28 自动缠胶布机

Applications Claiming Priority (1)

Application Number Priority Date Filing Date Title
CN 201320147903 CN203150323U (zh) 2013-03-28 2013-03-28 自动缠胶布机

Publications (1)

Publication Number Publication Date
CN203150323U true CN203150323U (zh) 2013-08-21

Family

ID=48977832

Family Applications (1)

Application Number Title Priority Date Filing Date
CN 201320147903 Expired - Fee Related CN203150323U (zh) 2013-03-28 2013-03-28 自动缠胶布机

Country Status (1)

Country Link
CN (1) CN203150323U (zh)

Cited By (2)

* Cited by examiner, † Cited by third party
Publication number Priority date Publication date Assignee Title
CN107196179A (zh) * 2017-06-02 2017-09-22 芜湖博康机电有限公司 一种汽车线束流水缠胶带工艺
CN107293926A (zh) * 2017-06-02 2017-10-24 芜湖博康机电有限公司 一种改进式缠胶带工作台

Cited By (4)

* Cited by examiner, † Cited by third party
Publication number Priority date Publication date Assignee Title
CN107196179A (zh) * 2017-06-02 2017-09-22 芜湖博康机电有限公司 一种汽车线束流水缠胶带工艺
CN107293926A (zh) * 2017-06-02 2017-10-24 芜湖博康机电有限公司 一种改进式缠胶带工作台
CN107196179B (zh) * 2017-06-02 2019-02-01 芜湖博康机电有限公司 一种汽车线束流水缠胶带工艺
CN107293926B (zh) * 2017-06-02 2019-04-26 芜湖博康机电有限公司 一种改进式缠胶带工作台

Similar Documents

Publication Publication Date Title
CN204802700U (zh) 一种自动放卷换卷装置
CN203294969U (zh) 缠绕胶带用自动缠绕机
CN211733412U (zh) 端轴式线缆排线架
CN202622453U (zh) 切割机同步送料与测量装置
CN203150323U (zh) 自动缠胶布机
CN207258897U (zh) 一种绕线装置
CN106486285A (zh) 一种磁环绕线机的全自动挂线装置
CN202480368U (zh) 一种线材的胶带缠绕装置
CN204304733U (zh) 绕线机
CN204310561U (zh) 一种胶条卷绕机
CN204304734U (zh) 绕线机
CN109110568A (zh) 一种绕线机
CN208667478U (zh) 一种机械用玻璃矩形切割设备
CN204953565U (zh) 倒立式收线机
CN212863538U (zh) 一种用于电线电缆生产的卷线设备
CN208150664U (zh) 电缆复缠装置
CN204953564U (zh) 自动倒立式收线机
CN201357274Y (zh) 一种柱形钢筋笼自动缠绕焊接线
CN115490088A (zh) 一种线材定长卷收装置
CN103112758B (zh) 成品电缆收卷装置
CN208802688U (zh) 一种绕线机
CN104444498A (zh) 一种胶条卷绕机
CN109110567A (zh) 一种方便使用的电缆用缠绕装置
CN209242391U (zh) 杆体绕线机构
CN203845574U (zh) 光纤绕圈机的绕线机构

Legal Events

Date Code Title Description
C14 Grant of patent or utility model
GR01 Patent grant
CF01 Termination of patent right due to non-payment of annual fee

Granted publication date: 20130821

CF01 Termination of patent right due to non-payment of annual fee