CN203149040U - Remote water capacitance detector - Google Patents
Remote water capacitance detector Download PDFInfo
- Publication number
- CN203149040U CN203149040U CN 201320246311 CN201320246311U CN203149040U CN 203149040 U CN203149040 U CN 203149040U CN 201320246311 CN201320246311 CN 201320246311 CN 201320246311 U CN201320246311 U CN 201320246311U CN 203149040 U CN203149040 U CN 203149040U
- Authority
- CN
- China
- Prior art keywords
- control chip
- detection
- transceiver module
- battery
- wireless transceiver
- Prior art date
- Legal status (The legal status is an assumption and is not a legal conclusion. Google has not performed a legal analysis and makes no representation as to the accuracy of the status listed.)
- Expired - Fee Related
Links
- XLYOFNOQVPJJNP-UHFFFAOYSA-N water Substances O XLYOFNOQVPJJNP-UHFFFAOYSA-N 0.000 title claims abstract description 24
- 238000001514 detection method Methods 0.000 claims abstract description 51
- 238000000034 method Methods 0.000 abstract description 4
- 238000009434 installation Methods 0.000 abstract 1
- 238000005259 measurement Methods 0.000 description 6
- 238000007405 data analysis Methods 0.000 description 3
- 239000000853 adhesive Substances 0.000 description 1
- 230000001070 adhesive effect Effects 0.000 description 1
- 230000005540 biological transmission Effects 0.000 description 1
- 238000010586 diagram Methods 0.000 description 1
Images
Landscapes
- Investigating Or Analyzing Materials By The Use Of Electric Means (AREA)
- Arrangements For Transmission Of Measured Signals (AREA)
Abstract
本实用新型公开了一种远程水电容检测装置,包括检测套筒,检测套筒内设有一密封容腔和一前后贯通的流水空腔,密封容腔内密封设有电极、电流检测电路、控制芯片、电池、以及无线收发模块,电极通过电流检测电路与控制芯片相连接,控制芯片通过无线收发模块与一计算机相连接,电池与电流检测电路相连接;电极固定在检测套筒的内壁上。本实用新型涉及的远程水电容检测装置采用无线通讯方式,可以任意安装、放置在任何位置,其在任何位置都可以直接将检测到的电容值通过无线收发模块传输到远程计算机上,计算机可以实时存储同轴电缆的电容值,并且无需独立安装显示界面,直接就可以通过远端计算机来显示采集的电容值。
The utility model discloses a remote water capacitance detection device, which comprises a detection sleeve. The detection sleeve is provided with a sealed cavity and a flowing water cavity through the front and back. The sealed cavity is sealed with an electrode, a current detection circuit, a control Chip, battery, and wireless transceiver module, the electrodes are connected to the control chip through the current detection circuit, the control chip is connected to a computer through the wireless transceiver module, and the battery is connected to the current detection circuit; the electrodes are fixed on the inner wall of the detection sleeve. The remote water capacitance detection device involved in the utility model adopts a wireless communication method, and can be installed and placed at any position. It can directly transmit the detected capacitance value to a remote computer through a wireless transceiver module at any position, and the computer can be real-time. The capacitance value of the coaxial cable is stored, and the collected capacitance value can be displayed directly through a remote computer without an independent installation of a display interface.
Description
技术领域technical field
本实用新型涉及检测领域,尤其涉及一种用于在线检测发泡同轴电缆电容值的远程水电容检测装置。The utility model relates to the detection field, in particular to a remote water capacitance detection device for on-line detection of the capacitance value of a foamed coaxial cable.
背景技术Background technique
目前发泡同轴电缆在线的水电容检测仪器主要是靠有线数据传输方式连接,数据通过通讯电缆传输到显示装置,因此就存在有线连接安装复杂、成本高、连接用的通讯线缆容易受到周围电机设备的干扰等缺点。同时目前的水电容检测仪器主要靠外部供电,由于外部电源电压的存在波动,对电容测量结果的正确性会存在比较大的影响。At present, the online water capacitance detection instrument of the foamed coaxial cable is mainly connected by wired data transmission, and the data is transmitted to the display device through the communication cable. Disadvantages such as interference of electrical equipment. At the same time, the current water capacitance detection instrument mainly relies on external power supply. Due to the fluctuation of the external power supply voltage, it will have a relatively large impact on the accuracy of the capacitance measurement results.
实用新型内容Utility model content
本实用新型所要解决的技术问题是提供一种便于检测且检测精度高的远程水电容检测装置。为解决上述技术问题,本实用新型采用以下技术方案:The technical problem to be solved by the utility model is to provide a remote water capacitance detection device which is convenient for detection and has high detection accuracy. In order to solve the above technical problems, the utility model adopts the following technical solutions:
一种远程水电容检测装置,包括检测套筒,所述检测套筒内设有一密封容腔和一前后贯通的流水空腔,所述密封容腔内密封设有两个电极、一电流检测电路、一控制芯片、一电池、以及一无线收发模块,所述电极通过电流检测电路与控制芯片相连接,所述控制芯片通过无线收发模块与一计算机相连接,所述电池与电流检测电路相连接;所述电极固定在检测套筒的内壁上。A remote water capacitance detection device, including a detection sleeve, the detection sleeve is provided with a sealed cavity and a water flow cavity through the front and back, the sealed cavity is provided with two electrodes, a current detection circuit , a control chip, a battery, and a wireless transceiver module, the electrodes are connected to the control chip through a current detection circuit, the control chip is connected to a computer through a wireless transceiver module, and the battery is connected to the current detection circuit ; The electrodes are fixed on the inner wall of the detection sleeve.
进一步地,所述检测套筒外壁上设有一USB充电接头,所述控制芯片、电池均与USB充电接头连接。Further, a USB charging connector is provided on the outer wall of the detection sleeve, and the control chip and the battery are connected to the USB charging connector.
优选地,所述电极与检测套筒为粘贴连接。Preferably, the electrodes are adhesively connected to the detection sleeve.
本实用新型涉及的远程水电容检测装置采用无线通讯方式,可以任意安装、放置在任何位置,其在任何位置都可以直接将检测到的电容值通过无线收发模块传输到远程计算机上,计算机可以实时存储同轴电缆的电容值,并且无需独立安装显示界面,直接就可以通过远端计算机来显示采集的电容值,并可通过计算机来进行后续的数据分析。同时检测电路采用电池供电,避免了其他外部直流电源电压波动造成的测量结果误差,使测量结果更加准确。The remote water capacitance detection device involved in the utility model adopts a wireless communication method, and can be installed and placed at any position. It can directly transmit the detected capacitance value to a remote computer through a wireless transceiver module at any position, and the computer can be real-time. The capacitance value of the coaxial cable is stored, and there is no need to install a display interface independently, and the collected capacitance value can be displayed directly through the remote computer, and subsequent data analysis can be performed through the computer. At the same time, the detection circuit is powered by a battery, which avoids the error of the measurement result caused by the voltage fluctuation of other external DC power sources, and makes the measurement result more accurate.
附图说明Description of drawings
图1为本实用新型的结构示意图。Fig. 1 is the structural representation of the utility model.
图2为本实用新型的工作原理图。Fig. 2 is a working principle diagram of the utility model.
具体实施方式Detailed ways
以下结合附图进一步说明本实用新型的实施例。Further illustrate the embodiment of the present utility model below in conjunction with accompanying drawing.
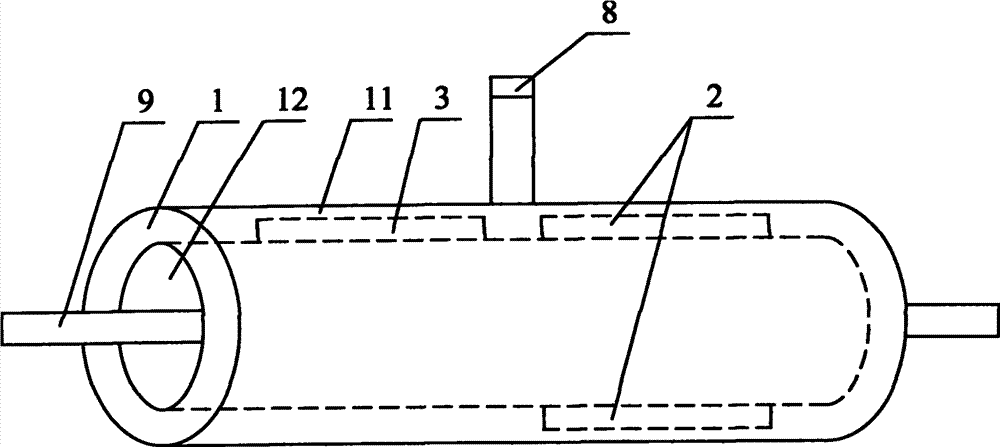
见图1和图2,本实用新型涉及的一种远程水电容检测装置,包括检测套筒1,所述检测套筒1内设有一密封容腔11和一前后贯通的流水空腔12,所述密封容腔11内密封设有两个电极2、一电流检测电路3、一控制芯片4、一电池5、以及一无线收发模块6,所述电极2通过电流检测电路3与控制芯片4相连接,所述控制芯片4通过无线收发模块6与一计算机7相连接,所述电池5与电流检测电路3相连接;所述电极2固定在检测套筒1的内壁上。See Fig. 1 and Fig. 2, a kind of remote water capacitance detection device that the utility model relates to, comprises
两个电极2之间形成电容电极,被测的同轴电缆9放置在流水空腔12中,流水空腔12中有水介质流通。测量时,被测的同轴电缆9通过流水空腔12,此时,两个电极2之间就从只有水介质变成了有水和电缆混合的介质,这样两个电极2之间的电容也就发生了变化,因此电流检测电路3就能够检测出电容变化而产生的电流变化,从而通过变化的电流值换算出电缆的电容值,并将电容值传输给控制芯片4;所述控制芯片4再将电缆的电容值通过无线收发模块6发送到远端计算机7上进行数据分析和显示。本实施例中,所述无线收发模块6发送的是标准的ISM频段868MHZ无线信号,该无线信号传感距离远,不易受干扰,信号对障碍物穿透能力强。A capacitive electrode is formed between the two
进一步地,所述检测套筒外壁上设有一USB充电接头8,所述控制芯片4、电池5均与USB充电接头8连接,以便于对电流检测电路3的电池5进行充电、以及定期对控制芯片4进行程序下载更新。Further, a
优选地,所述电极2与检测套筒1为粘贴连接。Preferably, the
本实用新型涉及的远程水电容检测装置采用无线通讯方式,可以任意安装、放置在任何位置,其在任何位置都可以直接将检测到的电容值通过无线收发模块传输到远程计算机上,计算机可以实时存储同轴电缆的电容值,并且无需独立安装显示界面,直接就可以通过远端计算机来显示采集的电容值,并可通过计算机来进行后续的数据分析。同时检测电路采用电池供电,避免了其他外部直流电源电压波动造成的测量结果误差,使测量结果更加准确。The remote water capacitance detection device involved in the utility model adopts a wireless communication method, and can be installed and placed at any position. It can directly transmit the detected capacitance value to a remote computer through a wireless transceiver module at any position, and the computer can be real-time. The capacitance value of the coaxial cable is stored, and there is no need to install a display interface independently, and the collected capacitance value can be displayed directly through the remote computer, and subsequent data analysis can be performed through the computer. At the same time, the detection circuit is powered by a battery, which avoids the error of the measurement result caused by the voltage fluctuation of other external DC power sources, and makes the measurement result more accurate.
Claims (3)
Priority Applications (1)
| Application Number | Priority Date | Filing Date | Title |
|---|---|---|---|
| CN 201320246311 CN203149040U (en) | 2013-03-29 | 2013-03-29 | Remote water capacitance detector |
Applications Claiming Priority (1)
| Application Number | Priority Date | Filing Date | Title |
|---|---|---|---|
| CN 201320246311 CN203149040U (en) | 2013-03-29 | 2013-03-29 | Remote water capacitance detector |
Publications (1)
| Publication Number | Publication Date |
|---|---|
| CN203149040U true CN203149040U (en) | 2013-08-21 |
Family
ID=48976556
Family Applications (1)
| Application Number | Title | Priority Date | Filing Date |
|---|---|---|---|
| CN 201320246311 Expired - Fee Related CN203149040U (en) | 2013-03-29 | 2013-03-29 | Remote water capacitance detector |
Country Status (1)
| Country | Link |
|---|---|
| CN (1) | CN203149040U (en) |
Cited By (2)
| Publication number | Priority date | Publication date | Assignee | Title |
|---|---|---|---|---|
| CN103513115A (en) * | 2013-09-27 | 2014-01-15 | 马钢(集团)控股有限公司 | Online measuring device and method of charging capacitor of factory distributing cable |
| CN104391016A (en) * | 2014-11-20 | 2015-03-04 | 上海理工大学 | Device and method for detecting defects of insulating layer of single insulating wire of cable |
-
2013
- 2013-03-29 CN CN 201320246311 patent/CN203149040U/en not_active Expired - Fee Related
Cited By (3)
| Publication number | Priority date | Publication date | Assignee | Title |
|---|---|---|---|---|
| CN103513115A (en) * | 2013-09-27 | 2014-01-15 | 马钢(集团)控股有限公司 | Online measuring device and method of charging capacitor of factory distributing cable |
| CN103513115B (en) * | 2013-09-27 | 2016-08-17 | 马钢(集团)控股有限公司 | A kind of factory distribution cable charging capacitor on-line measurement device and method |
| CN104391016A (en) * | 2014-11-20 | 2015-03-04 | 上海理工大学 | Device and method for detecting defects of insulating layer of single insulating wire of cable |
Similar Documents
| Publication | Publication Date | Title |
|---|---|---|
| CN104678229B (en) | A kind of grounding net of transformer substation corrosion monitoring system | |
| CN102072925A (en) | Stroma moisture and conductivity in situ detector and method for determining salinity | |
| CN202693819U (en) | Thunder and lightning early warning system | |
| CN203149040U (en) | Remote water capacitance detector | |
| CN204140132U (en) | Colliery downhole equipment spot check instrument | |
| CN202648704U (en) | Wireless temperature and humidity monitor | |
| CN103630581B (en) | A kind of novel water quality online conductivity detector | |
| CN203365043U (en) | Osmometer | |
| CN104534997A (en) | Sag monitoring device of power transmission circuit | |
| CN205643448U (en) | Intelligent electric power safety inspection device | |
| CN203550911U (en) | Conductor sag distance measuring equipment for high-voltage transmission line | |
| CN201335718Y (en) | Bubble-type water gauge | |
| CN102735817B (en) | A kind of soil moisture measuring instrument | |
| CN203965526U (en) | A kind of power frequency electromagnetic field pick-up unit of ultra-high-tension power transmission line | |
| CN104737638A (en) | Garden shovel capable of measuring humidity | |
| CN205593556U (en) | Novel high tension cable connects on -line monitoring device | |
| CN104569646A (en) | Power equipment monitoring device | |
| CN204043705U (en) | A kind of portable warm Humidity Detection equipment | |
| CN205176110U (en) | Intelligent electric power meter | |
| CN210534228U (en) | Portable voltage monitoring wireless log recording device | |
| CN205003501U (en) | Consumption measuring device | |
| CN204788568U (en) | Water level measurement device | |
| CN206096264U (en) | High accuracy non -contact resistance detector | |
| CN204924493U (en) | A long -range temperature measurement system for fire control based on thing networking | |
| CN206695826U (en) | Temperature and Moisture Measuring Device |
Legal Events
| Date | Code | Title | Description |
|---|---|---|---|
| C14 | Grant of patent or utility model | ||
| GR01 | Patent grant | ||
| C17 | Cessation of patent right | ||
| CF01 | Termination of patent right due to non-payment of annual fee |
Granted publication date: 20130821 Termination date: 20140329 |
