CN203133354U - S-shaped fixed part used for butterfly-shaped guiding optical cable - Google Patents

S-shaped fixed part used for butterfly-shaped guiding optical cable Download PDF

Info

Publication number
CN203133354U
CN203133354U CN 201320156701 CN201320156701U CN203133354U CN 203133354 U CN203133354 U CN 203133354U CN 201320156701 CN201320156701 CN 201320156701 CN 201320156701 U CN201320156701 U CN 201320156701U CN 203133354 U CN203133354 U CN 203133354U
Authority
CN
China
Prior art keywords
shaped
holder
butterfly
shackle
optical cable
Prior art date
Legal status (The legal status is an assumption and is not a legal conclusion. Google has not performed a legal analysis and makes no representation as to the accuracy of the status listed.)
Expired - Fee Related
Application number
CN 201320156701
Other languages
Chinese (zh)
Inventor
蔡晓华
Current Assignee (The listed assignees may be inaccurate. Google has not performed a legal analysis and makes no representation or warranty as to the accuracy of the list.)
SUZHOU ZHIXUN ELECTRONIC TECHNOLOGY Co Ltd
Original Assignee
SUZHOU ZHIXUN ELECTRONIC TECHNOLOGY Co Ltd
Priority date (The priority date is an assumption and is not a legal conclusion. Google has not performed a legal analysis and makes no representation as to the accuracy of the date listed.)
Filing date
Publication date
Application filed by SUZHOU ZHIXUN ELECTRONIC TECHNOLOGY Co Ltd filed Critical SUZHOU ZHIXUN ELECTRONIC TECHNOLOGY Co Ltd
Priority to CN 201320156701 priority Critical patent/CN203133354U/en
Application granted granted Critical
Publication of CN203133354U publication Critical patent/CN203133354U/en
Anticipated expiration legal-status Critical
Expired - Fee Related legal-status Critical Current

Links

Images

Landscapes

  • Suspension Of Electric Lines Or Cables (AREA)

Abstract

The utility model discloses an S-shaped fixed part used for a butterfly-shaped guiding optical cable comprising a shackle and a fixed seat. One end of the shackle is connected with the fixed seat, and a middle part of the fixed seat is provided with a coiling circular truncated cone. A left end part of the fixed seat is provided with a first H-shaped clamping groove, and a right end part of the fixed seat is provided with a second H-shaped clamping groove. A right side of the first H-shaped clamping groove is provided with a wedge-shaped bench. By adopting the above mentioned technical scheme, the S-shaped fixed part can be adapted to the external environment over the long term, the service lifetime is long, the structure is simple, and the installation is convenient.

Description

The S type fixture that is used for the butterfly leading in cable
Technical field
The utility model relates to the electronic communication technology field, particularly relates to a kind of S type fixture for the butterfly leading in cable.
Background technology
In the prior art, when optical network unit is installed in household user or enterprise customer and locates, Fiber to the home for built on stilts wire laying mode for the fixed form of its butterfly leading in cable, generally divide box to introduce the self-bearing type butterfly optical cable by near the line bar dwelling house or exterior wall glazing, register one's residence by the pole line fly line with along approach such as the solid layings of wall nail.The built on stilts fixture of laying is not only wanted flexibly and rationality, but also be subjected to the big factor of ectocine will consider to use the time, the flexible phenomenon of optical cable, the wind pendulum that produce as the temperature thermal cycle under at physical environment influence the strain of optical cable, and how to keep carrying the messenger wire dependability of laying tension force, construction technologies such as the safe curvature when guaranteeing fiber cable laying.
Summary of the invention
The technical matters that the utility model mainly solves provides a kind of S type fixture for the butterfly leading in cable, and is simple in structure, easy for installation, can be adapted to external environment condition, long service life for a long time.
For solving the problems of the technologies described above, the technical scheme that the utility model adopts is: a kind of S type fixture for the butterfly leading in cable is provided, comprise: shackle and holder, one end of described shackle is connected with holder, the middle part of described holder is provided with a coiling round platform, the left part of described holder is provided with a H type draw-in groove, and the right part of described holder is provided with the 2nd H type draw-in groove, and the right side of a described H type draw-in groove is provided with a wedge shape platform.
In preferred embodiment of the utility model, for guaranteeing that self-bearing type butterfly optical cable messenger wire pitch of the laps on holder is stable tension force is arranged, connect by a cylinder between described coiling round platform and the holder, the diameter of described cylinder is less than the diameter of round platform.
In preferred embodiment of the utility model, be connected firmly for cooperating the outer ironware drag hook of body of wall and holder, described shackle is a circular ring body, the material of described shackle is stainless steel wire.
The beneficial effects of the utility model are: the utility model adopts coiling path, many curves highway section that self-bearing type butterfly optical cable messenger wire is fixed, the messenger wire dependability that keeps carrying to lay tension force, guarantee the safe curvature when the butterfly leading in cable lays, wiring rationally, and is easy for installation.
Description of drawings
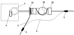
Fig. 1 is the perspective view that the utility model is used for S type fixture one preferred embodiment of butterfly leading in cable;
Fig. 2 is the scheme of installation that the utility model is used for the S type fixture of butterfly leading in cable.
The mark of each parts is as follows in the accompanying drawing: 1, shackle; 2, holder; 3, self-bearing type butterfly optical cable messenger wire; 4, butterfly leading in cable; 5, insulating tape; 6, ironware drag hook; 20, coiling round platform; 21, a H type draw-in groove; 22, the 2nd H type draw-in groove; 23, wedge shape platform; 24, cylinder.
Embodiment
Below in conjunction with accompanying drawing preferred embodiment of the present utility model is described in detail, thereby so that advantage of the present utility model and feature can be easier to be it will be appreciated by those skilled in the art that protection domain of the present utility model is made more explicit defining.
See also Fig. 1, the utility model embodiment comprises: a kind of S type fixture for the butterfly leading in cable, comprise: shackle 1 and holder 2, one end of shackle 1 is connected with holder 2, the middle part of holder 2 is provided with a coiling round platform 20, the left part of holder 2 is provided with a H type draw-in groove 21, and the right side that the right part of holder 2 is provided with the 2nd H type draw-in groove 22, the one H type draw-in grooves 21 is provided with a wedge shape platform 23.
Furtherly, connect by a cylinder 24 between described coiling round platform 20 and the holder 2, the diameter of cylinder 24 is less than the diameter of coiling round platform 20, and shackle 1 is a circular ring body, and the material of shackle 1 is stainless steel wire.
See also Fig. 2, the fixed form that the utility model is used for the S type fixture of butterfly leading in cable is: at first self-bearing type butterfly optical cable messenger wire 3 is fixed on S type fixture, its self-bearing type butterfly optical cable messenger wire 3 carries out the S type at S type fixture and twines, enclose around two by a H type draw-in groove 21 earlier, and then walk around the coiling round platform 20, then by the 2nd H type draw-in groove 22, self-bearing type butterfly optical cable messenger wire 3 is behind pitch of the laps on the S type fixture, butterfly leading in cable 4 is wrapped up with insulating tape 5 with the two ends of self-bearing type butterfly optical cable messenger wire 3, at last shackle 1 is hung on the outer ironware drag hook 6 of body of wall, finish the built on stilts wiring of butterfly leading in cable 4.
The above only is embodiment of the present utility model; be not so limit claim of the present utility model; every equivalent structure or equivalent flow process conversion that utilizes the utility model instructions and accompanying drawing content to do; or directly or indirectly be used in other relevant technical fields, all in like manner be included in the scope of patent protection of the present utility model.

Claims (3)

1. S type fixture that is used for the butterfly leading in cable, it is characterized in that, comprise: shackle and holder, one end of described shackle is connected with holder, the middle part of described holder is provided with a coiling round platform, the left part of described holder is provided with a H type draw-in groove, and the right part of described holder is provided with the 2nd H type draw-in groove, and the right side of a described H type draw-in groove is provided with a wedge shape platform.
2. the S type fixture for the butterfly leading in cable according to claim 1 is characterized in that: connect by a cylinder between described coiling round platform and the holder, the diameter of described cylinder is less than the diameter of round platform.
3. the S type fixture for the butterfly leading in cable according to claim 1, it is characterized in that: described shackle is a circular ring body, and the material of described shackle is stainless steel wire.
CN 201320156701 2013-04-01 2013-04-01 S-shaped fixed part used for butterfly-shaped guiding optical cable Expired - Fee Related CN203133354U (en)

Priority Applications (1)

Application Number Priority Date Filing Date Title
CN 201320156701 CN203133354U (en) 2013-04-01 2013-04-01 S-shaped fixed part used for butterfly-shaped guiding optical cable

Applications Claiming Priority (1)

Application Number Priority Date Filing Date Title
CN 201320156701 CN203133354U (en) 2013-04-01 2013-04-01 S-shaped fixed part used for butterfly-shaped guiding optical cable

Publications (1)

Publication Number Publication Date
CN203133354U true CN203133354U (en) 2013-08-14

Family

ID=48941322

Family Applications (1)

Application Number Title Priority Date Filing Date
CN 201320156701 Expired - Fee Related CN203133354U (en) 2013-04-01 2013-04-01 S-shaped fixed part used for butterfly-shaped guiding optical cable

Country Status (1)

Country Link
CN (1) CN203133354U (en)

Cited By (1)

* Cited by examiner, † Cited by third party
Publication number Priority date Publication date Assignee Title
CN104730640A (en) * 2015-02-10 2015-06-24 中国电信集团工会上海市莘闵电信局委员会 Butt joint device and method for self-support skin optical fibers

Cited By (1)

* Cited by examiner, † Cited by third party
Publication number Priority date Publication date Assignee Title
CN104730640A (en) * 2015-02-10 2015-06-24 中国电信集团工会上海市莘闵电信局委员会 Butt joint device and method for self-support skin optical fibers

Similar Documents

Publication Publication Date Title
CN204044417U (en) A kind of Full dry type layer stranded cables
CN202003070U (en) Pre-twisted strain clamp for overhead line ADSS optical cable
CN203133354U (en) S-shaped fixed part used for butterfly-shaped guiding optical cable
CN201904593U (en) Pre-stranded two-bundle spacer
CN203838384U (en) Self-supporting optical cable
CN203551857U (en) Self-supporting type diamond introducing optical cable
CN205176345U (en) Outdoor optical cable of pancake
CN202631816U (en) Self-supporting simple structure optical cable
CN205910394U (en) Full medium self -bearing type optical cable of C jacket for access network
CN203658634U (en) Communication optical cable suitable for wiring in pipeline
CN204242670U (en) Cabling in a kind of U-shaped space
CN204203523U (en) A kind of tight device of cable fixing clip of modified node method
CN203596587U (en) Preformed vibration damper
CN201444206U (en) Ellipsoidal optical fiber suitable for fiber to the home
CN205376189U (en) A high-strength waterproof cable
CN203870306U (en) Festoon cable for crane
CN202886681U (en) Self-supporting type bow-type drop cable
CN203422997U (en) Self-supporting cable
CN202362507U (en) Communication outdoor optical cable comprising stainless steel loose tube
CN204462491U (en) A kind of OPGW terminal of ultra-high voltage transformer station reserves cable device
CN211428864U (en) Overhead cable spacer
CN201886185U (en) 8-shaped optical cable with three-unit structure
CN202502279U (en) Simple structure central tube optical cable
CN202794640U (en) Novel structure pipeline type butterfly cable
CN204389758U (en) Twin fiber cable

Legal Events

Date Code Title Description
C14 Grant of patent or utility model
GR01 Patent grant
CF01 Termination of patent right due to non-payment of annual fee

Granted publication date: 20130814

Termination date: 20150401

EXPY Termination of patent right or utility model